
ASLEK4H4S09 9000 BTU Ducted Concealed Fan Coil
Instruction Manual
ASLEK4H4S09
ASLEK4H4S12
ASLEK4H4S18
ASLEK4H4S24
ASLEK4H4S36
Thank you very much for purchasing this Air Conditioner. Please read these use and installation instructions carefully before installing and using this appliance. And keep this manual for future reference.
Alert Symbols:
DANGER: The symbol refers to a hazard that can result in severe personal injury or death.
WARNING: The symbol refers to a hazard or an unsafe practice that may result in severe personal injury or death.
CAUTION: The symbol refers to a hazard or an unsafe practice that may result in personal injury, product or property damage.
NOTE: It refers to the remarks and instructions to the operation, maintenance, and service.
This air conditioner should be installed properly by qualified personnel in accordance with the installation instructions provided with the unit.
Before installation, check if the voltage of the power supply at the installation site is the same as the voltage shown on the nameplate.
DANGER
- You must not carry on any transformation to this product, otherwise, it may cause water leakage, breakdown, short-circuit, electric shock, fire, and so on.
- Piping, welding and other such works should be carried out far away from the flammable explosive material vessels, including the air conditioner refrigerant, to guarantee the security of the site.
- To protect the air conditioner from heavy corrosion, avoid installing the outdoor unit where seawater can splash directly onto it or in sulfurous air near a spa. Do not install the air conditioner where excessively high heat-generating objects are placed.
WARNING
- If the supply cord is damaged, it must be replaced by the factory or its service department in case of danger.
- The place where this product is installed must have a reliable electrical grounding facility and protection. Please do not connect the grounding of this product to various kinds of air-feeding ducts, drain piping, lightning protection facility as well as other piping lines to avoid receiving an electric shock and damages caused by other factors
- Wiring must be done by a qualified electrician. All the wiring must comply with the local electrical codes.
- Consider the capacity of the electric current of your electrical meter and socket before installation.
- The power wire where this product is installed is supposed to have the independent leakage protective device and the electric current over-load protection device which are provided for this product
- This appliance can be used by children aged 8 years and above and persons with reduced physical, sensory or mental capabilities or lack of experience and knowledge if they have been given supervision or instruction concerning use of the appliance in a safe way and understand the hazards involved. Children shall not play with the appliance. Cleaning and user maintenance shall not be made by children without supervision.
- Means for disconnection, which can provide full disconnection in all poles, must be incorporated in the fixed wiring in accordance with the wiring rules.
- Read this manual carefully before using this air conditioner. If you still have any difficulties or problems, consult your dealer for help.
- The air conditioner is designed to provide you with comfortable room conditions. Use this unit only for its intended purpose as described in this instruction manual.
- Never use gasoline or other inflammable gas near the air conditioner, which is very dangerous.
- When the air conditioner operation is abnormal, such as burnt smell, deformation, fire. smoke, and so on, it is forbidden to continue using the air conditioner, the main power switch of the air conditioner must be cut off immediately and the agent must be contacted.
- Do not turn the air conditioner on and off from the main power switch. Use the ON/OFF operation button.
- Do not stick anything into the air inlet and air outlet of both the indoor and outdoor units. This is dangerous because the fan is rotating at a high speed.
- Do not cool or heat the room too much if babies or invalids are present
- Details of type and rating of circuit breakers / ELB is detailed in the outdoor instruction manual.
- The method of connection of the appliance to the electrical supply and interconnection of separate components is detailed in the below part.
- The wiring diagram with a clear indication of the connections and wiring to external control devices and supply cord is detailed in the below part.
- The cord of the HO7RN-F type or the electrically equivalent type must be used for power connection and interconnection between the outdoor unit and indoor unit. The size of the cord is detailed below part.
- The information of dimensions of the space necessary for correct installation of the appliance including the minimum permissible distances to adjacent structures is detailed in the below part.
- The range of external static pressures for ducted appliances is detailed below part.
- The indoor unit can only supply air to one room, it is not allowed to supply air to multiple rooms.
Indoor unit
- Air inlet
- Electric box
- Refrigerant pipe (Liquid)
- Refrigerant pipe (Gas)
- The drainpipe (Connect with pump)
- Drain pipe
- Air outlet
Remote Controller (Optional)
You can control the air conditioner with the wired controller or remote controller. It is used for power ON/OFF, setting the operation mode, temperature, fan speed, etc. There are different types of remote controllers that can be used. Operation instruction will be further specified in the remote controller’s manual. Please read it carefully before using this appliance and keep it for future reference.
Note: The figures are based on the external views of the standard model. Consequently, the shape may differ for the air conditioner model you have selected.
Special Remarks
- 3-minute protection after compressor stop
To protect the compressor, it will be off continuously for at least 3 minutes once it has stopped. - 5-minute protection
The compressor must run for at least 5 minutes once it has operated. During the 5 minutes, the compressor will not stop even if the room temperature reaches the set temperature point unless you use a remote controller to turn off the unit (all indoor units can be turned off by the user). - Cooling operation
The fan of the indoor unit will never stop running in cooling operation. It continues to operate even if the compressor stops working. - Heating operation
Heating capacity depends on external factors like outdoor unit temperature. Heating capacity might decrease if the outdoor ambient temperature is too low. - Anti-freezing function during cooling When the temperature of the air from the indoor outlet is too low, the unit will run for some time under the ventilating mode, to avoid frost or ice forming on the indoor heat exchanger.
- Cold air prevention
Several minutes after the heating mode is started, the fan of the indoor unit will not run until the heat exchanger of the indoor unit reaches a certain temperature to prevent a cold draft. - Defrosting
When the outdoor temperature is too low, frost or ice may form on the outdoor heat exchanger, reducing heating performance. When this happens, the defrosting system of the air conditioner will operate. At the same time, the fan in the indoor unit stops (or runs at a very low speed in some cases), to prevent cold draft. After defrosting is over, the heating operation and the fan speed resume. - Blowing out the residual heating air
When stopping the air conditioner in normal operation, the fan motor will run at low speed for a while to blow out the residual heating air - Auto restart from power break
When the power supply is recovered after the power break, all presets are still effective and the air conditioner will run according to the previous setting.
Trouble Shooting
CAUTION
If the trouble still exists even after checking the following, contact your dealer and inform them of the following items.
- If Trouble still exists
(1) Unit Model Name
(2) Content of Trouble - No Operation Check whether the SET TEMP is set at the correct temperature.
- Not Cooling or Heating Properly
- Check for obstruction of airflow in outdoor or indoor units.
- Check if there are too many heating sources in the room.
- Check if the air filter is clogged with dust.
- Check if the doors or windows are open.
- Check if the temperature condition is within the operation range.
4. This is Not Abnormal
- The odor from Indoor
Unit Unpleasant odor diffuses from the indoor unit after a long period of time. Clean the air filter and panels or allow good ventilation. - Sound from Deforming Parts
During the system starting or stopping, a sound might be heard. However, this is due to the thermal deformation of plastic parts. It is not abnormal. - Steam from Outdoor
Heat Exchanger During defrosting operation, ice on the outdoor heat exchanger melts resulting in steam. - Dew on Air Panel
When the cooling operation continues for a long period of time under high humidity conditions, dew can form on the air panel. - Refrigerant Flow Sound
While the system is being started or stopped, the refrigerant flow sound may be heard.
5. Mode Interfere (Only for multi-split, 9K-24K)
For the reason that all indoor units use one outdoor unit, the outdoor unit can only run with the same model (cooling or heating), so, when the mode you set is different from the mode that outdoor is running with, mode interference occurs. The following shows the mode interference scene.
The outdoor unit always run with the mode of first indoor unit that turned on. When the setting mode of the following indoor unit interferes with it, 3 beeps would be heard, and the indoor unit interfered with the normal running units would turn off automatically.
Safety Notice
WARNING’
- Installation should be performed by qualified personnel. (Improper installation may cause water leakage, electrical shock or fire.)
- Install the unit according to the instructions given in this manual. (Incomplete installation may cause water leakage, electrical shock or fire).
- Be sure to use the supplied or specified installation parts. (Use of other parts may cause the unit to get loosened, water leakage, electrical shock or fire).
- Install the air conditioner on a solid base that can support the unit weight. (An inadequate base or incomplete installation may cause injury if the unit falls off the base).
- Electrical work should be carried out in accordance with the installation manual and the local national electrical wiring rules or code of practice. (Insufficient capacity or incomplete electrical work may cause electrical shock or fire).
- Be sure to use a dedicated power circuit. (Never use a power supply shared by another appliance).
- For wiring, use a cable long enough to cover the entire distance. Do not use an extension cord.
- Do not put other loads on the power supply, use a dedicated power circuit.
- Use the specified types of wires for electrical connections between the indoor and outdoor units. (Firmly clamp the interconnecting wires so their terminals receive no external stresses).
- Incomplete connections or clamping may cause terminal overheating or fire.
- After connecting all the wires be sure to fix the cables so that they do not put undue force on the electrical covers or panels. (Install covers over the wires, incomplete cover installation may cause terminal overheating, electrical shock or fire).
- When installing or relocating the system, be sure to keep the refrigerant circuit free from air (Air in the refrigerant circuit may cause an abnormal pressure rise or rupture, resulting in injury).
- If any refrigerant has leaked out during the installation work, ventilate the room.
- After all, installation is completed, check to make sure that no refrigerant is leaking out. (The refrigerant produces a toxic gas if exposed to flames).
- When carrying out piping connection, take care not to let air substances other than the specified refrigerant get into the refrigeration cycle. (Otherwise, it will cause lower performance, abnormally high pressure in the refrigeration cycle, explosion and injury).
- Make sure that the installation is properly grounded. Do not ground the unit to a utility pipe, lightning arrester, or telephone grounding. Incomplete grounding may cause electrical shock. (A high surge current from lightning or other sources may cause damage to the air conditioner).
- An earth leakage circuit breaker may be required depending on the site condition to prevent electrical shock.
- Disconnect the power supply before wiring, piping, or checking the unit.
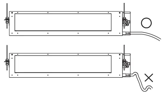
- When moving the indoor unit and outdoor unit, please be careful, do not to make the outdoor unit incline over 45 degrees. Pay attention to the sharp edges of the air conditioner to avoid any injury.
- During wired controller installation, ensure that the length of the wire between the indoor unit and wired controller is within 131 ft. (40m).
CAUTION
- Do not install the air conditioner in a place where there is a danger of exposure to inflammable gas leakage. (If the gas leaks and builds up around the unit, it may catch fire).
- Establish drain piping according to the instructions in this manual. (Inadequate piping may cause flooding).
- Tighten the flare nut according to the specifications with a torque wrench. (If the flare nut is tightened beyond specified torque, the flare nut may crack after a long time and cause refrigerant leakage).
2. Tools and Instruments for Installation
| Number | Tool | Number | Tool |
| 1 | Standard screwdriver | 8 | Knife or wire stripper |
| 2 | Vacuum pump | 9 | Leveler |
| 3 | Charge hose | 10 | Hammer |
| 4 | Pipe bender | 11 | Chum drill |
| 5 | Adjustable wrench | 12 | Pipe expander |
| 6 | Pipe cutter | 13 | Inner hexagon spanner |
| 7 | Crosshead screwdriver | 14 | Measuring tape |
3. Installation of the Indoor Unit
CAUTION
During installation, do not damage the insulation material on the surface of the indoor unit.
3.1 Initial Check
CAUTION
- When moving the unit after unpacking, make sure to lift it by holding its lifting lugs.
- Do not exert any pressure on other parts, especially the refrigerant piping, drain piping, and flange parts.
- Wear protective gear when installing the unit.
Optimum air distribution is ensured.- The air passage is not blocked.
- Condensate can drain properly.
- The ceiling is strong enough to bear the weight of the indoor unit
- A false ceiling does not seem to be at an incline.
- Sufficient clearance for maintenance and servicing is ensured.(See Fig.3.1.1 )
- Piping between the indoor and outdoor units is within the allowable limits.(refer to the installation of the outdoor unit )
- The indoor unit, outdoor unit, power supply wiring and transmission wiring must be kept at least 3.3ft.(1ni, away from televisions and radio, this prevents image interference and noise in electrical appliances (Noise may be generated depending on the conditions under which the electric wave is generated, even if a one-meter allowance is maintained.)
- Do not install the indoor unit in a machinery shop or kitchen where vapor from oil or its mist flows to the indoor unit. The oil will deposit on the heat exchanger, thereby reducing the performance of the indoor unit, and may deform and in the worst case, break the plastic pads of the indoor unit.
- Use suspension bolts to install the unit, check whether or not the ceiling is strong enough to support the weight of the unit. If there is a risk that the ceiling is not strong enough, reinforce the ceiling before installing the unit. For bottom intake, replace the chamber lid and the intake-side flange in the procedure listed the below figures. (1) Remove the intake-side flange, then remove the chamber lid. Refer to Fig. 3.1.2 for the directions. (2) Reattach the removed chamber lid in the orientation shown in Fig.3.1.3, reattach the removed intake-side flange in the orientation as shown In Fig. 3.1.3.

Installation and Maintenance
3.2 Installation
3.2.1 Suspension bolts
- Consider the pipe direction, wiring and maintenance carefully and choose the proper direction and location for installation.
- Install the suspension bolts as shown in Fig. 3.2.1 below.

3.2.2 The position of the suspension bolts and the pipes
- Mark the positions of the suspension bolts, the positions of the refrigerant pipes and the drain pipes.
- The dimension are shown below.

3.2.3 Install the indoor unit.
The installation of the indoor unit is shown in Fig.
3.4. Suspension bolts (4-M10 or W318)

Fig. 3.4 The installation of the indoor unit
(1) How to fix the suspension bolts and the nuts As shown in figure 3.5, the nuts are fixed four bolts.
Fig. 3.5 Suspension bolts and nuts (2) Install the indoor unit As shown in the following figure, place the left hanger bracket on the nuts and washers of the suspension bolts.
Make sure that the left hanger bracket has been fixed on the nuts and washers securely, install the right hanger bracket suspension hook on the nuts and washers. (When installing the Indoor unit. you can slightly remove the suspension bolts.)

3.2.4 Adjusting of the unit level
- Check to ensure that the foundation is fiat, taking into account the maximum foundation gradient.
- The unit should be installed that the drainage side Is slightly [0 In.- 3116 in. (Ornm-5mm)) lower than other sides for adequate drainage.

- After the adjustments tighten the nuts and swear the thread locker on the suspension to prevent the nuts from loosening.
CAUTION
- During the installation, please cover the unit with the plastic doth to keep it clean.
- Make sure that the unit is installed level by using a level or a plastic pipe fled with water in instead of a level, adjust the top surface of the unit to the surface of the water at both ends of the plastic pipe, and adjust the unit horizontally. (one thing to watch out for in particular is if it is installed so that the slope is not in the direction of the drain piping, as this might cause leaking.)
3.2.5 Installing the duct
CAUTION
- Make sure the external static pressure of the unit is within the range.
- Connect the duct and intake-side flange.
- Connect the duct and outlet-side flange.
- The connection of the indoor unit and air duct must be well sealed and kept warm with insulation material.

Refrigerant Pipe
DANGER
Use the refrigerant according to the outdoor nameplate. When carrying on the leakage check and test, do not mix in the oxygen. the acetylene and flammable and the virulent gas, for these gases are quite dangerous, and may possibly cause an explosion. It is suggested that nitrogen be used to perform these experiments.
4.1 Pipe Material
- Prepare the copper pipe on the spot.
- Choose dustless. non-humid. clean copper pipe. Before installing the pipe, use nitrogen or dry air to blow away the pipe dust and impurity.
- Choose the copper pipe acx;ording to Fig. 4.2.
4.2 Piping Connection
- The connection positions of the pipe are shown in

- As shown in Frg. 4.3, screw up the nuts with 2 spanners.
Fig. 4.3 Tightening torque for the nut- After finishing connecting the refrigerant pipes, keep them warm with the insulation material.

CAUTION
- The pipe goes through the hole with the seal.
- Do not place the pipes on the floor directly.

5. Drain Piping
Install the drain piping
- Make sure the drain works properly.
- Prepare polyvinyl chloride pipe with a 1-1/4 in.(32mm) outer diameter.
- The diameter of the drain pipe connection hole should be the same as that of the drain pipe.
- Keep the drainpipe short and sloping downwards at a gradient of at least 1/100 to prevent air pockets from forming.

NOTE
When the relative humidity of inlet or ambient air exceeds 80%, apply a (field-supplied) auxiliary drain pan beneath the indoor unit as shown below.
CAUTION
Water accumulating in the drain piping can cause the drain to clog.
- To keep the drain pipe from sagging, space hanging wires every 3.3 ft. (1m) to 5.0 ft. (1.5m).
- Use the drain hose and the clamp. Insert the drain hose fully Into the drain socket and firmly tighten the drain hose and warm-keeping material with the damp,
- The two areas below should be insulated because condensation may happen there causing water leakage.
- Drain piping passing indoors
- Drain sockets.
- Referring to the figure below, insulate the drain socket and drain hose using the included large sealing pad.

CAUTION
Drain piping connections
- Do not connect the drain pipes directly to sewage pipes to avoid ammonia odor. The ammonia in the sewage might enter the indoor unit through the drain pipes and corrode the heat exchanger.
- Do not twist or bend the drain hose, doing so applies excessive force applied on it and may also cause leakage.
- After piping work is finished, check if drainage flows smoothly.
- Gradually pour approximately 1000 cc of water from the outlet hole into the drain pan to check drainage flow.
- Check the drainage as shown below:

Electrical Wiring
6.1 General Check
CAUTION
- When clamping the wiring, use the included clamping material to prevent external pressure from being exerted on the wiring connections and clamp firmly.
- While performing wiring work, make sure the wiring is proper and does not cause the control box lid to stick up, then close the cover firmly. When attaching the control lid, make sure you do not pinch any wires.
- Outside the indoor unit and outdoor unit, separate the weak wiring (remote controller and transmission wiring) and strong wiring (ground and power supply wiring) at least 2 in. (50mm) so that they do not pass through the same place together. Proximity may cause electrical interference malfunction and breakage.
WARNING’
- If the fuses burn up, please call the authorized service dealer. Please do not replace it by yourself, as it may result in an accident or electric shock.
- Remove the screws and the electric box cover as shown in Fig. 6.1.
- Pass connection cable and wired controller cable through the two holes on the conduit panel.
- Fasten the conduit connected to the conduit panel using the lock nut.
- Connect the connection cable and wired controller cable to the terminal.
- Tie the cable in the electric box with the clamp tightly.
- After completing the wiring, seal the wiring hole with the sealing material (with the lid) to prevent condensation and insects from entering the control box.
- Put the electric box cover back after completion of the work.

Electrical Wiring Diagram
Note: Since there may be differences in some model terminal blocks, wiring connection should be done according to letters on the terminal block. Please disregard numbers In this case.
6.2 Change of Static Pressure
The static pressure can be freely adjusted by using a specific wired remote controller. 
| Model (Capacity Btu/h) | The Range of Static Pressure | Function Code Set |
| 9K112K118K | 0-0.015 in.Hg (0-50Pa) | 0-50 function code value equals static pressure value, more than 50 is 0.015in.Hg (50Pa), [default: 0 (0.013in.Hg or 45Pa)] |
| 24K | 0-0.029 in.Hg (0-100Pa) | 0-100 function code value equals static pressure value, more than 100 is 0.029in.Hg (100Pa), [default: 0 (0.013in.Hg or 45Pa)] |
| 36K | 0-0.041 in.Hg (0-140Pa) | 0-140 function code value equals static pressure value, more than 140 is 0.041in.Hg (140Pa), [default: 0 (0.017in.Hg or 57Pa)] |
Static pressure setting:
- Press and hold the “MODE” button and “ADD.FUNC.” button for 3 seconds, a symbol if and parameter code starts blinking at the same time.
- Press the” ♦/♦ “button to adjust the parameter number until “17” is displayed, and press the “ENTER” button to enter the system parameter adaption state, the symbol ‘stops blinking.
- Select desired parameter code 10 by pressing the “sly” button, and press the “ENTER” button to confirm.
- Select desired function code to rewrite the parameter values by pressing the “s/• “button, and press the “ENTER” button to confirm. 5 Press the “ON/OFF” button or the “CANCEL” button to quit.
If you still have any trouble, please contact the local technical service center of our company for further information.
Electrical Installation
WARNING
- Use an ELB (Electric Leakage Breaker). If not used, it will cause an electric shock or a fire.
- Do not operate the system until all the checkpoints have been cleared. (A) Check to ensure that the insulation resistance is more than 2M0, by measuring the resistance between the ground and the terminal of the electrical parts. If not, do not operate the system until the electrical leakage is found and repaired. (B) Check to ensure that the stop valves of the outdoor unit are fully opened and then start the system.
- Pay attention to the following items while the system is running.
Do not touch any of the pads by hand at the discharge gas side, since the compressor chamber and the pipes at the discharge side are heated higher than 194°F (90°C).
Model Capacity(Btu/h) Transmitting Cable Size 9K–36K 4 x 16AWG
Note:
- Follow local codes and regulations when selecting field wires and all the above are the minimum wire size.
- Use copper supply wires.
- When transmitting cable length is more than 49 ft. (15m) , a larger wire size should be selected.
- Install the main switch and ELB for each system separately. Select the high response type ELB that is acted within 0.1second.
Attentions when Connect the power supply wiring

- When connecting the terminal block using stranded wire, make sure to use the round crimp-style terminal for connection to the power supply terminal block. Place the round crimp-style terminals on the wires up to the covered part and secure in place.
- When connecting the terminal block using a single core wire, be sure to perform curing.
7. Trial Run
Please perform a trial run according to the outdoor unit installation manual.

Optimum air distribution is ensured.



Fig. 4.3 Tightening torque for the nut





















