Carrier FB4C Fan Coil Unit Instruction Manual

NOTE: Read the entire instruction manual before starting the installation.
SAFETY CONSIDERATIONS
Improper installation, adjustment, alteration, service, maintenance, or use can cause explosion, fire, electrical shock, or other conditions which may cause death, personal injury or property damage. Consult a qualified installer, service agency, or your distributor or branch for information or assistance. The qualified installer or agency must use factory–authorized kits or accessories when modifying this product. Refer to the individual instructions packaged with kits or accessories when installing.
Follow all safety codes. Wear safety glasses, protective clothing and work gloves. Have a fire extinguisher available. Read these instructions thoroughly and follow all warnings or cautions included in literature and attached to the unit. Consult local building codes and the current editions of the National Electrical Code (NEC) NFPA 70.
In Canada, refer to the current editions of the Canadian Electrical Code CSA C22.1.
Recognize safety information. This is the safety–alert symbol . When you see this symbol on the unit and in instruction manuals, be alert to the potential for personal injury.
Understand the signal words DANGER, WARNING, and CAUTION. These words are used with the safety–alert symbol. DANGER identifies the most serious hazards which will result in severe personal injury or death. WARNING signifies hazards which could result in personal injury or death. CAUTION is used to identify unsafe practices which may result in minor personal injury or product and property damage. NOTE is used to highlight suggestions which will result in enhanced installation, reliability, or operation.
WARNING
ELECTRICAL OPERATION HAZARD
Failure to follow this warning could result in personal injury or death.
Before installing or servicing unit, always turn off all power to unit. There may be more than one disconnect switch. Turn off accessory heater power if applicable. Lock out and tag switch with a suitable warning label.
CAUTION
CUT HAZARD
Failure to follow this caution may result in personal injury.
Sheet metal parts may have sharp edges or burrs. Use care and wear appropriate protective clothing and gloves when handling parts.
INTRODUCTION
FB4C models are R–410A Fan Coils designed for installation flexibility. These units are designed to meet the low air leak requirements currently in effect.
FB4CNF(018–048) uses a refrigerant piston metering device. A TXV is used on FB4CNP(018–061). All FB4C fan coils use a multi–tap ECM motor for efficiency. These units have be designed for upflow, downflow (kit required), and horizontal orientations, including manufactured and mobile home applications.
These units require a field supplied air filter, and are designed specifically for R–410A refrigerant air conditioners and heat pumps as shipped. These units are available for systems of 18,000 through 60,000 BTUh nominal cooling capacity. Factory– authorized, field — installed electric heater packages are available in sizes 5 through 30kW. See Product Data literature for all available accessory kits.
INSTALLATION
Step 1 — Check Equipment
Unpack unit and move to final location. Remove carton taking care not to damage unit. Inspect equipment for damage prior to installation. File claim with shipping company if shipment is damaged or incomplete.
Locate unit rating plate which contains proper installation information. Check rating plate to be sure unit matches job specifications.
Step 2 — Mount Unit
Unit can stand or lie on floor, or hang from ceiling or wall. Allow space for wiring, piping, and servicing unit.
IMPORTANT: When unit is installed over a finished ceiling and/or living area, building codes may require a field–supplied secondary condensate pan to be installed under the entire unit. Some localities may allow as an alternative, the running of a separate, secondary condensate line. Consult local codes for additional restrictions or precautions.
A. Upflow Installation
If return air is to be ducted through a floor, set unit on floor over opening and use 1/8 to 1/4–in (3 to 6 mm) thick fireproof resilient gasket between duct, unit, and floor.
Side return is a field option on slope coil models. Cut opening per dimensions. (See Fig. 1.) A field–supplied bottom closure is required.

Fig. 1 — Slope Coil Unit in Upflow Application
B. Downflow Installation
In this application, field conversion of the evaporator is required using accessory downflow kit along with an accessory base kit. Use fireproof resilient gasket, 1/8 to 1/4–in (3 to 6 mm) thick, between duct, unit, and floor.
CAUTION
UNIT OR PROPERTY DAMAGE HAZARD
Failure to follow this caution may result in product or property damage.
The conversion of the fan coil to downflow requires special procedures for the condensate drains on both A–coil and slope units. The vertical drains have an overflow hole between the primary and secondary drain holes. This hole is plugged for all applications except downflow, but must be used for downflow. During the conversion process, remove the plastic cap covering the vertical drains only and discard. Remove the plug from the overflow hole and discard. At completion of the downflow installation, caulk around the vertical pan fitting to door joint to retain the low air leak performance of the unit.
NOTE: To convert units for downflow applications, refer to Installation Instructions supplied with kit for proper installation. For slope fan coils, use kit Part No. KFADC0201SLP. For A–coils, use kit Part No. KFADC0401ACL. Use fireproof resilient gasket, 1/8 to 1/4–in (3 to 6 mm) thick, between duct, unit, and floor.
NOTE: Gasket kit number KFAHD0101SLP is also required for all downflow applications to maintain low air leak/low sweat performance.
C. Horizontal Installation
Units must not be installed with access panels facing up or down. All other units are factory built for horizontal left installation. (See Fig. 2 and 3.) When suspending unit from ceiling, dimples in casing indicate suitable location of screws for mounting metal support straps. (See Fig. 2.)
CAUTION
PROPERTY DAMAGE HAZARD
Failure to follow this caution may result in product or property damage.
For optimum condensate drainage performance in horizontal installations, unit should be leveled along its length and width.
For horizontal applications having high return static and humid return air, the Water Management Kit, KFAHC0125AAA, may need to be used to assist in water management.

Fig. 2 — Slope Coil Unit in Horizontal Left Application

Fig. 3 — A–Coil in Horizontal Left Application
NOTE: Modular units can be disassembled and components moved separately to installation area for reassembly. This process accommodates small scuttle holes and limiting entrances to installation sites. (See Fig. 4 .)

Fig. 4 — Removal of Brackets on Modular Units Horizontal Right Conversion of Units With Slope Coils
NOTE: Gasket kit number KFAHD0101SLP is required for horizontal slope coil conversion to maintain low air leak/low sweat performance.
- Remove blower and coil access panel and fitting panel. (See Fig. 5.)
- Remove coil mounting screw securing coil assembly to right side casing flange.
- Remove coil assembly.
- Lay fan coil unit on its right side and reinstall coil assembly with condensate pan down. (See Fig. 5.)
- Attach coil to casing flange using coil mounting screw previously removed.
- Make sure the pan cap in the fitting door is properly seated on the fitting door to retain the low air leak rating of the unit.
- Add gaskets from kit KFAHD per kit instructions.
- Align holes with tubing connections and condensate pan connections, and reinstall access panels and fitting panel.
Make sure liquid and suction tube grommets are in place to prevent air leaks and cabinet sweating. Install after brazing.

Fig. 5 — Conversion for Horizontal Right Applications
Horizontal Right Conversion of UnitsWith A–Coils
- Remove blower and coil access panels. (See Fig. 6.)
Fig. 6 — Conversion for Horizontal Right Applications Using A–Coil - Remove metal clip securing fitting panel to condensate pan.
Remove fitting panel. - Remove 2 snap–in clips securing A–coil in unit.
- Slide coil and pan assembly out of unit.
- Remove horizontal drain pan support bracket from coil support rail on left side of unit and reinstall on coil support rail on right side of unit. (See Fig. 7.)
Fig. 7 — Drain Pan Support Bracket - Convert air–seal assembly for horizontal right. a. Remove air–seal assembly from coil by removing 4 screws. (See Fig. 6.) b. Remove air splitter (B) from coil seal assembly by removing 3 screws. (See Fig. 3–factory shipped inset.) c. Remove filter plate (A) and install air splitter (B) in place of filter plate.
d. Install filter plate (A) as shown in horizontal right application.
e. Remove condensate troughs (C) and install on opposite tube sheets.
f. Install hose onto plastic spout. - Install horizontal pan on right side of coil assembly.
- Slide coil assembly into casing. Be sure coil bracket on each corner of vertical pan engages coil support rails.
- Reinstall 2 snap–in clips to correctly position and secure coil assembly in unit. Be sure clip with large offsets is used on right side of unit to secure horizontal pan.
- Remove two oval fitting caps from the left side of the coil door and fitting panel.
- Remove insulation knockouts on right side of coil access panel.
- Remove 2 oval coil access panel plugs and reinstall into holes on left side of coil access panel and fitting panel.
- Install condensate pan fitting caps (from item 10) in the right side of the coil door making sure that the cap snaps and seats cleanly on the back side of the coil door. Make sure no insulation interferes with seating of the cap.
- Reinstall access fitting panels, aligning holes with tubing connections and condensate pan connections. Be sure to reinstall metal clip between fitting panel and vertical condensate pan.
Make sure liquid and suction tube grommets are in place to prevent air leaks and cabinet sweating.
D. Manufactured and Mobile Home Housing Applications
- Fan coil unit must be secured to the structure using field– supplied hardware.
- Allow a minimum of 24–in (610 mm) clearance from access panels.
- Recommended method of securing for typical applications:
a. If fan coil is away from wall, attach pipe strap to top of fan coil using no. 10 self–tapping screws. Angle strap down and away fromback of fan coil, remove all slack, and fasten to wall stud of structure using 5/16–in. lag screws. Typical both sides of fan coil.

Fig. 8 — A–Coil
b. If fan coil is against wall, secure fan coil to wall stud using 1/8–in (3 mm) thick right–angle brackets. Attach brackets to fan coilusing no. 10 self–tapping screws and towall stud using 5/16–in. lag screws. (See Fig. 8.)
Step 3 — Air Ducts
Connect supply–air duct over the outside of 3/4–in (19 mm) flanges provided on supply–air opening. Secure duct to flange, using proper fasteners for type of duct used, and seal duct–to–unit joint. If return–air flanges are required, install factory–authorized accessory kit.
Use flexible connectors between ductwork and unit to prevent transmission of vibration. When electric heater is installed, use heat–resistant material for flexible connector between ductwork and unit at discharge connection. Ductwork passing through unconditioned space must be insulated and covered with vapor barrier.
Units equipped with 20–30kW electric heaters require a 1–in (25 mm) clearance to combustible materials for the first 36–in (914 mm) of supply duct.
Duct work Acoustical Treatment
Metal duct systems that do not have a 90_ elbow and 10–ft (3m) of main duct to first branch takeoff may require internal acoustical insulation lining. As an alternative, fibrous ductwork may be used if constructed and installed in accordance with the latest edition of SMACNA construction standard on fibrous glass ducts. Both acoustical lining and fibrous ductwork shall comply with National Fire Protection Association as tested by UL Standard 181 for Class 1 air ducts.
Step 4 — Electrical Connections
FB4C units from the factory protect the low voltage circuit with a 3 amp automotive type fuse in–line on the wire harness and Does Not contain a circuit board. Motor speeds and time delay function are built into the motor (see section E for clarification). When a factory–approved accessory control package has been installed, check all factory wiring per unit wiring diagram and inspect factory wiring connections to be sure none were loosened in transit or installation. If a different control package is required, see unit rating plate.
CAUTION
PROPERTY DAMAGE HAZARD
Failure to follow this caution may result in product or property damage.
If a disconnect switch is to be mounted on unit, select a location where drill or fastener will not contact electrical or refrigerant components.
Before proceeding with electrical connections, make certain that supply voltage, frequency, phase, and ampacity are as specified on the unit rating plate. See unit wiring label for proper field high– and low–voltage wiring. Make all electrical connections in accordance with the NEC and any local codes or ordinances that may apply. Use copper wire only.
The unit must have a separate branch electric circuit with a field–supplied disconnect switch located within sight from, and readily accessible from, the unit.
On units with a factory–installed disconnect with pull–out removed, service and maintenance can be safely performed on only the load side of the control package.
WARNING
ELECTRICAL SHOCK HAZARD
Failure to follow this warning could result in personal injury or death.
Field wires on the line side of the disconnect found in the fan coil unit remain live, even when the pull–out is removed. Service and maintenance to incoming wiring cannot be performed until the main disconnect switch (remote to the unit) is turned off.
A. Line Voltage Connections
If unit will contain accessory electric heater, remove and discard power plug from fan coil and connect male plug from heater to female plug from unit wiring harness. (See Electric Heater Installation Instructions.)
For units without electric heater:
- Connect 208/230v power leads from field disconnect to yellow and black stripped leads.
- Connect ground wire to unit ground lug.
NOTE: Units installed without electric heat should have a field–supplied sheet metal block–off plate covering the heater opening. This will reduce air leakage and formation of exterior condensation.
B. 24–v Control System
Connection To Unit
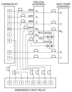
Wire low voltage in accordance with wiring label on the blower. (See Fig. 9 through 14.) Use no. 18 AWG color–coded, insulated (35_C minimum) wire to make the low–voltage connections between the thermostat, the unit, and the outdoor equipment. If the thermostat is located more than 100–ft (30 m) from the unit (as measured along the low–voltage wire), use no. 16 AWG color–coded, insulated (35_C minimum) wire. All wiring must be NEC Class 1 and must be separated from incoming power leads.

Fig. 9 — Wiring Layout Air Conditioning Unit (Cooling Only)

Fig. 10 — Wiring Layout Air Conditioning Unit (Cooling and 1–Stage Heat

Fig. 11 — Wiring Layout Heat Pump Unit (Cooling and 2–Stage Heat with No Outdoor Thermostat)

Fig. 12 — Wiring Layout Heat Pump Unit (Cooling and 2–Stage Heat with 1 Outdoor Thermostat)

Fig. 13 — Wiring Layout Heat Pump Unit (Cooling and 2–Stage Heat with 2 Outdoor Thermostats)

Fig. 14 — Wiring Layout Heat Pump Unit (Cooling and 2–Stage Heat for Manufactured Housing)
Refer to outdoor unit wiring instructions for any additional wiring procedure recommendations.
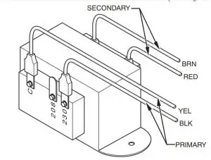
Transformer Information
Transformer is factory–wired for 230v operation. For 208v applications, disconnect the black wire from the 230v terminal on transformer and connect it to the 208v terminal. (See Fig. 15.)

Fig. 15 — Transformer Connections
CAUTION
PROPERTY DAMAGE HAZARD
Failure to follow this caution may result in product or property damage.
If W2, W3, and E on any 3 stage heater (18, 20, 24, or 30kW) are individually connected as with outdoor thermostats or any other situation, emergency heat relay must be used. This relay is in kit Part No. KHOT0201SEC and is normally used with kit Part No. KHAOT0301FST for 2 outdoor thermostat systems.
The controls are factory circuited for single–stage operation. For 2–stage operation, use outdoor thermostat kit Part No. KHAOT0301FST, and for 3–stage use both kits Part No. KHAOT0201SEC and KHAOT0301FST.
When 2 stages are desired, cut W3 at the W2 wire nut, strip and reconnect per the thermostat kit instruction. (See Fig. 13.) When 3 stages are desired, cut the W2 wire nut off and discard. Strip W2, W3, and E and reconnect per thermostat kit instructions. (See Fig. 13.)
NOTE: When 3 stages are used or anytime the E terminal is not tied to W2, the emergency heat relay, part of outdoor kit Part No. KHAOT0201SEC must be used.
C. Manufactured Housing
In manufactured housing applications, the Code of Federal Regulations, Title 24, Chapter XX, Part 3280.714 requires that supplemental electric heat be locked out at outdoor temperatures above 40_F (4_C), except for a heat pump defrost cycle. Refer to Fig. 14 for typical low voltage wiring with outdoor thermostat.
D. Ground Connections
WARNING
ELECTRICAL SHOCK HAZARD
Failure to follow this warning could result in personal injury or death.
According to NEC, ANSI/NFPA 70, and local codes, the cabinet must have an uninterrupted or unbroken ground to minimize personal injury if an electrical fault should occur. The ground may consist of electrical wire or metal conduit when installed in accordance with existing electrical codes. If conduit connection uses reducing washers, a separate ground wire must be used.
NOTE: Use UL–listed conduit and conduit connector for connecting supply wire(s) to unit to obtain proper grounding. Grounding may also be accomplished by using grounding lugs provided in control box.
E. Minimum CFM and Motor Speed Selection
The fan speed selection is done at the motor connector. Units with or without electric heaters require a minimum CFM. Refer to the unit wiring label to ensure that the fan speed selected is not lower than the minimum fan speed indicated.

† electric heat airflow is same CFM as Tap 3, except 0 sec off delay
‡ high static applications, see airflow tables for max airflow
To change motor speeds disconnect the BLUE fan lead from motor connector terminal #2 (factory default position) and move to desired speed-tap; 1, 2, 3, or 5.
Speed-taps 1, 2, and 3 have a 90 second blower off time delay pre-programmed into the motor. Speed-tap 4 is used for electric heat only (with 0 second blower time delay) and the WHITE wire should remain on tap 4. Speed-tap 5 is used for high static applications, but has a 0 second blower time delay pre-programmed into the motor. See Airflow Performance tables for actual CFM. Also, see Fig. 16 for motor speed selection location.
NOTE: In low static applications, lower motor speed tap should be used to reduce possibility of water being blown off coil.


Fig. 16 — Motor Speed Selection for FB4C Only
Step 5 — Refrigerant Tubing Connection and Evacuation
Use accessory tubing package or field–supplied tubing of refrigerant grade. Suction tube must be insulated. Do not use damaged, dirty, or contaminated tubing because it may plug refrigerant flow–control device. ALWAYS evacuate the coil and field–supplied tubing to 500 microns before opening outdoor unit service valves.
CAUTION
PRODUCT DAMAGE HAZARD
Failure to follow this caution may result in product or property damage.
A brazing shield MUST be used when tubing sets are being brazed to the unit connections to prevent damage to the unit surface and condensate pan fitting caps.
Units have sweat suction and liquid tube connections. Make suction tube connection first.
- Cut tubing to correct length.
- Insert tube into sweat connection on unit until it bottoms.
- Braze connection using silver bearing or non–silver bearing brazing materials. Do not use solder (materials which melt below 800_F / 427_C). Consult local code requirements.
- Evacuate coil and tubing system to 500 microns using deep vacuum method.
CAUTION
PRODUCT DAMAGE HAZARD
Failure to follow this caution may result in product or property damage.
Wrap a wet cloth around rear of fitting to prevent damage to piston assembly or TXV and factory–made joints.
Step 6 — Refrigerant Flow–Control Device
FB4CNF units contain a factory installed piston with Teflon ring for sizes 018 thru 048 only. The FB4CNP(018–061) size units come equipped with a R–410A refrigerant TXV. If a piston replacement is required, check piston size shown on indoor unit rating plate to see if it matches required outdoor piston size. The outdoor piston size will be found on the outdoor unit rating plate, product data or installation instructions depending on the model. If the fan coil piston does not match, replace indoor piston with correct outdoor piston. With some outdoor units a piston is shipped with outdoor unit; if no piston is shipped with the outdoor unit one can be ordered from Replacement Components. When changing piston, use a back–up wrench. (See Fig. 17). Hand tighten hex nut, then tighten with wrench 1/2 turn. Do not exceed 30 ft–lbs.
NOTE: The indoor piston contains a Teflon ring (or seal) which is used to seat against the inside of distributor body, and must be installed properly to ensure proper seating in the direction for cooling operation.
Always use outdoor units designed to match indoor fan coil applications.

Fig. 17 — Refrigerant Flow — Control Device
CAUTION
PRODUCT OPERATION HAZARD
Failure to follow this caution may result in improper product operation.
If using a TXV in conjunction with a single–phase reciprocating compressor, a compressor start capacitor and relay are required. Consult outdoor unit pre–sale literature for start assist kit part number.
Step 7 — Condensate Drains
To connect drains, the cap openings must be removed. Use a knife to start the opening near the tab and using pliers, pull the tab to remove the disk. Clean the edge of the opening if necessary and install the condensate line. Finally caulk around the lines where they exit the fitting to retain the low leak rating of the unit.
CAUTION
UNIT OR PROPERTY DAMAGE HAZARD
Failure to follow this caution may result in product or property damage.
The conversion of the fan coil to downflow requires special procedures for the condensate drains on both A–coil and slope units. The vertical drains have an overflow hole between the primary and secondary drain holes. This hole is plugged for all applications except downflow, but must be used for downflow. During the conversion process, remove the plastic cap covering the vertical drains only and discard. Remove the plug from the overflow hole and discard. At completion of the downflow installation, caulk around the vertical pan fitting to door joint to retain the low air leak performance of the unit.
Units are equipped with primary and secondary 3/4–in. FPT drain connections. For proper condensate line installations see Fig. 1, 2, 3, 5 and 6. To prevent property damage and achieve optimum drainage performance, BOTH primary and secondary drain lines should be installed and include properly–sized condensate traps. (See Fig. 18 and 19.) Factory–approved condensate traps are available. It is recommended that PVC fittings be used on the plastic condensate pan. Finger–tighten plus 1–1/2 turns. Do not over–tighten. Use pipe dope.

Fig. 18 — Recommended Condensate Trap

Fig. 19 — Condensate Trap and Unit
CAUTION
PROPERTY DAMAGE HAZARD
Failure to follow this caution may result in product or property damage. Shallow running traps are inadequate and DO NOT allow proper condensate drainage. (See Fig. 20.)

Fig. 20 — Insufficient Condensate Trap
NOTE: When connecting condensate drain lines, avoid blocking filter access panel, thus preventing filter removal. After connection, prime both primary and secondary condensate traps.
NOTE: If unit is located in or above a living space where damage may result from condensate overflow, a field–supplied, external condensate pan should be installed underneath the entire unit, and a secondary condensate line (with appropriate trap) should be run from the unit into the pan. Any condensate in this external condensate pan should be drained to a noticeable place. As an alternative to using an external condensate pan, some localities may allow the use of a separate 3/4–in (19 mm) condensate line (with appropriate trap) to a place where the condensate will be noticeable. The owner of the structure must be informed that when condensate flows from the secondary drain or external condensate pan, the unit requires servicing or water damage will occur.
Install traps in the condensate lines as close to the coil as possible. (See Fig. 19.) Make sure that the outlet of each trap is below its connection to the condensate pan to prevent condensate from overflowing the drain pan. Prime all traps, test for leaks, and insulate traps if located above a living area. Condensate drain lines should be pitched downward at a minimum slope of 1–in (25 mm) for every 10–ft (3 m) of length. Consult local codes for additional restrictions or precautions.
Step 8 — Accessories
Humidifier
Connect humidifier and humidistat to fan coil unit as shown in Fig. 21 and Fig. 22. The cooling lockout relay is optional.
Step 9 — Sequence of Operation
A. Continuous Fan
Thermostat closes R to G. G energizes fan relay on PCB which completes circuit to indoor blower motor. When G is de–energized, there is a 90–sec delay before relay opens.
B. Cooling Mode
Thermostat energizes R to G, R to Y, and R to O (heat pump only). G energizes fan relay on PCB which completes circuit to indoor blower motor. When G is de–energized, there is a 90–sec delay before fan relay opens.
C. Heat Pump Heating with Auxiliary Electric Heat
Thermostat energizes R to G, R to Y, and R to W. G energizes fan relay on PCB which completes circuit to indoor blower motor. W energizes electric heat relay(s) which completes circuit to heater element(s). When W is de–energized, electric heat relay(s) open, turning off heater elements. When G is de–energized there is a 90–sec delay before fan relay opens.
D. Electric Heat or Emergency Heat Mode
Thermostat closes R to W. W energizes electric heat relay(s) which completes circuit to heater element(s). Blower motor is energized through normally closed contacts on fan relay. When W is de–energized, electric heat relay(s) opens.

Fig. 21 — Wiring Layout of Humidifier to Heat Pump

Fig. 22 — Wiring Layout of Humidifier to Fan Coil With Electric Heat
START–UP PROCEDURES
Refer to outdoor unit Installation Instructions for system start–up instructions and refrigerant charging method details.
CAUTION
UNIT COMPONENT HAZARD
Failure to follow this caution may result in product damage. Never operate unit without a filter. Damage to blower motor or coil may result. Factory authorized filter kits must be used when locating the filter inside the unit. For those applications where access to an internal filter is impractical, a field–supplied filter must be installed in the return duct system.
CARE AND MAINTENANCE
To continue high performance and minimize possible equipment failure, it is essential that periodic maintenance be performed on this equipment. Consult your local dealer as to the proper frequency of maintenance contract.
The ability to properly perform maintenance on this equipment requires certain mechanical skills and tools. If you do not possess these, contact your dealer for maintenance. The only consumer service recommended or required is filter replacement or cleaning on a monthly basis.
AIRFLOW PERFORMANCE TABLES
Table 1 – FB4C Airflow Performance (CFM)


NOTES:
- Airflow based upon dry coil at 230v with factory–approved filter and electric heater (2 element heater sizes 018 through 036, 3 element heater sizes 042 through 061). For FB4C models, airflow at 208 volts is approximately the same as 230 volts because the multi–tap ECM motor is a constant torque motor. The torque doesn’t drop off at the speeds the motor operates.
- To avoid potential for condensate blowing out of drain pan prior to making drain trap:
Return static pressure must be less than 0.40 in. wc. Horizontal applications of 042 — 061 sizes must have supply static greater than 0.20 in. wc. - Airflow above 400 cfm/ton on 048–061 size could result in condensate blowing off coil or splashing out of drain pan.
Table 2 – FB4C Air Delivery Performance Correction Component Pressure Drop (in. wc) at Indicated Airflow (Dry to Wet Coil)

Table 3 – Electric Heater Static Pressure Drop (in. wc)

R–410A QUICK REFERENCE GUIDE
- R–410A refrigerant operates at 50–70 percent higher pressures than R–22. Be sure that servicing equipment and replacement components are designed to operate with R–410A refrigerant.
- R–410A refrigerant cylinders are rose colored.
- Recovery cylinder service pressure rating must be 400 psig, DOT 4BA400 or DOT BW400.
- R–410A refrigerant systems should be charged with liquid refrigerant. Use a commercial type metering device in the manifold hose when charging into suction line with compressor operating
- Manifold sets should be 700 psig high side and 180 psig low side with 550 psig low–side retard.
- Use hoses with 700 psig service pressure rating.
- Leak detectors should be designed to detect HFC refrigerant.
- R–410A refrigerant, as with other HFCs, is only compatible with POE oils.
- Vacuum pumps will not remove moisture from oil.
- Do not use liquid–line filter driers with rated working pressures less than 600 psig.
- Do not leave R–410A refrigerant suction line filter driers in line longer than 72 hours.
- Do not install a suction–line filter drier in liquid line.
- POE oils absorb moisture rapidly. Do not expose oil to atmosphere.
- POE oils may cause damage to certain plastics and roofing materials.
- Wrap all filter driers and service valves with wet cloth when brazing.
- A factory approved liquid–line filter drier is required on every unit.
- Do NOT use an R–22 TXV.
- If indoor unit is equipped with a R–22 TXV or piston metering device, it must be changed to a hard–shutoff R–410A refrigerant TXV.
- Never open system to atmosphere while it is under a vacuum.
- When system must be opened for service, recover refrigerant, evacuate then break vacuum with dry nitrogen and replace filter driers. Evacuate to 500 microns prior to recharging.
- Do not vent R–410A refrigerant into the atmosphere.
- Do not use capillary tube coils.
- Observe all warnings, cautions, and bold text.
- All indoor coils must be installed with a hard–shutoff R–410A refrigerant TXV metering device.
Copyright 2015 CAC / BDP D 7310 W. Morris St. D Indianapolis, IN 46231
Manufacturer reserves the right to change, at any time, specifications and designs without notice and without obligations.
Read More About This Manual & Download PDF:
Fig. 6 — Conversion for Horizontal Right Applications Using A–Coil
Fig. 7 — Drain Pan Support Bracket














