Firstco UC-HW Series Fan Coil Units

WARNING TO INSTALLER, SERVICE PERSONNEL, AND OWNER
Altering the product, improper installation, or replacing parts with unauthorized parts voids all warranty or implied warranty and may result in adverse operational performance or possible hazardous conditions to service personnel and occupants. Company employees or contractors are not authorized to waive this warning.
NOTES
- Read the entire installation instruction manual before starting the installation.
- These instructions are intended as a general guide and do not supersede national, state, or local codes in any way.
- These instructions must be left with the property owner.
SAFETY CONSIDERATIONS
Improper installation, adjustment, alteration, service, maintenance, or use can cause explosion, fire, electrical shock, or other conditions which may cause personal injury or property damage. Consult a qualified licensed installer, service agency, or your distributor for information or assistance. The qualified licensed installer or service agency must use factory-authorized kits or accessories when modifying this product. Refer to the individual instructions packaged with kits or accessories when installing.
Follow all safety codes. Wear safety glasses and work gloves. Use quenching cloth for brazing operations. Have fire extinguisher available. Read these instructions thoroughly and follow all warnings or cautions attached to the unit. Consult local building codes and National Electrical Code (NEC) for special requirements.
Recognize safety information. This is the general safety-alert symbol . When you see this symbol on the unit and in instruction manuals, be alert to the potential for personal injury or damage to equipment. The lightning bolt symbol signifies an electrical shock hazard.
- WARNING: This WARNING signifies general hazards which could result in personal injury or death.
- WARNING: This WARNING signifies electrical shock hazards which could result in personal injury or death.
- CAUTION: CAUTION is used to identify unsafe practices which would result in product and property damage.
- NOTE: NOTE is used to highlight suggestions which may result in enhanced installation, reliability, or operation.
GENERAL
The manufacturer does not warrant equipment subjected to abuse. Metal chips, dust, drywall tape, paint overspray, etc. can void warranties and liability for equipment failure, personal injury, and property damage.
The manufacturer assumes no responsibility for equipment installed in violation of any code requirement.
WARNINGS
- Always wear eye protection when working on equipment.
- Before servicing unit, always turn off all power to unit. There may be more than one disconnect switch. Electrical shock can cause personal injury or death.
- When fan coil is operating, some components are operating at high speeds. Personal injury can result from touching these items with any object.
- All electrical and service access panels must be secured in their proper place before operating equipment.
- Clear surrounding area of all tools, equipment and debris before operating unit.
CAUTION
Unit must not be operated during building construction due to excessive airborne dust and debris. Also, the unit must never run under any circumstances without an air filter in place. These instructions give information for installation of UC-HW fan coil units only. For other related equipment, refer to the manufacturer’s instructions.
Material in this shipment has been inspected at the factory and released to the transportation agency in good condition. When received, a visual inspection of all cartons should be made immediately. Any evidence of rough handling or apparent damage should be noted on the delivery receipt and the material inspected in the presence of the carrier’s representative. If damage is found, a claim should be filed against the carrier immediately.
Extreme caution must be taken that no internal damage will result if screws or holes are drilled into the cabinet.
INSTALLATION PRECAUTIONS
WARNING: Some units are very heavy. Use two or more people when moving and installing these units. Failure to do so could result in personal injury or death. Contact with metal edges and corners while applying excessive force can result in personal injury. Use gloves when handling equipment. Use caution during installation or while servicing equipment.
WARNING: Hot water can cause scalding. If hot water coil is connected to domestic potable water a hot water mixing valve can be applied to the system to temper domestic water draw.
Installation of this fan coil should be performed only by a licensed contractor to ensure proper installation and the safety of the installer. Observe the following precautions for typical installations:
- Always use proper tools and equipment.
- No wiring or other work should be attempted without first ensuring fan coil is completely disconnected from the power source and locked out. Always verify that a good permanent, uninterrupted ground connection exists prior to energizing any power sources.
- Always review the nameplate and wiring diagram on each unit for proper voltage and control configurations. This information is determined from the components and wiring of the unit and may vary from unit to unit.
- When soldering or brazing to the unit, it is recommended to have a fire extinguisher readily available. When soldering close to water valves or other components, heat shields or wet rags are required to prevent damage.
- When the fan coil unit is in operation components are rotating at high speeds.
- Units must be installed level or angled toward the drain nipple to ensure proper drainage and operation.
- Check unit prior to operation to ensure that the condensate water will drain toward the drain connection. An overflow drain or an auxiliary drain pan under the fan coil may be required as a back up to a clogged primary drain.
- On the units with plastic drain pans DO NOT tighten more than hand tight.
- Be sure that the drain pan is free from foreign material prior to start up.
- Check filter media installation to ensure that it is installed correctly. Use the directional arrows or other information on the filter to determine the proper flow direction.
- Ensure air distribution system does not exceed the external static rating of the unit.
Insulation is installed in indoor equipment to provide a barrier between outside air conditions surrounding the unit and the varying conditions inside the unit. If the insulating barrier is damaged, the surrounding ambient air will affect the inside surface temperature of the cabinet. The temperature/ humidity difference between the inside and outside can cause condensation to form on the inside and outside of the cabinet which leads to sheet metal corrosion and subsequently component failure.
Damaged insulation must be repaired or replaced before the unit is placed back into operation. Insulation loses its insulation value when wet, damaged, separated, or torn.
These fan coil units are designed for quiet operation, however, all air conditioning equipment will transfer some amount of noise to the conditioned space. This should be taken into consideration when planning the location of the equipment.
FAN COIL UNIT
The installer must adhere strictly to all local and national code requirements pertaining to the installation of this equipment. These units are designed to be installed vertically in the upflow position by the following mounting means:
All units are designed for indoor use only, and are agency listed for installation with zero clearance to combustible materials. This includes the fan coil cabinet, discharge plenum, and connecting ducts. Sufficient clearance must be provided at the front of the fan coil to allow access to electrical controls and removal of the motor /blower assembly for servicing. This clearance distance should be approximately the same as the depth dimension of the fan coil unit.
WARNING: Hot water can cause scalding. If hot water coil is connected to domestic potable water a hot water mixing valve can be applied to the system to temper domestic water draw.
NOTE: If a condensate overflow shut off switch, that is designed to be installed in the drain line, is used in place of a secondary drain line then place it in the primary drain line between the fan coil and the P-trap.
- MOUNTING It is important to ensure that the fan coils are securely mounted and the structure is sufficient to support the weight of the equipment. All anchors for
mounting the equipment must be placed and sized to ensure a safe and durable installation. - HUNG ON CLOSET WALL
Using mounting kit 90PK3, air handler may be wall mounted. Brackets and screws are provided for both the closet wall and the air handler.
It is recommended that sound isolating material be installed to prevent any undesired transfer of sound. - RECESSED IN A WALL
Installation of the fan coil recessed into a partition wall with it’s recommended framing is shown in figure 1.
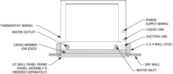
NOTE: The front face of the unit must be installed flush with the dry wall. This application requires the optional louvered wall panel which must be ordered separately. Wall panel with frame is secured to the studs by screws or nails after the dry wall has been installed. Refer to figure 2 and 3. - CLOSET PLATFORM FRONT RETURN
Fan coil is to be set on a platform and secured by screws or nails. Sufficient space for drain piping is required under the platform.
FIGURE 1. UC-HW RECESSED WALL MOUNTING (SUPPORT FRAMING)

FIGURE 2. INSTALLED UNIT TOP VIEW

FIGURE 3. DETAIL OF WALL PANEL FRAME INSTALLATION

AIR DISTRIBUTION DUCTS
All duct work must be installed in accordance with National Fire Protection Association Codes 90A and 90B. Supply and return duct system must be adequately sized to meet the system’s air requirements and static pressure capabilities. Ducts should be adequately insulated to prevent condensation during the cooling cycle and to minimize heat loss during the heating cycle. The ducts should be insulated with a minimum of 1-inch insulation with a vapor barrier in conditioned areas or 2-inches minimum in unconditioned areas. All return air must be filtered to prevent dirt buildup on the coil surface. If there is no ducted return, applicable installation codes may limit the unit to installation only in a single story residence. In many cases it is acceptable to use ducting of the same size as the fan coil connections. However, unique arrangements or long duct runs must be confirmed by a local professional. The manufacturer will not be responsible for misapplied equipment.
ELECTRICAL
WARNINGS: Electric Shock Hazard
- Disconnect all power supplies before servicing; lock out/tag out to prevent accidental electrical shock. Note: there may be multiple power sources.
- Use copper conductors only.
- Install all parts and panels before operating.
- Failure to follow these warnings can result in injury or death.
All wiring must comply with local and national code requirements. Units are provided with wiring diagrams and nameplate data to provide information required for necessary field wiring. Refer to figure 2 for points of entry of the wiring into the cabinet.
These units are provided with a Class 2 transformer for 24-volt control circuits. Should any add-on equipment also have a Class 2 transformer furnished, care must be taken to prevent interconnecting outputs of the two transformers by using a thermostat with isolating contacts.
WARNING: Units with ECM motors have line voltage power applied at all times. Make sure power is disconnected before servicing.
HOT WATER COIL PIPING
HOT WATER COIL PIPING PRECAUTIONS
- Flush all field piping prior to connection to remove all debris.
- Use wet cotton rags to cool valve bodies when soldering.
- Open all valves (mid-way for hand valves, manually open on motorized valves) prior to soldering.
- When soldering to bronze or brass, heat the piping while in the socket/cup and begin introducing the solder when the flux boils rapidly. Avoid direct flame into the solder joint.
- Heat can only be applied to the cup of the valve body for a minimal time before damage occurs (even with the use of wet rags).
- Avoid rapid quenching of solder joints as this will produce joints of inferior quality
- Provisions must be made for expansion and contraction of piping systems. All horizontal and vertical risers, including runouts, must be able to withstand significant movement with temperature changes. Failure to do so will result in damage and failure of piping, fittings and valves throughout the building.
- All piping made in the field should be installed with consideration of additional space for any electrical routing that may be required.
- Connect all piping per accepted industry standards and observe all regulations governing installation of piping systems.
Refer to Flow Control Module installation instructions for proper pump installation, if used.
The hot water coil connections are 3/4 inch nominal (7/8” OD) copper. The hot water supply to the fan coil should be on the right when facing the fan coil upright and from the front.
WARNING: An expansion tank may be required if a back-flow preventer is installed in the system.UC-HW / UCX-HW
All piping between the water heater and fan coil unit should be 3/4” nominal (7/8” OD) copper pipe to prevent excessive head pressure loss. If copper or other piping material is used the installer must calculate its pressures drop and size pipe and overall length accordingly to match the performance of the circulator. Maximum GPM through the coil is 4.5 GPM.
It is also recommended that all piping be adequately insulated to prevent freezing when piping is run in an unconditioned space.
Solder Connections – All copper joints in the water lines must be made with low temperature – non lead solder.
“T” Connections (at the water heater)-
Water lines to and from the fan coil unit must be taken from the horizontal connection of the “T” fittings in the vertical hot and cold water supply lines at the water heater. This ensures that any air in the system will be purged each time water is used in the dwelling. See figure 4.
Isolation Valves – Two valves are recommended to be installed within the circulating loop to permit servicing of the system if required and to assist in purging the system.
NOTE: Hot water coil freeze protection is available for applications where the fan coil is located in ambient air locations (attics, crawl spaces, etc.) or within structures that may be unoccupied during freezing conditions. Consult the factory for additional information.
NOTE: A water heater is designed to produce hot water. Hot water represents a serious safety hazard due to potential scalding. The temperature of water normally required to provide space heating (135 to 140 degrees) may be hotter than certain codes allow for domestic hot water. An “anti-scald valve” can be installed in the hot water piping that would allow the domestic water to be supplied at a lower temperature than the space heating water. These can be obtained locally and should be installed according to the manufacturer’s installation instructions.
CAUTION: Hydronic systems are not designed to hold pressurized air and should only be tested with water. Pressurizing system with air could damage equipment.
10. When all connections are complete, pressure test system. Repair any solder joint leaks and gently tighten any leaking valve packing nuts and piping accessories, as required.
CAUTION: When connecting piping to fan coil units, do not bend or reposition the coil header tubing for alignment purposes. This could cause a tubing fracture resulting in a water leak when pressure is applied to the system.
COOLING COIL PIPING
These fan coil units are supplied with a direct expansion refrigerant coil. The suction and liquid lines must be sized in accordance with the outdoor unit manufacturer’s recommendations.
Condensate drain lines must be installed with adequate slope away from the unit to assure positive drainage. Since the drain pan is located on the suction side of the blower, a negative pressure exists at the drain pan and a minimum trap of 1-1/2 inches provided in the drain line to assure proper drainage.
WARNING:
On units with plastic drain pans the drain connections must be made hand tight only.
AUXILIARY CONDENSATE SWITCH
Auxiliary condensate switch may be installed in lieu on auxiliary drain line as permitted by local code.
FIGURE 4. FRONT DRAIN APPLICATIONS

For front drain applications cut as shown and remove metal tab to allow drain piping to slope away front the drain pan properly. Ensure that the drain piping has proper slope and is able to drain.
WARNING: If secondary drain is not being used it must be plugged to prevent leakage which will cause structural and equipment damage.
FIGURE 5. THERMOSTATIC EXPANSION VALVE INSTALLATION
Install expansion valves as shown with directional arrow toward the coil. Attach the TXV bulb to the vertical suction line as shown with the tubing on top. External equalizer is to be attached to the 1/4” flare connector. Ensure that a service valve core is not installed before attaching the equalizer line. Wrap the bulb with insulation tape to completely seal the bulb from ambient air.
PRE-STARTUP CHECKS
WARNINGS:
- Electrically ground fan coil. Connect ground wire to ground terminal marked “GND”. Failure to do so can result in injury or death.
- Do not touch any rotating component with any object. Damage to the equipment and personal injury can occur.
CAUTION: Any device such as a fan switch or thermostat that has been furnished by the factory for field installation must be wired in strict accordance with the wiring diagram that is supplied with the unit. Failure to do so could result in damage to components and will void all warranties.
Before start-up, all of the components should be given a thorough check. Optimal operation of this equipment requires cleanliness. Often after installation of this equipment additional construction activities occur. Care must be taken to protect the equipment from debris during these construction phases.
Prior to starting the unit:
- Ensure supply voltage matches nameplate data.
- Ensure unit is properly grounded.
- With power off, check blower wheel set-screws for tightness and ensure blower wheels rotate freely and quietly.
- Ensure fan coil is properly and securely installed.
- Ensure unit is sloped toward drain line.
- Ensure unit will be accessible for servicing.
- Ensure condensate line is properly sized, run, trapped, pitched and tested.
- Ensure all cabinet openings and wiring connections have been sealed.
- Ensure a clean filter is in place and of adequate size.
- Ensure all access panels are in place and secured.
- Check that the refrigerant coil connections and piping have been leak checked and insulated as required.
- Check that the water coil, valves and piping have been leak checked and insulated as required.
- Ensure that all air has been vented from the water coil.
NOTE: It may require purging several gallons of water so have a means of discarding the water.
MAINTAINING LOW AIR LEAKAGE RATE
During installation, ensure that all grommets and gaskets remain intact on all surfaces as shipped with the unit. Any knockouts, penetrations, and holes that were exposed must be sealed to prevent air leakage. All access panels and covers must be flush with each other and the cabinet. With these requirements satisfied, the unit will maintain and achieve less than 2% air flow leakage when tested in accordance with ASHRAE Standard 193.
HEATING CYCLE START – UP
- Fill the water heater. Open a hot water faucet while filling the water heater to vent the air. When the tank is full and all the air is purged, close the faucet.
- Ignite the water heater and set the thermostat to 140 degrees.
- Purge the air handler’s hot water coil and lines.
NOTE: It may require purging several gallons of water so either have a bucket available or a means of discarding the water.
Close valve number 1 and open valve number 2. (See figure 6) Next, open the air bleed valve. When all of the air is purged from the lines close valve number 2 and open valve number 1. After all the air is purged from the coil and lines, open both valve number 1 and 2 and close the air bleed valve. - Switch the room thermostat to the “Heat” position and raise the temperature setting to a position approximately ten degrees above room temperature.
WARNING: To prevent damage, the fan coil unit should not be energized for heating until the hot water coil and all the water lines have been purged of air.
The pump should energize and begin circulating the hot water through the coil. If the pump is operating properly and the water temperature in the water heater has reached the set point, then the hot water inlet at the fan coil unit will be hot. If the pump is running but hot water is not circulating, open the air bleed valve long enough to purge any remaining air from the hot water lines and coil. This will allow the pump to begin circulating hot water. - The water heater thermostat should be adjusted so that the water temperature entering the hot water coil is as close to 140 degrees as possible with the system energized and operating long enough for all temperatures to stabilize.
FIGURE 6. TYPICAL PIPING SCHEMATIC WITH FLOW CONTROL MODULE

MAINTENANCE
- FAN The fan should be inspected and cleaned annually, in conjunction with maintenance of the motor and bearings. It is important to keep the wheels clean in order to avoid imbalance and vibration.
- MOTOR Check motor connections to ensure that they are secure and made in accordance with the wiring diagram.
The blower motor should be cleaned annually.
WARNING: Units with ECM motors have line voltage power applied at all times. Make sure power is disconnected before servicing. - FILTER The air filter should be cleaned or replaced every 30 days or more frequently if severe conditions exist. Always replace the filter with the same type as originally furnished.
- COIL Any dust or other contaminants which accumulate on the heat transfer surfaces interferes with the air flow and impairs heat transfer. The coil must be kept clean by any of the following methods.
- Cleaning with low-pressure compressed air.
- Flushing or rinsing with water (a detergent is advisable for greasy surfaces).
- DRAIN PIPING
The drain should always be:- Connected or piped to an acceptable disposal point sloped away from the unit at least 1/8-inch per foot.
- Checked before summer operation.
- Periodically checked during summer operation.
- PREVENTATIVE MAINTENANCE
To achieve maximum performance and service life of each piece of equipment, a formal schedule of regular maintenance should be established and maintained. - MAINTENANCE UPDATES
Contact Factory for Current Maintenance Program Information.
P.O. BOX 270969, Dallas, TX 75227 www.firstco.com or www.ae-air.com
The manufacturer works to continually improve its products. It reserves the right to change design and specifications without notice. ©2022 First Co., Applied Environmental Air



















