bathlife KRISTALL Crystal Chandelier

TOOLS REQUIRED

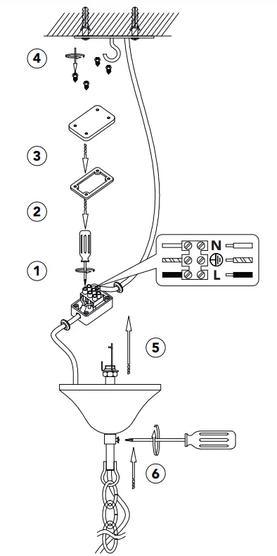
WIRING

BULB

Copyright ©2021 Bygghemma Sverige AB. Original content rights reserved. All product names, logos, and brands are property of their respective owners.
Information contained within this document was considered accurate at the time of publication, but may be subject to revision.














