envirovent energiSava 200 Mechanical Ventilation Heat Recovery
Safety
Read and understand these instructions carefully before beginning installation. The unit should only be installed by a competent person.
Electrical Connection
The unit requires a continuous electrical power supply. Connection to the fixed wiring must be made outside the unit in a suitable location. The unit must be able to be disconnected from the main supply after installation. The unit must be earthed and a double pole switch having a minimum contact separation of 3.0mm must be used to provide isolation for the unit.
The power cable running into the unit must remain the supplied flexible cable (not a solid core lighting cable]. If the power cable becomes damaged, it must be replaced by EnviroVent, an authorized service agent for your region/country, or a similarly qualified person in order to avoid a hazard. Do not remove or tamper with any electronic components inside the unit.
All wiring must comply with Building Regulations and the current IET Wiring Regulations (BS7671 in the UK) or equivalent standards for other countries. The final installation should be examined and tested by a qualified electrician.
Location
Check there is space for the unit in your chosen location including room for access and future servicing of the unit. The unit must not affect the operation of open-flue appliances. Consider the external vent locations in relation to open flues from appliances e.g. boilers. You must ensure the external supply grilles are positioned away from open flues to avoid drawing harmful gases into the property. Consult your local regulations or a qualified gas engineer.
Users
This unit is not intended for use by persons [including children] with reduced physical, sensory or mental capabilities or lack of experience and knowledge unless they have been given supervision and usage instruction by a person responsible for their safety. Children should be supervised to ensure they do not play with the unit. Cleaning and user maintenance must not be performed by children.
Diagrams

WIRING
The local isolator must be connected to the mains as part of the fixed wiring. Connect the cores of the power cable to the matching terminals on the local isolator (3A fuse spur or similar). The black switch live core of the mains cable can be wired to a switch input such as a light switch. When the switch is turned on, the boost function is engaged. When the switch is turned off, the unit will return to normal running mode. In this configuration, a triple pole isolator must be used.
About the energiSava® 200
- The energiSava® 200 is an MVHR unit (Mechanical Ventilation with Heat Recovery). It is ideal for small to medium sized properties with a kitchen and up to 5 additional wet rooms.
- The unit is capable of delivering a maximum airflow of 245m3/h (68l/s) and a maximum system pressure in excess of 500Pa.
- The unit will help to create a fresh and healthy living environment by supplying filtered air into a property through supply valves. Moist, stale air is removed from the property through extract valves.
- The heat exchanger inside the unit transfers wastes heat energy from the extracted air to the supplied air in order to improve the thermal efficiency of the property and reduce heating costs.
- The frost protection feature automatically uses the warm extracted air to ensure the heat exchanger inside the unit does not freeze when outdoor temperatures are below 5ºC.
- The Intellitrac® humidity tracking function monitors the humidity levels in the extracted air and will automatically increase the supply and extract air flow rates when the humidity levels rise. Once the humidity levels are lower the air flow rates will return to the normal rate.
- The mechanical summer bypass feature automatically diverts some of the supplied air around the heat exchanger at temperatures above 25ºC to avoid the property overheating when the outdoor air temperature is high.
- The energiSava® 200 includes a switch live function. When wired through the lighting switch of a room (such as a bathroom) the unit will enter boost mode whenever the light is turned on.
Box Contents EnergiSava® 200
- 1x energiSava® 200 unit
- 1x Remote control
- 1x Instruction guide
- 1x User guide
- 2x Mounting brackets
- 10x Screws 8g x 2.0”
- 10x Plasterboard plugs
- 2x Wing nuts
- 1x Screw 10g x 0.5”
- 1 x Condensate drainage kit
EnergiSava® 200 App
- 1x energiSava® 200 app unit
- 1x Instruction guide
- 1x User guide
- 1x App guide
- 2x Mounting brackets
- 10x Screws 8g x 2.0”
- 10x Plasterboard plugs
- 2x Wing nuts
- 1x Screw 10g x 0.5”
- 1 x Condensate drainage kit
Pre – Installation Checklist
- Does the unit fit in the space where it will be installed?
- Is there room to connect ducts to the spigots without tight duct bends?
- Is there room to access and replace the filters after installation?
- Are there any obstructions above or below the locations where the input and extract valves are to be fitted?
- Is the mounting surface strong enough to support the unit?
- Is the mounting surface level?
- Are there adequate facilities to connect the unit condensate drain to the internal waste system of the property?
Installation
- Hold the unit up to the chosen location and check there is space for ducts, condensate drainage, filter, and keypad access.

- Once you are satisfied with the position, line up the two brackets using the printed template then secure them to the mounting surface. Use 5 8gx2.0” screws and 10 plasterboard plugs.

- Mount the unit onto the brackets ensuring that it is fully supported.

- Apply the two wing nuts onto the threaded studs then insert the self-tapping screw into the hole and tighten it. This will ensure the unit cannot be accidentally knocked off the brackets.

- Fit the external supply and extract terminations.

- Fit the supply and extract valves inside the property.

- Fit the ductwork between the external terminations, the MVHR unit, and the supply and extract valves.

- Connect each duct path to the spigot.

- Make a water-tight connection between the two drainage connectors on the unit and the wastewater system in the property. A suitable non-return device must be fitted to ensure air and waste water from the drain system do not flow back up into the unit. The drainage must be fitted with a minimum 5-degree fall away from the unit.

- With the mains supply isolated, wire the unit to the local isolator as per the wiring diagram on page 3 and in accordance with the local wiring regulations. When the power is turned on, air will begin flowing into the property after a few seconds.

Commissioning
All maintenance and building works should be completed before commissioning this MVHR unit. This will avoid any other major disturbance to the installation or high volumes of dust or debris being drawn into the system. Do not commission the MVHR unit until it is fully installed including power, ductwork, internal valves, and external vents.
MVHR systems must be commissioned in accordance with Approved Document F of the Building Regulations for England and Wales. Further good practice advice for the installation of MVHR systems can be found in the latest edition of the Domestic Ventilation Compliance Guide for England and Wales. For MVHR commissioning guidance in other countries, please refer to the relevant local Building Regulations for that country.
- Determine the required ventilation rates. For guidance see Approved Document F of the building regulations for England and Wales.
- During normal running mode, press the SET button for 4 seconds to enter commissioning mode. (Humidity and temperature sensor input is disabled temporarily while the unit is in commissioning mode).
- LEDs B C D will light and LED A will flash indicating that the extract boost flow rate is being modified.
- Fully open all supply/extract valves then measure the air flow rate at all system extract points using a calibrated air flow meter capable of measuring in l/s or m3/hr.
- Add the extract rates from all rooms together then compare this value to the calculated whole building boost extract ventilation rate.
- Use the + and – buttons to increase or decrease the flow rate in order to meet the calculated whole building extract ventilation rate.
- Now adjust the individual valves to extract at the appropriate rate for each wet room.
- Press the SET button once to move on to the next flow rate. The flashing LED indicates which flow rate is being modified.
A: Extract Boost
B: Supply Boost
C: Extract Trickle
D: Supply Trickle - Commission the unit in the order shown below, using the previous steps for adjusting air flow rates and valves.
(When the maximum speed setting is reached, the LED will flash faster. When the minimum speed setting is reached the LED will flash slowly).
| Step | Flow Rate | Actions |
| 1 | Extract Boost | Lock the valves. Record the airflow rates. |
| 2 | Supply Normal (Trickle) | Lock the valves. Record the airflow rates. |
| 3 | Supply Boost | Do not adjust the valves. Record the airflow rates. |
| 4 | Extract Normal (Trickle) | Do not adjust the valves. Record the airflow rates. |
When commissioning is complete for all four flow rates, press SET for 4 seconds to return to normal running mode. If this is not done, the unit will automatically return to normal running mode after 60 minutes of inactivity and the current settings will be saved.
Wi-Fi App myenvirovent
App-enabled units can be controlled using the myenvirovent app on Apple and Android devices. A separate instruction guide for the myenvirovent app is included in the box. The guide can also be accessed from within the app. Once the unit has been installed, refer to this guide for connection and further settings. The SSID and password information for the unit is printed on the back page of the app guide and also on a label attached to the bottom of the unit.
Wireless Remote Control
To view the current status of the unit:
- Press any button to wake the remote control and the relevant buttons will light up according to the current status of the unit.
To manually activate or deactivate the boost function:
- Press any button to wake the remote control.
- If the unit is currently in trickle mode, press the boost button once. The boost button will light up (green). The unit will enter boost mode for 20 minutes and then automatically return to trickle mode.
- If the unit is currently in boost mode, press the trickle button once to return to trickle mode. The trickle button will light up (green).
- If the switch live connection is turned on then the boost cannot be canceled until the switch live connection is turned off.
To manually activate or deactivate the summer bypass function:
- Press any button to wake the remote control.
- Press the summer bypass button to enable summer bypass for 24 hours.
- If the unit is currently in summer bypass mode, press the summer bypass button once to deactivate summer bypass mode.
Filter indicator and reset:
- If on waking the remote control the summer bypass light flashes (red), the filters need to be replaced. Contact EnviroVent to order new filters.
- After replacement filters have been installed press and hold the summer bypass button for 12 seconds to reset the filter indicator.
Pairing an extra remote control:
- Turn the unit off at the isolation point.
- Restore the power to the unit. For 20 seconds from restarting, the unit will be in pairing mode.
- Press any button on the extra remote control once within 20 seconds and the remote control will pair with the unit.
- Successful pairing is indicated by all three lights flashing (green).
Fault indication:
- If a fault occurs with the MVHR unit, all lights on the remote control will flash (red). If it persists, call EnviroVent on 01423 810 810 for further help.
When the remote control batteries need to be replaced, unclip the switch’s rear cover. The battery is located on the back of the cover. Replace the batteries then clip the rear cover back on. The switch will remain paired with the unit after battery replacement. The remote control uses 2x AAA batteries. Dispose of the discarded batteries in a safe manner.
Technical Specification
| Spigot diameters | 125mm |
| Maximum air flow rate | 68l/s (244.8m3/h) |
| Maximum power consumption | 114W |
| Electrical Supply | 230V Single Phase 50Hz |
| Ingress protection rating | IPX2 |
| Filter grade | ISO Coarse 45% (G3) |
| Boxed unit weight | 16kg |
| Unboxed unit weight | 14kg |
Airflow Performance
Post-Installation Checklist
- Installation instructions have been understood. Contact EnviroVent on 01423 810 810 if you require further technical help.
- The ductwork diameter is 125mm or larger throughout the property.
- Minimal amounts of flexible ducts have been used in the installation.
- All ducts, valves, vents, and drainage points are connected, mechanically fixed, and sealed.
- Both filters are inserted into the filter slots on the unit.
- The unit is securely fixed with adequate space left for service.
- The condensate drain is securely connected to the wastewater system, a nonreturn device is correctly fitted and pipework has been water tested before connection to the MVHR unit.
- All major building works have been completed prior to commissioning.
- Supply and extract air flow rates have been commissioned with a calibrated anemometer to meet Approved Document F of the Building Regulations for England and Wales.
- Commissioning air flow rate data has been recorded.
- The occupants of the property are familiarised with the operation and maintenance of the system
Filter Maintenance
- Filters must be inspected every 6 months and replaced at least every 12 months. If filter maintenance is not carried out, it can invalidate the warranty.
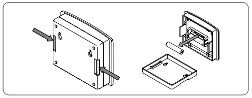
- Isolate the unit from the mains supply then slide off the front cover.
- Remove the filter caps, replace both filters the reinsert filter caps.
- Engage the mains supply then reset the filter indication by pressing the minus button for 10 seconds.
- Not maintaining the filters during the life of the product can invalidate the warranty. Filter indication duration is factory set to 12 months.

Spares/Accessories
| Item Description | Order Code |
| Replacement Filter | FILTER-ES200 |
| 125mm white supply valve | 1DIFSUPPLY125WH |
| 125mm white extract valve | 1DIFEXTRACT125WH |
| 150mm white supply valve | 1DIFSUPPLY150WH |
| 150mm white extract valve | 1DIFEXTRACT150WH |
| Spare remote control | SWH-W-ES200 |
Warranty
We appreciate you choosing this quality EnviroVent product, which is designed and manufactured in Harrogate, North Yorkshire. We are confident that you will be delighted with the performance of the system and the resulting improvement in air quality in your home after it has been installed. This unit is covered by a 2-year warranty, subject to the replacement of filters every 12 months, or more frequently as required, depending on the environmental conditions. You should not dismantle or remove any parts of the product other than those instructed in this guide. Tampering with the unit will void the warranty. The valves should be checked periodically to ensure there is air flowing through the system.
EnviroVent Supply & Installation
If your product has been supplied and installed by EnviroVent Ltd it is covered with two-year parts and labor warranty. If you detect a fault, please contact us at 01423 810 810. You will be given guidance over the phone, or an arrangement may be made for a member of our team to visit (call-out charges may apply if a fault cannot be identified).
Supply Only
If your product has been supplied by EnviroVent and installed by a third party it is covered by a two-year parts only warranty. If you detect a fault and the product has been installed in accordance to the fitting/wiring instructions, relevant guidance documents, and by a competent and qualified person (proof may be required), please return the product to the place of purchase for a replacement.
Warranty Conditions & Exclusions
Please note that a receipt will be required as proof of purchase. Products bought from an unapproved source, including but not limited to auction websites, are not covered by the warranty.
- The system must be correctly installed and operated according to the instructions contained in the user guide supplied.
- The warranty will be rendered invalid if the system has been serviced, maintained, repaired, taken apart, or tampered with by any person not authorized, which in any way contradicts the instruction guide set out by EnviroVent.
- The warranty does not cover accidental damage, misuse, or abuse.
- The warranty is in addition to your statutory or legal rights.
Your unit serial number
For warranty conditions and exclusions, visit www.envirovent.com/warranty
AFTER COMPLETING INSTALLATION, PASS THIS GUIDE ON TO THE END USER FOR FUTURE REFERENCE DO NOT THROW IT AWAY
EnviroVent Limited
EnviroVent House
Hornbeam Business Park
Harrogate
HG2 8PA
T / 01423 810 810
E / [email protected]
W / envirovent.com
E&OE | MKT ENV377-05.05.21 -V10
Due to our policy of continuous innovation and improvement EnviroVent reserves the right to alter products specification and appearance without notice.
We want to hear from you
Your feedback is important to us as we strive to improve our products, services, and overall customer experience.
Please email us to help us serve you better: [email protected]





































