
TL 2004-2008 Acura Dash Kit
Instruction Manual
KIT FEATURES
- ISO DIN radio provision with pocket
- Painted matte black

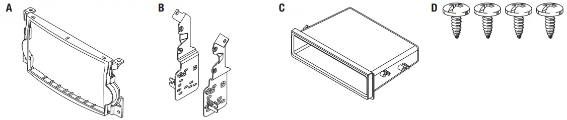
KIT COMPONENTS
- A) Radio trim panel
- B) Radio brackets
- C) Pocket
- D) (4) #8 x 3/8” Phillips screws

WIRING & ANTENNA COMPONENTS (sold separately)
Wiring Harness: 70-1721 Antenna Adapter: 04-06 not required
- 07-08 40-HD10 Steering wheel control interface: ASWC-1
TOOLS REQUIRED
- Panel removal tool
- Phillips screwdriver
CAUTION! All accessories, switches, climate controls panels, and especially air bag indicator lights must be connected before cycling the ignition. Also, do not remove the factory radio with the key in the on position, or while the vehicle is running.
Dash Disassembly
- Unclip the trim panels along the sides of the dash, down to the console. (Figure A)
- the top of the console, and (2) Phillips screws inside the console’s rear storage compartment. (Figure B)
- Slide the console back. Continued on next page


- Drop the glove box door, remove (2) Phillips screws, and (2) push pins to drop the glove box assembly. (Figure C)
- Remove (1) push pin and remove the driver’s knee panel. (Figure D)
- Remove (1) Phillips screw from each side console panel, and unclip to remove the panels. (Figure E)
Continued on the next page
- Unclip and remove the shift lever trim panels, then remove (2) Phillips screws to remove the lower console storage pocket. (Figure F)
- Unclip, unplug, and remove the vent assembly from above the radio. (Figure G) Continued on the next page

- Remove (4) Phillips screws to remove the factory radio assembly. (Figures H, I) Continue to Kit Preparation

Kit Preparation
- Remove the factory radio brackets to release the factory climate controls/screen for kit assembly.(Figure A)
- Remove the (2) factory speed clips from the bottom mounting tabs of the radio, and slide them onto the bottom mounting tabs of the 99-7815B radio trim panel. (Figure B)
Continue to Kit Assembly
ISO DIN radio provision with pocket
- Attach the radio brackets to the factory climate controls using the factory hardware. (Figure A)
- Attach the radio trim panel to the bottom of the factory climate controls using the factory hardware. (Figure B)
- Attach the pocket to the bracket/ radio trim panel assembly using the (4) supplied #8 x 3/8” Phillips screws. (Figure C)
- Remove the metal DIN sleeve and trim ring from the aftermarket radio.
- Slide the radio into the bracket/ panel assembly and secure it using the screws supplied with the radio. (Figure D)

- Locate the factory wiring harness and antenna connector in the dash, and complete all necessary connections to the radio and climate controls. Metra recommends using the proper mating adapter from Metra and/or AXXESS. Test the radio and climate controls for proper operation.
- Reassemble the dash in reverse order of disassembly.

IMPORTANT
If you are having difficulties with the installation of this product, please call our TeJch Support line at 1-800-253-TECH. Before doing so, look over the instructions a second time, and make sure the installation was performed exactly as the instructions are stated. Please have the vehicle apart and ready to perform troubleshooting steps before calling.
04-06 Acura TL Navigation Screen Activation
If the factory navigation screen does not power back on after replacing the factory radio, you can follow the steps below to get it on again.
Steps
- Locate the gray 26-pin connector that came out of the factory radio.
- Place a 100ohm resistor across the red wire (pin 26) and blue wire (pin 13)

07-08 Acura TL Navigation Screen Activation
If the factory navigation screen does not power back on after replacing the factory radio, you can follow the steps below to get it working again.
Steps
- Locate the gray 40-pin connector that came out of the factory radio.
- Place a 110ohm resistor across the pink wire (pin 29) and light blue wire (pin 9)

metraonline.com
KNOWLEDGE IS POWER
Enhance your installation and fabrication skills by
enrolling in the most recognized and respected
mobile electronics school in our industry.
Log onto www.installerinstitute.com or call
800-354-6782 for more information and take steps
toward a better tomorrow.
Metra recommends MECP-certified technicians
METRA – The World’s best kits.®
© COPYRIGHT 2017 METRA ELECTRONICS CORPORATION






















