99-6520B 2011- Dodge Journey Dash Kit
Instruction Manual
U.S. Patent # D755,778 D768,126
Dodge Journey 2011-up*
Visit MetraOnline.com for more detailed information about the product and up-to-date vehicle-specific applications
KIT FEATURES
- ISO DIN radio provision with pocket
- ISO DDIN radio provision
- Included interface retains the factory screen
- Painted matte black to match factory finish
Note: Does not retain sound from “Driver Convenience Group”
KIT COMPONENTS

- A) Radio trim panel
- B) Radio brackets
- C) A/C button housing
- D) Pocket
- E) Console bracket
- F) (6) #8 x 3/8” Phillips pan-head screws
- G) (2) Panel clips
- H) Climate extension harness (not shown)
- I) Axxess interface and harness (not shown)
WIRING & ANTENNA CONNECTIONS
Wiring Harness: Interface and harnesses included Antenna Adapter: 40-EU10 (sold separately) Steering Wheel Control Interface: ASWC-1 (sold separately)
TOOLS REQUIRED
- Panel removal tool
- Phillips screwdriver
Attention! Let the vehicle sit with the key out of the ignition for a few minutes before removing the factory radio. When testing the aftermarket equipment, ensure that all factory equipment is connected before cycling the key to ignition.
DASH DISASSEMBLY
- Unclip and remove the trim panel along the top of the glove box over to the passenger side a/c vent. (Figure A)
- Unclip and remove the small trim panel to the left of the hazard button. (Figure A)
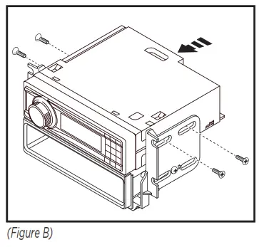
- Remove (2) Phillips screws securing the climate/radio panel, then unclip, unplug and remove the panel. (Figure B)

Note: A climate extension harness is provided to extend this harness lower in the center console where the climate will be relocated to. - Remove (4) Phillips screws securing the radio chassis. Slide the chassis out, then unplug and remove the chassis. (Figure C)
Note: The white 4-pin harness will be reused in Kit Assembly. (Figure D) - Pull up on shift knob to remove. (Figure D).
- Unclip and remove the shifter trim panel including the cup holders from the top of the center console. (Figure E)
- Push down and then pull back and out on the pocket in the front of the console.
Note: You may need to pull the console side panels outward at the same time as pulling out on pocket. (Figure F)
- Remove the (2) metal panel clips on the front side of the pocket and save them for Kit Preparation.
KIT PREPARATION
- Attach the console bracket to the back of the A/C button housing using (4) of the provided #8 x 3/8” Phillips screws. (Figure A)
- Install the (2) metal panel clips saved from the pocket disassembly onto the console bracket. (Figure A)
- Using the climate extension harness provided, connect the A/C button housing assembly to the factory wiring harness in the vehicle.
- Secure the A/C button housing into the pocket space in the front of the center console. (Figure B)

ISO DIN radio provision with pocket
- Secure the radio brackets to the pocket using the (2) #8 x 3/8” Phillips screws provided. (Figure A)
Note: Pins on brackets will align with a front mounting hole of the pocket. - Remove the metal DIN sleeve and trim ring from the aftermarket radio.
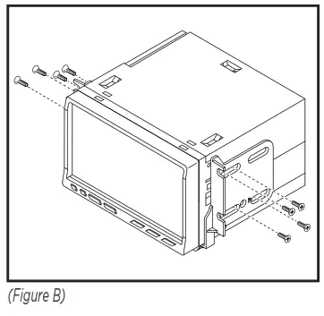
- Slide the radio into the bracket/pocket assembly, then secure it to the assembly using the screws supplied with the radio. (Figure B)

ISO DDIN radio provision
- Break the small locating pin from the inside surface of each bracket. (Figure A)

- Secure the radio brackets to the radio using the screws supplied with the radio. (Figure A)

AXXESS INTERFACE INSTALLATION
INTERFACE FEATURES
- Provides accessory power (12-volt 10-amp)
- Retains R.A.P. (retained accessory power)
- Used in amplified and non-amplified systems
- Provides NAV outputs (parking brake, reverse, V.S.S.)
- Prewired ASWC-1 harness (ASWC-1 sold separately)
- Retains balance and fade
- Ability to add an aftermarket backup camera or additional video input
- Retains the factory display screen
- Micro “B” USB updatable
Note: Does not retain sound from “Driver Convenience Group”
INTERFACE COMPONENTS
- Axxess interface
- 16-pin harness with stripped leads
- 6520 harness
TOOLS REQUIRED
- Crimping tool and connectors, or solder gun, solder, and heat shrink
- Tape
- Wire cutter
- Zip ties
- Small flat-blade screwdriver
CONNECTIONS
From the 16-pin harness with stripped leads to the aftermarket radio:
- Connect the Red wire to the accessory wire.
Note: If also installing an ASWC-1 (sold separately), there will be a Red wire on the 6520 harnesses to connect as well. - Connect the Orange/White wire to the illumination wire, if applicable.
- If the vehicle is equipped with a factory amplifier, connect the Blue/White wire to the amp turn-on wire.
The following (3) wires are for aftermarket multimedia/navigation radios that require these wires:
- Connect the Blue/Pink wire to the speed sense wire.
- Connect the Green/Purple wire to the reverse wire.
- Connect the Light Green wire to the parking brake wire.
- Tape off and disregard the following (9) wires, they will not be used in this application: Brown, White, White/Black, Gray, Gray/Black, Purple, Purple/Black, Green, Green/Black.
From the 6520 harnesses to the aftermarket radio:
- Connect the Black wire to the ground wire.
- Connect the Yellow wire to the battery wire.
- Connect the Gray wire to the right front positive speaker output.
- Connect the Gray/Black wire to the right front negative speaker output.
- Connect the White wire to the left front positive speaker output.
- Connect the White/Black wire to the left front negative speaker output.
- Connect the Green wire to the left rear positive speaker output.
- Connect the Green/Black wire to the left rear negative speaker output.
- Connect the Purple wire to the right rear positive speaker output.
- Connect the Purple/Black wire to the right rear negative speaker output.
- Disregard the Yellow RCA jack labeled (1), it will not be used in this application.
- Connect the Yellow RCA jack labeled (2) to either an aftermarket backup camera or an AUX video input.
12-pin pre-wired ASWC-1 harness:
This harness is to be used along with the ASWC-1 (sold separately) to retain the steering wheel audio controls. If the ASWC-1 is not being used, disregard this harness. If it is to be used, please refer to the ASWC-1 instructions for radio connections and programming. Disregard the harness that comes with the ASWC-1.
INSTALLATION
Attention! For models with an 8-inch screen, update the interface via the Axxess Updater available at axxessinterfaces.com. Select “8-inch screen” once prompted to. Instructions to update the interface are available at the end of this instruction booklet.
With the key in the off position:
- Connect the 16-pin harness with stripped leads, and the 6520 harnesses, into the interface.
- Connect the factory “White” 4-pin harness removed in step 4 of Dash Disassembly to the “Black” connector from the interface.
Note: The display screen will not function without this connection. - Connect the 6520 harnesses to the wiring harness in the vehicle.
- Locate the factory antenna connector in the dash and complete all necessary connections to the radio. Metra recommends using the proper mating adapter from Metra.
Note: If an ASWC-1 (sold separately) will be used, do not connect it until the interface is programmed and fully functional.
PROGRAMMING
- When the interface first boots up, the factory screen will go through a bootup sequence for a few moments. Do not touch any controls during this process.
- Test all functions of the installation for proper operation, before reassembling the dash. For amplified models, also refer to the “Audio Level Adjustment” section.
FINAL ASSEMBLY
- Secure the completed assembly to the dash using the factory hardware.
- Attach the (2) panel clips provided to the 99-6520B radio trim panel, then reassemble the dash in reverse order of disassembly using the 99-6520B panel.
AUDIO LEVEL ADJUSTMENT
For models with a factory amplifier:
- With the vehicle and radio turned on, turn the volume up 3/4 of the way.
- With a small flat-blade screwdriver, adjust the potentiometer clockwise to raise the audio level; counterclockwise to lower the audio level.
- Once at the desired level, audio level adjustment is complete.
SCREEN OPERATION

- Radio button – Show the current time
- Player button – Not used in this application
- Climate button – Takes you to the climate screen
- Setting button – Takes you to the setting screen
- More button – Shows the outside temperature and current time
- Screen Off – Turns the display off
VIDEO OPTION SCREEN
- Once in the setting screen, scroll down to the Customize button. Pressing the button will take you to the video options screen. (Figure A)

- From here select Video 2, then select an option for the video input: AUX Video, Backup Camera, Not Used. (Figure B)

- After you have made your selection, tap the “Done” button located on the upper left hand corner of the screen to exit.

- The About button will display the current software of the kit, and also the VIN of the vehicle.

UPDATING
Attention: In order to update the interface, the interface must have power from the vehicle.
- Download and install the Axxess Updater from axxessinterfaces.com.
- Connect the USB-MINI-CAB update cable (sold separately) between the interface and the computer. The cable will connect to the Micro-B USB port inside the interface.
- Remove the main connector from the vehicle. This will remove power from the interface.
- Reconnect the main harness back to the vehicle, putting power back to the interface.
- From the Start Menu of the computer, click on “Axxess Updater”, and then click “Update Firmware”. The interface will begin to update at this point.
Note 1: If 30 seconds elapse after powering the interface, you will need to remove power from the interface, reapply power, then start the update process again.
Note 2: Please note which firmware was downloaded to the interface. This will help in troubleshooting if need be.c
If you are having difficulties with the installation of this product, contact our Tech Support line either by phone at 1-800-253-TECH or by email at
[email protected]. Before doing so, look over the instruction booklet a second time and ensure that the installation was performed exactly as the instruction booklet is stated. Have the vehicle apart and ready to perform troubleshooting steps before contacting Metra/Axxess Tech Support.
® KNOWLEDGE IS POWER
Enhance your installation and fabrication skills by enrolling in the most recognized and respected mobile electronics school in our industry.
Log onto www.installerinstitute.com or call 800-354-6782 for more information and take steps toward a better tomorrow.
Metra recommends MECP-certified technicians
The World’s best kits. ®
MetraOnline.com
© COPYRIGHT 2019 METRA ELECTRONICS CORPORATION
REV. 6/7/19 INST99-6520B

Note: The white 4-pin harness will be reused in Kit Assembly. (Figure D)

Note: Pins on brackets will align with a front mounting hole of the pocket.






















