tbs electronics 5073300 DC Modular Fuseholder

Product Information
The DC Modular is a range of fuseholders that come in different configurations based on the type of fuse and amperage requirements. The product features a compact design that allows for efficient use of space and is made with high-purity tinned copper base plates for optimal electrical conductivity. It also has excellent corrosion resistance due to the use of stainless steel bolts, rings, and nuts. The product’s base is made of a special fiber-reinforced plastic that provides excellent high-temperature properties, good chemical resistance, and high strength.
Product Specifications
| Product Name | Art.no. | Dimensions (W x L x H) | Fuse Range | Max. Voltage | Connection Studs |
|---|---|---|---|---|---|
| DCM Mega Fuseholder (300A) | 5073300 | 50.0 x 89.0 x 53.0mm | 40 .. 300A | 60V | M8 |
| DCM Mega Fuseholder (500A) | 5073350 | 50.0 x 150.0 x 64.5mm | 40 .. 500A | 60V | M8 |
| DCM ANL Fuseholder (300A) M8 | 5073500 | 50.0 x 100.0 x 53.0mm | 35 .. 300A | 60V | M8 |
| DCM ANL Fuseholder (300A) M10 | 5073510 | 50.0 x 100.0 x 53.0mm | 35 .. 300A | 60V | M10 |
| DCM ANL Fuseholder (600A) M8 | 5073550 | 50.0 x 150.0 x 64.5mm | 35 .. 600A | 60V | M10 |
| DCM ANL Fuseholder (600A) M10 | 5073560 | 50.0 x 150.0 x 64.5mm | 35 .. 600A | 60V | M10 |
| DCM Class-T Fuseholder (400A) | 5073850 | 50.0 x 150.0 x 64.5mm | 225 .. 400A | 60V | M10 |
| DCM Class-T Fuseholder (600A) | 5073880 | 50.0 x 150.0 x 64.5mm | 450 .. 600A | 60V | M10 |
Installation Details and Precautions
Before installing the product, please ensure that the installation area is dry and indoors. Use cables that are correctly sized to carry the expected load currents in your application to avoid fire hazards. For more information, visit our website. To prevent damage to the fuseholder or fire hazards, all nuts must be securely tightened. Refer to our recommended torque values of 13Nm for M8 nuts and 22Nm for M10 and M12 nuts. Always ensure that the spring washer and flat washer are directly under the nut to prevent damage to the fuseholder or fire hazards. Do not place washers between the busbar and crimping eye, fuse and crimping eye, multiple crimping eyes on the same bolt, busbar and connection plate, crimping eye and connection plate, or fuse and connection plate. Provide sufficient cable strain relief on all cables to prevent excessive mechanical stress on the fuseholder.
Product Usage Instructions
To use the DC Modular fuseholder, follow these steps:
- Select the appropriate fuseholder based on your fuse type and amperage requirements.
- Ensure that the installation area is dry and indoors.
- Use cables that are correctly sized to carry the expected load currents in your application to avoid fire hazards.
- Refer to the drilling template provided in the manual to drill holes for the connection studs.
- Insert the fuse into the fuseholder and tighten the thumbscrews by hand.
- Ensure that all nuts are securely tightened using the recommended torque values.
- Provide sufficient cable strain relief on all cables to prevent excessive mechanical stress on the fuseholder.
Specifications

- Higher voltages may require additional safety measures
- For M8 ANL type fuses
- For M10 ANL type fuses
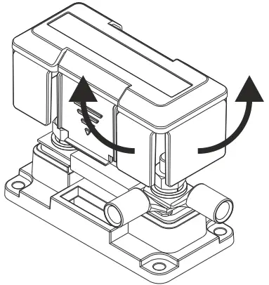
Removing the top cover

Drilling template

Assembly sequence of nut, washers and cable lugs (see also precaution 4)

Break out cover sides by hand at required cable access locations

Installation details
Precautions
- Please install this product in a dry, indoor location.
- To avoid fire hazards, use correctly sized cables which are suitable to carry the expected load currents in your application. Please check our website for more information.
- To avoid fire hazards or damaging the fuseholder, please make sure that all nuts are securely tightened. Please apply our recommended torque ratings of 13Nm for M8 nuts and 22Nm for M10 and M12 nuts.
- To avoid fire hazards or damaging the fuseholder, please make sure that spring- and flat washers are always placed directly below the nut. Never place washers between: busbar and cable lug, fuse and cable lug, multiple cable lugs on the same stud, busbar and linkplate, cable lug and linkplate or fuse and linkplate.
- Please make sure that all connection cables are properly strain relieved, to avoid excessive mechanical stress on the fuseholder.
DC Modular features
- Tin plated high purity copper busses provide maximum conductivity.
- Stainless steel studs, washers and nuts for optimal corrosion resistance.
- Unique grid optimized footprints allows space saving arrangements of multiple DC Modular products.
- Special fiber reinforced plastic base offers excellent high temperature properties, good chemical resistance and high strength.
- Common interconnection heights for easy combining of multiple products using optional link plates (not suitable for Mega (300A) and ANL (300A) fuseholders).
- Robust transparent covers with breakouts to allow wire access from any direction.
- Smart terminal design allows dual mirrored cable lug connections.
- Easy in-system fuse and connection access due top locked covers (except Mega (300A) and ANL (300A) fuseholders).
- The DCM Mega Fuseholders are compatible with the following fuse products: Littelfuse® ’Mega’ and Cooper Bussmann® ’AMG’.
- The DCM ANL Fuseholders are compatible with the following fuse products: Cooper Bussmann®
- ’ANL’ and ’ANN’ and Littelfuse® ’CNN’ and ’CNL’.
- The DCM Class-T Fuseholders are compatible with the following fuse products: Cooper Bussmann® / Edison® ’JJN’ and ’TJN’, Littelfuse® ’JLLN’ and Mersen® ’A3T’.



















