RENOGY RBC30/50D1S Fuse Instruction Manual
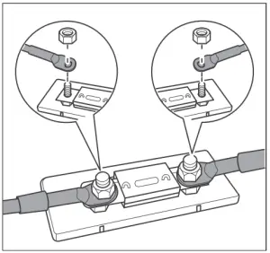
Diagram of Fuse Connection

WARNING
Please follow this instruction before using.
Fuse specification from house battery to the charger
- a 30A charger equipped with a 40A fuse
- a 50A charger equipped with a 60A fuse
Fuse installation instructions
- Firstly, connect the negative terminal of the house battery to the OUT terminal of the charger, and make sure all the terminals are tight.
- Secondly, connect the positive terminal of the house battery to one end of the fuse box, and then connect the other end of the fuse box to the OUT+ terminal of the charger, and make sure all the terminals are tight.
- Finally, connect the negative terminal of the starter battery to the charger, and then connect the positive terminal of the starter battery to the charger, and make sure all the terminals are tight.
NOTE The fuse must be installed on the positive side of the circuit.
Fuse box operation diagram
Installation tool description
- Prepare a No. 14 wrench (M8) for tightening copper ring terminals.
Installation wire diameter instructions
- 30A charger: prepare a 10AWG wire for the output terminal, the length is 1-5m.
- 50A charger: prepare a 6AWG wire for the output terminal, the length is 1-5m.


















