arietta ASG436SSB 36 Inch Stainless Steel Convertible Standard Hood Under Cabinet Hood Instruction Manual
IMPORTANT SAFETY INSTRUCTIONS
WARNING: TO REDUCE THE RISK OF FIRE, ELECTRIC SHOCK, OR INJURY TO PERSONS, OBSERVE THE FOLLOWING:
- Use this unit only in the manner intended by the manufacturer. If you have questions, contact the manufacturer.
- Before servicing or cleaning the unit, switch power off at ervice panel and lock the service disconnecting means to prevent power from being switched on accidentally. When the service disconnecting means cannot be locked, securely fasten a prominent warning device, such as a tag to the service panel.
- Installation work and electrical wiring must be done by qualifi ed person(s) in accordance with all applicable codes and standards, including fi re-rated construction.
- Suffi cient air is needed for proper combustion and exhausting of gases through the fl ue (chimney) of fuel burning equipment to prevent backdrafting. Follow the heating equipment manufacturer’s guideline and safety standards such as those published by the National Fire Protection Association (NFPA), the American Society for Heating, Refrigeration and Air Conditioning Engineers (ASHRAE), and the local code authorities.
- When cutting or drilling into wall or ceiling; do not damage electrical wiring and other hidden utilities.
- Ducted fans must always be vented outdoors
CAUTION: For general ventilating use only. Do not use to exhaust hazardous or explosive materials and vapors.
CAUTION: To reduce risk of fi re and to properly exhaust air, be sure to duct air outside – do not vent exhaust air into spaces within walls or ceilings, attics or into crawl spaces, or garages.
WARNING: TO REDUCE THE RISK OF FIRE, USE ONLY METAL DUCTWORK
WARNING: TO REDUCE THE RISK OF A RANGE TOP GREASE FIRE:
- Never leave surface units unattended at high settings. Boilovers cause smoking and greasy spillovers that may ignite. Heat oils slowly on low or medium settings.
- Always turn hood ON when cooking at high heat or when fl ambeing food (i.e. Crepes Suzette, Cherries Jubilee, Peppercorn Beef Flambé).
- Clean ventilating fans frequently. Grease should not be allowed to accumulate on fan or fi lter.
- Use proper pan size. Always use cookware appropriate for the size of the surface element.
WARNING: TO REDUCE THE RISK OF INJURY TO PERSONS IN THE EVENT OF A RANGE TOP GREASE FIRE, OBSERVE THE FOLLOWING:
- SMOTHER FLAMES with a close fi tting lid, cookie sheet, or metal tray, then turn off the burner. BE CAREFUL TO PREVENT BURNS. If the fl ames do not go out immediately, EVACUATE AND CALL THE FIRE DEPARTMENT.
- NEVER PICK UP A FLAMING PAN – you may get burned.
- DO NOT USE WATER, including wet dishcloths or towels -a violent steam explosion will result.
- Use an extinguisher ONLY if:
- You know you have a class ABC extinguisher, and you already know how to operate it.
- The fi re is small and contained in the area where it started.
- The fi re department is being called.
- You can fi ght the fi re with your back to an exit.
Based on “Kitchen Fire Safety Tips” published by NFPA.
WARNING: To reduce the risk of fi re or electrical shock, do not use this fan with any solid-state speed control device.
WARNING: Do not operate any fan with a damaged cord or plug. Discard fan or return to an authorized service facility for examination and/or repair.
READ AND SAVE THESE INSTRUCTIONS
Parts supplied
Removing the packaging
CAUTION!
Remove carton carefully, wear gloves to protect against sharp edges.
WARNING!
Remove the protective film covering the product before putting into operation.
- Hood assembly with blower and LED lamps already installed.
- Hardware bag with: Par
| Par | Qty |
![]() Hood assembly | 1 |
![]() Rectangular duct 31⁄4” x 10” (8.3 x 25.4 cm) | 1 |
![]() Torx 20 adapter | 1 |
![]() 0x50 mm wall anchors | 6 |
![]() 8×40 mm wall anchors | 6 |
![]() Security screws 5.4×75 mm | 6 |
![]() Security screws 5×45 mm | 6 |
![]() Security screws 4.5×13 mm | 4 |
![]() Mounting screws 4×8 mm | 4 |
![]() 6.4×18 mm washers | 2 |
Tools/Materials required
- Level
- Drill with 1¼” (3.0 cm),1 ⁄8” (3.0 mm), and 1 ⁄16” (4,8 mm) drill bits
- Pencil
- Wire stripper or utility knife
- Tape measure or ruler
- Pliers
- Caulking gun and weatherproof caulking compound
- Vent clamps
- Jigsaw or keyhole saw
- Metal snips
- Screwdriver
Flat-blade
Phillips screwdriver
Parts needed
- Home power supply cable
- ½” (12.7 mm) UL listed or CSA approved strain relief
- 3 UL listed wire connectors
For vented installations, you will also need:
- 1 wall or roof cap
- Metal vent system
Parts not supplied
Optional Accessories
| Kit | # Part |
| CFM Reduction Kit | KIT02748 |
| Recirculating Kit | KIT02770 |
Dimensions and Clearances

Electrical Requirements
IMPORTANT
Observe all governing codes and ordinances.
It is the customer’s responsibility
- To contact a qualified electrical installer.
- To assure that the electrical installation is adequate and inconformance with National Electrical Code, ANSI/ NFPA 70— latest edition*, or CSA Standards C22.1-94, Canadian Electrical Code, Part 1 and C22.2 No.0-M91 – latest edition** and all local codes and ordinances.
- If codes permit and a separate ground wire is used, it is recommended that a qualified electrician determine that the ground path is adequate.
- Do not ground to a gas pipe.
- Check with a qualified electrician if you are not sure range hood is properly grounded.
- Do not have a fuse in the neutral or ground circuit.
National Fire Protection Association
1 Batterymarch Park
Quincy, MA 02169-7471
CSA International
8501 East Pleasant Valley Road
Cleveland, OH 44131-5575
IMPORTANT
- Save Installation Instructions for electrical inspector’s use.
- The range hood must be connected with copper wire only.
- The range hood should be connected directly to the fused disconnect (Or circuit breaker) box through metal electrical conduit.
- Wire sizes must conform to the requirements of the National Electrical Code ANSI/NFPA 70 — latest edition*, or CSA Standards C22.1-94, Canadian Electrical Code Part 1 and C22.2 No. 0-M91 – latest edition** and all local codes and ordinances.
- A U.L.- or C.S.A.-listed conduit connector must be provided at each end of the power supply conduit (at the range hood and at the junction box).
BEFORE INSTALLING THE HOOD
- For the most efficient air flow exhaust, use a straight run or as
few elbows as possible. CAUTION: Vent unit to outside of building, only. - At least two people are necessary for installation.
- Fittings material is provided to secure the hood to most types of walls/ceilings, consult a Qualified Installer, check if they perfectly fit with your cabinet/wall.
- Do not use flex ducting.
- COLD WEATHER installations should have an additional back draft damper installed to minimize backward cold air flow and a nonmetallic thermal break to minimize conduction of outside temperatures as part of the ductwork. The damper should be on the cold air side of the thermal break. The break should be as close as possible to where the ducting enters the heated portion of the house.
- Make up air: Local building codes may require the use of Make-Up Air Systems when using Ducted Ventilation Systems greater than specified CFM of air movement. The specified CFM varies from locale to locale. Consult your HVAC professional for specific requirements in your area.
Ducting Options
CFM reduction kit
If required or desired this hood is to be used only in conjunction with CFM reduction kit model KIT02748.
Consult your HVAC professional and local building codes for specific requirements in your area.
Closely follow the instructions set out in this manual.
All responsibility, for any eventual inconveniences, damages or fires caused by not complying with the instructions in this manual, is declined.
This hood is factory set for venting through the roof (vertical discharge) or wall (horizontal discharge). A 31⁄4” x 10” (8.3 x 25.4 cm) rectangular duct system is needed for installation (not included). The hood exhaust opening is 31⁄4” x 10” (8.3 x 25.4 cm).
NOTE: Flexible vent is not recommended. Flexible vent creates back pressure and air turbulence that greatly reduce performance. Vent system can terminate either through the roof or wall. To vent through a wall, a 90° elbow is needed.
Vertical Discharge
Use a rectangular duct 31⁄ 4 ” x 10” (8.3 x 25.4 cm) and a 31⁄4” x 10” (8.3 x 25.4 cm) rectangular transition for discharge of fumes to the outside.
A. 31⁄4” x 10” (8.3 x 25.4 cm) rectangular transition
B. 31⁄4” x 10” (8.3 x 25.4 cm) duct
C. Cabinet
D. 90° elbow
Preparation
Do not cut a joist or stud unless absolutely necessary. If a joist or stud must be cut, then a supporting frame must be constructed.
Fittings material is provided to secure the hood to most types of walls/ceilings.
However, a qualified technician must verify suitability of the materials in accordance with the type of wall/ceiling.
Before making cutouts, make sure there is proper clearance within the ceiling or wall for exhaust vent.
CAUTION
Mount this hood so that the bottom edge is at 30” (76.2 cm) minimum or 36” (91.4 cm) maximum above the cooking surface. Household use, please, read installation manual for specific application. Check your ceiling height and the hood height maximum before you select your hood.
Installation instructions
Ducting version
After having chosen the vent option, proceed as follows:
- Prepare duct and conduit cut outs as needed.
- If possible, disconnect and move freestanding or slide-in range from cabinet opening to provide easier access to rear wall.
- Otherwise put a thick, protective covering over countertop, cooktop or range to protect from damage and debris. Select a flat surface for assembling the unit. Cover that surface with a protective covering and place all canopy hood parts and hardware in it.
- Determine and mark the centerline on the wall where the canopy hood will be installed. Select a mounting height comfortable for the user and mark on wall.
- Prepare duct and conduit cut outs as needed.
- Remove the duct knockouts using a flat blade screwdriver and a small hammer.
- Use the screwdriver by knocking out the pannel in similar fashion to a scalpel.
Take care of sharp edges.
A. Vertical discharge - Attach air exhaust transition over knockout opening with 4 – 4×8 mm screws.

NOTE: The exhaust adaptor/damper can be installed up to 1 inch on either side of the hood center to accommodate offcenter ductwork. In extreme offcenter installations, one end of the duct connector may need to be trimmed to clear the electrical cable clamp.
Mark holes
Select the vent option that your installation will require and proceed to that section:
Outside top exhaust
(Vertical duct– 31⁄ 4 ”x 10” Rectangular)
Use the mounting template and mark the locations on the cabinet for ductwork, electrical wiring and keyhole screw slots.
It is recommended to make the marks before the cabinet’s installation.
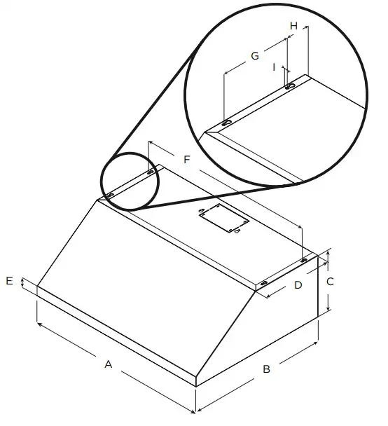
| DIM | 30″ model 36″ model | DIM | 30″ model 36″ model |
| A | 3⁄32” (1 cm) | F | 6⁄8” (2 cm) |
| b | 71⁄2” (19 cm | G | 23⁄4” (7 cm) |
| C | 223⁄64” (6 cm) | H | 17⁄8” (4.7 cm) |
| D | 421⁄64” (11 cm) | I | 57⁄8” (15 cm) |
| E | 51 ⁄2” (14 cm) | J | 1” (2.54 cm) |
For recessed bottom cabinet only
If the cabinets have front, side or back trim, make 2 wood shims the width of the trim and attach them to the cabinet bottom recess on both sides.
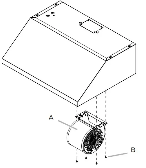
Blower Installation
- Remove the grease filters.
- Disconnect the blower harness from the hood.
- Remove the blower mounting screws. Put the screws in a safe place in order to use them again.

A. Blower
B. Blower screws - Set free the two blower springs from the top of the range hood housing.

- Cut the blower harness plastic and extend the wire.
- Flip the blower base to the rear face of the range hood.

- Insert the two blower springs to the top of the range hood housing, secure it with the four mounting screws previously released.

Cabinet Installation
NOTE: Your cabinet must be able to support at least 88 lb (40 kg)
- Drive a mounting screw (from the hardware package) partway into each center of the narrow neck of the keyhole slots marked on the cabinet bottom.
- Install the 4 – 4 x 8 mm mounting screws. Leave a 1 ⁄4” (6.4 mm) gap between the wall and the back of the screw head to slide range hood into place 1 ⁄4” (6.4 mm).
- Fix the wiring conduit of the hood.
- Slide the hood back against the cabinet. Tighten the mounting screws. Be sure the screw heads are in the narrow neck of the keyhole slot.
- Drive 2 pieces of the selected security screws in the lower security screws location (see the image below)

A. 4- 4×8 mm mounting screws
B. Round washers
C. Security screws
Wall Installation
Install framing for hood support
- Mark the screw hole locations indicated in the “Outside rear exhaust” figure.
- If drywall is present, cut away enough drywall to expose vertical studs at the indicated holes location. Install two horizontal supports between two wall studs at the bottom and upper mounting holes installation location.
- The horizontal support must be flush with the room side of the studs. Use cleats behind both sides of the support to secure wall studs.
- Reinstall drywall and refinish

- Cut holes at marked locations for duct and electrical wiring.
Mounting the Hood
- Drive a mounting screw (from the hardware package) partway into each center of the narrow neck of the keyhole slots marked on the cabinet bottom or the wall’s support frame.

- Install the 2 pieces of the selected screws on the mountings screws location (see the image). Leave a 1 ⁄4” (6.4 mm) gap between the wall and the back of the screw head to slide range hood into place.

- Fix the wiring conduit of the hood.
- Slide the hood back against the wall. Tighten the mounting screws. Be sure the screw heads are in the narrow neck of the keyhole slot.

A. Mounting screws
B. Upper security screws (Wall Installation)
C. Lower security screws (Wall Installation) - Drive 2 pieces of the selected screws in the upper security screws location (see the image above).
- Drive 2 pieces of the selected screws in the lower security screws location (see the image above).

- Drive 2 pieces of the selected screws in the lower security screws location (see the image below).
- Connect Ductwork to hood.
Electrical Connection
WARNING: Electrical Shock Hazard Disconnect power before servicing. Replace all parts and panels before operating. Failure to do so can result in death or electrical shock.
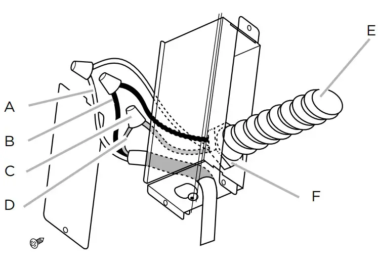
- Remove the knockout and the Junction box cover and install the conduit connector (cULus listed) in junction box.

A. White wires
B. Black wires
C. UL listed wire connector
D. Green (or bare) and yellow-green ground wire
E. Home power supply cable
F. UL listed or CSA approved 1 ⁄2” strain relief - Run 3 wires; black white and green, according to the National Electrical Code and local codes and ordinances, in 1 ⁄2” conduit from service panel to junction box.
WARNING: Electrical Shock Hazard Electrically ground blower. Connect ground wire to green and yellow ground wire in terminal box. Failure to do so can result in death or electrical shock.
- Connect black wire from service panel to black or red in junction box, white to white and green to green-yellow.
- Close and secure junction box cover.
Complete Installation
Replace filters.
Check operation of the hood.
If range hood does not operate:
- Check that the circuit breaker is not tripped or the house fuse blown.
- Disconnect power supply. Check that the wiring is correct.
To get the most efficient use from your new range hood, read the “Maintenance” section.
Keep your Installation Instructions and Use and Care Guide close to range hood for easy reference.
Description of the Hood

- Blower and light controls
- LED lamps
- Grease filter handle
- Grease filte
Control
The range hood is designed to remove smoke, cooking vapors and odors from the cooktop area. For best results, start the hood before cooking and allow it to operate several minutes after the cooking is complete to clear all smoke and odors from the kitchen.
A. Lamp Knob
B. Motor Knob
Lamp Performance
- Turn the knob to position “ON” to turn the lights on.
- Turn the knob to the “OFF” position to turn the lights off.
Motor Performance
- Turn the knob to position “1” to turn the hood on.
- ]Turn the control to the desired speed.
- Turn the control to the “HI” position to obtain maximum power for your hood.
- Turn the knob to the “OFF” position to turn your hood off
Range Hood Care
Cleaning
Do not spray cleaners directly to the control while cleaning the Hood. The cooker hood should be cleaned regularly (at least with the same frequency with which you carry out maintenance of the grease filters) internally and externally. Clean using the cloth dampened with neutral liquid detergent. Do not use abrasive products. Do not use chlorine base cleaners. DO NOT USE ALCOHOL.
WARNING
Failure to carry out the basic cleaning recommedations of the cooker hood and replacement of the filters may cause fire risks.
Therefore, we recommend observing these instructions. The manufacturer declines all responsibility for any damage to the motor or any fire damage linked to inappropiate maintenance or failure to observe the above safety recommendations.
Aluminum Grease Filter
- Remove the filter by pulling the spring outwards release handle and then take out the filter.

- Wash aluminum grease filters as needed in dishwasher or hot detergent solution.
- Reinstall the filter by making sure the spring release handles are toward the front. Insert aluminum filter into upper track.
- Push in spring release handle.
- Push up on aluminum filter and release handle to latch into place.
Replacing a LED Lamp
The LED lights are replaceable by a service technician only. See the service contact information in the next page.
WARRANTY
TO OBTAIN SERVICE UNDER WARRANTY: or any Service Related Questions, please call: 1-888-732-8018
Staple your receipt here. Proof of the original purchase date is needed to obtain service under the warranty
TO OBTAIN SERVICE UNDER WARRANTY: You must present proof of original purchase date. Please keep a copy of your dated proof of purchase (sales slip) in order to obtain service under warranty
Parts and Service Warranty:
For the period of one year from the date of the original purchase, we will provide free of charge, non consumable parts or components that failed due to manufacturing defects. During this one year limited warranty, we will also provide, free of charge, all labor and inhome service to replace the defective part.
What is Not Covered:
- Damage to the product caused by fl oods, act of God, fi re and accidents.
- Damage caused after delivery.
- House fuses replacement or resetting of circuit breakers.
- Service trips to your home to teach you how to use or install the product.
- Light bulbs, metal, carbon fi lters and the other consumable parts.
- The natural wear of fi nish, and wear due to improper maintenance, use of corrosive and abrasive cleaning products, pads, and oven cleaner products.
This warranty will be voided when:
- Product damaged due to improper installation and failure to follow installation instructions, delivery or maintenance.
- Incidental or consequential damage caused by possible defects with this appliance.
- Alteration or modifi cation of the Product which may cause in damage to the Product, or failure to operate it in accordance with specifi cations.
- Damage because of improper connection with equipment of other manufacturers.
- Failure of the product if it is negligence, abused, misused, or used for other than the intended purpose or used commercially.
- Improper repair, modifi cation or servicing of the Product performed by third parties other than Authorized Agents.
Who is Covered:
This warranty is extended to the original purchaser for products purchased for ordinary home use in the 48 mainland states, Hawaii, Washington D.C. Alaska, Guam, Puerto Rico and the Virgin Islands. This warranty is non-transferable and applies only to the original purchaser and does not extend to subsequent owners of this product.
This warranty is made expressly in lieu of all other warranties, expressed or implied, including, but not limited, any implied warranty of merchantability or fi tness for a particular purpose, and all other obligations on the part of Elicamex, provided, however, that if the disclaimer of implied warranties is ineffective under applicable law, the duration of any implied warranties arising by operation of law shall be limited to 1 (one) year from the date of original purchase at retail or such longer period as may be required by applicable law.
This warranty does not cover any special, incidental and/or consequential damages, nor loss of profi ts, suffered by the original purchaser, its customers and/or the users of the Product
Have your product proof of purchase with date ready for warranty issues. Or write to:
Who to contact
To obtain service under warranty or for any service related question, please visit the support section on the website below:
Have your product proof of purchase with date ready for warranty issues.
Are You Having bifficulty Assembling This Product? Missing Parts?
PLEASE DO NOT RETURN TO THE STORE!
Call Service Power
1-888-732-8018
between 7 a.m. and 4:00 p.m. (Pacific Time), Monday – Friday
or Email: [email protected]
(please include contact name, model, serial number, purchasing ticket and best time to contact)
for all replacement parts and any questions you may have about this product!
SERVICFPOwer
Service Made Simple
1503 South Coast Drive #320 Costa Mesa, CA 92626
IMPORTANT: Please save the original package if return is needed.










































