arietta AUR336SSA 36 Inch Under Cabinet Convertible Hood

READ AND SAVE THESE INSTRUCTIONS
- LEA Y GUARDE ESTAS INSTRUCCIONES LIRE ET CONSERVER CES INSTRUCTIONS
APPROVED FOR RESIDENTIAL APPLIANCES FOR RESIDENTIAL USE ONLY
READ AND SAVE THESE INSTRUCTIONS
- PLEASE READ ENTIRE INSTRUCTIONS BEFORE PROCEEDING. INSTALLATION MUST COMPLY WITH ALL LOCAL CODES.
- IMPORTANT: Save these Instructions for the Local Electrical Inspector’s use.
- INSTALLER: Please leave these Instructions with this unit for the owner.
- OWNER: Please retain these instructions for future reference.
- Safety Warning:Turn off power circuit at service panel and lock out panel before wiring this appliance.
- Requirement 120 VAC, 60 Hz. 15 or 20 A Branch Circuit
IMPORTANT SAFETY INSTRUCTIONS
WARNING: TO REDUCE THE RISK OF FIRE, ELECTRIC SHOCK, OR INJURY TO PERSONS, OBSERVE THE FOLLOWING:
- Use this unit only in the manner intended by the manufacturer. If you have questions, contact the manufacturer.
- Before servicing or cleaning the unit, switch power off at service panel and lock the service disconnecting means to prevent power from being switched on accidentally.
- When the service disconnecting means cannot be locked, securely fasten a prominent warning device, such as a tag to the service panel.
- Installation work and electrical wiring must be done by qualifi ed person(s) in accordance with all applicable codes and standards, including fi re-rated construction.
- Suffi cient air is needed for proper combustion and exhausting of gases through the fl ue (chimney) of fuel burning equipment to prevent backdrafting. Follow the heating equipment manufacturer’s guideline and safety standards such as those published by the National Fire Protection Association (NFPA), the American Society for Heating, Refrigeration and Air Conditioning Engineers
(ASHRAE), and the local code authorities. - When cutting or drilling into wall or ceiling; do not damage electrical wiring and other hidden utilities.
- Ducted fans must always be vented outdoors.
- CAUTION: For general ventilating use only. Do not use to exhaust hazardous or explosive materials and vapors.
- CAUTION: To reduce risk of fi re and to properly exhaust air, be sure to duct air outside – do not vent exhaust air into spaces within walls or ceilings, attics or into crawl spaces, or garages.
- WARNING: TO REDUCE THE RISK OF FIRE, USE ONLY METAL DUCTWORK
- WARNING: TO REDUCE THE RISK OF A RANGE TOP GREASE FIRE:
- Never leave surface units unattended at high settings. Boilovers cause smoking and greasy spillovers that may ignite. Heat oils slowly on low or medium settings.
- Always turn hood ON when cooking at high heat or when fl ambeing food (i.e. Crepes Suzette, Cherries Jubilee, Peppercorn Beef Flambé).
- Clean ventilating fans frequently. Grease should not be allowed to accumulate on fan or fi lter.
- Use proper pan size. Always use cookware appropriate for the size of the surface element.
- WARNING: TO REDUCE THE RISK OF INJURY TO PERSONS IN THE EVENT OF A RANGE TOP GREASE FIRE, OBSERVE THE FOLLOWING:
- SMOTHER FLAMES with a close fi tting lid, cookie sheet, or metal tray, then turn off the burner. BE CAREFUL TO PREVENT BURNS. If the fl ames do not go out immediately, EVACUATE AND CALL THE FIRE DEPARTMENT.
- NEVER PICK UP A FLAMING PAN – you may get burned.
- DO NOT USE WATER, including wet dishcloths or towels -a violent steam explosion will result.
Use an extinguisher ONLY if:
- You know you have a class ABC extinguisher, and you already know how to operate it.
- The fi re is small and contained in the area where it started.
- The fi re department is being called.
- You can fi ght the fi re with your back to an exit.
- Based on “Kitchen Fire Safety Tips” published by NFPA.
- WARNING: To reduce the risk of fi re or electrical shock, do not use this fan with any solid-state speed control device.
- WARNING: Do not operate any fan with a damaged cord or plug. Discard fan or return to an authorized service facility for examina-tion and/or repair.
Tools and Parts
Parts supplied
- Removing the packaging
- CAUTION!
- Remove carton carefully, wear gloves to protect against sharp edges.
- WARNING!
- Remove the protective film covering the product before putting into operation.
- Hood assembly with blower and LED lamps already installed.
- Hardware bag with:
| Part | Qty |
![]() Hood assembly |
1 |
![]() Rectangular duct 31⁄4” x 10” (8.3 x 25.4 cm) | 1 |
![]() 4.5×13 mm | 4 |
![]() 3.5×6.5 mm | 1 |
Parts not supplied
Tools/Materials required
- Drill
- 11⁄4” (3.0 cm) drill bit
- 1⁄8” (3.0 mm) drill bit for pilot holes
- Pencil
- Wire stripper or utility knife
- Tape measure or ruler
- Caulking gun and weatherproof caulking compound
- Saber or keyhole saw
- Metal snips
- Screwdrivers: Phillips Flat-blade
Parts needed
- Home power supply cable
- ½” (12.7 mm) UL listed or CSA approved strain relief
- 3 UL listed wire connectors
For vented installations, you will also need:
- 1 wall or roof cap
- Metal vent system
Optional Accessories
| KIT # Part | ||
| 30” (76.2 cm) | 36” (91.4 cm) | |
| Recirculating Kit | KIT02178 | KIT02179 |
| 7” Round Kit | KIT02723 | |
| Upgrade Filters Kit | KIT02591 | KIT02592 |
Dimensions and Clearances
| Models | ||
| AUR330SSA | AUR336SSA | |
| A | 30” (76.2 cm) | 36” (91.4 cm) |
| B | 20” (50.8 cm) | |
| C | 47⁄10” (12 cm) | |
| D | 22⁄5” (5.7 cm) | |
| E | 31⁄4” x 10” (8.3 x 25.4 cm) | |
| F | 51⁄10” (13 cm) | |
Electrical Requirements
IMPORTANT
Observe all governing codes and ordinances.
It is the customer’s responsibility:
- To contact a qualified electrical installer.
- To assure that the electrical installation is adequate and inconformance with National Electrical Code, ANSI/NFPA 70— latest edition*, or CSA Standards C22.1-94, CanadianElectrical Code, Part 1 and C22.2 No.0-M91 – latest edition** and all local codes and ordinances.
- If codes permit and a separate ground wire is used, it is recommended that a qualified electrician determine that the ground path is adequate.
- Do not ground to a gas pipe.
- Check with a qualified electrician if you are not sure range hood is properly grounded.
- Do not have a fuse in the neutral or ground circuit.
- A copy of the above code standards can be obtained from: National Fire Protection Association
- 1 Batterymarch Park
- Quincy, MA 02169-7471
- CSA International
- 8501 East Pleasant Valley Road
- Cleveland, OH 44131-5575
IMPORTANT
- Save Installation Instructions for electrical inspector’s use.
- The range hood must be connected with copper wire only.
- The range hood should be connected directly to the fused disconnect (Or circuit breaker) box through metal electrical conduit.
- Wire sizes must conform to the requirements of the National Electrical Code ANSI/NFPA 70 — latest edition*, or CSA Standards C22.1-94, Canadian Electrical Code Part 1 and C22.2 No. 0-M91 – latest edition** and all local codes and ordinances.
- A U.L.- or C.S.A.-listed conduit connector must be provided at each end of the power supply conduit (at the range hood and at the junction box).
BEFORE INSTALLING THE HOOD
- For the most efficient air flow exhaust, use a straight run or as few elbows as possible.
CAUTION: Vent unit to outside of building, only. - At least two people are necessary for installation.
- Fittings material is provided to secure the hood to most types of walls/ceilings, consult a Qualified Installer, check if they perfectly fit with your cabinet/wall.
- Do not use flex ducting.
- COLD WEATHER installations should have an additional back draft damper installed to minimize backward cold air flow and a nonmetallic thermal break to minimize conduction of outside temperatures as part of the ductwork. The damper should be on the cold air side of the thermal break. The break should be as close as possible to where the ducting enters the heated portion of the house.
- Make up air: Local building codes may require the use of Make-Up Air Systems when using Ducted Ventilation Systems greater than specified CFM of air movement. The specified CFM varies from locale to locale. Consult your HVAC professional for specific requirements in your area.
Ducting Options
CFM reduction kit
- If required or desired this hood is to be used only in conjunction with CFM reduction kit model KIT02748.
- Consult your HVAC professional and local building codes for specific requirements in your area.
- Closely follow the instructions set out in this manual.
- All responsibility, for any eventual inconveniences, damages or fires caused by not complying with the instructions in this manual, is declined.
Ductless (Recirculating)
NOTE:
- In cases where it should not be possible to discharge cooking fumes and vapour to the outside, purchase: The Recirculating Kit.

Ducting Version
Horizontal Discharge
- Use a rectangular duct 31⁄4” x 10” (8.3 x 25.4 cm) for discharge of fumes to the outside.

Vertical Discharge
- Use a rectangular 31⁄4” x 10” (8.3 x 25.4 cm) duct and transition or use a 7” (17.8 cm) round transition for discharge of fumes to the outside.

Preparation
- Do not cut a joist or stud unless absolutely necessary. If a joist or stud must be cut, then a supporting frame must be constructed.
- Fittings material is provided to secure the hood to most types of walls/ceilings.
- However, a qualified technician must verify suitability of the materials in accordance with the type of wall/ceiling.
- Before making cutouts, make sure there is proper clearance within the ceiling or wall for exhaust vent.
CAUTION
- For gas cooktop & range installations: Mount the hood so the bottom is at least 30” (76.2 cm) above the cooking surface.
- For electric/induction cooktop & range installations: Mount the hood so the bottom is at least 24” (61 cm) above the cooking surface.
- There is no maximum mounting height, however, we recommend mounting the hood no greater than 36” (91.4 cm) above the cooking surface. For every inch (2.54 cm) above 36” (91.4 cm), fume and moisture capture efficiency diminishes at an increasing rate and may not deliver an acceptable level of ventilating performance.
- This hood is intended for household use.
- PLEASE READ THE INSTALLATION MANUAL FOR SPECIFIC APPLICATION. Check your ceiling height and hood height before selecting your hood.
Installation instructions
Ducting version
After having choosen the vent option, proceed as follows:
- Remove the grease filters.

ATTENTION
- If it is intended to use the hood in the recirculating version do not remove any duct knockouts and order the necessary charcoal filter from your supplier.
- R1 = Remove rectangular duct knockout only.
- R2 = Remove semicircular and rectangular duct knockouts.

For rectangular ducted discharge installations only.
- Remove wrap from transition
- Attach rectangular transition over knockout opening with 3 -3.5 x 6.5 mm screws.
- Make sure damper pivot is nearest to top/back edge of hood. Remove tape from damper flap.

For round ducted discharge installations
- Install 7” (17.8 cm) transition with its screws (purchase separately, see Optional accessories and consumable parts section).
- NOTE: The round transition can be installed up to 1 inch on either side of the hood center to accommodate off-center ductwork. In extreme offcenter installations, one end of the duct connector may need to be trimmed to clear the electrical cable clamp.

Mark and Cut Vent Opening
- Use the hood as a template and mark the locations on the cabinet for the keyhole screw slots.
- Select the vent option that your installation will require and proceed to that section.
For a non-vented (recirculating) installation
- No additional steps needed.
Outside top exhaust
- (Vertical duct– 3 1⁄4”x 10” Rectangular)
- Use the diagram or the hood as a template and mark the locations on the cabinet for ductwork, electrical wiring and keyhole screw slots.

Outside top exhaust (Only recirculating version) (Vertical duct–7” Round)
- Use the diagram or the hood as a template and mark the locations on the cabinet for ductwork, electrical wiring and keyhole screw slots.
- Use saber or keyhole saw to cut a rectangular opening for vent.

Choose Venting Option
- The hood can be set to vent outside or to recirculate air back into the kitchen. The plastic vent lever is located near the center of the hood opening.
- To vent to the outside, make sure the plastic vent lever is in the HORIZONTAL position (flat against the metal top of the hood). To recirculate air into the kitchen, make sure the plastic vent lever is in the VERTICAL position (flat against the plastic blower housing).
- NOTE: In order to change the vent lever position, you will need to pull the lever out slightly to clear the plastic tabs.

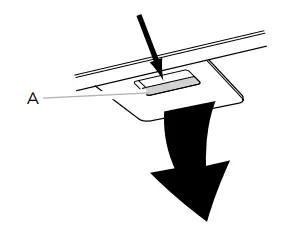
Install Strain Relief
- Install a UL listed/CSA approved ½” (13 mm) strain relief over one of the knockouts (A) according to the selected discharge.
Mounting the Hood
- Drill pilot holes on the thin area of the previously marked keyhole slots with a ¹/8” (3 mm) drill bit.
- Using 2 or more people, lift the hood into final position.
Feed enough electrical wire through the ½” UL listed or CSA approved strain relief to make connections in the terminal box. Tighten the strain relief screws. - Position the range hood so that the large end of the keyhole slots are over the mounting screws. Then push the hood toward the wall so that the screws are in the neck of the slots. Install the .5 cm x 4.5 cm mounting screws in drywall anchors.

- Tighten the mounting screws, making sure the screws are in the narrow neck of slots.
- Tighten the security screws to the wall.
- For direct wire installations, run the home power supply cable according to the National Electric Code or CSA standards and local codes and ordinances. There must be enough wiring from the fused disconnect (or circuit breaker) box to make the connection in the range hood electrical terminal box.
- NOTE: Do not reconnect power until the installation is complete.
- OPTIONAL: If you prefer, bend the rear tabs against the rear of the range hood and attach to the wall using #8- 4.2 x 16 mm truss-head screws.
Connect Vent System
- Connect the vent work to the range hood.
- Seal joints with vent clamps or duct tape to make secure and airtight.
- Check that the backdraft dampers work properly.
- For recessed bottom cabinet only
- If the cabinets have front, side or back trim, make 2 wood shims the width of the trim and attach them to the cabinet bottom recess on both sides.
See previous page for marking locations.
- Cut holes at marked locations for duct and electrical wiring. For the vertical duct, cut out 3⁄4” extra toward the front of the cabinet so you can move the duct freely when installing the hood. It may also ease installation by cutting the hole 10¹⁄ 2” instead of 10”.
- Drive a 4.5 x 13 mm screw (from the hardware packet) partway into each center of the narrow neck of the keyhole slots marked on the cabinet bottom.
- Fix the wiring conduit to the hood.
- Slide the hood back against the wall. Tighten the mounting screws. Be sure the screw heads are in the narrow neck of the keyhole slot. Connect ductwork to hood.
Electrical Connection
WARNING
ELECTRICAL SHOCK HAZARD. DISCONNECT POWER BEFORE SERVICING. REPLACE ALL PARTS AND PANELS BEFORE OPERATING. FAILURE TO DO SO CAN RESULT IN DEATH OR ELECTRICAL SHOCK.
- Remove the knockout and the Junction box cover, and then install the conduit connector (cULus listed) in the junction box.

- Run 3 wires – black, white, and green – according to the National Electrical Code and local codes and ordinances, in 1⁄2” conduit from the service panel to the junction box.

WARNING
- ELECTRICALLY GROUND THE BLOWER. CONNECT THE GROUND WIRE TO THE GREEN AND YELLOW GROUND WIRES IN THE TERMINAL BOX. FAILURE TO DO SO CAN RESULT IN DEATH OR ELECTRICAL SHOCK.
- Connect the black wire from the service panel to the black or the red in the junction box. Connect the white to white and green to green-yellow.
- Close and secure the junction box cover.
Complete Installation
Replace filters
- Check operation of the hood.
If range hood does not operate:
- Check that the circuit breaker is not tripped or the house fuse blown.
- Disconnect power supply. Check that wiring is correct.
To get the most efficient use from your new range hood, read the “Mainteinance” section.
- Keep your Installation Instructions and Use and Care Guide close to range hood for easy reference.
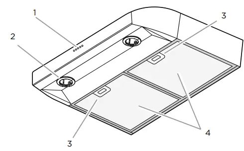
Description of the Hood
- Blower and light controls
- LED lamps
- Grease filter handle
- Grease filter
Control
- Light On/Off button
- Blower On/Off button
- Blower speed minimum button
- Blower speed medium button
- Blower speed maximum button
NOTE: Control buttons will light up when range hood is On.
Operating the light
The Light On/Off button (1) controls both lights. Press once for On and again for Off.
Operating the blower
- The Blower On/Off button (2) turns the blower On or Off.
- The Blower Speed buttons (3, 4 and 5) set the desired speed and control the sound level for quiet operation.
- The speed can be changed anytime during fan operation by pressing the desired blower speed button.
- To turn the blower On, press the Blower On/Off button (2) and the desired speed button (3, 4 or 5).
- To turn the blower Off, press the Blower On/Off button (2).
Any of the 3 blower speed buttons can be in the On position
at the same time. The blower will operate at the highest speed button that is pushed in. For lower blower speeds, the higher speed buttons must not be pushed in.
Range Hood Care
Cleaning
- Do not spray cleaners directly to the control while cleaning the Hood.
- The cooker hood should be cleaned regularly (at least with the same frequency with which you carry out maintenance of the fat filters) internally and externally.
- Clean using the cloth dampened with neutral liquid detergent. Do not use abrasive products.
DO NOT USE ALCOHOL!
WARNING
- Failure to carry out the basic cleaning recommendations of the cooker hood and replacement of the filters may cause fire risks.
- Therefore, we recommend oserving these instructions.
- The manufacturer declines all responsibility for any damage to the motor or any fire damage linked to inappropriate maintenance or failure to observe the above safety recommendations.
Grease Filter
- Traps cooking grease particles.
- This must be cleaned once a month using non aggressive detergents, either by hand or in the dishwasher, which must be set to a low temperature and a short cycle.
- When washed in a dishwasher, the grease filter may discolour slightly, but this does not affect its filtering capacity.
- To remove the grease filter, pull the spring release handle.

Replacing a LED Lamp
- The LED lights are replaceable by a service technician only. See “Who to contact” section in the warranty for service contact information.
Charcoal Filter
- If the model is not vented to the outside, the air will be recirculated through disposable charcoal filters that help remove smoke and odors.
- The charcoal filters cannot be cleaned. They must be replaced.
- The charcoal filters are clipped inside of each metal grease filter (mounting instructions included with charcoal filters kit).
- The charcoal filters should be replaced every 4-6 months (depending on hood usage).
- NOTE: DO NOT rinse, or put charcoal filters in an automatic dishwasher.
- NOTE: Charcoal filters are not included with the hood.
- They must be ordered from your supplier.
- Order the needed kit specifying your hood model and width size. Charcoal filter placement (Recirculating accessories)
- Fit the charcoal filter mattress on the upper side of each grease filter.
- Use provided springs to fix it in place.
- NOTE: When removing for replacing for a new one do not remove Fixing Springs, simply pull out one and rotate outwards.

WARRANTY
- TO OBTAIN SERVICE UNDER WARRANTY: or any Service Related Questions, please call: 1-888-732-8018
- Staple your receipt here.
- Proof of the original purchase date is needed to obtain service under the warranty.
- TO OBTAIN SERVICE UNDER WARRANTY: You must present proof of original purchase date.
- Please keep a copy of your dated proof of purchase (sales slip) in order to obtain service under warranty.
Parts and Service Warranty:
- For the period of one year from the date of the original purchase, we will provide free of charge, non consumable parts or components that failed due to manufacturing defects. During this one year limited warranty, we will also provide, free of charge, all labor and in-home service to replace the defective part.
What is Not Covered:
- Damage to the product caused by fl oods, act of God, fi re and accidents.
- Damage caused after delivery.
- House fuses replacement or resetting of circuit breakers.
- Service trips to your home to teach you how to use or install the product.
- Light bulbs, metal, carbon fi lters and the other consumable parts.
- The natural wear of fi nish, and wear due to improper maintenance, use of corrosive and abrasive cleaning products, pads, and oven cleaner products.
This warranty will be voided when:
- Product damaged due to improper installation and failure to follow installation instructions, delivery or maintenance.
- Incidental or consequential damage caused by possible defects with this appliance.
- Alteration or modifi cation of the Product which may cause in damage to the Product, or failure to operate it in accordance with specifi cations.
- Damage because of improper connection with equipment of other manufacturers.
- Failure of the product if it is negligence, abused, misused, or used for other than the intended purpose or used commercially.
- Improper repair, modifi cation or servicing of the Product performed by third parties other than Authorized Agents.
Who is Covered:
- This warranty is extended to the original purchaser for products purchased for ordinary home use in the 48 mainland states, Hawaii, Washington D.C. Alaska, Guam, Puerto Rico and the Virgin Islands.
- This warranty is non-transferable and applies only to the original purchaser and does not extend to subsequent owners of this product.
- This warranty is made expressly in lieu of all other warranties, expressed or implied,
including, but not limited, any implied warranty of merchantability or fi tness for a particular purpose, and all other
obligations on the part of Elicamex, provided, however, that if the disclaimer of implied warranties is ineffective under applicable law, the duration of any implied warranties arising by operation of law shall be limited to 1 (one) year from the date of original purchase at retail or such longer period as may be required by applicable law. - This warranty does not cover any special, incidental and/or consequential damages, nor loss of profi ts, suffered by the original purchaser, its customers and/or the users of the Product.
- Have your product proof of purchase with date ready for warranty issues. Or write to:
Who to contact
- To obtain service under warranty or for any service related question, please visit the support section on the website below: www.elica.com
- Have your product proof of purchase with date ready for warranty issues.
- Are You Having Difficulty Assembling
- This Product? Missing Parts?
- PLEASE DO NOT RETURN TO THE STORE!
- Call Service Power
- 1-888-732-8018
- between 7 a.m. and 4:00 p.m. (Pacific Time), Monday – Friday or Email: [email protected] (please include contact name, model, serial number, purchasing ticket and best time to contact)
- for all replacement parts and any questions you may have about this product!
- SERv1crfJ_ower
- Service Made Simple
- 1503 South Coast Drive #320 Costa Mesa, CA 92626
- IMPORTANT: Please save the original package if return is needed.










































