ELICA ETR134S1 34 Inch Under Cabinet Range Hood

IMPORTANT SAFETY NOTICE
CAUTION
For General Ventilating Use Only. Do Not Use It To Exhaust Hazardous Or Explosive Materials And Vapours.
WARNING
To Reduce The Risk Of Fire, Electric Shock, Or Injury To Persons, Observe The Following
- Use this unit only in the manner intended by the manufacturer. If you have questions, contact the manufacturer.
- Before servicing or cleaning the unit, switch power off at the service panel and lock the service panel to prevent power from being switched on accidentally.
When the service disconnecting means cannot be locked, securely fasten a prominent warning device, such as a tag, to the service panel.
- Installation work and electrical wiring must be done by a qualified person(s) in accordance with all applicable codes & standards, including fire-rated construction.
- Sufficient air is needed for power combustion and exhausting of gases through the flue (chimney) of fuel-burning equipment to prevent back-drafting.
Follow the heating equipment manufacturer’s guidelines and safety standards such as those published by the national fire protection association (NFPA), the American society for heating, refrigeration, and air conditioning engineers (ASHRAE), and the local code authorities.
- When cutting or drilling into a wall or ceiling, do not damage electrical wiring and other hidden utilities.
- Ducted fans must always be vented to the outdoors.
- To reduce the risk of fire and to properly exhaust air, be sure to duct air outside – do not vent exhaust air into spaces within walls, ceilings, attics, crawl spaces, or garages.
- To Reduce The Risk Of Fire, Use Only Metal Ductwork.
- Install this hood in accordance with all requirements specified.
- To Reduce The Risk Of Fire Or Electric Shock, Do Not Use This Fan With Any Solid-State Speed Control Device.
- To Reduce The Risk Of Fire And Electric Shock, Install This Rangehood Only With Integral, In-Line, and External Blower Models Rated Maximum 7.7 A/ 926 W, Or
- Integral Blowers Manufactured by Elica (for model references, see optional accessories table).
TO REDUCE THE RISK OF A RANGE TOP GREASE FIRE.
- Never leave surface units unattended at high settings. Boilovers cause smoking and greasy spillovers that may ignite. Heat oils slowly on low or medium settings.
- Always turn the hood ON when cooking at high heat or when flambeing food (I.e. Crepes Suzette, Cherries Jubilee, Peppercorn Beef Flambe’).
- Clean ventilating fans frequently. Grease should not be allowed to accumulate on the fan or filter.
- Use proper pan size. Always use cookware appropriate for the size of the surface element.
TO REDUCE THE RISK OF INJURY TO PERSONS, IN THE EVENT OF A RANGE TOP GREASE FIRE, OBSERVE THE FOLLOWING
- SMOTHER FLAMES with a close-fitting lid, cookie sheet, or metal tray, then turn off the gas burner or the electric element. BE CAREFUL TO PREVENT BURNS. If the flames do not go out immediately, EVACUATE AND CALL THE FIRE DEPARTMENT.
- NEVER PICK UP A FLAMING PAN – you may be burned.
- DO NOT USE WATER, including wet dishcloths or towels -a violent steam explosion will result.
- Use an extinguisher ONLY if:
- You know you have a Class ABC extinguisher, and you already know how to operate it.
- The fire is small and contained in the area where it started.
- The fire department is being called.
- You can fight the fire with your back to an exit.
- Based on “Kitchen Fire Safety Tips” published by NFPA.
- Automatically Operated Device – To reduce the risk of Injury disconnect from the power supply before servicing.
| Integral Blower (already included with the hood) | In-Line Blower Kit 1200 KIT0154387 | External Blower Kit 1200 KIT0153054 | ||||
| HOOD MODEL | A | W | A | W | A | W |
| EAR628S4 | 3.9 | 463 | 7.7 | 454 | 7.4 | 884 |
| ETR134S1 | 7.6 | 913 | 7.6 | 913 | 7.4 | 884 |
| EAR140S4 | 7.7 | 926 | 7.7 | 926 | 7.5 | 897 |
| EAR140S4 | 7.7 | 926 | 7.7 | 926 | 7.5 | 897 |
| EAR134S4 | 7.6 | 913 | 7.6 | 913 | 7.4 | 884 |
ELECTRICAL & INSTALLATION REQUIREMENTS
IMPORTANT
Observe all governing codes and ordinances. It is the customer’s responsibility:
- To contact a qualified electrical installer.
- To assure that the electrical installation is adequate and in conformance with National Electrical Code, ANSI/NFPA 70— latest edition*, or CSA Standards C22.1-94, Canadian Electrical Code, Part 1 and C22.2 No.0-M91-latest edition** and all local codes and ordinances.
- If codes permit and a separate ground wire is used, it is recommended that a qualified electrician determine that the ground path is adequate.
- Do not ground to a gas pipe.
- Check with a qualified electrician if you are not sure the range hood is properly grounded.
- Do not have a fuse in the neutral or ground circuit.
IMPORTANT
- Save Installation Instructions for electrical inspector’s use.
- The range hood must be connected with copper wire only.
- The range hood should be connected directly to the fused disconnect (Or circuit breaker) box through metal electrical conduit.
- Wire sizes must conform to the requirements of the National Electrical Code ANSI/NFPA 70 — latest edition*, or CSA Standards C22.1-94, Canadian Electrical Code Part 1 and C22.2 No. 0-M91 – latest edition** and all local codes and ordinances.
- A U.L.- or C.S.A.-listed conduit connector must be provided at each end of the power supply conduit (at the range hood and at the junction box).
BEFORE INSTALLING THE HOOD
- For the most efficient airflow exhaust, use a straight run or as few elbows as possible.
- Vent unit to the outside of the building, only.
- At least two people are necessary for installation.
- Fittings material is provided to secure the hood to most types of walls/ceilings, consult a Qualified Installer, to check if they perfectly fit with your cabinet/wall.
- Do not use flex ducting.
- COLD WEATHER installations should have an additional backdraft damper installed to minimize backward cold airflow and a nonmetallic thermal break to minimize conduction of outside temperatures as part of the ductwork. The damper should be on the cold air side of the thermal break.
- The break should be as close as possible to where the ducting enters the heated portion of the house.
- Make-Up Air Systems when using Ducted Ventilation Systems greater than specified CFM of air movement. The specified CFM varies from locale to locale. Consult your HVAC professional for specific requirements in your area.
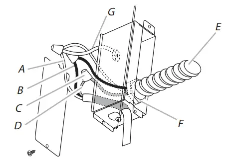
PRODUCT DIMENSIONS

| Models | |||||
| EAR628S4 | ETR134S1 | EAR134S4 | EAR140S4 | EAR146S4 | |
| A | 28½” (72.4 cm) | 34½” (87.6 cm) | 40½” (103 cm) | 46½” (118 cm) | |
| B | 22” (55.9 cm) | 18” (45.7 cm) | 22” (55.9 cm) | ||
| C | 57⁄16” (13.8 cm) | ||||
| D | 61⁄2” (16.4 cm) | ||||
| E | 279⁄16” (70 cm) | ||||
| F | 127⁄16” (31.6 cm) | ||||
| G | 2913⁄16” (75.7 cm) | ||||
| H | 101⁄8” (25.7 cm) | ||||
| I | 10” (25.4 cm) | ||||
| J | 3⁄4” (1.9 cm) | ||||
LIST OF MATERIALS
- Removing the packaging.
- Remove cartons carefully, Wear gloves to protect against sharp edges.
- Remove the protective film covering the product before putting it into operation.

Tools/Materials required
- Level
- Drill
- 1¼” (3 cm) drill bit
- ⅛” (3 mm) drill bit
- Pencil
- Wire stripper or knife
- Tape measure or ruler
- Pliers
- A caulking gun and weatherproof caulking compound
- Vent clamps
- Jigsaw or keyhole saw
- Flat-blade screwdriver
- Metal snips
- Phillips screwdriver
Parts needed
- Home power supply cable
- 1 – ½” (12.7 mm) UL listed or CSA approved strain relief
- 3 UL listed wire connectors
- 1 wall or roof cap
- Metal vent system
Optional accessories and consumable parts
| KIT | # Part |
| EAR628S4, ETR134S1, EAR140S4, EAR146S4, EAR134S4 | |
| in Line Blower 1200 Kit | KIT0154387 |
| External Blower 1200 Kit | KIT0153054 |
Ducting Options
Closely follow the instructions set out in this manual. All res-possibility, for any eventual inconveniences, damages, or fires caused by not complying with the instructions in this manual, is declined.
Preparation
- Do not cut a joist or stud unless absolutely necessary. If a joist or stud must be cut, then a supporting frame must be constructed.
- Fittings material is provided to secure the hood to most types of walls/ceilings.
- However, a qualified technician must verify the suitability of the materials in accordance with the type of wall/ceiling.
- Before making cutouts, make sure there is proper clearance within the ceiling or wall for the exhaust vent.

CAUTION
- For gas cooktop & range installations: Mount the hood so the bottom is at least 3O” (76.2 cm) above the cooking surface. For electric/induction cooktop & range installations: Mount the hood so the bottom is at least 24” (61 cm) above the cooking surface.
- There is no maximum mounting height, however, we recommend mounting the hood no greater than 36” (91.4 cm) above the cooking surface. For every inch (2.54 cm) above 36” (91.4 cm), fume and moisture capture efficiency diminishes at an increasing rate and may not deliver an acceptable level of ventilating performance.
- This hood is intended for household use.
- PLEASE READ THE INSTALLATION MANUAL FOR SPECIFIC APPLICATIONS. Check your ceiling height and hood height before selecting your hood.
Prepare the Location
- Disconnect power.
- Determine which venting method to use: roof or wall exhaust.
- Select a flat surface for assembling the hood insert. Place covering over that surface.
- It is recommended that the vent system be installed before the hood is installed.
- Before making cutouts, make sure there is proper clearance within the ceiling or wall for the exhaust vent.
- The Hood insert should be installed a minimum of 24” (61 cm) above an electric cooktop surface and 30” (76.2 cm) above a gas cooktop surface. The maximum recommended height over both cooktops is 36” (91.44 cm).
- Check that all installation parts have been removed from the shipping carton.
- Using 2 or more people, lift hood insert onto the covered surface.
- Remove the filters. See the “Cleaning” section.

Dimensions and Clearances
This range hood has the flexibility to be installed in two different ways, depending on the width measurement or working area between the left and right cabinetry. Before beginning, it is important to determine the dimension of this working area and to consider the measurements detailed in the next table.
| Range Hood Models | Range Hood width without spacers | Range Hood width with spacers | Range Depth |
| EAR628S4 | 28½” (72 cm) | 30” (76.2 cm) |
22” (55.9 cm) |
| EAR134S4 | 34½” (87 cm) | 36” (91.44 cm) | |
| EAR140S4 | 40½” (102 cm) | 42” (106.68 cm) | |
| EAR146S4 | 46½” (117.5 cm) | 48” (121.92 cm) | |
| ETR134S1 | 34½” (87 cm) | 36” (91.44 cm) | 18” (45.7 cm) |
Minimum distance “X”: 24” (61 cm) from electric cooking surfaces. Minimum distance “X”: 30” (76.2 cm) from gas cooking surfaces.
Stainless Steel Hood Spacer Installation
- You can elongate 1.5” (3.8 cm) of your range hood width (¾” [1.9 cm] per side), installing the stainless steel spacers included with your range hood.
- Unpack the spacer and take off the protective.
- Put each one on the right and the left side
- Fasten the hood spacer using four 5 x 45 mm screws to the hood cabinet and tighten securely.
- If cabinetry designs reduce the width opening (i.e. –28.5”, 34.5”, 40.5” or 46.5”) to install the hood, the spacers are not used.
- If you have a Full-width opening (i.e. – 30”, 36”, 42” or 48”) to install the hood, you should use the spacers.

Install Range Hood into Hood Cabinet
- The range hood attaches to the hood cabinet using four mounting screws and washers.
- The hood cabinet must be capable of supporting 75 lb (34 kg).
Prepare the Rangehood for mounting into the cabinet
- Mark the locations for the four mounting screws on the hood cabinet as shown below.
- Using a ⅛” (3 mm) drill bit, drill the 4 holes.

Install the range hood into the hood cabinet
- Determine and make all necessary cuts in the wall or roof for the vent system. Install the vent system before installing the cabinet hood insert. See the “Venting Requirements” section.
- Determine the location where the power supply cable will be run through the wall.
- Drill a 1¼” (3.2 cm) hole at this location.
- Pull enough power supply cable through the wall to allow for easy connection to the terminal box.
- Remove the terminal box cover and set aside.
- Install the 10” (25.4 cm) square x 10” (25.4 cm) round vent transition with a damper to the top side of the range hood, using 4 – 3.5 x 9.5 mm screws.
- Remove a knockout from the top of the vent hood and install a UL listed or CSA approved ½” (1.3 cm) strain relief.
- Place the hood insert near its mounting position and run the power supply cable through the strain relief into the terminal box (enough to make the connection).
- Tighten the strain relief screws.
- Using 2 or more people, lift the hood insert into the hood cabinet.
- Fasten the hood insert using four 5 x 45 mm screws to the hood cabinet and tighten securely.
WARNING
EXCESSIVE WEIGHT HAZARD USE TWO OR MORE PEOPLE TO MOVE AND INSTALL HOOD INSERT. FAILURE TO DO SO CAN RESULT IN BACK OR OTHER INJURY.

| UPPER HOOD MOTOR HOUSING DIMENSIONS | ||||
| Model | DIM A | DIM B | DIM C | DIM D |
| EAR628S4 |
41⁄4″ (10.8 cm) |
155⁄16″ (38.9 cm) | 75⁄8″ (19.45 cm) | 237⁄16″ (59.5 cm) |
| EAR134S4 |
141⁄2” (36.8 cm) |
2815⁄16″ (73.5 cm) | ||
| EAR140S4 | ||||
| EAR146S4 | ||||
| ETR134S1 | ||||
Electrical Connection
- ELECTRICAL SHOCK HAZARD.
- DISCONNECT POWER BEFORE SERVICING.
- REPLACE ALL PARTS AND PANELS BEFORE OPERATING. FAILURE TO DO SO CAN RESULT IN DEATH OR ELECTRICAL SHOCK.
- Disconnect power.
- Locate the terminal box inside of the hood insert.

- A.White wires
- Black wires
- UL listed wire connectors
- Green, bare, or yellow/green wires
- Home power supply
- UL listed or CSA approved ¹⁄2” (1.3
- cm) strain relief
- Ground Wire tab
- Use UL listed wire connectors and connect black wires (B) together
- Use UL listed wire connectors and connect white wires (A)together.
- Connect green (or bare) ground wire from the home power supply to the green/yellow ground wire (D) in the terminal box using UL listed wire connectors
- Install terminal box cover.
- Check that all light bulbs are secure in their sockets.
- Reconnect power.
Complete Installation
- Install grease filters. See the “Cleaning” section.
- Check operation of the Hood Insert blower and lights. See the “Hood Insert Use” section.
- If the hood insert does not operate, check to see whether a circuit breaker has tripped or a household fuse has blown.
- Disconnect the power supply and check that the wiring is correct.
- To get the most efficient use of your new hood insert, read the “Hood Insert Use” section.
Description of the Hood
- Blower and light controls
- LED lamps
- Grease filter handle
- Grease filter

Control
The range hood is designed to remove smoke, cooking vapors and odors from the cooktop area. For best results, start the hood before cooking and allow it to operate several minutes after the cooking is complete to clear all smoke and odors from the kitchen. The hood controls are located on the center side of the range hood.
Recessing Knobs
- You can hide control knobs by depressing them until flush with the hood body.
- Pressing the knobs again will lower the knobs, and enable the user to operate the lights and blower.


Operating the lamps
- Turn the light switch to the “ON” position to turn the
- range hood lights On.
- Turn the light switch to the “OFF” position to turn the range hood lights Off.

Operating the blower
- Turn the blower switch at “1” to turn the range hood on.
- Turn the blower switch to the desired speed position.
- Turn the blower switch to the “MAX” position to turn the range hood on High.
- Turn the blower switch to the “OFF” position to turn the range hood blower Off
Auto On blower
The range hood is equipped with a sensor to automatically turn on the blower when excessive heat is detected in the control area. When the blower switch is in the “Off” position, this sensor will turn the blower to high speed when necessary. When the heat decreases, the blower will turn off. When the blower switch is in the On position, the heat sensor is not active and the range hood functions normally.
- Remove grease drip tray.
- Wash metal filters and grease trays as needed in the dishwasher or hot detergent solution to clean.
- Replace grease drip tray.
- Reinstall filters, grasp filter handles, and place the front edge of the filter into the hood.
- Push up on the back handle and set the rear of the filter into the drip tray to secure. Repeat for each filter.


Maintenance
Cleaning
Exterior surfaces
- To avoid damage to the exterior surface, do not use steel wool or soap-filled scouring pads. Rub in direction of the grain line to avoid scratching the surface.
- Always wipe dry to avoid watermarks.
- Stainless Steel Cleaner and Polish.
- Mild liquid detergent and water.
- Wipe with a damp soft cloth or non-abrasive sponge, then rinse with clean water and wipe dry.
- Do not use chlorine-based cleaners.
Metal Filters and Drip Trays
- Use 2 hands to remove filters.
- Grasp filter handles, pull toward the front of the range hood, and pull down on the rear handle to remove. Repeat for each filter.
- Grease filter
Replacing a LED Lamp
- Turn off the range hood and allow the LED lamp to cool.
- To avoid damage or decreasing the life of the new lamp, do not touch the lamp with bare fingers. Replace the lamp, using tissue or wearing cotton gloves to handle the lamp.
- If new lamps do not operate, make sure the lamps are inserted correctly before calling the service.
- 1 Disconnect power.
- 2 Push up on the lens and turn it counterclockwise.
- 3 Remove the lamp and replace it with a 120-volt, 7.5 W watt
- maximum halogen lamp with a GU10 base. Turn it clockwise to lock it into place.
- 4 Repeat steps 2-3 for the other lamps if needed.
- 5 Reconnect power.
TO OBTAIN SERVICE UNDER WARRANTY
The owner must present proof of the original purchase date. Please keep a copy of your dated proof of purchase (sales slip) in order to obtain service under warranty.
PARTS AND SERVICE WARRANTY
For the period of two (2) years from the date of the original purchase, Elica will provide free of charge, non-consumable parts or components that failed due to manufacturing defects. During these two (2) years limited warranty, Elica will also provide free of charge, all labor and in-home service to replace any defective parts.
WHAT IS NOT COVERED
- Damage or failure to the product caused by accident or act of God, such as flood, fire, or earthquake.
- Damage or failure caused by modification of the product or use of non-genuine parts.
- Damage or failure to the product caused during delivery, handling, or installation.
- Damage or failure to the product caused by operator abuse.
- Damage or failure to the product caused by dwelling fuse replacement or resetting of circuit breakers.
- Damage or failure caused by the use of the product in a commercial application.
- Service trips to dwelling to provide use or installation guidance.
- Light bulbs, metal or carbon filters, and any other consumable part.
- Normal wear of finish.
- Wear to finish due to operator abuse, improper maintenance, use of corrosive or abrasive cleaning products/pads and oven cleaner products.
WHO IS COVERED
This warranty is extended to the original purchaser for products purchased for ordinary residential use in North America (Including the United States, Guam, Puerto Rico, US Virgin Islands & Canada).
This warranty is non-transferable and applies only to the original purchaser and does not extend to subsequent owners of the product. This warranty is made expressly in lieu of all other warranties, expressed or implied, including, but not limited -to any implied warranty of merchantability or fitness for a particular purpose and all other obligations on the part of Elica North America, provided, however, that if the disclaimer of implied warranties is ineffective under applicable law, the duration of any implied warranty arising by operation of law shall be limited to two (2) years from the date of original purchase at retail or such longer period as may be required by applicable law.
This warranty does not cover any special, incidental, and/or consequential damages, nor loss of profits, suffered by the original purchaser, its customers, and/or the users of the Products.
WHO TO CONTACT
To obtain service under warranty or for any service related question:
- Elica North America Service, call at 1 888 732 8018
- For Eastern Canada, call AGI Services at 1 888 651 2534 Ask for the service department
- [email protected]

TO OBTAIN SERVICE UNDER WARRANTY


















