COSMO COS-5MU30 30 in. Under Cabinet Range Hood User Guide

THANK YOU FOR YOUR PURCHASE
Thank you for your purchase. We know that you have many brands and products to choose from and we are honored to know that you have decided to take one of our products into your home and hope that you enjoy it
COSMO appliances are designed according to the strictest safety and performance standard for the North American market. We follow the most advanced manufacturing philosophy. Each appliance leaves the factory after thorough quality inspection and testing. Our distributors and our service partners are ready to answer any questions you may have regarding how to install, use and care for your products. We hope that this manual will help you learn to use the product in the safest and most effective manner
If you have any questions or concerns, please contact the dealer from whom you purchased it, or contact our Customer Support at: 1-888-784-3108

Serial Number Location
Remove the grease filters. The serial number is
located on the left inside of the range hood
IMPORTANT SAFETY INSTRUCTIONS
CAUTION
FOR GENERAL VENTILATING USE ONLY. DO NOT USE TO EXHAUST HAZARDOUS OR EXPLOSIVE MATERIALS OR VAPORS
WARNING
TO REDUCE THE RISK OF FIRE, USE ONLY METAL DUCT WORK. Install this hood in accordance with all requirements specified.
WARNING
TO REDUCE THE RISK OF FIRE, ELECTRIC SHOCK, OR INJURY TO PERSONS, OBSERVE THE FOLLOWING:
Use this unit only in the manner intended by the manufacturer. If you have questions, contact the manufacturer
B. Before servicing or cleaning the unit, switch power off at service panel and lock service panel disconnecting means to prevent power from being switched on accidentally. When the service disconnecting means
cannot be locked, securely fasten a prominent warning device, such as a tag, to the service panel.
C. Installation Work and Electrical Wiring Must Be Done By Qualified Person(s) In Accordance With all Aplicable Codes &
Standards, Including Fire-rated Construction. exhausting of gases through the flue (Chimney) of fuel burning equipment to prevent back- drafting. Follolow the heating equipment manufacturers guideline and safety standards such as those published by the National Fire Protection Association (NFPA), the American Society for Heating, Refrigeration and Air Conditioning Engineers (ASHRAE), and the local code authorities.
When cutting or drilling into wall or ceiling, do not damage electrical wiring and other hidden utilities.
Ducted systems must always be vented to the outdoors.
WARNING
GROUNDING INSTRUCTIONS
This appliance must be grounded. In the event of an electrical short circuit, grounding reduces the risk of electric shock by providing an escape wire for the electric current. This appliance is equipped with a cord having a grounding wire with a grounding plug. The plug must be plugged into an outlet that is properly installed and grounded.
WARNING – IMPROPER GROUNDING CAN RESULT IN A RISK OF ELECTRIC SHOCK.
Consult a qualified electrician if the grounding instructions are not completely understood, or if doubt exists as to whether the appliance is properly grounded.
Do not use an extension cord. If the power supply cord is too short, have a qualified electrician install an outlet near the appliance.
ALUMINUM FILTERS

About Your New Filters
Aluminum Filters are recommenGed to be replaced every 6 months depending on usage
Cleaning my Aluminum Filters
Your filters can be hand washed and cleaned to increase time between replacements. Aluminum Filters may not be placed in the dishwasher.
PARTS DIAGRAM
MODEL: COS-508&2608

Other accessories:
- Main Body
- Motor Housing
- Aluminum Filter
- Carbon Filter (Not Included. Available for purchase at www.cosmoappliances.com)
- . Damper (1 pcs)
- Air Outlet Cap (2 pcs)
- Screws 5mm x 49mm (4 pcs)
- Wall Anchors 10mm x 43.3mm (4 pcs)
INSTALLATION REQUIREMENTS
- Please read the following instructions carefully.
- This Range Hood can be vented through the top or back. Remove the Air
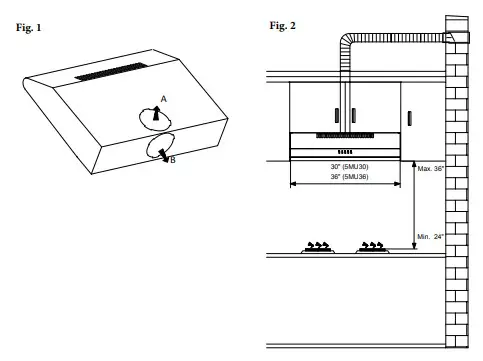
Outlet Cap according to the option chosen (Fig. 1). For ductless installation, install an Air Outlet Cap on both the rear and top vent holes - For optimal performance the Range Hood must be installed 24″ – 36″ in height from the cooktop. (Fig. 2)
- Electrical Requirements: Rated Voltage and Frequency:) 110-120V~ 60Hz. Motor Input Power: 125W
WARNING
Sufficient air is needed for proper combustion and exhausting of gases through the chimney of fuel burning equipment to prevent back- drafting. Follow the cooking equipment manufacturers guideline and safety standards such as those published by the National Fire Protection Association (NFPA), the American Society for Heating, Refrigeration and Air Conditioning
Engineers (ASHRAE), and local code. When cutting or drilling into wall or ceiling, do not damage electrical wiring and other hidden utilities. Ducted systems must always be vented outdoors.

PRE-INSTALLATION PROCEDURES
Ducted Mode Recirculating Mode (Fig. 1) Knob Settings
Ducted Mode: Turn the knob to this setting for Ducted Installation. ecirculating Mode: Turn the knob to this setting for a Recirculating Installation.
- Please read the instructions carefully. Unpack the Range Hood and check that all functions are working before installing.
- Ensure that the voltage (V) and the frequency (Hz) indicated on the sticker match the voltage and frequency at the installation site.
- Check that the area behind the installation surface to be drilled is clear of any electrical cables or pipes, etc.
- The stainless steel surfaces of the Range Hood are very easily damaged during installation if scratched or bumped by tools. Please take care to protect the surfaces during installation.
- Protect the cooktop surface below with cardboard, or the like, to prevent damage occurring during installation.
- The manufacturer shall not be held liable for failure to observe all safety regulations.
IMPORTANT READ BEFORE INSTALLATION
You will need to set the Range Hood mode to either Ducted or Recirculating.
- Remove Aluminum Filters
- Locate Knob Settings located under the Motor (Fig. 1)
- Unlock the Settings Knob by unscrewing and setting to Ducted or Recirculating mode.
- Lock the Knob into place by replacing the screw from Step 3

INSTALLATION INSTRUCTIONS
CAUTION: HOOD MAY HAVE VERY SHARP EDGES; PLEASE WEAR PROTECTIVE GLOVES WHENEVER IT IS NECESSARY TO REMOVE ANY
PARTS FOR INSTALLING, CLEANING OR SERVICING
Cabinet Installation Method
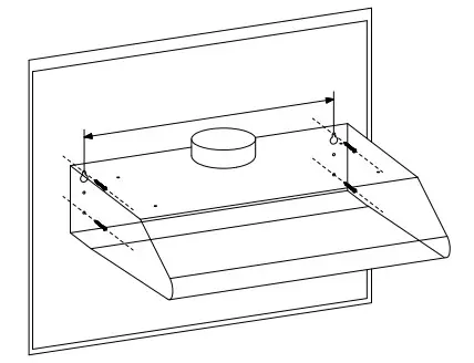
- For Ducted installation drill a 130mm diameter hole into the cabinet and four 3.5mm diameter holes as pictured below picture.
For Ductless installation do not drill the 130mm diameter hole in the cabinet. Drill only the four 3.5mm diamater holes as pictured below. - Use the 4 screws to mount the Range Hood to the cabinet. Check that your mounting screws are in the correct place by temporarily fitting the Range in place. If correct, lock into position by pushing in the Range Hood.

Wall Mount Installation Method
- A. Find the 4 mounting holes in the back of the range hood. Mark their locations at the installation location with a pencil or marker.
B. Drill 5/16 (8mm) hole at each of the marked locations.
C. Insert anchors along with screws into each drilled hole. Firmly tighten the screw into place.
D. Hang your Range Hood into place by aligning the screws with the 4 mounting holes in the back of the range hood. Lock into place by sliding down the range hood.
RECIRCULATING CHARCOAL FILTERS
Skip this page if you are installing a Ducted Range Hood. Charcoal Filters are only included with Ductless Models.

- Remove the aluminum filters.
- The charcoal filter is installed at the end of the motor. While pressing firmly on the center, twist the carbon filter clockwise to ock into place.
- To replace the carbon filter, reverse the process and repeat.
NOTE: The carbon filter cannot be washed and reused and must be replaced every 4-6 months, depending on use.
SCAN FOR INSTALLATION VIDEO

OPERATING INSTRUCTIONS

![]() | Power Indicator Light – Illuminates when the motor is running |
| Light Button. Press on this button to turn on the lights, and press again to turn them off. | |
| Motor Off Switch: Press this button to stop the motor while it is running on any given speed. | |
| Low Speed Button: Press this button to run the motor at low speed. | |
| Medium Speed Button: Press this button to run the motor at medium speed. | |
| High Speed Button: Press this button to run the motor at high speed. |
MAINTENANCE
CAUTION: NEVER PUT YOUR HAND INSIDE OF THE UNIT WHILE ITS OPERATING. FORTHE BEST PERFORMANCE CLEAN YOUR
RANGE HOOD REGULARLY
CLEANING
- Use only mild soap or cleaning solutions to clean the hoods’ outer surface. Dry surfaces using a soft cloth.
- Stainless Steel cleaner may be used on the external surface.
- Clean the Range Hood assembly 3 to 6 months depending on use.
- DO NOT clean the motor or electrical components with water orany other liquid.
REPLACING LIGHT BULBS
CAUTION: LAMP UNIT MAY BE HOT! WAIT UNTIL THE UNIT IS COOL. BEFOREATTEMPTING TO REPLACE THE LED LAMPS MAKE SURE THE UNIT IS POWERED OFF ANDUNPLUGGED.
- Remove the aluminum filters
- Unscrew the Light Bulb
- Screw in new Light Bulb (E26 Type Bulb 40 watt max.)
- Reinstall the aluminum filters

TROUBLESHOOTING
CAUTION: ALWAYS DISCONNECT UNIT FROM POWER BEFORE SERVICING
| PROBLEM | SOLUTION | TOOLS |
| My range hood is noisy. | A. Check inside the range hood for any loose debris and remove. | Phillips Screwdriver |
| My range hood has poor performance. | A. The range hood and cooktop are too far away from each other. Optimal distance is 24” to 36” B. There are too many open windows or doors in the area. Close some doors or windows. C. The motor performance has decreased due to wear. Replace motor. D. Check and make sure the tape holding down the damper flaps at the vent hole are removed before use. | Phillips Screwdriver |
| My range hood shakes. | A. The installation is not secure. Check again and make sure the installation hardware is securely mounted. B. The fan is broken or not balanced. Realign or replace fan. C. The motor is loose. Check and make sure the motor is solidly mounted to the unit. | Phillips Screwdriver |
| The motor no longer runs. | A. Replace control panel or circuit board. B. Replace with new motor assembly. | Phillips Screwdriver |
| Light bulb went out. | A. Replace with a new E26 Type Bulb 40 watt max. | Phillips Screwdriver |
WARRANTY AND SERVICE
For full warranty details on this product please visit: http://www.cosmoappliances.com/warranty
TO RECEIVE WARRANTY SERVICE, YOUR
PRODUCT MUST BE REGISTERED. TO REGISTER, VISIT:

CAUTION























