COSMO 5MU30 Under Cabinet Range Hood

Product Information
The Cosmo 5MU series under cabinet range hood is a residential appliance designed for general ventilating use. It is approved for residential use only and should not be used to exhaust hazardous or explosive materials or vapors. The hood comes in two models: 5MU30 and 5MU36. It uses aluminum filters to capture grease and other airborne particles. The hood can be installed as a ducted or recirculating system and requires metal duct work for proper ventilation.
Product Usage Instructions
- Read all instructions before using the range hood.
- Locate the serial number on the left inside of the range hood by removing the grease filters.
- Ensure that the range hood is properly grounded by plugging it into an outlet that is properly installed and grounded.
- Choose the installation method that best suits your needs: ducted or recirculating. If installing as a ducted system, ensure that the exhaust air is vented to the outdoors through metal duct work. Do not vent exhaust air into spaces within walls, ceilings, attics, crawl spaces, or garages.
- If installing as a recirculating system, install charcoal filters according to the instructions provided in the user manual.
- To reduce the risk of fire, use only metal duct work and install the hood in accordance with all requirements specified in the user manual. Installation work and electrical wiring must be done by qualified person(s) in accordance with all applicable codes and standards, including fire-rated construction.
- Before servicing or cleaning the hood, switch power off at service panel and lock service panel disconnecting means to prevent power from being switched on accidentally. When the service disconnecting means cannot be locked, securely fasten a prominent warning device, such as a tag, to the service panel.
- If you have any questions or concerns about the range hood, please contact the dealer from whom you purchased it or contact Customer Support at 1-888-784-3108.
THANK YOU FOR YOUR PURCHASE
Thank you for your purchase. We know that you have many brands and products to choose from and we are honored to know that you have decided to take one of our products into your home and hope that you enjoy it.
COSMO appliances are designed according to the strictest safety and performance standard for the North American market. We follow the most advanced manufacturing philosophy. Each appliance leaves the factory after thorough quality inspection and testing. Our distributors and our service partners are ready to answer any questions you may have regarding how to install, use and care for your products. We hope that this manual will help you learn to use the product in the safest and most effective manner .
If you have any questions or concerns, please contact the dealer from whom you purchased it, or contact our Customer Support at: 1-888-784-3108.

Serial Number Location
Remove the grease filters. The serial number is located on the left inside of the range hood.
IMPORTANT SAFETY INSTRUCTIONS
Read all instructions before using this appliance. Save these instructions for future references Approved for residential appliances For residential use only
CAUTION; FOR GENERAL VENTILATING USE ONLY. DO NOT USE TO EXHAUST HAZARDOUS OR EXPLOSIVE MATERIALS OR VAPORS. To reduce risk of fire and to properly exhaust air, do not vent exhaust air into spaces within walls, ceilings, attics, crawl spaces, or garages.
WARNING: TO REDUCE THE RISK OF FIRE, USE ONLY METAL DUCT WORK. Install this hood in accordance with all requirements specified.
WARNING
- A. TO REDUCE THE RISK OF FIRE, ELECTRIC SHOCK, OR INJURY TO PERSONS, OBSERVE THE FOLLOWING: Use this unit only in the manner intended by the manufacturer. If you have questions, contact the manufacturer
- B. Before servicing or cleaning the unit, switch power off at service panel and lock service panel disconnecting means to prevent power from being switched on accidentally. When the service disconnecting means cannot be locked, securely fasten a prominent warning device, such as a tag, to the service panel.
- C. Installation Work and Electrical Wiring Must Be Done By Qualified Person(s) In Accordance With all Aplicable Codes & Standards, Including Fire-rated Construction. exhausting of gases through the flue (Chimney) of fuel burning equipment to prevent back- drafting. Follolow the heating equipment manufacturers guideline and safety standards such as those published by the National Fire Protection Association (NFPA), the American Society for Heating, Refrigeration and Air Conditioning Engineers (ASHRAE), and the local code authorities.
When cutting or drilling into wall or ceiling, do not damage electrical wiring and other hidden utilities. Ducted systems must always be vented to the outdoors.
WARNING
GROUNDING INSTRUCTIONS
This appliance must be grounded. In the event of an electrical short circuit, grounding reduces the risk of electric shock by providing an escape wire for the electric current. This appliance is equipped with a cord having a grounding wire with a grounding plug. The plug must be plugged into an outlet that is properly installed and grounded.
WARNING – IMPROPER GROUNDING CAN RESULT IN A RISK OF ELECTRIC SHOCK. Consult a qualified electrician if the grounding instructions are not completely understood, or if doubt exists as to whether the appliance is properly grounded.
Do not use an extension cord. If the power supply cord is too short, have a qualified electrician install an outlet near the appliance.
- TO REDUCE THE RISK OF INJURY TO PERSONS, IN THE EVENT OF A RANGE TOP GREASE FIRE, OBSERVE THE FOLLOWING:
A. SMOTHER FLAMES with a close – fitting lid, cookie sheet, or other metal tray, then turn off the gas burner or the electric element. BE CAREFUL TO PREVENT BURNS. If the flames do not go out immediately, EVACUATE AND CALL THE FIRE DEPARTMENT.
B. NEVER PICK UP A FLAMING PAN – you may be DO NOT USE WATER, including wet dishcloths or towels – a violent steam explosion will result.
Always leave safety grills and filters in place.Without these components, operating blowers could catch onto hair, fingers and loose clothing.
The manufacturer declines all responsibility in the event of failure to observe the instructions given here for installation,maintenance and suitable use of the product. The manufacturer further declines all responsability for injury due to negligence and the warranty of the unit automatically expires due to improper maintenance.
WARNING
- To Reduce The Risk Of Fire Or Electric Shock, Do Not Use This Hood With Any External Solid State Speed Control Device.
- Unplug or disconnect the appliance from the power supply before servicing.
- This appliance is intended for normal indoor residential use. It is not approved for commercial use, outdoor installation, installation over an outdoor BBQ grill, or any other application not specifically allowed by this manual. Damage from improper installation or use of this appliance is not covered by the product warranty.
ALUMINUM FILTERS

About Your New Filters
Aluminum Filters are recommended to be replaced every 6 months depending on usage.
Cleaning my Aluminum Filters
Your filters can be hand washed and cleaned to increase time between replacements. Aluminum Filters may not be placed in the dishwasher.
PARTS DIAGRAM

MODEL: COS-5MU30 / COS-5MU36
- Main Body
- Motor Housing
- Aluminum Filter
Other accessories: - Carbon Filter (Not Included. Available for purchase at www.cosmoappliances.com)
- Damper (1 pcs)
- Air Outlet Cap (2 pcs)
- Screws 5mm x 49mm (4 pcs)
- Wall Anchors 10mm x 43.3mm (4 pcs)
INSTALLATION REQUIREMENTS
- Please read the following instructions carefully.
- This Range Hood can be vented through the top or back. Remove the Air Outlet Cap according to the option chosen (Fig. 1). For ductless installation, install an Air Outlet Cap on both the rear and top vent holes.
- For optimal performance the Range Hood must be installed 24″ – 36″ in height from the cooktop. (Fig. 2)
- Electrical Requirements: Rated Voltage and Frequency:) 110-120V~ 60Hz. Motor Input Power: 125W
WARNING: Sufficient air is needed for proper combustion and exhausting of gases through the chimney of fuel burning equipment to prevent back- drafting. Follow the cooking equipment manufacturers guideline and safety standards such as those published by the National Fire Protection Association (NFPA), the American Society for Heating, Refrigeration and Air Conditioning Engineers (ASHRAE), and local code. When cutting or drilling into wall or ceiling, do not damage electrical wiring and other hidden utilities. Ducted systems must always be vented outdoors.
PRE-INSTALLATION PROCEDURES
- Please read the instructions carefully. Unpack the Range Hood and check that all functions are working before installing.
- Ensure that the voltage (V) and the frequency (Hz) indicated on the sticker match the voltage and frequency at the installation site.
- Check that the area behind the installation surface to be drilled is clear of any electrical cables or pipes, etc.
- The stainless steel surfaces of the Range Hood are very easily damaged during installation if scratched or bumped by tools. Please take care to protect the surfaces during installation.
- Protect the cooktop surface below with cardboard, or the like, to prevent damage occurring during installation.
- The manufacturer shall not be held liable for failure to observe all safety regulations.
IMPORTANT READ BEFORE INSTALLATION
You will need to set the Range Hood mode to either Ducted or Recirculating.
- Remove Aluminum Filters
- Locate Knob Settings located under the Motor (Fig. 1)
- Unlock the Settings Knob by unscrewing and setting to Ducted or Recirculating mode.
- Lock the Knob into place by replacing the screw from Step 3.

INSTALLATION INSTRUCTIONS
CAUTION: HOOD MAY HAVE VERY SHARP EDGES; PLEASE WEAR PROTECTIVE GLOVES WHENEVER IT IS NECESSARY TO REMOVE ANY PARTS FOR INSTALLING, CLEANING OR SERVICING.
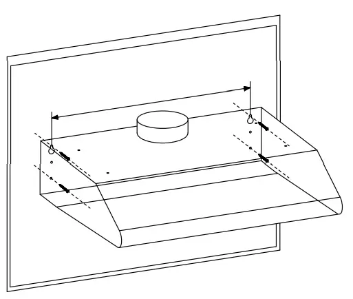
Cabinet Installation Method
- For Ducted installation drill a 130mm diameter hole into the cabinet and four 3.5mm diameter holes as pictured below picture.
For Ductless installation do not drill the 130mm diameter hole in the cabinet. Drill only the four 3.5mm diamater holes as pictured below. - Use the 4 screws to mount the Range Hood to the cabinet. Check that your mounting screws are in the correct place by temporarily fitting the Range in place. If correct, lock into position by pushing in the Range Hood.

CAUTION: HOOD MAY HAVE VERY SHARP EDGES; PLEASE WEAR PROTECTIVE GLOVES WHENEVER IT IS NECESSARY TO REMOVE ANY PARTS FOR INSTALLING, CLEANING OR SERVICING.
Wall Mount Installation Method
- A. Find the 4 mounting holes in the back of the range hood. Mark their locations at the installation location with a pencil or marker.
- B. Drill 5/16 (8mm) hole at each of the marked locations.
- C. Insert anchors along with screws into each drilled hole. Firmly tighten the screw into place.
- D. Hang your Range Hood into place by aligning the screws with the 4 mounting holes in the back of the range hood. Lock into place by sliding down the range hood.

RECIRCULATING CHARCOAL FILTERS
Skip this page if you are installing a Ducted Range Hood. Charcoal Filters are only included with Ductless Models.

- Remove the aluminum filters.
- The charcoal filter is installed at the end of the motor. While pressing firmly on the center, twist the carbon filter clockwise to lock into place.
- To replace the carbon filter, reverse the process and repeat.
NOTE: The carbon filter cannot be washed and reused and must be replaced every 4-6 months, depending on use.
SCAN FOR INSTALLATION VIDEO

OPERATING INSTRUCTIONS
MAINTENANCE
CAUTION: NEVER PUT YOUR HAND INSIDE OF THE UNIT WHILE ITS OPERATING. FOR THE BEST PERFORMANCE CLEAN YOUR
RANGE HOOD REGULARLY.
CLEANING
- Use only mild soap or cleaning solutions to clean the hoods’ outer surface. Dry surfaces using a soft cloth.
- Stainless Steel cleaner may be used on the external surface.
- Clean the Range Hood assembly 3 to 6 months depending on use.
- DO NOT clean the motor or electrical components with water or any other liquid.
REPLACING LIGHT BULBS
CAUTION: LAMP UNIT MAY BE HOT! WAIT UNTIL THE UNIT IS COOL. BEFORE ATTEMPTING TO REPLACE THE LED LAMPS MAKE SURE THE UNIT IS POWERED OFF AND UNPLUGGED.
- Remove the aluminum filters
- Unscrew the Light Bulb
- Screw in new Light Bulb (E26 Type Bulb 40 watt max.)
- Reinstall the aluminum filters.

TROUBLESHOOTING
CAUTION: ALWAYS DISCONNECT UNIT FROM POWER BEFORE SERVICING
| PROBLEM | SOLUTION | TOOLS |
| My range hood is noisy. | A. Check inside the range hood for any loose debris and remove. | Phillips Screwdriver |
| My range hood has poor performance. | A. The range hood and cooktop are too far away from each other. Optimal distance is 24” to 36” B. There are too many open windows or doors in the area. Close some doors or windows. C. The motor performance has decreased due to wear. Replace motor. D. Check and make sure the tape holding down the damper flaps at the vent hole are removed before use. | Phillips Screwdriver |
| My range hood shakes. | A. The installation is not secure. Check again and make sure the installation hardware is securely mounted. B. The fan is broken or not balanced. Realign or replace fan. C. The motor is loose. Check and make sure the motor is solidly mounted to the unit. | Phillips Screwdriver |
| The motor no longer runs. | A. Replace control panel or circuit board. B. Replace with new motor assembly. | Phillips Screwdriver |
| Light bulb went out. | A. Replace with a new E26 Type Bulb 40 watt max. | Phillips Screwdriver |
WATCH OUR VIDEO GUIDE
cosmoappliances.com/5mu-help
Call Support: 1-888-784-3108
SCAN QR CODE

WARRANTY AND SERVICE
- For full warranty details on this product please visit: http://www.cosmoappliances.com/warranty
- TO RECEIVE WARRANTY SERVICE, YOUR
- PRODUCT MUST BE REGISTERED. TO REGISTER, VISIT: WWW.COSMOAPPLIANCES.COM/WARRANTY
SCAN TO REGISTER

Correct Disposal of this product:
This marking indicates that this appliance should not be disposed with other household wastes. To prevent possible harm to the environment or human health from uncontrolled waste disposal, recycle it responsibly to promote the sustainable reuse of material resources.
IMPORTANT
- Do Not Return This Product To The Store If
- you have a problem with this product, please contact
- Cosmo Customer Support at +1(888)784-3108
- DATED PROOF OF PURCHASE, MODEL #, AND SERIAL #
- REQUIRED FOR WARRANTY SERVICE
IMPORTANT
- Ne pas Réexpédier ce Produit au Magasin
- Pour tout problème concernant ce produit, veuillez contacter
- le service des consommateurs Cosmo Customer Support au +1(888) 784-3108
- UNE PREUVE D’ACHAT DATEE EST REQUISE POUR BENEFICIER DE
- LA GARANTIE.
IMPORTANTE
- No regrese este producto a la tienda
- Si tiene algún problema con este producto, por favor contacte el
- AYUDA AL CLIENTE COSMO al +1(888)784-3108
- (Válido solo en E.U.A).
- NECESITA UNA PRUEBA DE DE COMPRA FECHADA, NÚMERO DE
- MODELO Y DE SERIE PARA EL SERVICIO DE LA GARANTÍA
Cosmo is constantly making efforts to improve the quality and performance of our products, so we may make changes to our appliances without updating this manual.
Electronic version of this manual is available at: www.cosmoappliances.com





















