COSMO COS-5U30 Under Cabinet Range
IMPORTANT SAFETY INSTRUCTIONS
Read all instructions before using this appliance. Save these instructions for future reference. Approved for residential appliances. For residential use only.
- FOR GENERAL VENTILATING USE ONLY. DO NOT USE TO EXHAUST HAZARDOUS OR EXPLOSIVE MATERIALS OR VAPORS.
- To reduce risk of fire and to properly exhaust air, do not vent exhaust air into spaces within walls, ceilings, attics, crawl spaces, or garages.
- TO REDUCE THE RISK OF FIRE, USE ONLY METAL DUCT WORK. Install this hood in accordance with all requirements specified
- TO REDUCE THE RISK OF FIRE, ELECTRIC SHOCK, OR INJURY TO PERSONS, OBSERVE THE FOLLOWING:
1. Use this unit only in the manner intended by the manufacturer. If you have questions, contact the manufacturer.
2. Before servicing or cleaning the unit, switch power off at service panel and lock service panel disconnecting means to prevent power from being switched on accidentally. When the service disconnecting means cannot be locked, securely fasten a prominent warning device, such as a tag, to the service panel.
3. Installation work and electrical wiring must be done by qualified person(s) in accordance with all applicable codes and standards, including fire-rated construction.
4. Sufficient air is needed for proper combustion and exhausting of gases through the flue (Chimney) of fuel burning equipment to prevent back-drafting. Follow the heating equipment manufacturer’s guideline and safety standards such as those published by the National Fire Protection Association (NFPA), the American Society for Heating, Refrigeration and Air Conditioning Engineers (ASHRAE), and the local code authorities.
5. When cutting or drilling into wall or ceiling, do not damage electrical wiring and other hidden utilities.
6. Ducted systems must always be vented to the outdoors. - To Reduce The Risk Of Fire Or Electric Shock, Do Not Use This Hood With Any External Solid State Speed Control Device.
- Disconnect the appliance from the power source before servicing.
- GROUNDING INSTRUCTIONS
This appliance must be grounded. In the event of an electri-cal short circuit, grounding reduces the risk of electric shock by providing an escape wire for the electric current.
WARNING – IMPROPER GROUNDING CAN RESULT IN A RISK OF ELECTRIC SHOCK.
Consult a qualified electrician if the grounding instructions are not completely understood, or if doubt exists as to whether the appliance is properly grounded. - TO REDUCE THE RISK OF INJURY TO PERSONS, IN THE EVENT OF A RANGE TOP GREASE FIRE, OBSERVE THE FOLLOWING:
- SMOTHER FLAMES with a close-fitting lid, cookie sheet, or metal tray, then turn off the burner. BE CAREFUL TO PREVENT BURNS. If the flames do not go out immediately, EVACUATE AND CALL THE FIRE DEPARTMENT.
- NEVER PICK UP A FLAMING PAN – You may be burned.
- DO NOT USE WATER, including wet dishcloths or towels –a violent steam explosion will result.
- Use an extinguisher ONLY if:
1. You know you have a Class ABC extinguisher, and you already know how to operate it.
2. The fire is small and contained in the area where it started.
3. The fire department is being called.
4. You can fight the fire with your back to an exit - Always leave safety grills and filters in place. Without these components, operating blowers could catch onto hair, fingers and loose clothing. The manufacturer declines all responsibility in the event of failure to observe the instructions given here for installation, maintenance and suitable use of the product. The manufacturer further declines all responsibility for injury due to negligence and the warranty of the unit automatically expires due to improper maintenance.
- WARNING – TO REDUCE THE RISK OF A RANGE TOP GREASE FIRE:
A. Never leave surface units unattended at high settings. Boilovers cause smoking and greasy spillovers that may ignite. Heat oils slowly on low or medium settings.
B. Always turn hood ON when cooking at high heat or when flaming food (i.e. Crepes Suzette, Cherries Jubilee, Peppercorn Beef Flambe).
C. Clean ventilating fans frequently. Grease should not be allowed to accumulate on fan or filter.
D. Use proper pan size. Always use cookware appropriate for the size of the surface element.

About Your New Filters
Aluminum filters are recommended to be replaced every 4-6 months, depending on usage.
Cleaning my Aluminum Filters
Your filters can be hand washed and cleaned to increase time between replacements. Aluminum filters should not be placed in the dishwasher.
Additional Aluminum or Charcoal Filters can be purchased from: www.cosmoappliances.com
PARTS INCLUDED

PARTS LIST
A) Damper
B) Vent cover
C) Plastic Anchors – 2 pcs
D) ST4*40 mm wood screws – 9 pcs
E) ST4*16 mm wood screws – 2 pcs
DIAGRAM: RANGE HOOD EXTERIOR

INSTALLATION REQUIREMENTS
PLEASE READ THE FOLLOWING INSTRUCTIONS CAREFULLY:
- This Range Hood can be vented through the top or back.
For ductless installation, install an Air Outlet Cap on the rear vent hole. If air will be vented, install the damper attachment on the side that the air will vent through (top or rear, shown in Fig. 2) - For optimal performance the Range Hood must be installed 24” – 30” in height from the cooktop. (Fig. 1)
- Electrical Requirements: Rated Voltage and Frequency:) 110-120V~ 60Hz. Motor Input Power: 90W
WARNING
- ALL ELECTRICAL CONNECTIONS MUST BE IN ACCORDANCE WITH LOCAL CODES, ORDINANCES, OR NATIONAL ELECTRICAL CODE. IF YOU ARE
- UNFAMILIAR WITH METHODS OF INSTALLING ELECTRICAL WIRING, SECURE THE SERVICES OF A QUALIFIED ELECTRICIAN.
Sufficient air is needed for proper combustion and exhausting of gases through the chimney of fuel burning equipment to prevent back-drafting.
Follow the cooking equipment manufacturer’s guideline and safety standards such as those published by the National Fire Protection Association (NFPA), the American Society for Heating, Refrigeration and Air Conditioning Engineers (ASHRAE), and local code. When cutting or drilling into wall or ceiling, do not damage electrical wiring and other hidden utilities. Ducted systems must always be vented outdoors.

PRE-INSTALLATION
- Please read the instructions carefully. Unpack the Range Hood and check that all
- functions are working before installing.
- Ensure that the voltage (V) and the frequency (Hz) indicated on the sticker match the voltage and frequency at the installation site.
- Check that the area behind the installation surface to be drilled is clear of any electrical cables or pipes, etc.
- The stainless steel surfaces of the Range Hood are very easily damaged during installation if scratched or bumped by tools. Please take care to protect the surfaces during installation.
- Protect the cooktop surface below with plywood, or similar material, to prevent damage occurring during installation.
- The manufacturer shall not be held liable for failure to observe all safety regulations.
IMPORTANT! READ BEFORE INSTALLATION!
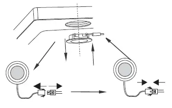
You will need to set the Range Hood mode to either Ducted or Recirculating.
- Remove Aluminum Filters
- Locate Knob Settings located under the Motor (Fig. 3)
- Rotate the lever to either Ducted or Recirculating mode.
- If recirculating mode is chosen, install the vent cover on the rear vent hole.
If ducted mode is chosen, install the damper on the vent hole where the air will vent through (top or rear), and install the vent cover on the other vent hole (shown on Fig.2 of the previous page).

PRE-INSTALLATION
- Your venting system must vent to the outdoors either horizontally through the back wall (13) or vertically through the roof (14). (refer to Fig. 5/Fig. 6/Fig. 7).
- For this range hood, use 5 in. round metal ductwork for the top -OR- use rectangular adapter / ductwork for the back. Connect to damper using HVAC aluminum tape.
- The total duct length should not be more than 35 ft. Calculate the total effective length of the ductwork by using the table below. For each fitting use the table to see its straight duct equivalent.
- Fasten all ductwork with sheet metal screws and tape all joints with certified HVAC tape.
- If you must turn the path of the ductwork using elbows, keep the number of elbows to a minimum for best performance. Use no more than three 90 degree elbows. Ensure that there is a minimum of 25.6 in. of straight vent between each elbow. Use el-bows as far away from the range hoods exhaust opening as possible.
- Cap the exterior of the duct with a wall cap (15) or roof cap (16). Never use (4 in.) laundry-type wall caps. Use caulking to seal exterior wall or roof opening around the cap.
- The venting system must have a damper. If the roof or wall cap has a damper, do not use the damper supplied with the range hood.

WIRING DIAGRAM
CAUTION: SHUT-OFF POWER SUPPLY BEFORE INSTALLING. IN-STALLATION WORK AND ELECTRICAL WIRING MUST BE DONE BY QUALIFIED PERSON(S) IN ACCORDANCE WITH ALL APPLICABLE CODES & STANDARDS, INCLUDING FIRE-RATED CONSTRUCTION.

INSTALLATION INSTRUCTIONS
CAUTION: HOOD MAY HAVE VERY SHARP EDGES; PLEASE WEAR PROTECTIVE GLOVES WHENEVER IT IS NECESSARY TO REMOVE ANY PARTS FOR INSTALLING, CLEANING OR SERVICING.

If cabinet bottom is recessed, we recommend installing wooden shims on cabinet bottom to make cabinet mounting area flush.
- Drill two 8mm holes in position for plastic wall anchor (Part B) placement.
(See above for placement location). - Tap plastic wall anchors securely into each of the drilled holes.
- After Wall anchors have been tapped in place, Insert ST4*40 wood screws (part D), but leave 1/4” of the screw sticking out of the wall. (This will give your Range Hood something to hang onto).
If using recirculating mode: skip steps 4, 5a, 5c, 6a, 6c.
- Take the hood unit along with the 5” Round Aluminum duct (Top) -OR-rectangular adapter / ductwork (Back). Secure the round aluminum duct to the damper at the top or rear of the hood unit using HVAC Aluminum foil tape. (Skip this step for recirculating mode)
If mounting to a cabinet, skip step 5.
- 5a, If mounting to the wall only, drill a 5.25” round hole on the back wall above the hood, OR
into the ceiling directly above the hood, or on the back wall centered with the rear vent hole of the hood. (Skip this step for recirculating mode)
5b. Lift the hood and hang the hood unit on the back wall using the screws drilled in Step 3. Once the hood is securely hung on the wall, tighten the screws from the interior of the hood after removing the aluminum filters.
5c. Pull rectangular adapter / ductwork through the newly drilled hole in the wall. Connect unit to power source. (Skip this step for recirculating mode)
Step 5b.

- 6a. Drill a 5 – 1/4” Round Hole into the bottom of the cabinet. (skip this step forrecirculating mode)
6b. Drill a 1 – 1/2” hole into the bottom of the cabinet for the Electrical Access hole according to the location of electrical wires shown on page 5 of this manual.
6c. Pull the round duct through the bottom of the new cabinet holes (skip this step for recirculating mode).
6d. Pull the electrical cord through the bottom of the cabinet holes. - Lift the hood and hang the hood unit on the back wall using the screws drilled in Step 3.

- Once the hood is securely hung to the back wall, remove the aluminum filters from underneath the hood.
- Drill four pieces of ST4*16 wood screws (Part E) into the bottom of the cabinet using the four screw holes at the top of the hood. Once the hood is secured into the cabinet tighten the wood screws located in the back of the hood. Re-install the filters. Reconnect unit to power source.
RECIRCULATING CARBON FILTERS
SKIP THIS PAGE IF YOU ARE INSTALLING A DUCTED RANGE HOOD. CARBON FILTERS ARE ONLY INCLUDED WITH DUCTLESS MODELS.

Installing Recirculating Filters (For Ductless installation Only)
- Remove the Aluminum Filters.
- The charcoal filter is installed to the motor housing as shown. Line up the filter over the center of the motor housing, then turn the filter until the side tabs fit into slots and locks in place.
- To replace the carbon filter reverse the process and repeat.
THE CARBON FILTER MUST BE REPLACED EVERY 4-6 MONTHS DEPENDING ON USE. ADDITIONAL ALUMINUM OR CHARCOAL FILTERS CAN BE PURCHASED FROM: WWW.COSMOAPPLIANCES.COM Charcoal Filter Part # – CFK3-TM
OPERATING INSTRUCTIONS

MAINTENANCE
CAUTION: NEVER PUT YOUR HAND INSIDE OF THE UNIT WHILE IT IS OPERATING. FOR THE BEST PERFORMANCE CLEAN YOUR RANGE HOOD REGULARLY.
CLEANING
- Use only mild soap or cleaning solutions to clean the hood’s outer surface. Dry surfaces using a soft cloth.
- Stainless Steel cleaner may be used on the external surface.
- Clean the Range Hood motor assembly every 1 to 3 months depending on use.
- DO NOT clean the motor or electrical components with water or any other liquid.
REPLACING LIGHT BULBS
CAUTION: LAMP UNIT MAY BE HOT! WAIT UNTIL THE UNIT IS COOL. BEFORE ATTEMPTING TO REPLACE THE LED LAMPS. MAKE SURE THE UNIT IS POWERED OFF AND DISCONNECTED.
- Remove the aluminum filters
- Disconnect the wire for the LED light being replaced.
- Reach your hand into the unit and push the LED light housing out of the hole to remove it. Replace the LED light and connect the wire.
- Reinstall the aluminum filters

TROUBLESHOOTING
CAUTION: ALWAYS DISCONNECT UNIT FROM POWER BEFORE SERVICING

WARRANTY AND SERVICE
For full warranty details on this product please visit: http://www.cosmoappliances.com/warranty
TO RECEIVE WARRANTY SERVICE, YOUR
PRODUCT MUST BE REGISTERED. TO REGISTER, VISIT:
WWW.COSMOAPPLIANCES.COM/WARRANTY
IMPORTANT
Do Not Return This Product To The Store If you have a problem with this product, please contact
Cosmo Customer Support at
+1(888)784-3108
DATED PROOF OF PURCHASE, MODEL #, AND SERIAL # REQUIRED FOR WARRANTY SERVICE
Correct Disposal of this product:
This marking indicates that this appliance should not be disposed with other household wastes. To prevent possible harm to the environment or human health from uncontrolled waste disposal, recycle it responsibly to promote the sustainable reuse of material resources.
COSMO COS-5U30 Under Cabinet Range
























