arietta ADK430SSB 30 Inch Wall Mount Convertible Hood

IMPORTANT SAFETY INSTRUCTIONS
WARNING:
TO REDUCE THE RISK OF FIRE, ELECTRIC SHOCK, OR INJURY TO PERSONS, OBSERVE THE FOLLOWING:
- Use this unit only in the manner intended by the manufacturer. If you have questions, contact the manufacturer.
- Before servicing or cleaning the unit, switch the power off at the service panel and lock the service disconnecting means to prevent power from being switched on accidentally. When the service disconnecting means cannot be locked, securely fasten a prominent warning device, such as a tag to the service panel.
- Installation work and electrical wiring must be done by a qualified person(s) in accordance with all applicable codes and standards, including fire-rated construction.
- Sufficient air is needed for proper combustion and exhausting of gases through the fl ue (chimney) of fuel-burning equipment to prevent back-drafting. Follow the heating equipment manufacturer’s guidelines and safety standards such as those published by the National Fire Protection Association (NFPA), the American Society for Heating, Refrigeration and Air Conditioning Engineers (ASHRAE), and the local code authorities.
- When cutting or drilling into a wall or ceiling; do not damage electrical wiring and other hidden utilities.
- Ducted fans must always be vented outdoors.
- CAUTION: For general ventilating use only. Do not use to exhaust hazardous or explosive materials and vapors.
- CAUTION: To reduce risk of fi re and to properly exhaust air, be sure to duct air outside – do not vent exhaust air into spaces within walls or ceilings, attics or into crawl spaces, or garages.
- WARNING: TO REDUCE THE RISK OF FIRE, USE ONLY METAL DUCTWORK
- WARNING: TO REDUCE THE RISK OF A RANGE TOP GREASE FIRE:
- Never leave surface units unattended at high settings. Boilovers cause smoking and greasy spillovers that may ignite. Heat oils slowly on low or medium settings.
- Always turn hood ON when cooking at high heat or when fl ambeing food (i.e. Crepes Suzette, Cherries Jubilee, Peppercorn Beef Flambé).
- Clean ventilating fans frequently. Grease should not be allowed to accumulate on fan or fi lter.
- Use proper pan size. Always use cookware appropriate for the size of the surface element.
- WARNING: TO REDUCE THE RISK OF INJURY TO PERSONS IN THE EVENT OF A RANGE TOP GREASE FIRE, OBSERVE THE FOLLOWING:
- SMOTHER FLAMES with a close-fitting lid, cookie sheet, or metal tray, then turn off the burner. BE CAREFUL TO PREVENT BURNS. If the flames do not go out immediately, EVACUATE AND CALL THE FIRE DEPARTMENT.
- NEVER PICK UP A FLAMING PAN – you may get burned.
- DO NOT USE WATER, including wet dishcloths or towels -a violent steam explosion will result.
- Use an extinguisher ONLY if:
- You know you have a class ABC extinguisher, and you already know how to operate it.
- The fire is small and contained in the area where it started.
- The fire department is being called.
– You can fight the fire with your back to an exit.
Based on “Kitchen Fire Safety Tips” published by NFPA.
- WARNING: To reduce the risk of fire or electrical shock, do not use this fan with any solid-state speed control device.
- WARNING: Do not operate any fan with a damaged cord or plug. Discard the fan or return to an authorized service facility for examination and/or repair.
READ AND SAVE THESE INSTRUCTIONS
Tools and Parts
Parts supplied
Removing the packaging
CAUTION!
Remove cartons carefully, and wear gloves to protect against sharp edges.
WARNING!
Remove the protective film covering the product before putting into operation.
Parts not supplied
Tools/Materials required
- Level
- Drill
- 11⁄4” (3.2 cm), 1⁄8” (3.2 mm), and 1⁄16” (4.8 mm) drill bits
- Pencil
- Wire stripper or utility knife
- Tape measure or ruler
- Pliers
- Caulking gun and weatherproof caulking compound
- Jigsaw or keyhole saw
- Metal snips
- Screwdrivers:
- Flat-blade
- Phillips
Parts needed
- Home power supply cable
- ½” (12.7 mm) UL-listed or CSA-approved strain relief
- 3 UL listed wire connectors
For vented installations, you will also need:
- 1 wall or roof cap
- Metal vent system
Optional Accessories
| KIT | # Part | |
| 30” (76.2 cm) | 36” (91.4 cm) | |
| Recirculating Kit | KIT0102875 | |
| Long Chimney Extension | KIT01609/1 | |
| 6″ Round Backdraft Damper Kit | KIT0102873 | |
| CFM Reduction Kit | KIT02748 | |
Dimensions and Clearances

| Models | ||
| ADK430SSB | ADK436SSB | |
| A | 30” (76.2 cm) | 36” (91.4 cm) |
| B | 1911⁄16” (50 cm) | |
| C* | Max: 365⁄8” (93 cm) Min: 24” (61 cm) | |
| D** | Max: 3213⁄16” (83.3 cm) Min: 203⁄8” (51.7 cm) | |
| E | 6” (15.24 cm) | |
| F | 103⁄4” (27.3 cm) | |
| G | 131⁄32” (33.2 cm) | |
Electrical Requirements
IMPORTANT
Observe all governing codes and ordinances.
It is the customer’s responsibility:
- To contact a qualified electrical installer.
- To assure that the electrical installation is adequate and in conformance with National Electrical Code, ANSI/NFPA 70— latest edition*, or CSA Standards C22.1-94, CanadianElectrical Code, Part 1 and C22.2 No.0-M91 – latest edition** and all local codes and ordinances.
- If codes permit and a separate ground wire is used, it is recommended that a qualified electrician determine that the ground path is adequate.
- Do not ground to a gas pipe.
- Check with a qualified electrician if you are not sure the range hood is properly grounded.
- Do not have a fuse in the neutral or ground circuit.
A copy of the above code standards can be obtained from:
National Fire Protection Association
1 Batterymarch Park Quincy, MA 02169-7471 CSA International 8501 East Pleasant Valley Road Cleveland, OH 44131-5575
IMPORTANT
- Save Installation Instructions for the electrical inspector’s use.
- The range hood must be connected with copper wire only.
- The range hood should be connected directly to the fused disconnect (Or circuit breaker) box through a metal electrical conduit.
- Wire sizes must conform to the requirements of the National Electrical Code ANSI/NFPA 70 — latest edition*, or CSA Standards C22.1-94, Canadian Electrical Code Part 1 and C22.2 No. 0-M91 – latest edition** and all local codes and ordinances.
- A U.L.- or C.S.A.-listed conduit connector must be provided at each end of the power supply conduit (at the range hood and at the junction box).
BEFORE INSTALLING THE HOOD
- For the most efficient airflow exhaust, use a straight run or as few elbows as possible.
CAUTION: Vent unit to the outside of the building, only. - At least two people are necessary for installation.
- Fittings material is provided to secure the hood to most types of walls/ceilings, consult a Qualified Installer, to check if they perfectly fit with your cabinet/wall.
- Do not use flex ducting.
- COLD WEATHER installations should have an additional back draft damper installed to minimize backward cold air flow and a nonmetallic thermal break to minimize conduction of outside temperatures as part of the ductwork. The damper should be on the cold air side of the thermal break. The break should be as close as possible to where the ducting enters the heated portion of the house.
- Make-up air: Local building codes may require the use of Make-Up Air Systems when using Ducted Ventilation Systems greater than the specified CFM of air movement. The specified CFM varies from locale to locale. Consult your HVAC professional for specific requirements in your area.
Ducting Options
CFM reduction kit
If required or desired this hood is to be used only in conjunction with CFM reduction kit model KIT02748. Consult your HVAC professional and local building codes for specific requirements in your area. Closely follow the instructions set out in this manual.
All responsibility, for any eventual inconveniences, damages, or fires caused by not complying with the instructions in this manual, is declined.
Ducting version
The hood is equipped with a 6” (15.2 cm) round transition for the discharge of fumes to the outside.
Ductless (Recirculating)
In cases where it should not be possible to discharge cooking fumes and vapour to the outside. Attach a charcoal filter and the deflector on the duct cover support bracket. Fumes and vapours are recycled through the top grille by means of a duct connected to the transition and the transition mounted on the deflector. For this version only purchase the Ductless Recirculating Kit. Minimum Duct Size: 6” Round Pipe.
Preparation
Do not cut a joist or stud unless absolutely necessary. If a joist or stud must be cut, then a supporting frame must be constructed. Fittings material is provided to secure the hood to most types of walls/ceilings. However, a qualified technician must verify the suitability of the materials in accordance with the type of wall/ceiling.
Before making cutouts, make sure there is proper clearance within the ceiling or wall for the exhaust vent.
Recommended installation height:
The hood installation height above the cooktop is the user’s preference. The lower the hood is above the cooktop, the more efficient the capturing of cooking odors, grease, and smoke.
CAUTION
- For gas cooktop & range installations: Mount the hood so the bottom is at least 30” (76.2 cm) above the cooking surface.
- For electric/induction cooktop & range installations: Mount the hood so the bottom is at least 24” (61 cm) above the cooking surface.
There is no maximum mounting height, however, we recommend mounting the hood no greater than 36” (91.4 cm) above the cooking surface. For every inch (2.54 cm) above 36” (91.4 cm), fume and moisture capture efficiency diminishes at an increasing rate and may not deliver an acceptable level of ventilating performance.
This hood is intended for household use.
PLEASE READ THE INSTALLATION MANUAL FOR SPECIFIC APPLICATIONS. Check your ceiling height and hood height before selecting your hood.
Installation instructions
Prepare location
- It is recommended that the vent system be installed before the hood is installed.
- Before making cutouts, make sure there is proper clearance within the ceiling or wall for the exhaust vent.
- Check your ceiling height and the hood height maximum before you select your hood.
- Disconnect power.
- Determine which venting method to use: roof, wall, or nonvented.
- Select a flat surface for assembling the range hood. Place covering over that surface.
- Remove all packaging materials from inside the hood
WARNING
TO REDUCE THE RISK OF FIRE, ELECTRIC SHOCK, OR INJURY TO PERSONS, OBSERVE THE FOLLOWING. - Using 2 or more people, lift the range hood onto the covered surface.
Mounting the duct cover bracket
- Determine and mark the centerline on the wall where the canopy hood will be installed. Disconnect power.
- Select a mounting height between a minimum of 24” (61 cm) for an electric cooking surface, a minimum of 30” (76.2 cm) for a gas cooking surface, and a suggested maximum of 36” (91.4 cm) above the range to the bottom of the hood. Mark a reference line on the wall.
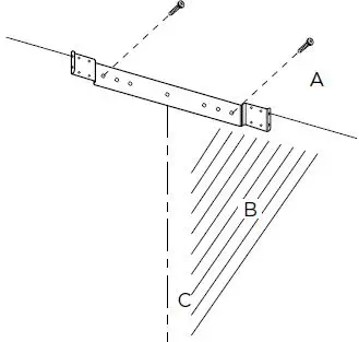
- Tape the template in place, aligning the template centerline and bottom of the template with the hood bottom line and with the centerline marked on the wall.

- A. Centerline
- B. Fastener locations
- C. Mounting height reference (hood bottom line)
- Mark centers of the fastener locations through the template to the wall.
IMPORTANT: All screws must be installed into the wood.
If there is no wood to screw into, additional wall framing supports may be required. - Remove the template.
- Drill 3⁄16” (4.8 mm) pilot holes at all locations where screws are being installed into the wood.
- Install the 2 – 5 x 45 mm mounting screws. Leave a 1⁄4” (6.4 mm) gap between the wall and the back of the screw head to slide the range hood into place.

Vent cover bracket installation
- Attach vent cover bracket to wall flush to the ceiling using 2 – 5 x 45 mm screws.

- A. Ceiling
- B. Wall
- C. Centerline
Complete preparation
- Determine and make all necessary cuts in the wall for the vent system. Install the vent system before installing the hood. See the “Venting Requirements” section.
- Determine the required height for the home power supply cable and drill a 1¼” (3.2 cm) hole at this location.
- Run the home power supply cable according to the National Electrical Code or CSA Standards and local codes and ordinances. There must be enough ½” conduit and wires from the fused disconnect (or circuit breaker) box to make the connection in the hood’s electrical terminal box.
NOTE: Do not reconnect power until installation is complete. - Use caulk to seal all openings.
Install Range Hood
- Using 2 or more people, hang the range hood on 2 mounting screws through the mounting slots on the back of the hood.

- Mark with a pencil the lower mounting holes’ location.
- Uninstall the hood assembly, and drill 3⁄16” (4.8 mm) pilot holes at marked locations.
- Hang the range hood again on 2 upper mounting screws.
- Level the range hood and tighten the upper mounting screws.
- Install 2 – 5 x 45 mm lower mounting screws and tighten them. Use the optional wall anchors if needed.
Connect Vent System
Install transition on top of hood (if removed for shipping) with 2 – 3.5 x 9.5 mm sheet metal screws.
For vented installations only:
Electrical Connection
WARNING
ELECTRICAL SHOCK HAZARD.
WARNING
DISCONNECT POWER BEFORE SERVICING. REPLACE ALL PARTS AND PANELS BEFORE OPERATING. FAILURE TO DO SO CAN RESULT IN DEATH OR ELECTRICAL SHOCK.
- Disconnect power.
- Remove the terminal box cover.
- Remove the knockout in the terminal box cover and install a UL-listed or CSA-approved 1⁄2” strain relief.

- Run the home power supply cable through the strain relief, into the terminal box.
- Fit the vent system over the exhaust outlet.
- Measure from the bottom of the air deflector to the bottom of the hood outlet. Cut the ductwork at the measured dimension.

- Seal connection with clamps.
- Check that back draft dampers work properly.

- A. Home power supply cable
- B. UL-listed or CSA-approved strain relief
- C. UL listed wire connectors
- D. White wires
- E. Black wires
- F. Green (or bare) and yellow-green ground wires
- G. Terminal box
- Use UL-listed wire connectors and connect black wires (C) together.
- Use UL-listed wire connectors and connect white wires (E) together.
WARNING
ELECTRICAL SHOCK HAZARD.
WARNING
ELECTRICALLY GROUND BLOWER. CONNECT GROUND WIRE TO GREEN AND YELLOW GROUND WIRE IN THE TERMINAL BOX. FAILURE TO DO SO CAN RESULT IN DEATH OR ELECTRICAL SHOCK. - Connect green (or bare) ground wire from the home power supply to yellow-green ground wire (F) in the terminal box using UL-listed wire connectors.
- Tighten the strain relief screw.
- Install terminal box cover.
- Reconnect power.
Complete Installation
Install duct covers
- When using both upper and lower vent covers, push lower cover down onto hood and lift upper cover to ceiling and install with two mounting screws.
NOTE: For vented installations, the upper vent cover may be reversed to hide slots.
- Secure the bottom of the duct with 2 – 4 x 8 mm screws.

- For non-vented (recirculating) installations only, install charcoal filters over metal grease filters. See the “Maintenance” section.
- Install metal filters. See the “Maintenance” section.
To get the most efficient use from your new range hood, read the “maintenance” section. Keep your Use, Care, and Installation Guide close to the range hood for easy reference.
Description of the Hood
- Controls
- LED lamps
- Grease filter handle
- Grease filter
- Canopy
- Duct covers
Control

- Light On/Off button
- Blower On/Off button
- Blower speed minimum button
- Blower speed medium button
- Blower speed maximum button
NOTE: Control buttons will light up when range hood is On.
Operating the light
The Light On/Off button (1) controls both lights. Press once for On and again for Off.
Operating the blower
The Blower On/Off button (2) turns the blower On or Off.
The Blower Speed buttons (3, 4 and 5) set the desired speed and control the sound level for quiet operation. The speed can be changed anytime during fan operation by pressing the desired blower speed button.
- To turn the blower On, press the Blower On/Off button (2) and the desired speed button (3, 4 or 5).
- To turn the blower Off, press the Blower On/Off button (2).
Any of the 3 blower speed buttons can be in the On position at the same time. The blower will operate at the highest speed button that is pushed in. For lower blower speeds, the higher-speed buttons must not be pushed in.
Range Hood Care
Cleaning
Do not spray cleaners directly to the control while cleaning the Hood. The cooker hood should be cleaned regularly (at least with the same frequency with which you carry out maintenance of the fat filters) internally and externally. Clean using the cloth dampened with neutral liquid detergent. Do not use abrasive products.
DO NOT USE ALCOHOL!
WARNING
Failure to carry out the basic cleaning recommendations of the cooker hood and replacement of the filters may cause fire risks.
Therefore, we recommend serving these instructions. The manufacturer declines all responsibility for any damage to the motor or any fire damage linked to inappropriate maintenance or failure to observe the above safety recommendations.
Grease Filter
Traps cooking grease particles.
This must be cleaned once a month using nonaggressive detergents, either by hand or in the dishwasher, which must be set to a low temperature and a short cycle. When washed in a dishwasher, the grease filter may discolor slightly, but this does not affect its filtering capacity.
To remove the grease filter, pull the spring release handle.
Replacing a LED Lamp
The LED lights are replaceable by a service technician only. See “Who to contact” section in the warranty for service contact information.
Charcoal Filter
- If the model is not vented to the outside, the air will be recirculated through disposable charcoal filters that help remove smoke and odors.
- The charcoal filters cannot be cleaned. They must be replaced.
- The charcoal filters are clipped inside of each metal grease filter (mounting instructions included with the charcoal filters kit).
- The charcoal filters should be replaced every 4-6 months (depending on hood usage).
NOTE:
- NOTE: DO NOT rinse, or put charcoal filters in an automatic dishwasher.
- NOTE: Charcoal filters are not included with the hood. They must be ordered from your supplier. Order the needed kit specifying your hood model and width size.
Charcoal filter placement (Recirculating accessories)
Fit the charcoal filter mattress on the upper side of each grease filter.
Use provided springs to fix it in place.
NOTE:
When removing for replacing for a new one do not remove Fixing Springs, simply pull out one and rotate outwards.
WARRANTY
TO OBTAIN SERVICE UNDER WARRANTY:
or any Service Related Questions, please call: 1-888-732-8018
Staple your receipt here.
Proof of the original purchase date is needed to obtain service under the warranty.
TO OBTAIN SERVICE UNDER WARRANTY:
You must present proof of the original purchase date. Please keep a copy of your dated proof of purchase (sales slip) in order to obtain service under warranty.
Parts and Service Warranty:
For the period of one year from the date of the original purchase, we will provide free-of-charge, non-consumable parts or components that failed due to manufacturing defects. During this one-year limited warranty, we will also provide, free of charge, all labor and in-home service to replace the defective part.
What is Not Covered:
- Damage to the product caused by floods, acts of God, fire, and accidents.
- Damage caused after delivery.
- House fuses replacement or resetting of circuit breakers.
- Service trips to your home to teach you how to use or install the product.
- Light bulbs, metal, carbon filters, and other consumable parts.
- The natural wear of finish, and wear due to improper maintenance, and use of corrosive and abrasive cleaning products, pads, and oven cleaner products.
This warranty will be voided when:
- Product damaged due to improper installation and failure to follow installation instructions, delivery, or maintenance.
- Incidental or consequential damage caused by possible defects with this appliance.
- Alteration or modification of the Product which may cause in damage to the Product, or failure to operate it in accordance with specifications.
- Damage because of improper connection with equipment of other manufacturers.
- Failure of the product if it is negligence, abused, misused, or used for other than the intended purpose or used commercially.
- Improper repair, modification, or servicing of the Product performed by third parties other than Authorized Agents.
Who is Covered:
This warranty is extended to the original purchaser for products purchased for ordinary home use in the 48 mainland states, Hawaii, Washington D.C. Alaska, Guam, Puerto Rico, and the Virgin Islands.
This warranty is non-transferable and applies only to the original purchaser and does not extend to subsequent owners of this product. This warranty is made expressly in lieu of all other warranties, expressed or implied, including, but not limited, any implied warranty of merchantability or fitness for a particular purpose, and all other obligations on the part of Elicamex, provided, however, that if the disclaimer of implied warranties is ineffective under applicable law, the duration of any implied warranties arising by operation of law shall be limited to 1 (one) year from the date of original purchase at retail or such longer period as may be required by applicable law.
This warranty does not cover any special, incidental, and/or consequential damages, nor loss of profits, suffered by
the original purchaser, its customers, and/or the users of the Product.
Have your product proof of purchase with the date ready for warranty issues.
Or write to:
Who to contact
To obtain service under warranty or for any service-related questions, please visit the support section on the website below:
www.elica.com.
Have your product proof of purchase with the date ready for warranty issues.





























