LI3V3D/W11374533A
30″ AND 36″ (76.2 CM AND 91.4 CM)
COMMERCIAL STYLE WALL-MOUNT CANOPY
RANGE HOOD
Owner’s Manual
30 Inch Commercial Style Wall Mount Canopy Range Hood
Installation Instructions and Use & Care Guide
For questions about features, operation/performance, parts, accessories, or service in the U.S.A., call: 1-800-JENNAIR (1-800-536-6247) or visit our website at www.jennair.com.
In Canada, call: 1-800-JENNAIR (1-800-536-6247), or visit our website at www.jennair.ca.
IMPORTANT: READ AND SAVE THESE INSTRUCTIONS.
FOR RESIDENTIAL USE ONLY.
RANGE HOOD SAFETY
Your safety and the safety of others are very important.
We have provided many important safety messages in this manual and on your appliance. Always read and obey all safety messages.
This is the safety alert symbol.
This symbol alerts you to potential hazards that can kill or hurt you and others.
All safety messages will follow the safety alert symbol and either the word “DANGER” or “WARNING.”
These words mean:
DANGER
You can be killed or seriously injured if you don’t immediately follow instructions.
WARNING
You can be killed or seriously injured if you don’t follow instructions.
All safety messages will tell you what the potential hazard is, tell you how to reduce the chance of injury, and tell you what can happen if the instructions are not followed.
IMPORTANT SAFETY INSTRUCTIONS
WARNING: TO REDUCE THE RISK OF FIRE, ELECTRIC SHOCK, OR INJURY TO PERSONS, OBSERVE THE FOLLOWING:
- Use this unit only in the manner intended by the manufacturer. If you have questions, contact the manufacturer.
- Before servicing or cleaning unit, switch power off at service panel and lock the service disconnecting means to prevent power from being switched on accidentally. When the service disconnecting means cannot be locked, securely fasten a prominent warning device, such as a tag, to the service panel.
- Installation work and electrical wiring must be done by qualified person(s) in accordance with all applicable codes and standards, including fire-rated construction.
- Do not operate any fan with a damaged cord or plug. Discard fan or return to an authorized service facility for examination and/or repair.
- Sufficient air is needed for proper combustion and exhausting of gases through the flue (chimney) of fuel burning equipment to prevent back drafting. Follow the heating equipment manufacturer’s guideline and safety standards such as those published by the National Fire Protection Association (NFPA), and the American Society for Heating, Refrigeration and Air Conditioning Engineers (ASHRAE), and the local code authorities.
- When cutting or drilling into wall or ceiling, do not damage electrical wiring and other hidden utilities.
- Ducted fans must always be vented to the outdoors.
CAUTION: For General Ventilating Use Only. Do Not Use To Exhaust Hazardous Or Explosive Materials And Vapors.
CAUTION: To reduce risk of fire and to properly exhaust air, be sure to duct air outside -Do not vent exhaust air into spaces within walls or ceilings or into attics,crawl spaces, or garages.
WARNING: TO REDUCE THE RISK OF FIRE, USE ONLY METAL DUCTWORK.
WARNING: TO REDUCE THE RISK OF A RANGE TOP GREASE FIRE: - Never leave surface units unattended at high settings. Boilovers cause smoking and greasy spillovers that may ignite. Heat oils slowly on low or medium settings.
- Always turn hood ON when cooking at high heat or when flambeing food (i.e. Crepes Suzette, Cherries Jubilee, Peppercorn Beef Flambe).
- Clean ventilating fans frequently. Grease should not be allowed to accumulate on fan or filter.
- Use proper pan size. Always use cookware appropriate for the size of the surface element.
WARNING: TO REDUCE THE RISK OF INJURY TO PERSONS IN THE EVENT OF A RANGE TOP GREASE FIRE, OBSERVE THE FOLLOWING’: - SMOTHER FLAMES with a close-fitting lid, cookie sheet, or metal tray, then turn off the burner. BE CAREFUL TO PREVENT BURNS. If the flames do not go out immediately, EVACUATE AND CALL THE FIRE DEPARTMENT.
- NEVER PICK UP A FLAMING PAN – You may be burned.
- DO NOT USE WATER, including wet dishcloths or towels -a violent steam explosion will result.
- Use an extinguisher ONLY if:
— You know you have a Class ABC extinguisher, and you already know how to operate it.
— The fire is small and contained in the area where it started.
— The fire department is being called.
— You can fight the fire with your back to an exit.
Based on “Kitchen Fire Safety Tips” published by NFPA. - WARNING: To Reduce The Risk Of Fire Or Electric Shock, Do Not Use This Fan With Any Solid-State Speed Control Device.
- This appliance is not intended for use by people (including children) whose physical, sensory or mental capacities are different or impaired or who lack the necessary experience or knowledge/expertise to do so, unless such persons are supervised or are trained to operate the appliance by a person who accepts responsibility for their safety.
READ AND SAVE THESE INSTRUCTIONS
INSTALLATION REQUIREMENTS
Tools and Parts
Gather the required tools and parts before starting installation.
Read and follow the instructions provided with any tools listed here.
Tools needed
- Level
- Drill
- Drill with 1¼” (3.0 cm), 3/16″ (4.8 mm), 1/8″ (3.0 mm), and 5/16″ (7.9 mm) drill bits
- Pencil
- Wire stripper or utility knife
- Tape measure or ruler
- Pliers
- Caulking gun and weatherproof caulking compound
- Vent clamps
- Jigsaw or keyhole saw
- Flat-blade screwdriver
- Metal snips
- Phillips screwdriver
- Metric hex key set
Parts needed
- Home power supply cable
- 1/2″ (1.3 cm) UL listed or CSA approved strain relief
- 3 UL listed wire connectors
- 1 wall or roof cap
- Metal vent system
Parts supplied
Remove parts from packages. Check that all parts are included.
- Hood canopy assembly with ventilator and light bulbs installed
- 3¼” x 10″ (8.3 x 25.4 cm) rectangular vent connector
- 2 metal grease filters for 30″ (76.2 cm) model
- 3 metal grease filters for 36″ (91.4 cm) model
- T20® Torx®† adapter
- 4 – 5 x 45 mm mounting screws
- 6 – 4.5 x 13 mm screws
- 3 – 4 x 8 mm screws
- 4 – 10 x 50 wall anchors
Location Requirements
IMPORTANT: Observe all governing codes and ordinances.
Have a qualified technician install the range hood. It is the installer’s responsibility to comply with installation clearances specified on the model/serial rating plate. The model/serial rating plate is located behind the left filter on the rear wall of the vent hood.
Canopy hood location should be away from strong draft areas, such as windows, doors and strong heating vents.
Cabinet opening dimensions that are shown must be used.
Given dimensions provide minimum clearance.
Grounded electrical outlet is required. See “Electrical Requirements” section.
The canopy hood is factory set for venting through the roof or wall.
All openings in ceiling and wall where canopy hood will be installed must be sealed.
For Mobile Home Installations
The installation of this range hood must conform to the Manufactured Home Construction Safety Standards, Title 24 CFR, Part 328 (formerly the Federal Standard for Mobile Home Construction and Safety, Title 24, HUD, Part 280) or when such standard is not applicable, the standard for Manufactured Home Installation 1982 (Manufactured Home Sites, Communities and Setups) ANSI A225.1/NFPA 501A, or latest edition, or with local codes.
Product Dimensions
| Front View | Back View |
![]() | ![]() |
Cabinet Dimensions
A. 76″ (193.0 cm) minimum for installations with canopy only.
B. 88″ (223.5 cm) minimum for installations with optional duct cover.
IMPORTANT:
Minimum distance “X”: 30″ (76.2 cm)
Suggested maximum distance “X”: 36″ (91.4 cm)
Venting Requirements
- Vent system must terminate to the outdoors.
- Do not terminate the vent system in an attic or other enclosed area.
- Do not use a 4″ (10.2 cm) laundry-type wall cap.
- Use metal vent only. Rigid metal vent is recommended.
- The length of vent system and number of elbows should be kept to a minimum to provide efficient performance.
For the most efficient and quiet operation:
- Use no more than three 90° elbows.
- Make sure there is a minimum of 24″ (61.0 cm) of straight vent between the elbows if more than 1 elbow is used.
- Do not install 2 elbows together.
- Use clamps to seal all joints in the vent system.
- The vent system must have a damper. If roof or wall cap has a damper, do not use damper supplied with the range hood.
- Use caulking to seal exterior wall or roof opening around the cap.
- The size of the vent should be uniform.
Cold Weather Installations
An additional back draft damper should be installed to minimize backward cold air flow and a thermal break should be installed to minimize conduction of outside temperatures as part of the vent system. The damper should be on the cold air side of the thermal break.
The break should be as close as possible to where the vent system enters the heated portion of the house.
Makeup Air
Local building codes may require the use of makeup air systems when using ventilation systems greater than specified CFM of air movement. The specified CFM varies from locale to locale. Consult your HVAC professional for specific requirements in your area.
Venting Methods
This canopy hood is factory set for venting through the roof or wall.
A 3¹⁄4″ x 10″ (8.3 x 25.4 cm) rectangular vent system is needed for installation (not included). The hood exhaust opening is 3¹⁄4″ x 10″ (8.3 x 25.4 cm). Vent system can terminate either through the roof or wall. To vent out of the top of the range hood and through a wall, a 90° elbow is needed. See “Install Range Hood” section for details for installing the damper.
NOTE: Flexible vent is not recommended. Flexible vent creates back pressure and air turbulence that greatly reduce performance.
Rear discharge
This range hood can be vented directly out the back using the 3¼” x 10″ (8.3 cm x 25.4 cm) rectangular damper (supplied) along with a 3¼” x 10″ (8.3 cm x 25.4 cm) rectangular vent system (not supplied). See “Install Range Hood” section for details for installing the damper.
| Roof Venting | Wall Venting (top or rear discharge) |
![]() | ![]() |
| A. Roof cap B. 3¹⁄4″ x 10″ (8.3 x 25.4 cm) rectangular metal vent | A. Wall cap B. 3¹⁄4″ x 10″ (8.3 x 25.4 cm) rectangular metal vent |
Calculating Vent System Length
To calculate the length of the system you need, add the equivalent feet (meters) for each vent piece used in the system.
3¹⁄4″ x 10″ (8.3 cm x 25.4 cm) Vent System
Vent Piece
| 3¹⁄4″ x 10″ (8.3 cm x 25.4 cm) 90° elbow | 5.0 ft (1.5 m) | ![]() |
| 3¹⁄4″ x 10″ (8.3 cm x 25.4 cm) flat elbow | 12.0 ft (3.7 m) | ![]() |
| 3¹⁄4″ x 10″ (8.3 cm x 25.4 cm) wall cap | 0.0 ft (0.0 m) | ![]() |
Example vent system
| Maximum Recommended Length | = 35 ft (10.7 m) |
| 1 – 90° elbow | = 5.0 ft (1.5 m) |
| 8 ft (2.4 m) straight | = 8.0 ft (2.4 m) |
| 1 – wall cap | = 0.0 ft (0.0 m) |
| Length of 3¹⁄4″ x 10″ (8.3 cm x 25.4 cm)system | = 13.0 ft (3.9 m) |
Electrical Requirements
Observe all governing codes and ordinances.
Ensure that the electrical installation is adequate and in conformance with National Electrical Code, ANSI/NFPA 70 (latest edition), or CSA Standards C22.1-94, Canadian Electrical Code, Part 1 and C22.2 No. 0-M91 (latest edition) and all local codes and ordinances.
If codes permit and a separate ground wire is used, it is recommended that a qualified electrician determine that the ground path is adequate.
A copy of the above code standards can be obtained from:
National Fire Protection Association
1 Batterymarch Park
Quincy, MA 02169-7471
CSA International
8501 East Pleasant Valley Road
Cleveland, OH 44131-5575
- A 120 V, 60 Hz, AC only, 15 A, fused electrical circuit is required.
- If the house has aluminum wiring, follow the procedure below:
Connect the aluminum wiring using special connectors and/or tools designed and UL listed for joining copper to aluminum. Follow the electrical connector manufacturer’s recommended procedure. Aluminum/copper connection must conform with local codes and industry accepted wiring practices. - Wire sizes and connections must conform with the rating of the appliance as specified on the model/serial/rating plate.
The model/serial/rating plate is located behind the left filter on the rear wall of the range hood. - Wire sizes must conform to the requirements of the National Electrical Code, ANSI/NFPA 70 (latest edition), or CSA Standards C22. 1-94, Canadian Electrical Code, Part 1 and C22.2 No. 0-M91 (latest edition) and all local codes and ordinances.
INSTALLATION INSTRUCTIONS
Prepare Location
- It is recommended that the vent system be installed before the range hood is installed.
- If you are installing an optional backsplash or full width duct cover, follow the instructions included with that product.
- Before making cutouts, make sure there is proper clearance within the ceiling or wall for exhaust vent.
- Check your ceiling height and the hood height maximum before you select your hood.
- Disconnect power.
- Determine which venting method to use: roof, wall, or non-vented.
- Select a flat surface for assembling the range hood. Place covering over that surface.
WARNING
Excessive Weight Hazard
Use two or more people to move and install range hood.
Failure to do so can result in back or other injury. - Using 2 or more people, lift range hood onto covered surface.
NOTE: This range hood can be mounted to the cabinets or to the wall.
For Cabinet Installations
- If cabinet has recessed bottom, add wood filler strips on each side. Install screws to attach filler strips in locations shown.

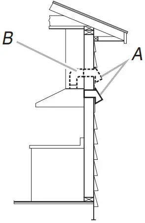
Determine Wiring Hole Location
Cut only one 1¹⁄4″ (3.2 cm) diameter wiring access hole.
See Step 2 for wiring hole location instructions.
- Determine and clearly mark a vertical centerline on the wall and cabinet in the area the vent opening will be made.

- To wire through top:
Mark a line distance “A” from the left of the centerline on the underside of the cabinet. Mark the point on this line that is 7 ⅞” (20.0 cm) from back wall. Drill a 1¼” (3.2 cm) diameter hole through the cabinet at this point.
Cut Openings for 3¼” x 10″ (8.3 cm x 25.4 cm)
Rectangular Vent System
Roof Venting
To make a 3½” x 10½” (8.9 cm x 26.7 cm) rectangular cutout on the underside of cabinet top and bottom:
- Mark lines 3/8″ (1.0 cm) and 3 ⅞” (9.8 cm) from the back wall on the centerline of the underside of cabinet.
- Mark lines 5¼” (13.3 cm) to the right and left of the centerline on the underside of cabinet.
- Use saber or keyhole saw to cut a rectangular opening for vent.
- Repeat steps 1-3 for the underside of the top of the cabinet.
Wall Venting Under Cabinet
To make a 3½” x 10½” (8.9 cm x 26.7 cm) rectangle in the wall:
- Make 2 lines by measuring 3/8″ (9.5 mm) and 3⅞” (9.8 cm) down from underside of cabinet and mark on the centerline on the back wall.
- Mark lines 5¼” (13.3 cm) to the right and left of the centerline on the wall.
Use saber or keyhole saw to cut a rectangular opening in the wall for the vent.
- Lift the range hood up under cabinet and determine final location by centering beneath cabinet. Mark on the underside of cabinet the location of the 4 keyhole mounting slots on the range hood. Set range hood aside on a covered surface.

- Use 1/8″ (3 mm) drill bit and drill 4 pilot holes as shown.

- Install the 4 – 4.5 x 13 mm mounting screws in pilot holes.
Leave about 1/4″ (6.4 cm) space between screw heads and cabinet to slide range hood into place.
For Wall Installations:
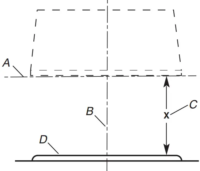
- Determine and mark the centerline on the wall where the canopy hood will be installed.
- Select a mounting height between a minimum of 30″ (76.2 cm) and a suggested maximum of 36″ (91.4 cm) above the range to the bottom of the hood. Mark a reference line on the wall.
- Using 2 or more people, center the hood on the vertical centerline, then align the bottom of the hood with the horizontal reference line marked on the wall.
A. Horizontal reference line
B. Vertical centerline
C. Mounting height
D. Cooking surface - Mark centers of the fastener locations to the wall. Set range hood aside on a covered surface.
IMPORTANT: All screws must be installed into wood. If there is no wood to screw into, additional wall framing supports may be required. - Drill 3/16″ (4.8 mm) pilot holes at all locations where screws are being installed into wood.

- Install the 2 – 5 x 45 mm mounting screws. Leave a 1/4″ (6.4 mm) gap between the wall and the back of the screw head to slide range hood into place.

- Determine and make all necessary cuts in the wall or ceiling for the vent system. Install the vent system before installing the hood. See “Venting Requirements” section.
Complete Preparation
- Determine the required height for the home power supply cable and drill a 1¼” (3.2 cm) hole at this location.
- Run the home power supply cable according to the National Electrical Code or CSA Standards and local codes and ordinances. There must be enough 1/2″ conduit and wires from the fused disconnect (or circuit breaker) box to make the connection in the hood’s electrical terminal box.
NOTE: Do not reconnect power until installation is complete. - Remove terminal box cover and set aside.
- Remove knockout from the top of the vent hood and install a UL listed or CSA approved 1/2″ strain relief.
Install Range Hood
- Remove the grease filters. See the “Range Hood Care” section.
- Depending on your installation, remove either top or rear rectangular vent knockout. If using round vent, remove top rectangular knockout.
Make sure damper pivot is nearest to top/back edge of range hood. - Remove tape from damper flap.
NOTE: The 3¼” x 10″ (8.3 x 25.4 cm) rectangular damper can be installed up to 1″ (2.5 cm) on either side of the hood center to accommodate off center duct work. - Attach the 3¼” x 10″ (8.3 x 25.4 cm) rectangular vent connector to the range hood using sheet metal screws.
A. Top venting
B. Sheet metal screws
C.Hinge pin
D. Vent knockouts
E. Rear venting
NOTE: If the wall cap is directly behind the 3¼” x 10″ (8.3 x 25.4 cm) rectangular vent connector, check that the damper and the wall cap do not interfere with each other. Remove the damper from the 3¼” x 10″ (8.3 x 25.4 cm) rectangular vent connector if they interfere. - Using 2 or more people, lift the hood into final position. Feed enough electrical wire through the ½” UL listed or CSA approved strain relief to make connections in the terminal box. Tighten the strain relief screws.
- Position the range hood so that the large end of the keyhole slots are over the mounting screws. Then, push the hood toward the wall (for cabinet mounting) or allow the range hood to slide down to the marked mounting height (for wall mounting) so that the screws are in the neck of the slots. Tighten the mounting screws, making sure the screws are in the narrow neck of slots. (For wall mount, check that the hood is level).
- Connect ventwork to hood. Seal joints with clamps to make secure and airtight.
- Check that back draft dampers work properly.
Make Electrical Connection
WARNING
Electrical Shock Hazard
Disconnect power before servicing.
Replace all parts and panels before operating.
Failure to do so can result in death or electrical shock.
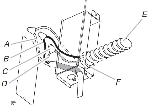
- Disconnect power.
A. White wires
B. Black wires
C. UL listed wire connector
D. Green (or bare) and yellow-green ground wire
E. Home power supply cable
F. UL listed or CSA approved 1/2″ strain relief - Use UL listed wire connectors and connect white wires (A) together.
- Use UL listed wire connectors and connect black wires (B) together.
WARNING
Electrical Shock Hazard
Electrically ground blower.
Connect ground wire to green and yellow ground wire in terminal box.
Failure to do so can result in death or electrical shock. - Connect green (or bare) ground wire from home power supply to yellow-green ground wire (C) in terminal box using UL listed wire connectors.
- Install terminal box cover.
- Check that all light bulbs are secure in their sockets.
- Reconnect power.
Install Vent Covers (Optional)
If you are installing an optional full width duct cover, follow the instructions included with that product.
Complete Installation
- Install metal grease filters. See the “Range Hood Care” section.
- Check the operation of the range hood blower and light. See the “Range Hood Use” section.
NOTE: To get the most efficient use from your new range hood, read the “Range Hood Use” section.
RANGE HOOD USE
The range hood is designed to remove smoke, cooking vapors and odors from the cooktop area. For best results, start the hood before cooking and allow it to operate several minutes after the cooking is complete to clear all smoke and odors from the kitchen.
The hood controls are located on the right-hand underside of the range hood.
A. LED light control
B. Fan control
Range Hood Controls
Operating the lights
- Turn the light switch to the Night position to use the range hood lights as a night light.
- Turn the light switch to the High position to turn the range hood lights On.
- Turn the light switch to the Off position to turn the range hood lights Off.
Operating the blower
- Turn the blower switgh to the first position to turn the range hood on Low.
- Turn the blower switch to the second position to turn the range hood on Medium.
- Turn the blower switch to the third position to turn the range hood on Medium – High.
- Turn the blower switch to the High position to turn the range hood on High.
- Turn the blower switch to the Off position to turn the range hood blower Off.
RANGE HOOD CARE
Cleaning
IMPORTANT: Clean the hood and grease filters frequently according to the following instructions. Replace grease filters before operating hood.
Exterior Surfaces:
To avoid damage to the exterior surface, do not use steel wool or soap-filled scouring pads. Always wipe dry to avoid water marks.
Cleaning Method:
- Liquid detergent soap and water, or all-purpose cleanser
- Wipe with damp soft cloth or nonabrasive sponge, then rinse with clean water and wipe dry.
Metal Grease Filter
To Remove Metal Grease Filters:
- Use 2 hands to remove the metal grease filters. Grasp filter handles, push toward the rear of the range hood and pull down on the front handle to remove.

- Repeat for each grease filter.
- Wash metal grease filters as needed in a dishwasher or hand wash in a hot detergent solution to clean.
To Reinstall Metal Grease Filters:
- Grasp filter handles and place rear of filter into rear track.
- Push down on the rear handle and set the front of the grease filter into the front track to secure.
- Repeat for each filter.
Replacing a LED Lamp
Turn off the range hood and allow the LED lamp to cool. To avoid damage or decreasing the life of the new bulb, do not touch bulb with bare fingers. Replace bulb, using tissue or wearing cotton gloves to handle bulb.
If new lamps do not operate, make sure the lamps are inserted correctly before calling service.
- Disconnect power.
- Push up on the lens and turn it counterclockwise.

- Remove the bulb and replace it with a 120 V, 6.5 watt maximum LED bulb with a GU10 base. Turn it clockwise to lock it into place.
- Repeat steps 2-3 for the other bulb if needed.
- Reconnect power.
WIRING DIAGRAM

ASSISTANCE OR SERVICE
If you need service
Please refer to the warranty page in this manual.
If you need replacement parts
If you need to order replacement parts, we recommend that you use only factory specified parts. Factory specified parts will fit right and work right because they are made with the same precision used to build every new appliance.
To locate factory specified replacement parts in your area, call the following customer assistance telephone number or your nearest designated service center.
In the U.S.A.
Call JennAir Customer eXperience Center toll free: 1-800-JENNAIR (1-800-536-6247) or visit our website at www.jennair.com.
Our consultants provide assistance with:
- Scheduling of service. JennAir® appliances designated service technicians are trained to fulfill the product warranty and provide after-warranty service anywhere in the United States.
- Features and specifications on our full line of appliances.
- Referrals to local JennAir® appliance dealers.
- Installation information.
- Use and maintenance procedures.
- Accessory and repair parts sales.
- Specialized customer assistance (Spanish speaking, hearing impaired, limited vision, etc.).
For further assistance
If you need further assistance, you can write to JennAir® Appliances with any questions or concerns at:
JennAir Brand Home Appliances
Customer eXperience Center
553 Benson Road
Benton Harbor, MI 49022-2692
Please include a daytime phone number in your correspondence.
In Canada
Call the Whirlpool Canada LP Customer eXperience Centre toll free at 1-800-JENNAIR (1-800-536-6247) or visit our website at www.jennair.ca.
Our consultants provide assistance with:
- Scheduling of service. JennAir® appliances designated service technicians are trained to fulfill the product warranty and provide after-warranty service anywhere in Canada.
- Features and specifications on our full line of appliances.
- Referrals to local JennAir® appliance dealers.
- Installation information.
- Use and maintenance procedures.
- Accessory and repair parts sales.
For further assistance
If you need further assistance, you can write to JennAir® Appliances with any questions or concerns at:
JennAir Brand Home Appliances
Customer eXperience Centre
200 – 6750 Century Ave.
Mississauga, Ontario L5N OB7
Please include a daytime phone number in your correspondence.
Accessories
Backsplash with Shelves
Order part number W10285447 for 30″ (76.2 cm) model
Order part number W10285448 for 36″ (91.4 cm) model
Backsplash without Shelves
Order part number 8285148 for 30″ (76.2 cm) model
Order part number 8284756 for 36″ (91.4 cm) model
Full Width Chimney Cover
Order part number EXTKITO2ES for 30″ (76.2 cm) model
Order part number EXTKITO4ES for 36″ (91.4 cm) model
LI3V3D/W11374533A
®/™ ©2019 JennAir. Used under license in Canada.
All rights reserved.
Printed in Mexico













A. Horizontal reference line
IMPORTANT: All screws must be installed into wood. If there is no wood to screw into, additional wall framing supports may be required.

Make sure damper pivot is nearest to top/back edge of range hood.
A. Top venting
A. White wires



















