Whirlpool 30″ AND 36″ Wall‑Mount Canopy Range Hood Owner’s Manual

For questions about features, operation/performance, parts, accessories, or service, call: 1-800-253-1301 or visit our website at www.whirlpool.com.
In Canada, call 1-800-807-6777 or visit our website at www.whirlpool.ca.
IMPORTANT: READ AND SAVE THESE INSTRUCTIONS. FOR RESIDENTIAL USE ONLY.
RANGE HOOD SAFETY
Your safety and the safety of others are very important.We have provided many important safety messages in this manual and on your appliance. Always read and obey all safety messages.
This is the safety alert symbol.This symbol alerts you to potential hazards that can kill or hurt you and others.All safety messages will follow the safety alert symbol and either the word “DANGER” or “WARNING.”These words mean:
DANGER
You can be killed or seriously injured if you don’t immediately follow instructions.
WARNING
You can be killed or seriously injured if you don’t follow instructions.
All safety messages will tell you what the potential hazard is, tell you how to reduce the chance of injury, and tell you what can happen if the instructions are not followed.
IMPORTANT SAFETY INSTRUCTIONS READ
WARNING: TO REDUCE THE RISK OF FIRE, ELECTRIC SHOCK, OR INJURY TO PERSONS, OBSERVE THE FOLLOWING:
- Use this unit only in the manner intended by the manufacturer. If you have questions, contact the manufacturer.
- Before servicing or cleaning the unit, switch power off at service panel and lock the service disconnecting means to prevent power from being switched on accidentally. When the service disconnecting means cannot be locked, securely fasten a prominent warning device, such as a tag, to the service panel.
- Installation work and electrical wiring must be done by qualified person(s) in accordance with all applicable codes and standards, including fire-rated construction.
- Do not operate any fan with a damaged cord or plug. Discard fan or return to an authorized service facility for examination and/or repair.
- Sufficient air is needed for proper combustion and exhausting of gases through the flue (chimney) of fuel burning equipment to prevent backdrafting. Follow the heating equipment manufacturer’s guideline and safety standards such as those published by the National Fire Protection Association (NFPA), the American Society for Heating, Refrigeration and Air Conditioning Engineers (ASHRAE), and the local code authorities.
- When cutting or drilling into wall or ceiling, do not damage electrical wiring and other hidden utilities.
- Ducted fans must always be vented outdoors. CAUTION: For general ventilating use only. Do not use to exhaust hazardous or explosive materials and vapors. CAUTION: To reduce risk of fire and to properly exhaust air, be sure to duct air outside – do not vent exhaust air into spaces within walls or ceilings, attics or into crawl spaces, or garages.
WARNING: TO REDUCE THE RISK OF FIRE, USE ONLY METAL DUCT WORK.
WARNING: TO REDUCE THE RISK OF A RANGE TOP GREASE FIRE:
- Never leave surface units unattended at high settings. Boilovers cause smoking and greasy spillovers that may ignite. Heat oils slowly on low or medium settings.
- Always turn hood ON when cooking at high heat or when flambeing food (i.e. Crepes Suzette, Cherries Jubilee, Peppercorn Beef Flambé).
- Clean ventilating fans frequently. Grease should not be allowed to accumulate on fan or filter.
- Use proper pan size. Always use cookware appropriate for the size of the surface element.
WARNING: TO REDUCE THE RISK OF INJURY TO PERSONS IN THE EVENT OF A RANGE TOP GREASE FIRE, OBSERVE THE FOLLOWING:
- SMOTHER FLAMES with a close fitting lid, cookie sheet, or metal tray, then turn off the burner. BE CAREFUL TO PREVENT BURNS. If the flames do not go out immediately, EVACUATE AND CALL THE FIRE DEPARTMENT.
- NEVER PICK UP A FLAMING PAN – you may be burned.
- DO NOT USE WATER, including wet dishcloths or towels – a violent steam explosion will result.
- Use an extinguisher ONLY if: – You know you have a class ABC extinguisher, and you already know how to operate it. – The fire is small and contained in the area where it started. – The fire department is being called. – You can fight the fire with your back to an exit. Based on “Kitchen Fire Safety Tips” published by NFPA. WARNING: To reduce the risk of fire or electrical shock, do not use this fan with any solid-state speed control device.
READ AND SAVE THESE INSTRUCTIONS
INSTALLATION REQUIREMENTS
Tools and Parts
Gather the required tools and parts before starting installation. Read and follow the instructions provided with any tools listed here.
Tools Needed
- Level
- Drill with 11/4″ (3.2 cm), 1/8″ (3.2 mm), and 5/16″ (7.9 mm) drill bits
- Pencil
- Wire stripper or utility knife
- Tape measure or ruler
- Pliers
- Caulking gun and weatherproof caulking compound
- Vent clamps
- Jigsaw or keyhole saw
- Flat-blade screwdriver
- Metal snips
- Phillips screwdriver
Parts Needed
- Home power supply cable
- 1/2″ (12.7 mm) UL listed or CSA approved strain relief
- Three UL listed wire connectors
For Vented Installations, You Will Also Need:
- One wall or roof cap
- Metal vent system
For Non-Vented (Recirculating) Installations, You Will Also Need:
- Recirculation Kit – See the “Assistance or Service” section to order.
- 6″ (15.2 cm) diameter round metal vent duct – length required is determined by ceiling height.
Parts Supplied
Remove parts from packages. Check that all parts are included.
- Hood canopy assembly with blower, lights ,and canopy glass already installed
- Vent transition with back draft dampers installed
- Metal grease filter
- Vent cover support bracket
- Mounting template
- Two piece vent cover
- Four 4.2 x 8 mm screws
- Six 5 x 45 mm mounting screws
- Two 3.5 x 9.5 mm mounting screws
- Two 8 x 40 mm wall anchors
- Four 10 x 60 mm wall anchors
- Four 5.4 x 75 mm screws (for 10 x 60 mm wall anchors)
- T10 Torx®† adapter
- T20®† Torx® adapter
†®TORX and T20® are registered trademarks of Acument Intellectual Properties, LLC.
Location Requirements
IMPORTANT: Observe all governing codes and ordinances.
Have a qualified technician install the range hood. It is the installer’s responsibility to comply with installation clearances specified on the model/serial/rating plate. The model/serial/rating plate is located behind the left filter on the rear wall of the vent hood.
Canopy hood location should be away from strong draft areas, such as windows, doors and strong heating vents.
Cabinet opening dimensions that are shown must be used. Given dimensions provide minimum clearance.
This range hood is recommended for use with cooktops with a maximum total rating of 65,000 BTUs or less.
Grounded electrical outlet is required. See the “Electrical Requirements” section.
The canopy hood is factory set for venting through the roof or wall. For non-vented (recirculating) installation see “For non-vented (recirculating) installation only” in the “Connect Vent System” section. Recirculation Kit is available from your dealer or an authorized parts distributor. See the “Assistance or Service” section to order.
All openings in ceiling and wall where canopy hood will be installed must be sealed.
For Mobile Home Installations
The installation of this range hood must conform to the Manufactured Home Construction Safety Standards, Title 24 CFR, Part 328 (formerly the Federal Standard for Mobile Home Construction and Safety, Title 24, HUD, Part 280) or when such standard is not applicable, the standard for Manufactured Home Installation 1982 (Manufactured Home Sites, Communities and Setups) ANSI A225.1/NFPA 501A, or latest edition, or with local codes.
Product Dimensions


* For non-vented (recirculating) installations
** For vented installations
Cabinet Dimensions

* For non-vented (recirculating) installations
IMPORTANT:
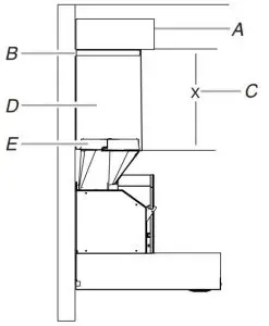
Minimum distance “X”: 24″ (61 cm) from electric cooking surface
Minimum distance “X”: 27″ (68.6 cm) from gas cooking surface
Suggested maximum distance “X”: 36″ (91.4 cm)
The chimneys can be adjusted for different ceiling heights. See the following chart.

NOTE: The range hood chimneys are adjustable and designed to meet varying ceiling or soffit heights depending on the distance “X” between the bottom of the range hood and the cooking surface. For higher ceilings, a Chimney Extension Kit is available from your dealer or an authorized parts distributor. The chimney extension replaces the upper chimney shipped with the range hood. See the “Assistance or Service” section to order.
Venting Requirements
(vented models only)
- Vent system must terminate to the outdoors except for non-vented (recirculating) installations.
- Do not terminate the vent system in an attic or other enclosed area.
- Do not use 4″ (10.2 cm) laundry-type wall cap.
- Use metal vent only. Rigid metal vent is recommended. Plastic or metal foil vent is not recommended.
- The length of vent system and number of elbows should be kept to a minimum to provide efficient performance.
For the Most Efficient and Quiet Operation:
- Use no more than three 90° elbows.
- Make sure there is a minimum of 24″ (61 cm) of straight vent between the elbows if more than one elbow is used.
- Do not install two elbows together.
- Use clamps to seal all joints in the vent system.
- The vent system must have a damper. If the roof or wall cap has a damper, do not use the damper supplied with the range hood.
- Use caulking to seal exterior wall or roof opening around the cap.
- The size of the vent should be uniform.
Cold Weather Installations
An additional back draft damper should be installed to minimize backward cold air flow and a thermal break should be installed to minimize conduction of outside temperatures as part of the vent system. The damper should be on the cold air side of the thermal break.
The break should be as close as possible to where the vent system enters the heated portion of the house.
Makeup Air
Local building codes may require the use of makeup air systems when using ventilation systems greater than specified CFM of air movement. The specified CFM varies from locale to locale. Consult your HVAC professional for specific requirements in your area.
Venting Methods
This canopy hood is factory set for venting through the roof or wall.
A 6″ (15.2 cm) round vent system is needed for installation (not included). The hood exhaust opening is 6″ (15.2 cm) round.
NOTE: Flexible vent is not recommended. Flexible vent creates back pressure and air turbulence that greatly reduce performance.
Vent system can terminate either through the roof or wall. To vent through a wall, a 90° elbow is needed.
Rear Discharge
A 90° elbow may be installed immediately above the hood.
For Non-Vented (Recirculating) Installations
If it is not possible to vent cooking fumes and vapors to the outside, the hood can be used in the non-vented (recirculating) version, fitting a charcoal filter and the deflector. Fumes and vapors are recycled through the top grille.

Calculating Vent System Length
To calculate the length of the system you need, add the equivalent feet (meters) for each vent piece used in the system.

Example Vent System

Electrical Requirements
Observe all governing codes and ordinances.
Ensure that the electrical installation is adequate and in conformance with National Electrical Code, ANSI/NFPA 70 (latest edition), or CSA Standards C22.1-94, Canadian Electrical Code, Part 1 and C22.2 No. 0-M91 (latest edition) and all local codes and ordinances.
If codes permit and a separate ground wire is used, it is recommended that a qualified electrician determine that the ground path is adequate.
A copy of the above code standards can be obtained from:
National Fire Protection Association
1 Batterymarch Park
Quincy, MA 02169-7471
CSA International
8501 East Pleasant Valley Road
Cleveland, OH 44131-5575
- A 120 V, 60 Hz, AC only, 15 A, fused electrical circuit is required.
- If the house has aluminum wiring, follow the procedure below:
Connect the aluminum wiring using special connectors and/or tools designed and UL listed for joining copper to aluminum.
Follow the electrical connector manufacturer’s recommended procedure. Aluminum/copper connection must conform with local codes and industry accepted wiring practices. - Wire sizes and connections must conform with the rating of the appliance as specified on the model/serial/rating plate. The model/serial/rating plate is located behind the left filter on the rear wall of the range hood.
- Wire sizes must conform to the requirements of the National Electrical Code, ANSI/NFPA 70 (latest edition), or CSA Standards C22. 1-94, Canadian Electrical Code, Part 1 and C22.2 No. 0-M91 (latest edition) and all local codes and ordinances.
INSTALLATION INSTRUCTIONS
Prepare Location
- It is recommended that the vent system be installed before hood is installed.
- Before making cutouts, make sure there is proper clearance within the ceiling or wall for exhaust vent.
- Check your ceiling height and the hood height maximum before you select your hood.
- Disconnect power.
- Determine which venting method to use: roof, wall, or non-vented.
- Select a flat surface for assembling the range hood. Place covering over that surface.

- Using two or more people, lift range hood onto covered surface.
Range Hood Mounting Screws Installation
- Determine and mark the centerline on the wall where the canopy hood will be installed.
- Select a mounting height between a minimum of 24″ (61 cm) for an electric cooking surface, a minimum of 27″ (68.6 cm) for a gas cooking surface, and a suggested maximum of 36″ (91.4 cm) above the range to the bottom of the hood. Mark a reference line on the wall.
- Tape template in place, aligning the template centerline and bottom of template with hood bottom line and with the centerline marked on the wall.

- Mark centers of the fastener locations through the template to the wall.
IMPORTANT: All canopy mounting screws must be installed into wood where possible. If there is no wood to screw into, additional wall framing supports may be required, or use the (4) 10 x 60 mm wall anchors and 5.4 x 75 mm screws.
Remove the template. - For wood, drill 3/16″ (4.8 mm) pilot holes at all locations where screws are being installed into wood. For wall anchors, drill 7/16″ (10 mm) holes at all locations where wall anchors are being used.
- For wood, install (2) 5 x 45 mm mounting screws. Leave a 1/4″ (6.4 mm) gap between the wall and the back of the screw head to slide range hood into place.
For wall anchors, install the 10 x 60 mm wall anchors and install the 5.4 x 75 mm screws into the wall anchors. Tighten until the wall anchors are secure. Back the screws out 1/4″ (6.4 mm).

Vent Cover Bracket Installation
7. Attach vent cover bracket to wall flush to the ceiling using (2) 5 x 45 mm screws. Use the optional wall anchors if needed.

Complete Preparation
- Determine and make all necessary cuts in the wall for the vent system. Install the vent system before installing the hood. See “Venting Requirements” section.
- Determine the required height for the home power supply cable and drill a 11/4″ (3.2 cm) hole at this location.
- Run the home power supply cable according to the National Electrical Code or CSA Standards and local codes and ordinances. There must be enough 1/2″ (12.7 mm) conduit and wires from the fused disconnect (or circuit breaker) box to make the connection in the hood’s electrical terminal box.
NOTE: Do not reconnect power until installation is complete. - Use caulk to seal all openings.
Install In-Line Smart Kit—Optional
NOTE: Your range hood can work with either an internal or an inline (external) blower motor system. An optional In-Line Smart Kit (purchased separately) allows the blower motor that comes with this range hood to be installed in a location other than inside the range hood cavity.
CAUTION: To reduce the risk of fire and electric shock, install this range hood only with the In-Line Smart Kit manufactured by Whirlpool. See the “Assistance or Service” section to order.
For installation see the In-Line Smart Kit installation instructions. See the “Assistance or Service” section to order.
Install Range Hood
- Using two or more people, hang range hood on two mounting screws through the mounting slots on back of hood.

- Remove the grease filter. See “Range Hood Care” section.
- Level the range hood and tighten upper mounting screws.
- Install (2) 5 x 45 mm lower mounting screws and tighten. Use the optional wall anchors if needed.
Connect Vent System
- Install transition on top of hood (if removed for shipping) with (2) 3.5 x 9.5 mm sheet metal screws.

For vented installations only:
- Fit vent system over the exhaust outlet.
- Seal connection with clamps.
- Check that back draft dampers work properly.
For non-vented (recirculating) installation only:
- Assemble the air deflector with the duct cover bracket using (4) 4.2 x 8 mm screws.

- Measure from the bottom of the air deflector to the bottom of the hood outlet.
A. Air deflector
B. Vent clamp
C. X = length to cut vent duct
D. Vent duct
E. Exhaust outlet - Cut the duct to the measured size “X”.
- Remove the air deflector.
- Slide the duct onto the bottom of the air deflector.
- Place the assembled air deflector and duct over the exhaust outlet from the hood.
- Reassemble the air deflector to the duct cover bracket with the four assembly screws.
- Seal connections with vent clamps.
Make Electrical Connection

- Disconnect power.
- Remove terminal box cover.
- Remove the knockout in the terminal box and install a UL listed or CSA approved 1/2″ (12.7 mm) strain relief.

- Run home power supply cable through strain relief into terminal box.

- Use UL Listed wire connectors and connect black wires (C) together.
- Use UL Listed wire connectors and connect white wires (E) together.

- Connect green (or bare) ground wire from home power supply to yellow-green ground wire (F) in terminal box using UL listed wire connectors.
- Tighten strain relief screw.
- Install terminal box cover.
- Check that all light bulbs are secure in their sockets.
- Reconnect power.
Optional Power Cord Kit Installations
For optional power cord kit installations, follow the instructions supplied with the power cord kit. See the “Assistance or Service” section for information on ordering.
NOTE: Use only with range hood cord connection kits that have been investigated and found acceptable for use with this model range hood.
Install Vent Covers
- When using both upper and lower vent covers, push lower cover down onto hood and lift upper cover to ceiling and install with two 4.2 x 8 mm screws.
NOTE: For vented installations, the upper vent cover may be reversed to hide slots. - Secure the bottom of the duct with (2) 4.2 x 8 mm screws.

Complete Installation
- For non-vented (recirculating) installations only, install charcoal filters over metal grease filter. See the “Range Hood Care” section.
- Install metal filters. See the “Range Hood Care” section.
- Check the operation of the range hood blower and light. See the “Range Hood Use” section.
NOTE: To get the most efficient use from your new range hood, read the “Range Hood Use” section.
RANGE HOOD USE
The range hood is designed to remove smoke, cooking vapors and odors from the cooktop area. For best results, start the hood before cooking and allow it to operate several minutes after the cooking is complete to clear all smoke and odors from the kitchen.
The hood controls are located on the front side of the canopy.

Range Hood Controls

Operating the LED task light
The On/Off light button controls both lights. Press once for on and again for off.
Operating the blower
The Blower Speed buttons turn the blower on and control the blower speed and sound level for quiet operation. The speed can be changed anytime during fan operation by pressing the desired Blower Speed button.
The Blower Off button turns the blower off.
Operating the Ambient Lighting
The switch controls the ambient lighting.

- Press to the left to turn Auto On.
- Press to the right to turn Ambient Lighting On.
- Press to the center to turn Ambient Lighting or Auto Off.
NOTE: When the Ambient Lighting is placed in the Auto setting, a sensor will automatically sense if it is dark in the area around the range hood. The Ambient Lighting will turn on and stay on until it senses there is enough light in the area around the range hood, or the Ambient Lighting switch is placed in the On or Off position.
RANGE HOOD CARE
IMPORTANT: Clean the hood and grease filters frequently according to the following instructions. Replace grease filters before operating hood.
Exterior Surfaces
To avoid damage to the exterior surface, do not use steel wool or soap-filled scouring pads.
Always wipe dry to avoid water marks.
Cleaning Method:
- Liquid detergent soap and water, or all-purpose cleanser.
- Wipe with damp soft cloth or nonabrasive sponge, and then rinse with clean water and wipe dry.
Metal Grease Filter
- Open the stainless steel panel. Grasp panel at the left corners and pull down to disengage the two catch pins from the spring catches. The panel is attached at the right and will rotate down.

- Remove the filter by pulling the spring release handle and then pulling down the filter.

- Wash metal filter as needed in dishwasher or hot detergent solution.
- Reinstall the filter by making sure the spring release handles are toward the front. Insert aluminum filter into upper track.
- Push in spring release handle.
- Push up on metal filter and release handle to latch into place.
Non-Vented (recirculating) Installation Filters
The charcoal filter is not washable. It should last up to 6 months with normal use. Replace with Charcoal Filter Kit. See the “Assistance or Service” section for information on ordering.
To replace charcoal filter:
- Remove metal grease filter from range hood. See “Metal Grease Filter” in this section.
- Bend spring clips away from metal grease filter.

- Place charcoal filter into top side of metal filter.
- Bend spring clips back into place to secure the charcoal filter to the metal filter.

- Replace metal grease filter. See “Metal Grease Filter” in this section.
NOTE: To reduce the risk of fire and shock when used for recirculation, use conversion kit:
- Charcoal Filter Kit W10412939
- Recirculation Kit W10294733
Replacing an LED Lamp
The LED lights are replaceable by a service technician only. See “Assistance and Service” section for service contact information.
WIRING DIAGRAM

ASSISTANCE OR SERVICE
If you need service
Please refer to the warranty.
If you need replacement parts
If you need to order replacement parts, we recommend that you use only factory specified parts. Factory specified parts will fit right and work right because they are made with the same precision used to build every new appliance.
To locate factory specified replacement parts in your area, call the following customer assistance telephone number or your nearest designated service center.
In the U.S.A.
Call the Whirlpool Customer eXperience Center toll free:
1-800-253-1301 or visit our website at www.whirlpool.com.
Our consultants provide assistance with:
- Scheduling of service. Whirlpool designated service technicians are trained to fulfill the product warranty and provide after-warranty service anywhere in the United States.
- Features and specifications on our full line of appliances.
- Referrals to local dealers.
- Installation information.
- Use and maintenance procedures.
- Accessory and repair parts sales.
- Specialized customer assistance (Spanish speaking, hearing impaired, limited vision, etc.).
For further assistance
If you need further assistance, you can write to Whirlpool
Corporation with any questions or concerns at:
Whirlpool Brand Home Appliances
Customer eXperience Center
553 Benson Road
Benton Harbor, MI 49022-2692
Please include a daytime phone number in your correspondence.
In Canada
Call the Whirlpool Canada Customer eXperience Centre toll free:
1-800-807-6777, or visit our website at www.whirlpool.ca.
Our Consultants Provide Assistance With:
- Scheduling of Service. Whirlpool designated service technicians are trained to fulfill the product warranty and provide after-warranty service anywhere in Canada.
- Features and specifications on our full line of appliances.
- Referrals to local dealers.
- Use and maintenance procedures.
- Accessory and repair parts sales.
For Further Assistance
If you need further assistance, you can write to Whirlpool
Canada with any questions or concerns at:
Whirlpool Brand Home Appliances
Customer eXperience Centre
200 – 6750 Century Ave.
Mississauga, Ontario L5N 0B7
Please include a daytime phone number in your correspondence.
Accessories
Recirculation Kit
(for non-vented installations only)
Order Part Number W10294733
Charcoal Filter Kit
(for non-vented installations only)
Order Part Number W10412939
Chimney Extension Kit (Stainless Steel)
Order Part Number EXTKIT10ES
Chimney Extension Kit (Sunset Bronze)
Order Part Number EXTKIT10HN
Power Cord Kit
Order Part Number W10613691
In-Line Smart Kit
Order part Number W10692945
®/™ ©2020 Whirlpool. All rights reserved. Used under license in Canada.
Read More About This Manual & Download PDF:





A. Air deflector


NOTE: For vented installations, the upper vent cover may be reversed to hide slots.





















