Whirlpool UXT3030AD 30-Inch 76.2 cm Range Hood
RANGE HOOD SAFETY
Your safety and the safety of others are very important.
We have provided many important safety messages in this manual and on your appliance. Always read and obey all safety messages.
- This is the safety alert symbol.
- This symbol alerts you to potential hazards that can kill or hurt you and others.
- All safety messages will follow the safety alert symbol and either the word “DANGER” or “WARNING.” These words mean:
DANGER SAFETY
You can be killed or seriously injured if you don’t immediately follow instructions.
WARNING
You can be killed or seriously injured if you don’t follow instructions.
All safety messages will tell you what the potential hazard is, tell you how to reduce the chance of injury, and tell you what can happen if the instructions are not followed.
IMPORTANT SAFETY INSTRUCTIONS
WARNING:
TO REDUCE THE RISK OF FIRE, ELECTRIC SHOCK, OR INJURY TO PERSONS, OBSERVE THE FOLLOWING:
- Use this unit only in the manner intended by the manufacturer. If you have questions, contact the manufacturer.
- Before servicing or cleaning unit, switch power off at service panel and lock the service disconnecting means to prevent power from being switched on accidentally. When
the service disconnecting means cannot be locked, securely fasten a prominent warning device, such as a tag, to the service panel. - Installation work and electrical wiring must be done by qualified person(s) in accordance with all applicable codes and standards, including fire-rated construction.
- Do not operate any fan with a damaged cord or plug. Discard fan or return to an authorized service facility for examination and/or repair.
- Sufficient air is needed for proper combustion and exhausting of gases through the flue (chimney) of fuel burning equipment to prevent back drafting. Follow the heating equipment manufacturer’s guideline and safety standards such as those published by the National Fire Protection Association (NFPA), and the American Society for Heating, Refrigeration and Air Conditioning Engineers (ASHRAE), and the local code authorities.
- When cutting or drilling into wall or ceiling, do not damage electrical wiring and other hidden utilities.
- Ducted fans must always be vented to the outdoors.
CAUTION:
For General Ventilating Use Only. Do Not Use To Exhaust Hazardous Or Explosive Materials And Vapors.
- To reduce risk of fire and to properly exhaust air, be sure to duct air outside -Do not vent exhaust air into spaces within walls or ceilings or into attics, crawl spaces, or garages.
WARNING:
TO REDUCE THE RISK OF FIRE, USE ONLY METAL DUCTWORK
- TO REDUCE THE RISK OF A RANGE TOP GREASE FIRE:
- Never leave surface units unattended at high settings. Boilovers cause smoking and greasy spillovers that may ignite. Heat oils slowly on low or medium settings.
- Always turn hood ON when cooking at high heat or when flaming food (i.e. Crepes Suzette, Cherries Jubilee, Peppercorn Beef Flambe).
- Clean ventilating fans frequently. Grease should not be allowed to accumulate on fan or filter.
- Use proper pan size. Always use cookware appropriate for the size of the surface element.
WARNING:
TO REDUCE THE RISK OF INJURY TO PERSONS IN THE EVENT OF A RANGE TOP GREASE FIRE, OBSERVE THE FOLLOWING”:
- SMOTHER FLAMES with a close-fitting lid, cookie sheet, or metal tray, then turn off the burner. BE CAREFUL TO PREVENT BURNS. If the flames do not go out immediately, EVACUATE AND CALL THE FIRE\ DEPARTMENT.
- NEVER PICK UP A FLAMING PAN – You may be burned.
- DO NOT USE WATER, including wet dishcloths or towels – a violent steam explosion will result.
- Use an extinguisher ONLY if:
- You know you have a Class ABC extinguisher, and you already know how to operate it.
- The fire is small and contained in the area where it started.
- The fire department is being called.
- You can fight the fire with your back to an exit.
Based on “Kitchen Fire Safety Tips” published by NFPA.
WARNING:
To Reduce The Risk Of Fire Or Electric Shock, Do Not Use This Fan With Any Solid-State Speed Control Device.
- This appliance is not intended for use by persons (including children) with reduced physical, sensory or mental capabilities, or lack of experience and knowledge, unless they have been given supervision or instruction concerning use of the appliance by a person responsible for their safety.
INSTALLATION REQUIREMENTS
Tools and Parts
Gather the required tools and parts before starting installation. Read and follow the instructions provided with any tools listed here.
Tools needed
Metal snips ![]() | Wire stripper![]() |
#2 Phillips screwdriver![]() | Flat-blade screwdriver![]() |
Pencil![]() | Drill with 1/8″ (3 mm), 1/2″![]() (13 mm) and 1¹⁄₄” (3 cm) bits |
Caulking gun and weatherproof caulking compound ![]() | |
Jigsaw or keyhole saw![]() | |
- Parts supplied
Remove parts from package. Check that all parts are included.
#8-18 x 1″ (4.2 x 25 mm) flat-head screws | #8-18 x 5/8″ (4.2 x 16 mm) truss-head screws |
Drywall anchors![]() | Mouting brackets![]() |
3¹⁄₄” x 10″ (8.3 x 25.4 cm) rectangular damper ![]() | |
Parts needed
For 31/4″ x 10″ (8.3 x 25.4 cm) rectangular vented installations
Optional accessories
| Power | Stainless steel cleaner |
cord kit ![]() | and polish![]() |
| Part Number W10355452* | Part Number 31462A* |
- For information on ordering, see the “Assistance or Service” section.
Location Requirements
IMPORTANT:
Observe all governing codes and ordinances.
- It is the installer’s responsibility to comply with installation clearances specified on the model/serial/rating plate. The model/serial/rating plate is located inside the range hood on the left wall.
- Range hood location should be away from strong draft areas, such as windows, doors, and strong heating vents.
- Cabinet opening dimensions that are shown must be used. Given dimensions provide minimum clearance. Consult the cooktop/range manufacturer installation instructions before making any cutouts.
- This range hood is recommended for use with cooktops with a maximum total rating of 40,000 BTUs or less.
- Grounded electrical outlet is required. See “Electrical Requirements” section.
- All openings in ceiling and wall where range hood will be installed must be sealed.
- These range hoods are factory set for vented installations. Models that are capable of being installed as non-vented (recirculating) require charcoal filters. See the “Assistance or Service” section for information on ordering charcoal filters.
For Mobile Home Installations
The installation of this range hood must conform to the Manufactured Home Construction Safety Standards, Title 24 CFR, Part 328 (formerly the Federal Standard for Mobile Home Construction and Safety, title 24, HUD, Part 280), or when such standard is not applicable, the standard for Manufactured Home Installation 1982 (Manufactured Home Sites, Communities and Setups) ANSI A225.1/NFPA 501A or latest edition, or with local codes.
Product Dimensions
Installation Clearances

- A. 24″ (61 cm) minimum distance from electric cooking surface 24″ (61 cm) minimum distance from gas cooking surface 30″ (76.2 cm) suggested maximum above the cooking surface
- B. 18″ (45.7 cm) minimum clearance – upper cabinet to countertop
- C. 30″ (76.2 cm) minimum cabinet opening width
- D. 12″ (30.5 cm) cabinet depth
- E. 36″ (91.4 cm) base cabinet height
Venting System
Venting Methods
NOTES:
- Flexible vent is not recommended. Flexible vent creates both back pressure and air turbulence that greatly reduce performance.
- The vent system is optional for this model.
Vent system can terminate either through the roof or wall. Use 31/4″ x 10″ (8.3 x 25.4 cm) rectangular with a maximum vent length of 35 ft (10.7 m).
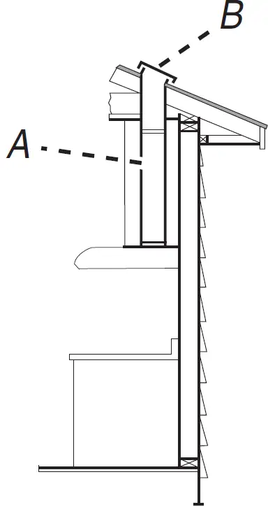
Top Venting
- A. 31/4″ x 10″ (8.3 x 25.4 cm) rectangular vent through the roof (purchased separately)
- B. Roof cap with damper (purchased separately)
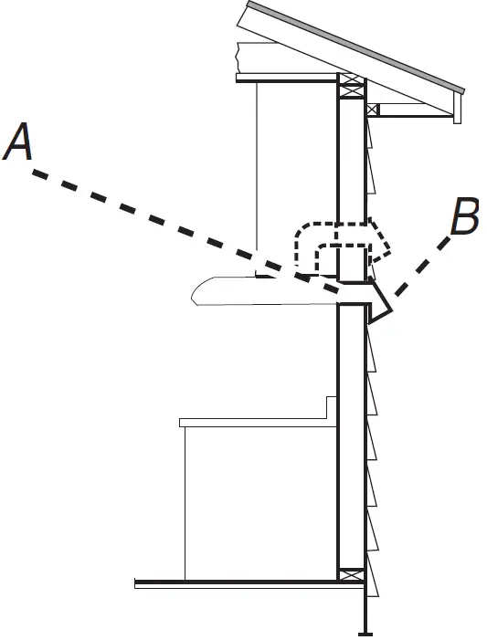
Wall Venting

- A. 31/4″ x 10″ (8.3 x 25.4 cm) rectangular vent through the wall or out the top (purchased separately)
- B. Wall cap with damper (purchased separately)
Cold Weather Installations
An additional backdraft damper should be installed to minimize backward cold air flow and a thermal break should be installed to minimize conduction of outside temperatures as part of the vent system. The damper should be on the cold air side of the thermal break. The break should be as close as possible to where the vent system enters the heated portion of the house.
Makeup Air
Local building codes may require the use of makeup air systems when using ventilation systems greater than specified CFM of air movement. The specified CFM varies from locale to locale. Consult your HVAC professional for specific requirements in your area.
Venting Requirements
- Vent system must terminate to the outdoors.
- Do not terminate the vent system in an attic or other enclosed area.
- Do not use a 4″ (10.2 cm) laundry-type wall cap.
- Use 31/4″ x 10″ (8.3 x 25.4 cm) rectangular metal vent, depending on your installation requirement. Rigid metal vent is recommended. Plastic or metal foil vent is not recommended.
- The length of vent system and number of elbows should be kept to a minimum to provide efficient performance.
For the most efficient and quiet operation:
- Use no more than three 90° elbows.
- Make sure there is a minimum of 24″ (61 cm) of straight vent between the elbows if more than 1 elbow is used.
- Do not install 2 elbows together.
- Use clamps or duct tape to seal all joints in the vent system.
- The vent system must have a damper. If roof or wall cap has a damper, do not use damper supplied with the range hood.
- Use caulking to seal exterior wall or roof opening around the cap.
Calculating Vent System Length
Vent System
| Vent Piece | |
| 90° elbow | 5 ft (1.5 m) ![]() |
| 31/4″ x 10″ (8.3 cm x 25.4 cm) flat elbow | 12 ft (3.7 m)![]() |
| 7″ (17.8 cm) wall cap | 0 ft (0 m)![]() |
| 31/4″ x 10″ (8.3 cm x 25.4 cm) to 7″ (17.8 cm) | 4.5 ft (1.4 m)![]() |
| 31/4″ x 10″ (8.3 cm x 25.4 cm) to 7″ (17.8 cm) 90° elbow | 5 ft (1.5 m)![]() |
Example vent system
- 1 – 90° elbow = 5 ft (1.5 m)
- 1 – wall cap = 0 ft (0 m)
- 8 ft (2.4 m) straight = 8 ft (2.4 m)
- System length = 13 ft (3.9 m)
Maximum Recommended Length
- 31/4″ x 10″ (8.3 x 25.4 cm) Rectangular Vent = 35 ft (10.7 m)
Electrical Requirements
Observe all governing codes and ordinances. Ensure that the electrical installation is adequate and in conformance with National Electrical Code, ANSI/NFPA 70 (latest edition) or CSA Standards C22.1-94, Canadian Electrical Code, Part 1 and C22.2 No. 0-M91 (latest edition), and all local codes and ordinances. If codes permit and a separate ground wire is used, it is recommended that a qualified electrician determine that the ground path is adequate. A copy of the above code standards can be obtained from:
National Fire Protection Association 1 Batterymarch Park
Quincy, MA 02169-7471
CSA International
8501 East Pleasant Valley Road Cleveland, OH 44131-5575
- A 120 V, 60 Hz, AC only, 15 A, fused electrical circuit is required.
- If the house has aluminum wiring, follow the procedure below:
Connect the aluminum wiring using special connectors and/or tools designed and UL listed for joining copper to aluminum. Follow the electrical connector manufacturer’s recommended procedure. Aluminum/copper connection must conform with local codes and industry accepted wiring practices.
- Wire sizes and connections must conform with the rating of the appliance as specified on the model/serial/rating plate. The model/serial/rating plate is located inside the range hood on the left wall.
- Wire sizes must conform to the requirements of the National Electrical Code, ANSI/NFPA 70 (latest edition) or CSA Standards C22. 1-94, Canadian Electrical Code, Part 1 and C22.2 No. 0-M91 (latest edition), and all local codes and ordinances.
INSTALLATION INSTRUCTIONS
NOTES:
- Depending on your model, determine which venting method to use: roof or wall.
- It is recommended that the vent system be installed before the range hood is installed. Go to “Venting System” in the “Installation Requirements” section if you need assistance.
- Before making cutouts, make sure there is proper clearance within the ceiling or wall for the vent system.
- Disconnect power
WARNING
Electrical Shock Hazard
Disconnect power before servicing. Replace all parts and panels before operating. Failure to do so can result in death or electrical shock. - Mark hole locations
Align the exterior edge of the mounting brackets with the exterior edges of the upper cabinet.
IMPORTANT:
The brackets should touch the upper cabinet. With a pencil, mark the upper holes on the brackets. - Install brackets

- Using a #2 Phillips screwdriver, install the drywall anchors.
- Using #8-18 x 1″ (4.2 x 25 mm) flat-head #2 Phillips screws, install the mounting brackets using the upper holes.
NOTE:
For installations to a surface other than drywall, it is recommended that a qualified contractor determine the anchoring method.
- Prepare Range Hood

- Set the range hood on its back on a covered surface.
- Using a #2 Phillips screwdriver, remove the rectangular damper attached with 3.5 x 9.5 mm screws.
- Using a #2 Phillips screwdriver, remove the electrical box cover.
- Using a flat-blade screwdriver, remove the appropriate power supply knockout.
- Mark hole locations
Lift the range hood into place and insert the mounting bracket tabs through the slots in the back of the range hood.
Hold the range hood firmly in place with one hand and bend each mounting tab (A) upward approximately 90°.
OPTIONAL:
Mark the hole in each mounting tab. Mark the hole at the power supply knockout (B).
For a top vented installation: Mark the 4 vent hole locations (C) on the top of the range hood.
For a rear vented installation: Mark the 4 vent hole locations (D) on the rear of the range hood.
OPTIONAL: Mark the hole in each mounting tab. Remove the range hood and set it aside. - Mark and cut vent opening
31/4″ x 10″ (8.3 x 25.4 cm) Rectangular Vent System
- Using a 1/2″ (13 mm) drill bit, drill a hole in each of the dots marked previously on either the wall or upper cabinet. Using the outside edges of the holes, mark the vent opening.
- Using a jigsaw or keyhole saw, cut the vent opening.
- Drill electrical opening
Using a 11/4″ (3 cm) drill bit, drill the hole in the dot marked previously at the electrical strain relief.
OPTIONAL: Using a 1/8″ (3 mm) drill bit, drill pilot holes for the dots marked previously at each mounting tab at an approximate 45° angle in an upward direction. - Prepare Range Hood Vents and Mounting Tabs

- Install Strain Relief
Install a UL listed/CSA approved 1/2″ (13 mm) strain relief (A). - Mounting Tabs
Start a #8-18 x 5/8″ (4.2 x 1.6 cm) truss-head screw into the mounting tab (D) on each side of the range hood as shown in the inset. Insert the screws approximately
2 turns into the mounting tab holes. - 31/4″ x 10″ (8.3 x 25.4 cm) Rectangular Vent Installations
For top vent installations, remove the top rectangular vent knockout (C).
OR
For wall vent installations, remove the rear rectangular vent knockout (B).
- Install Strain Relief
- Attach Vent Damper or Transition
31/4″ x 10″ (8.3 x 25.4 cm) Rectangular Vent Damper
Using (2) short Phillips head screws, install the 31/4″ x 10″ (8.3 x 25.4 cm) rectangular damper over the top or rear vent knockout removed in Step 8.
NOTE:
If the wall cap used has a damper and it interferes with the rectangular damper, remove the rectangular damper flap. - Mount Range Hood

- Lift the range hood into place, positioning the rear slots over the mounting brackets.
- Using a Phillips screwdriver, push on the screws that are started into the top mounting tabs and bend the tabs against the cabinet side walls. Attach the screws to the cabinet side walls.
IMPORTANT:
Do not overtighten the screws. - For direct wire installations, run the home power supply cable according to the National Electric Code or CSA standards and local codes and ordinances. There must be enough wiring from the fused disconnect (or circuit breaker) box to make the connection in the range hood electrical terminal box.
- Tighten the strain relief screws.
NOTE:
Do not reconnect power until the installation is complete.
OPTIONAL:
If you prefer, bend the rear tabs against the rear of the range hood and attach to the wall using #8-18 x 5/8″ (4.2 x 16 mm) truss-head screws.
- Connect Vent System
- Connect the vent work to the range hood.
- Seal joints with vent clamps or duct tape to make secure and airtight.
- Check that the backdraft dampers work properly.
- Make electrical connection
Option 1 – Direct Wire Installations- Use a UL listed/CSA approved wire connector and connect the 3 white wires (A) together.
- Use a UL listed/CSA approved wire connector and connect the 2 black wires (B) together.
WARNING
Fire Hazard
Electrically ground the blower. Use copper wire. Connect ground wire to green ground screw in terminal box. Failure to do so can result in death, fire, or electrical shock. - Connect the green (or bare) ground wire (C) from the power supply to the green ground screw in the electrical box and tighten the screw securely. Reinstall the electrical box cover. Reconnect power.
Option 2 – Power Cord Kit Installations
For optional power cord kit installations, follow the instructions supplied with the power cord kit. See the “Assistance or Service” section for information on ordering.
NOTE:
Use only with range hood cord connection kits that have been investigated and found acceptable for use with this model range hood.
- Complete the installation
- Install a 120 V, 75 W maximum, light bulb with E26 base. See “Replacing the Light Bulb” in the “Range Hood Care” section.
- If removed previously, replace the filter. See “Metal Grease Filter” in the “Range Hood Care” section. For vented installations: Install a metal filter.
- Check the operation of the range hood fan and light. See the “Range Hood Use” section.
If the range hood does not operate, check to see whether a circuit breaker has tripped or a household fuse has blown. Disconnect the power and check the wiring connections.
NOTE:
To get the most efficient use from your new range hood, read the “Range Hood Use” section.
RANGE HOOD USE
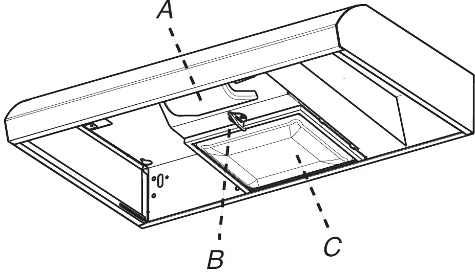
The range hood is designed to remove smoke, cooking vapors, and odors from the cooktop area. For best results, start the hood before cooking and allow it to operate several minutes after the cooking is complete to clear all smoke and odors from the kitchen. The hood controls are located on the front panel of the range hood.
- A. Light housing and cover
- B. Grease filter retainer
- C. Grease filter
Range Hood Controls

- A. On/Off light switch
- B. Fan speed switch
Operating the light
Press the light switch to the left to turn the light On. Press the light switch to the right to turn the light Off.
IMPORTANT:
Flicker and visual fluctuation can be present every time the lamp switch is activated. The duration of the flicker will depend on the manner and velocity that the light switch changes position.
Operating the fan
- The fan has 2 speeds.
- Press the fan switch to the left for Low speed.
- Press the fan switch to the right for High speed.
- Return the fan switch to the center to turn the fan Off.
RANGE HOOD CARE
IMPORTANT:
Clean the hood and grease filters frequently according to the following instructions. Replace the grease filter before operating hood.
Exterior Surfaces
IMPORTANT:
Do not use soap-filled scouring pads, abrasive cleaners, cooktop polishing creme, steel wool, gritty washcloths, or paper towels. To avoid damage to the stainless steel, do not use cleaners that contain chlorine.
Cleaning Method:
- Liquid detergent or all-purpose cleaner:
Rinse with clean water and dry with a soft, lint-free cloth. - Glass cleaner to remove fingerprints.
- For stainless steel models, rub in the direction of the grain to avoid scratching or damaging the surface.
- For stainless steel models, use Stainless Steel Cleaner and Polish, Part Number 31462A (not included):
See the “Assistance or Service” section to order.
Metal Grease Filter
To Clean the Filter:
- Remove the screw from the grease filter retainer.
- Turn the grease filter retainer to release the filter.
A. Filter retainer - Wash the metal filter as needed in a dishwasher or hot detergent solution.
To Replace the Filter:
- To reinstall the filter, place the back edge of the filter into the channel at the rear of the hood. Push the filter into place and turn the filter retainer to secure the filter to the range hood.
- Replace the screw in the grease filter retainer.
Cleaning
Replacing the Light Bulb
Turn off the range hood and allow the light bulb to cool.
- Disconnect power.
- Squeeze the plastic lens cover and remove it from the hood.

- Screw a 120 V, 75 W maximum, light bulb with E26 base into the socket.
- Replace the lens cover by squeezing the cover and inserting the tabs into the slots.
- Reconnect power.
If the new light does not operate, make sure the light bulb is inserted correctly before calling service.
WIRING DIAGRAM
SE116C
| Motor Characteristics | ||
| Power Supply | 120 VAC | |
| Frequency | 60 Hz | |
| Amperage | 0.65 ±10% A | |
| Wattage Rating | 38 ±10% W | |
| Motor Resistance | ||
| Brown – White | 16.98 ±10% Ohms | |
| Brown – Red | 9.36 ±10% Ohms | |
ASSISTANCE OR SERVICE
If you need service
Please refer to the warranty.
If you need replacement parts
If you need to order replacement parts, we recommend that you use only factory specified parts. Factory specified parts will fit right and work right because they are made with the same precision used to build every new appliance. To locate factory specified replacement parts in your area, call the following customer assistance telephone number or your nearest designated service center.
In the U.S.A.
Call the Whirlpool Customer eXperience Center toll-free:
Our consultants provide assistance with:
- Scheduling of service. Whirlpool designated service technicians are trained to fulfill the product warranty and provide after-warranty service anywhere in the United States.
- Features and specifications on our full line of appliances.
- Referrals to local dealers.
- Installation information.
- Use and maintenance procedures.
- Accessory and repair parts sales.
- Specialized customer assistance (Spanish speaking, hearing impaired, limited vision, etc.).
For further assistance
If you need further assistance, you can write to Whirlpool Corporation with any questions or concerns at:
Whirlpool Brand Home Appliances Customer eXperience Center 553 Benson Road
Benton Harbor, MI 49022-2692
Please include a daytime phone number in your correspondence.
In Canada
Call the Whirlpool Canada LP Customer eXperience Centre toll-free: 1-800-807-6777 or visit our webpage www.whirlpool.ca.
Our consultants provide assistance with:
- Scheduling of service. Whirlpool designated service technicians are trained to fulfill the product warranty and provide after-warranty service anywhere in Canada.
- Features and specifications on our full line of appliances.
- Referrals to local Whirlpool dealers.
- Use and maintenance procedures.
- Accessory and repair parts sales.
- Referrals to local dealers, repair parts distributors, and service companies. Whirlpool Canada LP designated service technicians are trained to fulfill the product warranty and provide after-warranty service anywhere in Canada.
For further assistance
If you need further assistance, you can write to Whirlpool Canada LP with any questions or concerns at:
Whirlpool Brand Home Appliances Customer eXperience Centre Whirlpool Canada LP
200 – 6750 Century Ave. Mississauga, Ontario L5N 0B7
Please include a daytime phone number in your correspondence.









(4.2 x 25 mm) flat-head screws
(4.2 x 16 mm) truss-head screws









Align the exterior edge of the mounting brackets with the exterior edges of the upper cabinet.

Lift the range hood into place and insert the mounting bracket tabs through the slots in the back of the range hood.
Hold the range hood firmly in place with one hand and bend each mounting tab (A) upward approximately 90°.
Using a 11/4″ (3 cm) drill bit, drill the hole in the dot marked previously at the electrical strain relief.
Using (2) short Phillips head screws, install the 31/4″ x 10″ (8.3 x 25.4 cm) rectangular damper over the top or rear vent knockout removed in Step 8.
Option 1 – Direct Wire Installations
A. Filter retainer



















