Whirlpool Range Hood Installation Guide

RANGE HOOD SAFETY
Your safety and the safety of others are very important.
We have provided many important safety messages in this manual and on your appliance. Always read and obey all safety messages.
This is the safety alert symbol.
This symbol alerts you to potential hazards that can kill or hurt you and others. All safety messages will follow the safety alert symbol and either the word “DANGER” or “WARNING.” These words mean:
IMPORTANT SAFETY INSTRUCTIONS
WARNING: TO REDUCE THE RISK OF FIRE, ELECTRIC SHOCK, OR INJURY TO PERSONS, OBSERVE THE FOLLOWING:
- Use this unit only in the manner intended by the manufacturer. If you have questions, contact the manufacturer.
- Before servicing or cleaning the unit, switch power off at service panel and lock the service disconnecting means to prevent power from being switched on accidentally. When the service disconnecting means cannot be locked, securely fasten a prominent warning device, such as a tag, to the service panel.
- Installation work and electrical wiring must be done by qualified person(s) in accordance with all applicable codes and standards, including fire-rated construction.
Do not operate any fan with a damaged cord or plug. - Discard fan or return to an authorized service facility for examination and/or repair.
- Sufficient air is needed for proper combustion and exhausting of gases through the flue (chimney) of fuel burning equipment to prevent back drafting. Follow the
heating equipment manufacturer’s guideline and safety standards such as those published by the National Fire Protection Association (NFPA), the American Society for
Heating, Refrigeration and Air Conditioning Engineers (ASHRAE), and the local code authorities. - When cutting or drilling into wall or ceiling; do not damage electrical wiring and other utilities.
- Ducted fans must always be vented outdoors.
CAUTION: For general ventilating use only. Do not use to exhaust hazardous or explosive materials and vapors.
CAUTION: To reduce risk of fire and to properly exhaust air, be sure to duct air outside – do not vent exhaust air into spaces within walls or ceilings, attics or into crawl spaces, or garages.
WARNING: TO REDUCE THE RISK OF FIRE, USE ONLY METAL DUCTWORK.
WARNING: TO REDUCE THE RISK OF A RANGE TOP GREASE FIRE: - Never leave surface units unattended at high settings. Boilovers cause smoking and greasy spillovers that may ignite. Heat oils slowly on low or medium settings.
- Always turn hood ON when cooking at high heat or when flambeing food (i.e. Crepes Suzette, Cherries Jubilee, Peppercorn Beef Flambé).
- Clean ventilating fans frequently. Grease should not be allowed to accumulate on fan or filter.
- Use proper pan size. Always use cookware appropriate for the size of the surface element.
WARNING: TO REDUCE THE RISK OF INJURY TO PERSONS IN THE EVENT OF A RANGE TOP GREASE FIRE, OBSERVE THE FOLLOWING:a - SMOTHER FLAMES with a close fitting lid, cookie sheet, or metal tray, then turn off the burner. BE CAREFUL TO
PREVENT BURNS. If the flames do not go out immediately, EVACUATE AND CALL THE FIRE DEPARTMENT. - NEVER PICK UP A FLAMING PAN – you may be burned.
- DO NOT USE WATER, including wet dishcloths or towels –
a violent steam explosion will result. - Use an extinguisher ONLY if:
– You know you have a class ABC extinguisher, and you already know how to operate it.
– The fire is small and contained in the area where it started.
– The fire department is being called.
– You can fight the fire with your back to an exit. aBased on “Kitchen Fire Safety Tips” published by NFPA. - WARNING: To reduce the risk of fire or electrical shock, do not use this fan with any solid-state speed control device.
INSTALLATION REQUIREMENTS
Tools and Parts
Gather the required tools and parts before starting installation. Read and follow the instructions provided with any tools listed here.
Tools needed

Parts supplied
Remove parts from package. Check that all parts are included.
Parts needed

For 7″ (17.8 cm) round vented installations

For 3¹⁄₄” x 10″ (8.3 x 25.4 cm) rectangular vented installations

Optional accessories

*For information on ordering, see the “Assistance or Service” section.
Location Requirements
IMPORTANT:
Observe all governing codes and ordinances.
- It is the installer’s responsibility to comply with installation clearances specified on the model/serial rating plate. The model/serial rating plate is located inside the range hood on the left wall.
- Range hood location should be away from strong draft areas, such as windows, doors and strong heating vents.
- Cabinet opening dimensions that are shown must be used. Given dimensions provide minimum clearance. Consult the cooktop/range manufacturer installation instructions before making any cutouts.
- This range hood is recommended for use with cooktops with a maximum total rating of 40,000 Btus or less.
- Grounded electrical outlet is required. See “Electrical Requirements” section.
- All openings in ceiling and wall where range hood will be installed must be sealed.
- These range hoods are factory set for vented installations. Models that are capable of being installed as non-vented (recirculating) require charcoal filters. See the “Assistance or Service” section for information on ordering charcoal filters.
For Mobile Home Installations
The installation of this range hood must conform to the Manufactured Home Construction Safety Standards, Title 24 CFR, Part 328 (formerly the Federal Standard for Mobile Home Construction and Safety, title 24, HUD, Part 280) or when such standard is not applicable, the standard for Manufactured Home Installation 1982 (Manufactured Home Sites, Communities and Setups) ANSI A225.1/NFPA 501A, or latest edition, or with local codes.
Product Dimensions

Installation Clearances

A. 24” (61.0 cm) minimum distance from electric cooking surface.
24″ (61.0 cm) minimum distance from gas cooking surface.
30″ (76.2 cm) suggested maximum above the cooking surface.
B. 18″ (45.7 cm) minimum clearance – upper cabinet to countertop.
C. 30″ (76.2 cm) minimum cabinet opening width for 30″ (76.2 cm) models and 36″ (91.4 cm) minimum cabinet width for 36″ (91.4 cm) models.
D. 12″ (30.5 cm) cabinet depth.
E. 36″ (91.4 cm) base cabinet height.
Venting System
Venting Methods
NOTES:
- Flexible vent is not recommended. Flexible vent creates both back pressure and air turbulence that greatly reduce performance.
- The vent system is optional for this model. Vent system can terminate either through the roof or wall. Use 7″ (17.8 cm) or larger round vent with a maximum length of 50 ft (15.2 m) for vent system.
Top Venting Wall Venting
A. 7″ (17.8 cm) round vent A. 7″ (17.8 cm) round vent out
through roof the top and through the wall
(purchased separately (purchased separately).
B. Roof cap with damper B. Wall cap with damper
(purchased separately) (purchased separately)
ColdWeather Installations
An additional back draft damper should be installed to minimize backward cold air flow and a thermal break should be installed to minimize conduction of outside temperatures as part of the vent system. The damper should be on the cold air side of the thermal break. The break should be as close as possible to where the vent
system enters the heated portion of the house.
Venting Requirements
- Vent system must terminate to the outdoors, except for nonvented (recirculating) installations.
- Do not terminate the vent system in an attic or other enclosed area.
- Do not use a 4″ (10.2 cm) laundry-type wall cap. Use 7″ (17.8 cm) round metal vent.
- Rigid metal vent is recommended. Plastic or metal foil vent is not recommended.
- The length of vent system and number of elbows should be kept to a minimum to provide efficient performance.
For the most efficient and quiet operation:
- Use no more than three 90° elbows.
- Make sure there is a minimum of 24″ (61 cm) of straight vent between the elbows if more than 1 elbow is used.
- Do not install 2 elbows together.
- Use clamps or duct tape to seal all joints in the vent system.
- The vent system must have a damper. If roof or wall cap has a damper, do not use damper supplied with the range hood.
- Use caulking to seal exterior wall or roof opening around the cap.
Calculating Vent System Length
To calculate the length of the system you need, add the equivalent feet (meters) for each vent piece used in the system.
Vent System
Vent Piece
45° elbow 2.5 ft (0.8 m)
90° elbow 5 ft (1.5 m)
7″ (17.8 cm) wall cap 0 ft (0 m)
Example vent system

1 – 90° elbow = 5 ft (1.5 m)
1 – wall cap = 0 ft (0 m)
8 ft (2.4 m) straight = 8 ft (2.4 m)
System length = 13 ft (3.9 m)
Maximum Recommended Length
7″ (17.8 cm) Round Vent = 50 ft (15.2 m)
Electrical Requirements
Observe all governing codes and ordinances. Ensure that the electrical installation is adequate and in conformance with National Electrical Code, ANSI/NFPA 70 (latest
edition), or CSA Standards C22.1-94, Canadian Electrical Code, Part 1 and C22.2 No. 0-M91 (latest edition) and all local codes and ordinances. If codes permit and a separate ground wire is used, it is recommended that a qualified electrician determine that the ground path is adequate.
A copy of the above code standards can be obtained from: National Fire Protection Association
1 Batterymarch Park
Quincy, MA 02169-7471
CSA International
8501 East Pleasant Valley Road
Cleveland, OH 44131-5575
A 120 volt, 60 Hz., AC only, 15-amp, fused electrical circuit is required. If the house has aluminum wiring, follow the procedure below:
- Connect a section of solid copper wire to the pigtail leads.
- Connect the aluminum wiring to the added section of copper wire using special connectors and/or tools designed and UL listed for joining copper to aluminum.
Follow the electrical connector manufacturer’s recommended procedure. Aluminum/copper connection must conform with local codes and industry accepted wiring practices.
Wire sizes and connections must conform with the rating of the appliance as specified on the model/serial rating plate. The model/serial plate is located behind the filter on the rear wall of the range hood. Wire sizes must conform to the requirements of the National Electrical Code, ANSI/NFPA 70 (latest edition), or CSA Standards C22. 1-94, Canadian Electrical Code, Part 1 and C22.2 No. 0-M91 (latest edition) and all local codes and ordinances.
INSTALLATION INSTRUCTIONS
- Depending on your model, determine which venting method to use: roof, wall or non-vented (recirculating).
- It is recommended that the vent system be installed before the range hood is installed. Go to “Venting System” in the “Installation Requirements” section if you need assistance.
- Before making cutouts, make sure there is proper clearance within the ceiling or wall for the vent system.
1.Disconnect power

Electrical Shock Hazard Disconnect power before servicing. Replace all parts and panels before operating. Failure to do so can result in death or electrical shock.
- Mark Hole Locations

Align the exterior edge of the mounting brackets with the exterior edges of the upper cabinet.
IMPORTANT: The brackets should touch the upper cabinet. With a pencil, mark the upper holes on the brackets. - Install Brackets

- Using a #2 Phillips screwdriver, install the drywall anchors. Using #8-18 x 1″ (4.2 x 25 mm) flat-head #2 Phillips screws, install the mounting brackets using the upper holes.
NOTE: For installations to a surface other than drywall, it is recommended that a qualified contractor determine the anchoring method. - Remove Grease Filters

Remove the two filter security screws and put them aside. Press the filter latch to release the grease filters. Remove each grease filter. - Prepare Range Hood

Set the range hood on its back on a covered surface. Remove the two filter security screws and put them aside. Press the filter latch to release the grease filters.
Remove each grease filter. Using a #2 Phillips screwdriver, remove the rectangular damper attached with 3.5 x 9.5 mm screws. Using a #2 Phillips screwdriver, remove the electrical box cover. Using a flat-blade screwdriver, remove the appropriate power supply knockout. - Mark Hole Locations

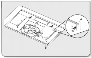
Lift the range hood into place and insert the mounting bracket tabs through the slots in the back of the range hood.
Hold the range hood firmly in place with one hand and bend each mounting tab (A) upward approximately 90°. Mark the hole at the power supply knockout (B).
OPTIONAL: Mark the hole in each mounting tab. Remove the range hood and set it aside. - Mark and Cut Vent Opening
7″ (17.8 cm) Round Vent System
Using the 7″ (17.8 cm) round vent mounting plate, draw the vent opening outline on the underside of the cabinet:
– Place the vent mounting plate on the bottom of the cabinet. Position the edge of the plate with the widest distance (A) between the hole and edge of the mounting
plate against the wall. Position the side edges of the mounting plate between the dots marked previously.
IMPORTANT: The widest edge (A) of the vent mounting plate must be positioned against the wall.
– Trace the 7″ (17.8 cm) vent opening (solid line) on the cabinet bottom. Using a jigsaw or keyhole saw, cut the vent opening 1″ (2.5 cm) larger than the 7″ (17.8 cm) hole traced (dashed line). - Drill Electrical Opening

Using a 1 ” (3 cm) drill bit, drill the hole in the dot marked previously at the electrical strain relief. OPTIONAL: Using a ” (3 mm) drill bit, drill pilot holes for the
dots marked previously at each mounting tab at an approximate 45° angle in an upward direction. - Prepare Range Hood Vents and Mounting Tabs

- Install Strain Relief
Install a UL Listed/CSA Approved ” (13 mm) strain relief (A). - Mounting Tabs
Start a #8-18 x ” (4.2 x 16 mm) truss-head screw into the mounting tab (F) on each side of the range hood as shown in the inset. Insert the screws approximately 2 turns into the mounting tab holes. - Non-vent (Recirculating) Installations
Using a #2 Phillips screwdriver remove the 2 screws and remove the top, front rectangular vent cover (E). Go to Step 12. - 7″ (17.8 cm) Round Vent Installations Remove both top knockouts (C and D).
11. Mount Range Hood

- Lift the range hood into place, positioning the rear slots over the mounting brackets.
- Using a Phillips screwdriver, push on the screws that are started into the top mounting tabs and bend the tabs against the cabinet side walls. Attach the screws to the cabinet side walls.
- For direct wire installations, run the home power supply cable according to the National Electric Code or CSA standards and local codes and ordinances. There must be enough wiring from the fused disconnect (or circuit breaker) box to make the connection in the range hood electrical terminal box.
- Tighten the strain relief screws.
NOTE: Do not reconnect power until the installation is complete.
OPTIONAL: If you prefer, bend the rear tabs against the rear of the range hood and attach to the wall using #8-18 x “(4.2 x 16 mm) truss-head screws.
12. Connect Vent System
- Connect the ventwork to the range hood. Seal joints with vent clamps or duct tape to make secure and airtight.
- Check that the back draft dampers work properly
13. Make Electrical Connection

Option 1 – DirectWire Installations
- Use a UL Listed/CSA Approved wire connector and connect the 2 white wires (A) together.
- Use a UL Listed/CSA Approved wire connector and connect the 2 black wires (B) together

Fire Hazard
Electrically ground the blower. Use copper wire. Connect ground wire to green ground screw in
terminal box. Failure to do so can result in death, fire, or electrical shock.
- Connect the green (or bare) ground wire (C) from the power supply to the green ground screw in the electrical box and tighten the screw securely. Reinstall the electrical box cover. Reconnect power.
Option 2 – Power Cord Kit Installations
For optional power cord kit installations, follow the instructions supplied with the power cord kit. See the “Assistance or Service” section for information on ordering.
NOTE: Use only with range hood cord connection kits that have been investigated and found acceptable for use with this model range hood.
14. Complete the Installation
- Install a 120V, 75W maximum, incandescent light bulb with E26 base. See “Replacing the Incandescent Light Bulb” in the “Range Hood Care” section.
- If removed previously, replace the filter. See “Grease or Charcoal Filter” in the “Range Hood Care” section. For vented installations: Install a metal filter.
For non-vented (recirculating) installations: Install a charcoal filter. - Check the operation of the range hood fan and light. See the “Range Hood Use” section. If the range hood does not operate, check to see whether a circuit breaker has tripped or a household fuse has blown. Disconnect the power and check the wiring connections.
NOTE: To get the most efficient use from your new range hood, read the “Range Hood Use” section.
RANGE HOOD USE
The range hood is designed to remove smoke, cooking vapors and odors from the cooktop area. For best results, start the hood before cooking and allow it to operate several minutes after the cooking is complete to clear all smoke and odors from the kitchen. The hood controls are located on the front panel of the range hood.

A. LED light housing and cover
B.Grease filter retainer
C. Grease filter
Operating the light
Press the light switch to the left to turn the light On. Press the light switch to the right to turn the light Off.
Operating the fan
The fan has 2 speeds. Press the fan switch to the left for Low speed. Press the fan switch to the right for High speed. Return the fan switch to the center to turn the fan Off.
RANGE HOODCARE
IMPORTANT: Clean the hood and grease filters frequently according to the following instructions. Replace the grease filter before operating hood. Exterior Surfaces:
IMPORTANT: Do not use soap-filled scouring pads, abrasive cleaners, cooktop polishing creme, steel wool, gritty washcloths or paper towels.
To avoid damage to the stainless steel, do not use cleaners that contain chlorine. Cleaning Method:
- Liquid detergent or all-purpose cleaner: Rinse with clean water and dry with a soft, lint-free cloth.
- Glass cleaner to remove fingerprints.
- For stainless steel models, use Stainless Steel Cleaner and Polish: See the “Assistance or Service” section to order.
- For stainless steel models, rub in the direction of the grain to avoid scratching or damaging the surface.
Grease or Charcoal Filter
To Clean the Filter:
- Remove the screw from the grease filter retainer.
- Push the grease filter retainer to release the filter.

A. Filter retainer screws
B. Grease filters
C. Filter retainer - For vented installations: Grease filters should be cleaned using warm water, dishwashing liquid, and a non abrasive brush. For non-vented (recirculating) installations: The charcoal filter is not washable. For information on ordering, see the Assistance or Service” section.
NOTE
To reduce the risk of fire or shock when the hood is used in recirculation mode, use only the conversion kit models listed below:
Recirculating kit: W11371717
To Replace the Filter:
- To reinstall the filter, place the back edge of the filter into the channel at the rear of the hood. Push the filter into place and turn the filter retainer to secure the filter to the range hood.
- Replace the screw in the grease filter retainer.
Replacing the LED Light Bulb
Turn off the range hood and allow the light bulb to cool.
- Disconnect power.
- Remove the grease filters from the hood.
- Remove the fused light bulb from behind the lamp spacer.

- Screw a 120V, 9W maximum, LED light bulb with E26 base into the socket.
- Replace the grease filters.
- Reconnect power. If the new light does not operate, make sure the light bulb is inserted correctly before calling service.
WIRINGDIAGRAM
SEL0157858A
ASSISTANCE OR SERVICE
If you need service
When calling, please know the purchase date and the complete model and serial number of your appliance. This information will help us to better respond to your request.
If you need replacement parts
If you need to order replacement parts, we recommend that you use only FSP® replacement parts. FSP® replacement parts will fit right and work right because they are made with the same precision used to build every new Whirlpool® appliance.
To locate FSP® replacement parts in your area, call us or your nearest Whirlpool designated service center
In the U.S.A.
Call the Whirlpool Customer eXperience Center toll free:
1-800-253-1301 or visit our website at www.whirlpool.com.
Our consultants provide assistance with:
- Scheduling of service. Whirlpool appliances designated service technicians are trained to fulfill the product warranty and provide after-warranty service, anywhere in the United States.
- Features and specifications on our full line of appliances.
- Referrals to local Whirlpool appliance dealers. Installation information.
- Use and maintenance procedures.
Accessory and repair parts sales. - Specialized customer assistance (Spanish speaking, hearing impaired, limited vision, etc.).
For further assistance
If you need further assistance, you can write to Whirlpool with any questions or concerns at: Whirlpool Brand Home Appliances
Customer eXperience Center 553 Benson Road Benton Harbor, MI 49022-2692 Please include a daytime phone number in your correspondence
In Canada
Call the Whirlpool Canada LP Customer eXperience Centre toll free: 1-800-807-6777 or visit our webpage www.whirlpool.ca.
Our consultants provide assistance with:
- Scheduling of service. Whirlpool designated service technicians are trained to fulfill the product warranty and provide after-warranty service, anywhere in Canada.
- Features and specifications on our full line of appliances.
- Referrals to local Whirlpool appliance dealers. Use and maintenance procedures.
- Accessory and repair parts sales.
For further assistance
If you need further assistance, you can write to Whirlpool with any questions or concerns at:
Customer eXperience Centre
Whirlpool Canada LP
200 – 6750 Century Ave.
Mississauga, Ontario L5N 0B7
Please include a daytime phone number in your correspondence.

































