
30″ (76.2 CM) RANGE HOOD
Installation Instructions and Use & Care Guide
LIB0138872A/W11374529A
![]()
IMPORTANT: READ AND SAVE THESE INSTRUCTIONS.
FOR RESIDENTIAL USE ONLY.
RANGE HOOD SAFETY
Your safety and the safety of others are very important.
We have provided many important safety messages in this manual and on your appliance. Always read and obey all safety messages.
This is the safety alert symbol.
This symbol alerts you to potential hazards that can kill or hurt you and others.
All safety messages will follow the safety alert symbol and either the word “DANGER” or “WARNING.”
These words mean:
DANGER You can be killed or seriously injured if you don’t immediately follow instructions.
WARNING You can be killed or seriously injured if you don’t follow instructions.
All safety messages will tell you what the potential hazard is, tell you how to reduce the chance of injury, and tell you what can happen if the instructions are not followed.
IMPORTANT SAFETY INSTRUCTIONS
WARNING: TO REDUCE THE RISK OF FIRE, ELECTRIC SHOCK, OR INJURY TO PERSONS, OBSERVE THE FOLLOWING:
- Use this unit only in the manner intended by the If you have questions, contact the manufacturer.
- Before servicing or cleaning the unit, switch power off at the service panel and lock the service disconnecting means to prevent power from being switched on accidentally. When the service disconnecting means cannot be locked, securely fasten a prominent warning device, such as a tag, to the service panel.
- Installation work and electrical wiring must be done by a qualified person(s) in accordance with all applicable codes and standards, including fire-rated construction.
- Do not operate any fan with a damaged cord or plug. Discard fan or return to an authorized service facility for examination and/or repair.
- Sufficient air is needed for proper combustion and exhausting of gases through the flue (chimney) of fuel-burning equipment to prevent back-drafting. Follow the heating equipment manufacturer’s guidelines and safety standards such as those published by the National Fire Protection Association (NFPA), the American Society for Heating, Refrigeration and Air Conditioning Engineers (ASHRAE), and the local code authorities.
- When cutting or drilling into a wall or ceiling, do not damage electrical wiring and other hidden utilities.
- Ducted fans must always be vented outdoors.
CAUTION: For general ventilating use only. Do not use to exhaust hazardous or explosive materials and vapors.
CAUTION: To reduce the risk of fire and to properly exhaust air, be sure to duct air outside – do not vent exhaust air into spaces within walls or ceilings, attics or into crawl spaces, or garages.
WARNING: TO REDUCE THE RISK OF FIRE, USE ONLY METAL DUCTWORK.
WARNING: TO REDUCE THE RISK OF A RANGE TOP GREASE FIRE:
- Never leave surface units unattended at high settings. Boilovers cause smoking and greasy spillovers that may Heat oils slowly on low or medium settings.
- Always turn hood ON when cooking at high heat or when flam being food (i.e. Crepes Suzette, Cherries Jubilee, Peppercorn Beef Flambe).
- Clean ventilating fans frequently. Grease should not be allowed to accumulate on the fan or filter.
- Use proper pan size. Always use cookware appropriate for the size of the surface element.
WARNING: TO REDUCE THE RISK OF INJURY TO PERSONS IN THE EVENT OF A RANGE TOP GREASE FIRE, OBSERVE THE FOLLOWING:’ - SMOTHER FLAMES with a close-fitting lid, cookie sheet, or metal tray, then turn off the burner. BE CAREFUL TO PREVENT BURNS. If the flames do not go out immediately, EVACUATE AND CALL THE FIRE
- NEVER PICK UP A FLAMING PAN – you may be burned.
- DO NOT USE WATER, including wet dishcloths or towels -a violent steam explosion will result.
- Use an extinguisher ONLY if:
•You know you have a Class ABC extinguisher, and you already know how to operate It.
•The fire is small and contained in the area where it started.
•The fire department is being called.
•You can fight the fire with your back to an exit.
“Based on ‘Kitchen Fire Safety Tips” published by NFPA. - WARNING: To reduce the risk of fire or electrical shock, do not use this fan with any solid-state speed control device.
READ AND SAVE THESE INSTRUCTIONS
INSTALLATION REQUIREMENTS
Tools and Parts
Gather the required tools and parts before starting installation.
Read and follow the instructions provided with any tools listed here.
Tools needed
|
|
Parts supplied
Remove parts from the package. Check that all parts are included.
|
|
Parts needed
- 3W x 10″ (8.3 x 25.4 cm) or 6′ (15.2 cm) or larger round metal venting
- 6° (15.2 cm) or larger round damper, if using 6″ (15.2 cm) or larger round vent system
- 31/4″ x 10` (8.3 x 25.4 cm) to 6° (15.2 cm) or larger diameter transition piece if using 6′ (15.2 cm) or larger diameter round vent system.
- 3 – UL listed wire connectors
- 1/2″ (12.7 mm) UL Listed or CSA approved strain relief
For cabinets with recessed bottoms:
- Two r (5.1 cm) wide filler strips. Length and thickness are determined by recess dimensions.
- Four flat head wood screws or machine screws with washers and nuts (to attach filler strips).
Location Requirements
IMPORTANT: Observe all governing codes and ordinances.
- It is the installer’s responsibility to comply with installation clearances specified on the model/serial rating plate. The model/serial rating plate is located inside the range hood on the left wall.
- The range hood location should be away from strong draft areas, such as windows, doors, and strong heating vents.
- Cabinet opening dimensions that are shown must be used. Given dimensions provide minimum clearance. Consult the cooktop/range manufacturer installation instructions before making any cutouts.
- A grounded electrical supply is required. See “Electrical Requirements” section.
- The hood is factory-set for vented installations.
- All openings in the ceiling and wall where the range hood will be installed must be sealed.
For Mobile Home Installations
The installation of this range hood must conform to the Manufactured Home Construction Safety Standards, Title 24 CFR, Part 328 (formerly the Federal Standard for Mobile
Home Construction and Safety, Title 24, HUD, Part 280) or when such standard is not applicable, the standard for Manufactured Home Installation 1982 (Manufactured Home Sites, Communities and Setups) ANSI A225.1/NFPA 501A*, or latest edition, or with local codes.
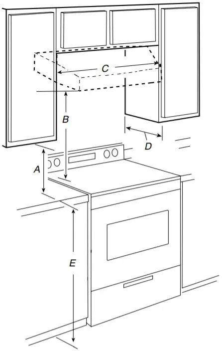
Product Dimensions
Installation Clearances

| A. 18″ (45.7 cm) min. clearance – upper cabinet to countertop |
| B. 24″ (61.0 cm) min. for electric cooking surfaces 27″ (68.6 cm) min. for gas cooking surfaces 30″ (76.2 cm) suggested max. – bottom of the range hood to the cooking surface |
| C. 30″ (76.2 cm) min. cabinet opening width |
| D. 13″ (33.0 cm) cabinet depth |
| E. 36″ (91.4 cm) base cabinet height |
Venting Requirements
- The vent system must terminate to the outdoors.
- Do not terminate the vent system in an attic or other enclosed area.
- Do not use a 4″ (10.2 cm) laundry-type wall cap.
- Use a 6″ (15.2 cm) or larger round metal vent or a 3¼” x 10″ (8.3 x 25.4 cm) rectangular metal vent. A rigid metal vent is recommended. A plastic or metal foil vent is not recommended.
- The length of the vent system and the number of elbows should be kept to a minimum to provide efficient performance.
For the most efficient and quiet operation:
- Use no more than three 90° elbows.
- Make sure there is a minimum of 24” (61 cm) of straight vent between the elbows if more than 1 elbow is used.
- Do not install 2 elbows together.
- Use clamps to seal all joints in the vent system.
- The vent system must have a damper. If the roof or wall cap has a damper, do not use a damper supplied with the range hood.
- Use caulking to seal the exterior wall or roof opening around the cap.
Cold Weather Installations
An additional back draft damper should be installed to minimize backward cold airflow and a thermal break should be installed to minimize conduction of outside temperatures as part of the vent system. The damper should be on the cold air side of the thermal break.
The break should be as close as possible to where the vent system enters the heated portion of the house.
Makeup Air
Local building codes may require the use of make-up air systems when using ventilation systems greater than specified CFM of air movement. The specified CFM varies from locale to locale. Consult your HVAC professional for specific requirements in your area.
Venting Methods
The vent system can terminate either through the roof or wall. Use 3¼” x 10″ (8.3 x 25.4 cm) with a maximum vent length of 35 ft (10.7 m) or 6″ (15.2 cm) or a larger round vent with a maximum length of 50 ft (15.2 m) for the vent system.
NOTE: Flexible vent is not recommended. A flexible vent creates backpressure and air turbulence that greatly reduces performance.
The ducting from this fan to the outside of the building has a strong effect on the airflow, noise, and energy use of the fan. Use the shortest, straightest duct routing possible for best performance, and avoid installing the fan with smaller ducts than recommended. Insulation around the ducts can reduce energy loss and inhibit mold growth. Fans installed with existing ducts may not achieve their rated airflow.

| A. 6″ (15.2 cm) or larger round vent or a 3 1 /4″ x 10″ (8.3 x 25.4 cm) rectangular vent through roof | A. 6″ (15.2 cm) or larger round vent or a 3 1 /4″ x 10″ (8.3 x 25.4 cm) rectangular vent through the wall |
| B. Round vent: use 6″ (15.2 cm) or larger round damper (purchased separately) | B. Round vent: use 3 1 /4″ x 10″ (8.3 x 25.4 cm) to 6″ (15.2 cm) or larger diameter transition piece (purchased separately) |
| C. Round vent: use 3 1 /4″ x 10″ (8.3 x 25.4 cm) to 6″ (15.2 cm) or larger diameter transition piece (purchased separately) | C. 3 1 /4″ x 10″ (8.3 x 25.4 cm) through the wall |
| D. 27″ (68.6 cm) – 30″ (76.2 cm) above gas cooking surface 24″ (61.0 cm) – 30″ (76.2 cm) above electric cooking surface | D. 27″ (68.6 cm) – 30″ (76.2 cm) above gas cooking surface 24″ (61.0 cm) – 30″ (76.2 cm) above electric cooking surface |
| E. Roof cap | E. Wall cap |
| F. Seal duct joints with duct tape/caulk | F. Seal duct joints with duct tape/caulk |
Ensure duct joints and exterior penetrations are sealed with caulk or other similar material to create an air-tight path and to minimize building heat loss and gain and reduce the potential for condensation.
Place/wrap insulation around the duct and/or fan in order to minimize possible condensation buildup within the duct, building heat loss, and gain.
Calculating Vent System Length
To calculate the length of the system you need, add the equivalent feet (meters) for each vent piece used in the system.
6″ (15.2 cm) or Larger Round Vent System
| Vent Piece | Round | |
| 45° elbow | 2.5 ft (0.8 m) | ![]() |
| 90° elbow | 5.0 ft (1.5 m) | ![]() |
| 6″ (15.2 cm) or larger wall cap | 0.0 ft (0.0 m)
| ![]() |
| 3 1/4″ x 10″ (8.3 cm x 25.4 cm) to 6″ (15.2 cm) or larger | 4.5 ft (1.4 m) | ![]() |
| 3 1 /4″ x 10″ (8.3 cm x 25.4 cm) to 6″ (15.2 cm) or larger 90° elbow | 5.0 ft (1.5 m) | ![]() |
Example vent system
Maximum Recommended Length = 50 ft (15.2 m)
| 1 – 90° elbow 1 – wall cap 8 ft (2.4 m) straight | = 5.0 ft (1.5 m) = 0.0 ft (0.0 m) = 8.0 ft (2.4 m) |
| Length of 7″ (17.8 cm) system | = 13.0 ft (3.9 m) |
3¼” x 10″ (8.3 cm x 25.4 cm) Vent System
Vent Piece | ||
| 3¼” x 10″ (8.3 cm x 25.4 cm) 90° elbow | 5.0 ft (1.5 m) | ![]() |
| 3¼” x 10″ (8.3 cm x 25.4 cm) flat elbow | 12.0 ft (3.7 m) | ![]() |
| 3¼” x 10″ (8.3 cm x 25.4 cm) wall cap | 0.0 ft (0.0 m) | ![]() |
Example vent system
| Maximum Recommended Length | = 35 ft (10.7 m) |
| 1 – 90° elbow 8 ft (2.4 m) straight 1 – wall cap | = 5.0 ft (1.5 m) = 8.0 ft (2.4 m) = 0.0 ft (0.0 m) |
| Length of 3¼” x 10″ (8.3 cm x 25.4 cm) system | = 13.0 ft (3.9 m) |
Electrical Requirements
Observe all governing codes and ordinances.
Ensure that the electrical installation is adequate and in conformance with National Electrical Code, ANSI/NFPA 70 (latest edition), or CSA Standards C22.1-94, Canadian Electrical Code, Part 1 and C22.2 No. 0-M91 (latest edition), and all local codes and ordinances.
If codes permit and a separate ground wire is used, it is recommended that a qualified electrician determine that the ground path is adequate.A copy of the above code standards can be obtained from:
National Fire Protection Association
1 Batterymarch Park
Quincy, MA 02269
CSA International
8501 East Pleasant Valley Road
Cleveland, OH 44131-5575
- A 120 volt, 60 Hz., AC only, 15-amp, fused electrical circuit is required.
- If the house has aluminum wiring, follow the procedure below:
1. Connect a section of solid copper wire to the pigtail leads.
2. Connect the aluminum wiring to the added section of the copper wire using special connectors and/or tools designed and UL listed for joining copper to aluminum.
Follow the electrical connector manufacturer’s recommended procedure. Aluminum/copper connection must conform with local codes and industry accepted wiring practices. - Wire sizes and connections must conform with the rating of the appliance as specified on the model/serial rating plate.
The model/serial plate is located behind the filter on the rear wall of the range hood. - Wire sizes must conform to the requirements of the National Electrical Code, ANSI/NFPA 70 (latest edition), or CSA Standards C22. 1-94, Canadian Electrical Code, Part 1 and C22.2 No. 0-M91 (latest edition) and all local codes and ordinances.
INSTALLATION INSTRUCTIONS
Prepare Location
NOTE: It is recommended that the vent system be installed before the hood is installed.
Before making cutouts, make sure there is proper clearance within the ceiling or wall for the exhaust vent.
- Disconnect power.
- Determine which venting method to use: roof or wall.
- Select a flat surface for assembling the range hood. Place covering over that surface.
- Lift the range hood and set it upside down onto the covered surface.
- If the cabinet has a recessed bottom, add wood filler strips on each side. Install screws to attach filler strips in the locations shown.

Determine Wiring Hole Location
Cut only one 1¹ ⁄4″ (3.2 cm) diameter wiring access hole. See Steps 2 or 3 for wiring hole location instructions.
- Determine and clearly mark a vertical centerline on the wall and cabinet in the area the vent opening will be made.

- To wire through the top:
Mark a line distance “A” from the right of the centerline on the underside of the cabinet. Mark the point on this line that is 1³
⁄4″ (4.4 cm) from the back wall. Drill a 1¼” (3.2 cm) diameter hole through the cabinet at this point.
- To wire through the wall:
Mark a line distance “A” from the right of the centerline on the underside of the wall. Mark the point on this line that is 3 ⁄4″ (1.9 cm) from the underside of the cabinet. Drill a 1 ¹⁄4″ (3.2 cm) diameter hole through the rear wall at this point.

Style 1 – Cut Openings for 3¼” x 10″ (8.3 x 25.4 cm)
Rectangular Vent System
Roof Venting
To make a 4¹ ⁄4″ x 10½” (10.8 cm x 26.7 cm) rectangular cutout on the underside of the cabinet top and bottom:
- Mark lines ¹⁄2″ (1.3 cm) and 4³⁄4″ (12.1 cm) from the back wall on the centerline of the underside of the cabinet.
- Mark lines 5¼” (13.3 cm) to the right and left of the centerline on the underside of the cabinet.
- Use a saber or keyhole saw to cut a rectangular opening for the vent.
- Repeat steps 1-3 for the underside of the top of the cabinet.

Wall Venting
To make a 3½” x 10½” (8.9 cm x 26.7 cm) rectangle in the wall:
- Make 2 lines by measuring 3⁄8″ (0.9 cm) and 3⁄8″ (9.8 cm) down from the underside of the cabinet and mark on the centerline on the back wall.
- Mark lines 5¼” (13.3 cm) to the right and left of the centerline on the wall.
- Use a saber or keyhole saw to cut a rectangular opening in the wall for the vent.

Style 2 – Cut Openings for 3¼” x 10″ (8.3 x 25.4 cm)
Rectangular Vent to Round Vent Transition
Roof Venting
To make a 4¹ ⁄4″ x 10½” (10.8 cm x 26.7 cm) rectangular cutout on the underside of cabinet bottom:
- Mark lines 1⁄2″ (1.3 cm) and 4 ³⁄4″ (12.1 cm) from the back wall on the centerline of the underside of the cabinet.
- Mark lines 5¼” (13.3 cm) to the right and left of the centerline on the underside of the cabinet.
- Use a saber or keyhole saw to cut a rectangular opening for the vent.

To make a circular vent opening on the underside of the cabinet top:
- Mark a centerline on the underside of the top of the cabinet.
- Mark a line 5″ (12.7 cm) from the back wall on the underside of the top of the cabinet.
- Use a compass or a circle template to draw a circle with a diameter that is ¼” (0.64 cm) larger than the vent.
- Use a saber or keyhole saw to cut the circular vent opening.

Install Vent System
- Install vent through the vent opening in the upper cabinet or wall.
Complete venting system according to the selected venting method. See the “Venting Requirements” section. - Use caulking to seal the exterior wall or roof opening around the cap
Install Range Hood
Complete Preparation
1. Remove the grease filters. See the “Range Hood Care” section.

- Depending on your installation, remove either top or rear rectangular vent knockout. If using a round vent, remove the top rectangular knockout.
NOTE: In case you decide to change your venting outlet, your range hood is provided with a top/rear exhaust cover to close the exit hole previously made.

- Make sure the damper pivot is nearest to the top/back edge of the range hood.
- Remove tape from damper flap.
NOTE: The exhaust adapter/damper can be installed up to 1° (2.5 cm) on either side of the hood center to accommodate off-center ductwork. - If using a rectangular vent, attach rectangular damper/vent connectors to the range hood using sheet metal screws.

| A. Vertical vent | D. Vent knockouts |
| B. Sheet metal screws | E. Horizontal vent |
| C. Hinge pin |
NOTE: If the wall cap is directly behind the vent connector, the dampers in the connector and wall cap must not interfere with each other. Remove the vent connector damper if they interfere.
- If using round vent, attach vent transition piece (purchased separately) to range hood top using sheet metal screws.
2. Lift the range hood up under the cabinet and determine the final location by centering beneath the cabinet. Mark on the underside of the cabinet the location of the 4 keyhole mounting slots on the range hood. Set range hood aside on a covered surface.

3. Use ¹/8″ (3 mm) drill bit and drill 4 pilot holes as shown.

4. Install the 4 – 4.5 mm x 13 mm mounting screws in pilot holes. Leave about ¹/4″ (6.4 mm) space between screw heads and cabinet to slide range hood into place.

5. Run the home power supply cable according to the National Electric Code or CSA standards and local codes and ordinances. There must be enough wiring from the fused disconnect (or circuit breaker) box to make the connection in the hood electrical terminal box.
NOTE: Do not reconnect power until the installation is complete.
6. Remove the screws from the terminal box cover. Then slide the cover toward the outside edge of the range hood to position the large end of the keyhole slots over the mounting tabs.

| A. Screws |
| B. Mounting tabs |
| C. Terminal box cover |
7. Tip the terminal box cover at the screw flange area to remove.
Remove the terminal box cover and set it aside.

8. Remove the power supply knockout from the top or rear of the vent hood (depending on the incoming location of your home power supply cable) and install a UL Listed or CSA approved ½” (1.3 cm) strain relief.

9. Feed enough electrical wire through the ½” UL listed or CSA-approved strain relief to make connections in the terminal box. Tighten the strain relief screws.
10. Position the range hood so that the large end of the keyhole slots are over the mounting screws. Then push the hood toward the wall so that the screws are in the neck of the slots. Tighten the mounting screws, making sure the screws are in the narrow neck of slots.
11. Connect vent work to the hood. Seal joints with clamps to make them secure and airtight.
12. Check that backdraft dampers work properly.
Make Electrical Connection
WARNING
Electrical Shock Hazard
Disconnect power before servicing.
Replace all parts and panels before operating.
Failure to do so can result in death or electrical shock.
- Disconnect power.

A. White wires D. Green (or bare) and yellow-green ground wire B. Black wires E. Home power supply cable C. UL listed wire connector F. UL listed or CSA approved ½” strain relief - Use UL listed wire connectors and connect white wires (A) together.
- Use UL-listed wire connectors and connect black wires (B) together.
WARNING
Electrical Shock Hazard
Electrically ground blower.
Connect ground wire to green and yellow ground wire in the terminal box.
Failure to do so can result in death or electrical shock. - Connect green (or bare) ground wire from the home power supply to yellow-green ground wire (C) in the terminal box using UL listed wire connectors.
- Reinstall terminal box cover.
- Check that the light bulb is secure in its socket. See “Replacing the LED Lamp” in the Range Hood Care section.
- Reconnect power.
Complete Installation
- Replace grease filters. See the “Range Hood Care” section.
- Check the operation of the range hood fan and light. See the “Range Hood Use” section.
If the range hood does not operate, check to see whether a circuit breaker has tripped or a household fuse has blown. Disconnect power and check wiring connections.
NOTE: To get the most efficient use from your new range hood, read the “Range Hood Use” section.
RANGE HOOD USE
The range hood is designed to remove smoke, cooking vapors, and odors from the cooktop area. For best results, start the hood before cooking and allow it to operate several minutes after the cooking is complete to clear all smoke and odors from the kitchen.
The hood controls are located on the front panel on the right side of the range hood.

| A. LED lamps | C. Blower and light controls |
| B. Grease filter handle | D. Grease filter |
Range Hood Controls
| A. On/Off light button | C. Blower speed medium button |
| B. Blower Off and speed minimum button | D. Blower speed maximum button |
Operating the light
The On/Off light button controls the light. Press once for On and again for Off.
Operating the blower
The BLOWER SPEED buttons turn the blower on and control the blower speed and sound level for quiet operation. The speed can be changed anytime during fan operation by pressing the desired blower speed button. Press the BLOWER OFF button a second time to turn the blower off.
RANGE HOOD CARE
Cleaning
IMPORTANT: Clean the hood and grease filters frequently according to the following instructions. Replace grease filters before operating the hood.
Exterior Surfaces
IMPORTANT: Do not use soap-filled scouring pads, abrasive cleaners, Cooktop Polishing Creme, steel wool, gritty washcloths, or paper towels.
Cleaning Method:
- Rub in the direction of the grain to avoid scratching or damaging the surface.
- Stainless Steel Cleaner and Polish (not included). See the “Assistance or Service” section to order.
- Liquid detergent or all-purpose cleaner: Rinse with clean water and dry with a soft, lint-free cloth.
- Glass cleaner to remove fingerprints.
Metal Grease Filter
- Remove each filter by pulling the spring release handle and then pulling down the filter.

- Wash metal filters as needed in the dishwasher or hot detergent
- Reinstall the filter by making sure the spring release handles are toward the front. Insert aluminum filter into the upper track.
- Push in the spring release handle.
- Push up on the metal filter and release the handle to latch into place.
- Repeat steps 1-5 for the other filter.
Replacing LED Lamps
To avoid damage or decreasing the life of the new lamp, do not touch the lamp with bare fingers. Replace lamp, using tissue or wearing cotton gloves to handle lamp.
If new lamps do not operate, make sure the lamps are inserted correctly before calling the service.
- Disconnect power.
- Push up on the lens and turn it counterclockwise.

- Remove and replace it with an appropriate Energy Star lamp for the fixture: 120-volt, 6.5-watt maximum with a GU10 base. Turn it clockwise to lock it into place.
- Repeat steps 2-3 for the other lamps if needed.
- Reconnect power.
WIRING DIAGRAM

ASSISTANCE OR SERVICE
When calling for assistance or service, please know the purchase date and the complete model, and the serial number of your appliance. This information will help us to better respond to your request.
If you need replacement parts
If you need to order replacement parts. we recommend that you use only factory specified parts. Factory specified parts will fit right and work right because they are made with the same precision used to build every new appliance. To locate factory-specified replacement parts in your area. call us or your nearest designated service center.
In the U.S.A.
Call the Whirlpool Customer eXperience Center toll-free:
1-800-253-1301.
Our consultants provide assistance with:
- Features and specifications on our full line of appliances.
- Installation information.
- Use and maintenance procedures.
- Accessory and repair parts sales.
- Specialized customer assistance (Spanish speaking, hearing impaired, limited vision, etc.).
- Referrals to local dealers, repair pals distributors, and service companies. Whirlpool designated service technicians are trained to fulfill the product warranty and provide after-warranty service anywhere in the United States.
To locate the Whirlpool designated service company in your area. you can also look in your telephone directory Yellow Pages.
For further assistance
If you need further assistance, you can write to Whirlpool
A corporation with any questions or concerns at:
Whirlpool Brand Home Appliances
Customer Experience Center 553 Benson Road
Benton Harbor, MI 49022-2692
Please include a daytime phone number in your correspondence.
In Canada
Call the Whirlpool Canada LP Customer eXperience Centre toll-free: 1-800-807-6777.
Our consultants provide assistance with:
- Features and specifications on our full line of appliances.
- Use and maintenance procedures.
- Accessory and repair parts sales.
- Specialized customer assistance (Spanish speaking, hearing impaired, limited vision, etc.).
- Referrals to local dealers, repair parts distributors, and service companies. Whirlpool Canada LP designated service technicians are trained to fulfill the product warranty and provide after-warranty service anywhere in Canada.
For further assistance
If you need further assistance, you can write to Whirlpool
Canada LP with any questions or concerns at:
Customer Experience Centre
Whirlpool Canada LP
200 – 6750 Century Ave.
Mississauga, Ontario L5N 0B7
Please include a daytime phone number in your correspondence.
Accessories
Stainless Steel Cleaner and Polish
Order Part Number 31462A
®/™ ©2019 Whirlpool.
Used under license in Canada.
All rights reserved.

































