Whirlpool UVL5430JSS 30 Inch (76.2 Cm) Range Hood Liner

30″ (76.2 CM) RANGE HOOD LINER
Installation Instructions and Use & Care Guide
IMPORTANT: READ AND SAVE THESE INSTRUCTIONS. FOR RESIDENTIAL USE ONLY.
RANGE HOOD SAFETY
- Your safety and the safety of others are very important.
We have provided many important safety messages in this manual and on your appliance. Always read and obey all safety messages.
This is the safety alert symbol. - This symbol alerts you to potential hazards that can kill or hurt you and others.
- All safety messages will follow the safety alert symbol and either the word “DANGER” or “WARNING.” These words mean:
- DANGER: You can be killed or seriously injured if you don’t immediately follow instructions.
- WARNING: You can be killed or seriously injured if you don’t follow instructions.
All safety messages will tell you what the potential hazard is, tell you how to reduce the chance of injury, and tell you what can happen if the instructions are not followed.
IMPORTANT SAFETY INSTRUCTIONS
WARNING: TO REDUCE THE RISK OF FIRE, ELECTRIC SHOCK, OR INJURY TO PERSONS, OBSERVE THE FOLLOWING:
- Use this unit only in the manner intended by the manufacturer. If you have questions, contact the manufacturer.
- Before servicing or cleaning the unit, switch power off at service panel and lock the service disconnecting means to prevent power from being switched on accidentally. When the service disconnecting means cannot be locked, securely fasten a prominent warning device, such as a tag, to the service panel.˜
- Installation work and electrical wiring must be done by qualified person(s) in accordance with all applicable codes and standards, including fire-rated construction.
- Do not operate any fan with a damaged cord or plug. Discard fan or return to an authorized service facility for examination and/or repair.
- Sufficient air is needed for proper combustion and exhausting of gases through the flue (chimney) of fuel burning equipment to prevent backdrafting. Follow the heating equipment manufacturer’s guideline and safety standards such as those published by the National Fire Protection Association (NFPA), the American Society for Heating, Refrigeration and Air Conditioning Engineers (ASHRAE), and the local code authorities.
- When cutting or drilling into wall or ceiling; do not damage electrical wiring and other utilities.
- Ducted fans must always be vented outdoors. CAUTION: For general ventilating use only. Do not use to exhaust hazardous or explosive materials and vapors. CAUTION: To reduce risk of fire and to properly exhaust air, be sure to duct air outside – do not vent exhaust air into spaces within walls or ceilings, attics or into crawl spaces, or garages.
WARNING: TO REDUCE THE RISK OF FIRE, USE ONLY METAL DUCTWORK.
WARNING: TO REDUCE THE RISK OF A RANGE TOP GREASE FIRE:
- Never leave surface units unattended at high settings. Boilovers cause smoking and greasy spillovers that may ignite. Heat oils slowly on low or medium settings.
- Always turn hood ON when cooking at high heat or when flambeing food (i.e. Crepes Suzette, Cherries Jubilee, Peppercorn Beef Flambé).
- Clean ventilating fans frequently. Grease should not be allowed to accumulate on fan or filter.
- Use proper pan size. Always use cookware appropriate for the size of the surface element.
WARNING: TO REDUCE THE RISK OF INJURY TO PERSONS IN THE EVENT OF A RANGE TOP GREASE FIRE, OBSERVE THE FOLLOWING:a
- SMOTHER FLAMES with a close fitting lid, cookie sheet, or metal tray, then turn off the burner. BE CAREFUL TO PREVENT BURNS. If the flames do not go out immediately, EVACUATE AND CALL THE FIRE DEPARTMENT.
- NEVER PICK UP A FLAMING PAN – you may be burned.
- DO NOT USE WATER, including wet dishcloths or towels -a violent steam explosion will result.
- Use an extinguisher ONLY if:
- You know you have a class ABC extinguisher, and you already know how to operate it.
- The fire is small and contained in the area where it started.
- The fire department is being called.
- You can fight the fire with your back to an exit.
Based on “Kitchen Fire Safety Tips” published by NFPA.
WARNING: To reduce the risk of fire or electrical shock, do not use this fan with any solid-state speed control device.
READ AND SAVE THESE INSTRUCTIONS
INSTALLATION REQUIREMENTS
Tools and Parts
Gather the required tools and parts before starting installation. Read and follow the instructions provided with any tools
Tools needed
- Level
- Drill
- 1/8″ (3 mm) drill bit
- Pencil
- Pliers
- Tape measure or ruler
- Caulking gun and weatherproof caulking compound Phillips screwdriver
- Flat-blade screwdriver
- Saber or keyhole saw
- Vent clamps
- Metal snips
Parts needed
- 6″ (15.2 cm) round metal vent system
For vented installations, you will need: - 1 wall or roof cap
For non-vented (recirculating) installations, you will also need: - Recirculation Kit. See the “Assistance or Service” section to order.
Parts supplied
Remove parts from packages. Check that all parts are included.
- Damper
- Hardware package. Includes:
- Installation Instructions and Use and Care Guide
- 2 mounting brackets
- 6 spacers
- 10 – 4.5 x 13 mm wood screws
- 2 – 4.2 x 15 mm machine screws
- 8 – 4.2 x 19 mm sheet metal screws
- 2 – 3.5 x 9.5 mm sheet metal screws
- 1 – 30″ x 12″ (76.2 cm x 30.5 cm) face panel
- T10 TORX®† adapter
- 8 – metal washers
- 8 – plastic washers
Location Requirements
IMPORTANT: Observe all governing codes and ordinances. installer’s responsibility to comply with installation clearances
- Range hood location should be away from strong draft areas, such as windows, doors, and strong heating vents.
- Cabinet opening dimensions that are shown must be used. Given dimensions provide minimum clearance. Consult your cooktop/range manufacturer installation instructions before making any cutouts.
- This range hood is recommended for use with cooktops with a maximum total rating of 65,000 BTUs or less.
- Grounded electrical outlet is required. See the “Electrical Requirements” section.
- The range hood is factory set for vented installations through the roof or wall. For non-vented (recirculating) installations see “Non- the “Prepare Location” section. Recirculation Kit; See the “Assistance or Service” section to order.
- All openings in ceiling and wall where range hood will be installed must be sealed.
For Mobile Home Installations
The installation of this range hood must conform to the Manufactured Home Construction Safety Standards, Title 24 CFR, Part 328 (formerly the Federal Standard for Mobile Home Construction and Safety, title 24, HUD, Part 280) or when such standard is not applicable, the standard for Manufactured Home Installation 1982 (Manufactured Home Sites, Communities and Setups) ANSI A225.1/NFPA 501A, or latest edition, or with local codes.
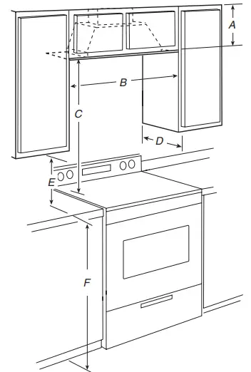
Product Dimensions
Cabinet Dimensions
- A. 12″ (30.5 cm) minimum upper cabinet height
- B. 30″ (76.2 cm) or 36″ (91.4 cm) cabinet opening width*
- C. 24″ (61.0 cm) minimum from electric cooking surface, 30″ (76.2 cm) minimum from gas cooking surface, 36″ (91.4 cm) suggested maximum bottom of cabinet to cooking surface
- D. 12″ (30.5 cm) cabinet depth*
- E. 15″ (38.1 cm) minimum clearance upper cabinet to countertop
- F. 36″ (91.4 cm) base cabinet height
NOTE: 30″ (76.2 cm) cabinet width can be 12″ (30.5 cm) deep or 18″ (45.7 cm) deep cabinets. 36″ (91.4 cm) cabinet width requires 18″ (45.7 cm) deep cabinets. For 18″ (45.7 cm) deep cabinets, an optional Face Panel Rear Extension (30″ [76.2 cm]) or Face Panel (36″ [91.4 cm]) must be purchased separately. See the “Assistance and Service” section to order.
Venting Requirements (vented models only)
- Vent system must terminate to the outside, except for non-vented (recirculating) installations.
- Do not terminate the vent system in an attic or other enclosed area.
- Do not use a 4″ (10.2 cm) laundry-type wall cap.
- Use metal vent only. A rigid metal vent is recommended. Plastic or metal foil vent is not recommended.
- The length of the vent system and number of elbows should be kept to a minimum to provide efficient performance.
For the most efficient and quiet operation:
- Use no more than three 90° elbows.
- Make sure there is a minimum of 24″ (61.0 cm) of straight vent between the elbows if more than one elbow is used.
- Do not install two elbows together.
- The vent system must have a damper.
- Use clamps to seal all joints in the vent system.
- Use caulking to seal exterior wall or roof opening around the cap.
- The size of the vent should be uniform.
Cold weather installations
An additional back draft damper should be installed to minimize to minimize conduction of outside temperatures as part of the vent system. The damper should be on the cold air side of the thermal break. The break should be as close as possible to where the vent system enters the heated portion of the house.
Makeup air
Local building codes may require the use of makeup air systems when using ventilation systems with greater than specified CFM of air movement. The specified CFM varies from locale to locale. Consult your HVAC professional for specific requirements in vour area
Venting Methods
This range hood is factory set for venting through the roof or through the wall. The vent system needed for installation is not included.
Calculate Vent System Length
The recommended vent system is 6″ (15.2 cm) round vent with a maximum length of 35 ft (10.7 m). For the best performance, use no more than three 90° elbows.
To calculate the length of the system, add the equivalent feet (meters) for each of the vent pieces used in the system.

Example vent system: 6″ (15.2 cm)
Non-Vented (recirculating) Installations Through the Soffit/Cabinet
If it is not possible to vent cooking fumes and vapors to the outside, the range hood can be used in the non-vented Kit, See the “Assistance or Service” section to order.
NOTE: 12″ (30.5 cm) high cabinets without a soffit may allow the 6″ (15.2 cm) vent and vent cover to be seen.
WARNING
Electrical Shock Hazard
- Plug into a grounded 3 prong outlet.
- Do not remove ground prong.
- Do not use an adapter.
- Do not use an extension cord.
- Failure to follow these instructions can result in death, fire, or electrical shock.
IMPORTANT: The range hood must be electrically grounded in accordance with local codes and ordinances, or in the absence of local codes, with the National Electrical Code, ANSI/NFPA 70 (latest edition) or Canadian Electrical Code, CSA C22.1 No. 0-M91 (latest edition).
If codes permit and a separate ground wire is used, it is recommended that a qualified electrical installer determine that the ground path is adequate.
A copy of the above code standards can be obtained from:
National Fire Protection Association 1 Batterymarch Park
Quincy, MA 02169-7471
CSA International
8501 East Pleasant Valley Road Cleveland, Ohio 44131-5575
- A 120 V, 60 Hz, AC only, 15 or 20 A, fused electrical circuit is required. A time-delay fuse or circuit breaker is also recommended. It is recommended that a separate circuit serving only this range hood be provided.
- This range hood is equipped with a power supply cord having a 3 prong grounding plug.
- To minimize possible shock hazard, the cord must beplugged into a mating, 3 prong, grounding-type outlet, grounded in accordance with local codes and ordinances. If a mating outlet is not available, it is the personal responsibility and obligation of the customer to have the properly grounded outlet installed by a qualified electrician.
- The grounded 3 prong outlet is to be located inside the cabinet above the range hood at a maximum distance of 337/16″ (85.0 cm) from where the power cord exits the hood. The grounded 3 prong outlet must be accessible after installation of the range hood. See illustration.

GROUNDING INSTRUCTIONS
- For a grounded, cord-connected range hood:
This range hood must be grounded. In the event of an electrical short circuit, grounding reduces the risk of electric shock by providing an escape wire for the electric current. This range hood is equipped with a cord having a grounding wire with a grounding plug. The plug must be plugged into an outlet that is properly installed and grounded.
WARNING: Improper grounding can result in a risk of electric shock.
Consult a qualified electrician if the grounding instructions are not completely understood, or if doubt exists as to whether the range hood is properly grounded.
Do not use an extension cord. If the power supply cord is too short, have a qualified electrician install an outlet near the range hood.
SAVE THESE INSTRUCTIONS
INSTALLATION INSTRUCTIONS
Prepare Location
- It is recommended that the vent system be installed before the range hood is installed.
- Before making cutouts, make sure there is proper clearance within the ceiling or wall for vent fittings.
- Making the cutout to the bottom of the cabinet may be easier to do prior to mounting the cabinet to the wall.
- Disconnect power.
- Determine which venting method to use: roof, wall, or non-vented.
- Select a flat surface for assembling the range hood. Place covering over that surface.
WARNING
Excessive Weight Hazard
Use two or more people to move and install range hood.
Failure to do so can result in back or other injury. - Using two or more people, lift range hood onto covered surface.
Range Hood Cabinet Cutout
- Use a saber saw or keyhole saw to cut out the cabinet bottom inside the cabinet frame.
NOTE: Frameless type cabinets require 3/4″ (19 mm) front lip in the cabinet bottom. A 3/4″ (19 mm) thick filler strip (not supplied) may be required for some types of cabinets. (See Step 3 in the “Install Range Hood” section.)
- Complete cabinet preparation following the instructions for your type of venting. Determine venting cutout locations and cut out vent openings in the cabinets, walls, and/or soffit.
Venting Outside Through the Roof
Measure and mark the lines as shown. Use a saber saw or keyhole saw to cut an opening through the top of the cabinet and the roof for the vent.
Go to Step 3.
* NOTE: For 12″ (30.5 cm) high cabinets, a 61/4″ deep x 8″ wide (14.6 cm x 20.3 cm) rectangular opening in the cabinet top is required for damper transition clearance.
Venting Outside Through the Wall
Install the 6″ (15.2 cm) vent transition to the top of the range hood liner using two 3.5 x 9.5 mm screws. Assemble the vent duct that you will use over the 6″ (15.2 cm) vent transition. Measure from the bottom of the range hood liner to the horizontal centerline of the vent opening (A).
Remove the vent duct from the range hood liner.
Transfer measurement A to the cabinet back wall. Measure from the underside of the cabinet. Mark the cutout as shown. Use a saber saw or keyhole saw to cut a round opening through the back of the cabinet and the exterior wall for Go to Step 3.
Non-Vented (recirculating) Installation Through the Soffit/Cabinet
Measure and mark the centerline of the cabinet to the Measure from the bottom of the cabinet to the centerline of location and use a saber saw or keyhole saw to cut a 53/4″ (14.6 cm) hole for the vent cover.
Measure and mark the centerline location for the cutout in the cabinet top. Use a saber saw or keyhole saw to cut an opening for the vent.
For non-vented (recirculating) installations only, the range hood can be vented indoors through the top of the cabinet. are necessary. See the “Range Hood Care” section for Recirculation Kit. See the “Assistance or Service” section to order.
Complete Preparation
- If not yet attached, install the 6″ (15.2 cm) vent transition the top of the range hood liner using two 3.5 x 9.5 mm screws.

- Locate side mounting bracket flush to the bottom of the cabinet side and against the inside of the front cabinet face. Orient the bracket depending on the width of your cabinet as depicted in the diagrams below. Drill 1/8″ (3 mm) pilot holes in six places, attach a bracket using three 4.5 x 13 mm screws to each side of the cabinet, and tighten. Additional washers in hardware package are supplied as spacers for cabinet walls thinner than 1/2″ (13 mm).
Bracket Orientation for 30″ (76.2 cm) Cabinet
A. 30″ (76.2 cm) cabinet
B. Screws: 4.5 x 13 mm (6)
C. Washers (optional)
D. Mounting bracket (2) (position for 30″ [76.2 cm] cabinet)
Bracket Orientation for 36″ (91.4 cm) cabinet
A. 36″ (91.4 cm) cabinet
B. Screws: 4.5 x 13 mm (6)
C. Washers (optional)
D. Mounting bracket (2) (position for 36″ [91.4 cm] cabinet) - Install the vent system according to the method needed. Use caulking to seal the exterior wall or roof opening.
Install Range Hood
WARNING
Excessive Weight Hazard
Use two or more people to move and install range hood.
Failure to do so can result in back or other injury.
- Using two or more people, lift the hood liner into its mounted location. Attach with four 4.2 x 19 mm screws into the slotted openings. Do not tighten screws.

- If needed, insert spacers between each side of the canopy and the mounting plate to space and center the canopy in the cabinet. Align the bottom of the canopy with the bottom of the cabinet. Install four 4.2 x 19 mm screws into the round mounting plate openings and tighten all eight mounting screws.
- (For some installations): A filler strip may be required for some cabinets. Install a filler strip and secure with two 4.5 x 13 mm screws from inside the front of the hood liner assembly.

- Remove the metal grease filters from the face panel. See the “Range Hood Care” section.
- Attach the face panel to the hood liner. (Three sizes:
The 30″ x 12″ [76.2 cm x 30.5 cm] cabinet size is shown.) See instruction below for your specific cabinet size.
For cabinet size: 30″ x 12″ (76.2 cm x 30.5 cm)- Attach the 30″ x 12″ (76.2 cm x 30.5 cm) face panel (supplied with range hood) to the hood liner using four 3.5 x 9.5 mm flat-head screws and two 4.2 x 15 mm truss head screws. Tighten to secure.
For cabinet size: 30″ x 18″ (76.2 cm x 45.7 cm) - Assemble the 30″ x 6″ (76.2 cm x 15.2 cm) face panel rear extension (see the “Assistance or Service” section to order) to the 30″ x 12″ (76.2 cm x 30.5 cm) face panel (supplied with the range hood) using eight 4.2 x 8 mm screws (supplied with the face panel rear extension).
Attach the 30″ x 18″ (76.2 cm x 45.7 cm) face panel assembly to the hood liner using four 3.5 x 9.5 mm flat-head screws and two 4.2 x 15 mm truss head screws. Tighten to secure.
For cabinet size: 36″ x 18″ (91.4 cm x 45.7 cm) - Attach the 36″ x 18″ (91.4 cm x 45.7 cm) face panel (see the “Assistance or Service” section to order) to the hood liner using four 3.5 x 9.5 mm flat-head screws and two 4.2 x 15 mm truss head screws. Tighten to secure. Connect the lamp electrical connector.
- Attach the 30″ x 12″ (76.2 cm x 30.5 cm) face panel (supplied with range hood) to the hood liner using four 3.5 x 9.5 mm flat-head screws and two 4.2 x 15 mm truss head screws. Tighten to secure.
Connect the Vent System
Vented Installations
- Connect the vent system to the range hood vent opening. Seal the connection with clamps.
Non-Vented (recirculating) Installations
- Connect the vent system to the range hood vent opening. Seal the connection with clamps.
- Install vent cover.
- Install charcoal filters. See the “Range Hood Care” section. To order replacement kits, see the “Assistance or Service” section.
Complete Installation
- Replace grease filters. See the “Range Hood Care” section.
WARNING
Electrical Shock Hazard- Plug into a grounded 3 prong outlet.
- Do not remove ground prong.
- Do not use an adapter.
- Do not use an extension cord.
- Failure to follow these instructions can result in death, fire, or electrical shock.
- Plug 3 prong power cord into a grounded 3 prong outlet located inside the cabinet above the range hood.
- Check the operation of the range hood fan and light. See the “Range Hood Use” section.
If range hood does not operate, check to see whether a circuit breaker has tripped or a household fuse has blown. Disconnect power and check wiring connections.
NOTE: To get the most efficient use from your new range hood, read the “Range Hood Use” section. - Install the cabinet doors to the cabinet. Use the assembly instructions that come with the cabinet.
RANGE HOOD USE
The range hood is designed to remove smoke, cooking vapors, and odors from the cooktop area. For best results, start the hood before cooking and allow it to operate several minutes after the cooking is complete to clear all smoke and odors from The hood controls are located on the center of the front of the range hood liner.
Range Hood Controls
Operating the Light
The On/Off light button controls all lights. Press once for on and again for off.
Operating the Blower
The Blower Speed buttons turn the blower on and control the blower speed and sound level for quiet operation. The speed can be changed anytime during fan operation by pressing the desired blower speed button. Press the Blower Off button a second time to turn off the blower.
RANGE HOOD CARE
Cleaning
IMPORTANT:
before operating hood.
Exterior Surfaces:
To avoid damage to the exterior surface, do not use steel wool
Always wipe dry to avoid water marks.
Cleaning Method:
- Liquid detergent soap and water, or all-purpose cleanser
- Wipe with damp soft cloth or nonabrasive sponge
Metal Grease Filter
The filters should be washed frequently. Place metal filters in dishwasher or hot detergent solution to clean. Let filter dry thoroughly before replacing it. Turn off fan and lights. Allow halogen lamp to cool.
- Remove each filter by pulling the spring release handle and then pulling down the filter.

- Wash metal filters as needed in dishwasher or hot detergent solution. Reinstall the filter by making sure the spring release handles
- are toward the front. Insert metal grease filter into upper track.
- Pull the spring release handle down.
- Push up on metal filter and release handle to latch into place. 6. Repeat steps 1-5 for the other filter.
Non-Vented (recirculating) Installation Filters
The charcoal filter is not washable. It should last up to 6 months with normal use.
NOTE: When used in recirculation mode, To Reduce the Risk of Fire and Shock use only convertion kit Models:
Charcoal Filter Kit W10272068
Recirculation Kit W10490330 To replace charcoal filter:
- Cover the grille that covers the blower motor with the charcoal filter so that the slots on the filter correspond to the pins on the sides of the motor grille.

- DT 2. Turn the charcoal filter clockwise to lock it.
- Repeat steps 1-2 on the other filter.
Replacing LED Lamp
Turn off the range hood and allow the LED lamp to cool. To avoid damage or decreasing the life of the new bulb, do not touch bulb with bare fingers. Replace bulb, using tissue or wearing cotton gloves to handle bulb. If new lamps do not operate, make sure the lamps are inserted correctly before caling service.
- Disconnect power.
- Push up on the lens and turn it counterclockwise.

- Remove the bulb and replace it with a 120 V, 6.5 W maximum LED bulb with a GU10 base. Turn it clockwise to lock it into place.
- Repeat steps 2-3 for the other bulb if needed.
- Reconnect power.
WIRING DIAGRAM

ASSISTANCE OR SERVICE
If you need service
Please refer to the warranty.
If you need replacement parts
If you need to order replacement parts, we recommend that you use only factory specified parts. Factory specified parts will fit right and work right because they are made with the same precision used to build every new appliance.
To locate factory specified replacement parts in your area, call the following customer assistance telephone number or your nearest designated service center.
In the U.S.A.
Call the Whirlpool Customer eXperience Center toll-free: 1-866-698-2538 or visit our website at www.whirlpool.com. Our consultants provide assistance with:
- Scheduling of service. Whirlpool designated service technicians are trained to fulfill the product warranty and provide after-warranty service anywhere in the United States.
- Features and specifications on our full line of appliances.
- Referrals to local dealers.
- Installation information.
- Use and maintenance procedures.
- Accessory and repair parts sales.
- Specialized customer assistance (Spanish speaking, hearing impaired, limited vision, etc.).
For further assistance
If you need further assistance, you can write to Whirlpool Corporation with any questions or concerns at:
Whirlpool Brand Home Appliances Customer eXperience Center 553 Benson Road
Benton Harbor, MI 49022-2692
Please include a daytime phone number in your correspondence.
In Canada
Call the Whirlpool Canada LP Customer eXperience Centre toll-free: 1-800-807-6777 or visit our website www.whirlpool.ca.
Our consultants provide assistance with:
- Scheduling of service. Whirlpool designated service technicians are trained to fulfill the product warranty and provide after-warranty service anywhere in Canada.
- Features and specifications on our full line of appliances.
- Referrals to local Whirlpool dealers.
- Use and maintenance procedures.
- Accessory and repair parts sales.
- Referrals to local dealers, repair parts distributors, and service companies.
For further assistance
If you need further assistance, you can write to Whirlpool Canada LP with any questions or concerns at:
Whirlpool Brand Home Appliances Customer eXperience Centre Whirlpool Canada LP
200 – 6750 Century Ave. Mississauga, Ontario L5N 0B7
Please include a daytime phone number in your correspondence.
Accessories
Recirculation Kit
(for non-vented installations only)
Order Part Number W10490330
Replacement Charcoal Filters
(for non-vented installations only)
Order Part Number W10272068
Face Panel Rear Extension
(for 30″ x 18″ [76.2 cm x 45.7 cm] cabinet) Order Part Number W10490327
Face Panel
(for 36″ x 18″ [91.4 cm x 45.7 cm] cabinet) Order Part Number W10490310





A. 30″ (76.2 cm) cabinet
A. 36″ (91.4 cm) cabinet

For cabinet size: 30″ x 12″ (76.2 cm x 30.5 cm)
Attach the 30″ x 18″ (76.2 cm x 45.7 cm) face panel assembly to the hood liner using four 3.5 x 9.5 mm flat-head screws and two 4.2 x 15 mm truss head screws. Tighten to secure.






















