GE UVW7241SNSS RANGE HOOD User Manual

THANK YOU FOR MAKING GE APPLIANCES A PART OF YOUR HOME. Whether you grew up with GE Appliances, or this is your first, we’re happy to have you in the family. We take pride in the craftsmanship, innovation, and design that goes into every GE Appliances product, and we think you will too. Among other things, registration of your appliance ensures that we can deliver important product information and warranty details when you need them. Register your GE appliance now online. Helpful websites and phone numbers are available in the Consumer Support section of this Owner’s Manual. You may also mail in the pre-printed registration card included in the packing material.
IMPORTANT SAFETY INFORMATION READ ALL INSTRUCTIONS BEFORE USING
WARNING TO REDUCE THE RISK OF FIRE, ELECTRIC SHOCK, OR INJURY TO PERSONS, OBSERVE THE FOLLOWING:
- Use this unit only in the manner intended by the manufacturer. If you have questions, contact the manufacturer.
- Before servicing or cleaning the unit, switch the power off at the service panel and lock the service disconnecting means to prevent power from being switched on accidentally. When the service disconnects mean cannot be locked, securely fasten a prominent warning device, such as a tag, to the service panel.
- Do not use this unit with any solid-state speed control device.
- This unit must be grounded.
CAUTION FOR GENERAL VENTILATING USE ONLY. DO NOT USE IT TO EXHAUST HAZARDOUS OR EXPLOSIVE MATERIALS AND VAPORS.
CAUTION TO REDUCE THE RISK OF FIRE AND TO PROPERLY EXHAUST AIR, BE SURE TO DUCT AIR OUTSIDE. DO NOT VENT EXHAUST AIR INTO SPACES WITHIN WALLS OR CEILINGS OR INTO ATTICS, CRAWL SPACES, OR GARAGES.
WARNING TO REDUCE THE RISK OF INJURY TO PERSONS IN THE EVENT OF A RANGE OF TOP GREASE FIRES, OBSERVE THE FOLLOWING*:
- SMOTHER FLAMES with a close-fitting lid, cookie sheet, or metal tray, then turn off the burner. BE CAREFUL TO PREVENT BURNS. If the flames do not go out immediately, EVACUATE AND CALL THE FIRE DEPARTMENT.
- NEVER PICK UP A FLAMING PAN—You may be burned.
- DO NOT USE WATER, including wet dishcloths or towels—a violent steam explosion will result.
- Use an extinguisher ONLY if:
- You know you have a Class ABC extinguisher, and you already know how to operate it.
- The fire is small and contained in the area where it started.
- The fire department is being called.
- You can fight the fire with your back to an exit. Based on “Kitchen Fire Safety” published by NFPA.
WARNING TO REDUCE THE RISK OF A RANGE TOP GREASE FIRE
- Never leave surface units unattended at high settings. Boilovers cause smoking and greasy spillovers that may ignite. Heat oils slowly in medium settings.
- Always turn the hood ON when cooking at high heat or when flambéing food (i.e. Crepes Suzette, Cherries Jubilee, Peppercorn Beef Flambé).
- Clean ventilating fans frequently. Grease should not be allowed to accumulate on the fan or filter.
- Use proper pan size. Always use cookware appropriate for the size of the surface element.
WARNING TO REDUCE THE RISK OF FIRE, ELECTRIC SHOCK, OR INJURY TO PERSONS, OBSERVE THE FOLLOWING
- Installation work and electrical wiring must be done by a qualified person(s) in accordance with all applicable codes and standards, including fire-rated construction.
- Sufficient air is needed for proper combustion and exhausting of gases through the flue (chimney) of fuel-burning equipment to prevent back drafting. Follow the heating equipment manufacturer’s guidelines and safety standards such as those published by the National Fire Protection Association (NFPA), the American Society for
Heating, Refrigeration, and Air Conditioning Engineers (ASHRAE) and the local code authorities When cutting or drilling into a wall or ceiling, do not damage electrical wiring and other hidden utilities. - Ducted fans must always be vented to the outdoors.
- When applicable, install any makeup (replacement) air system in accordance with local building code requirements. Visit GEAppliances.com for available makeup air solutions.
- Turn off the breaker to adjacent rooms while working.
WARNING TO REDUCE THE RISK OF FIRE, USE ONLY METAL DUCTWORK hood unless it is specifically recommended in this manual. All other servicing should be referred to a qualified technician.
How to Remove Protective Shipping Film and Packaging Tape
Carefully grasp a corner of the protective shipping film with your fingers and slowly peel it from the appliance surface. Do not use any sharp items to remove the film. Remove all of the films before using the appliance for the first time. To assure no damage is done to the finish of the product, the safest way to remove the adhesive from packaging tape on new appliances is an application of a household liquid dishwashing detergent. Apply with a soft cloth and allow to soak.
NOTE: The adhesive must be removed from all parts.
NOTE: For further cleaning instructions/suggestions, please refer to the Care And Cleaning section.
Features
The range hood is designed to remove smoke, cooking vapors, and odors from the cooktop area. For best results, start the hood before cooking and allow it to operate 15 minutes after the cooking is complete to clear all smoke and odors from the kitchen.
Duct cover- Control panel
- Glass canopy
- Lamp cover
- Halogen Bulb
- Grease filter release
- Grease filter
Controls

- Power/Off – Turns the blower on and off.
- Speed 1 – Blower speed HI
- Speed 2 – Blower speed Medium
- speed 3 – Blower speed Lo
- Light – The light button controls both lights. Press once for On and again for Off.
Care and Cleaning
IMPORTANT: Clean the hood and grease filters frequently according to the following instructions. Replace grease filters before operating the hood.
EXTERIOR SURFACES: To avoid damage to the exterior surface, do not use steel wool or soap-filled scouring pads. Always wipe dry to avoid water marks.
Cleaning Method:
- Liquid detergent soap and water, or all-purpose cleaner
- Wipe with a damp soft cloth or nonabrasive sponge, then rinse with clean water and wipe dry.
METAL GREASE FILTER
- Push up on the middle, right side of the decorative glass to open the door.

- Remove the metal filter.
- Wash metal filters as needed in the dishwasher or hot detergent solution.
- Replace metal grease filters.
CHARCOAL FILTER
The charcoal filter is not washable. It should last up to 6 months with normal use.
To replace the charcoal filter:
- Remove the metal grease filter from the range hood. See “Metal Grease Filter” in this section.

- Bend spring clips away from the metal grease filter.
- Place the charcoal filter on the top side of the metal filter.
- Bend spring clips back into place to secure the charcoal filter to the metal filter.
- Replace the metal grease filter. See “Metal Grease Filter” in this section.
REPLACING A LAMP
Turn off the range hood and allow the lamp to cool. To avoid damage or decreasing the life of the new bulb, do not touch the bulb with bare fingers. Replace the bulb, using
tissue or wearing cotton gloves to handle the bulb. If new lamps do not operate, make sure the lamps are inserted correctly before calling service.
- Disconnect power.
- Use a flat-blade screwdriver to pry open the light cover.
- Avoid contact with skin, replace the used bulb with a new halogen bulb, of the same size, shape, and wattage.

- Replace the light shield and snap closed.
- Reconnect power.
Installation Instructions
“If you have questions, call GE Appliances at 800. GE.CARES (800.432.2737) or visit our website at: GEAppliances.com”
BEFORE YOU BEGIN
Read these instructions completely and carefully.
- IMPORTANT — Save these instructions for the local inspector’s use.
- IMPORTANT — Observe all governing codes and ordinances.
- Note to Installer – Be sure to leave these instructions with the Consumer.
- Note to Consumer – Keep these instructions for future reference.
- Skill level – Installation of this vent hood requires basic mechanical and electrical skills.
- Completion time – Approximately 1 to 3 hours
- Proper installation is the responsibility of the installer.
- Product failure due to improper installation is not covered under the Warranty.
CAUTION Due to the weight and size of these vent hoods and to reduce the risk of personal injury or damage to the product, TWO PEOPLE ARE REQUIRED FOR PROPER INSTALLATION
FOR YOUR SAFETY
WARNING Before beginning the installation, switch the power off at the service panel and lock the service disconnecting means preventing power from being switched on accidentally. When the service disconnecting means cannot be locked, securely fasten a prominent warning device, such as a tag, to the service panel
WARNING TO REDUCE THE RISK OF FIRE, ELECTRIC SHOCK, OR INJURY TO PERSONS, OBSERVE THE FOLLOWING
- Installation work and electrical wiring must be done by a qualified person(s) in accordance with all applicable codes and standards, including fire-rated construction.
- Sufficient air is needed for proper combustion and exhausting of gases through the flue (chimney) of fuel-burning equipment to prevent back drafting. Follow the heating equipment manufacturer’s guidelines and safety standards such as those published by the National Fire Protection Association (NFPA), the American Society for Heating, Refrigeration, and Air Conditioning Engineers (ASHRAE), and the local code authorities.
- When cutting or drilling into a wall or ceiling, do not damage electrical wiring and other hidden utilities.
- Ducted fans must always be vented to the outdoors.
- Turn off the breaker to adjacent rooms while working.
WARNING TO REDUCE THE RISK OF FIRE, USE ONLY METAL DUCT WORK.
WARNING Disconnect all electrical power at the main circuit breaker or fuse box before installing.
Installation Preparation
PRODUCT DIMENSIONS

LOCATION REQUIREMENTS
IMPORTANT: Observe all governing codes and ordinances. Have a qualified technician install the range hood. It is the installer’s responsibility to comply with installation clearances specified on the model/serial rating plate. The model/serial rating plate is located behind the left filter on the rear wall of the vent hood. The canopy hood location should be away from strong draft areas, such as windows, doors, and strong heating vents. A grounded electrical outlet is required. See the “Electrical Requirements” section.
The canopy hood is factory set for venting through the roof or wall. For non-vented (recirculating) Installation see “For non-vented (recirculating) installation only” in the “Connect Vent System” section. All openings in the ceiling and wall where the canopy hood will be installed must be sealed.
FOR MOBILE HOME INSTALLATIONS
The installation of this range hood must conform to the Manufactured Home Construction Safety Standards, Title 24 CFR, Part 328 (formerly the Federal Standard for Mobile Home Construction and Safety, Title 24, HUD, Part 280) or when the such standard is not applicable, the standard for Manufactured Home Installation 1982 (Manufactured Home Sites, Communities and Setups) ANSI A225.1/NFPA 501A, or latest edition, or with local codes.
TOOLS AND MATERIALS REQUIRED
(NOT SUPPLIED)
Gather the required tools and parts before starting installation. Read and follow the instructions provided with any tools listed here.
Tools needed
- Level
- Drill with 1-1/4” (3.0 cm), 1/8” (3.2 mm), and 5/16” (7.9 mm) drill bits
- Pencil
- Wire stripper or utility knife
- Tape measure or ruler
- Pliers
- A caulking gun and weatherproof caulking compound
- Vent clamps
- Jigsaw or keyhole saw
- Flat-blade screwdriver
- Metal snips
- Phillips screwdriver
- Metric hex key set
For non-vented (recirculating) installations, you will also need:- 6” (15.2 cm) dia. round metal vent duct – length required is determined by the ceiling height.
PARTS SUPPLIED
Remove parts from packages. Check that all parts are included.
- 120 V power cord with 3 prong plug
- Hood canopy assembly with blower, vent transition, light bulb, and canopy glass already installed
- Metal grease filter
- Vent cover support bracket
- Mounting template
- 2-piece vent cover
- 4 – 4 x 8 screws
- 6 – 5 x 45 mm mounting screws
- 2 – 8 x 40 mm wall anchors
- 4 – 10 x 50 mm wall anchors
ELECTRICAL REQUIREMENTS
Observe all governing codes and ordinances. Ensure that the electrical installation is adequate and in conformance with National Electrical Code, ANSI/NFPA 70 (latest edition), or CSA Standards C22.1-94, Canadian Electrical Code, Part 1 and C22.2 No. 0-M91 (latest edition), and all local codes and ordinances. If codes permit and a separate ground wire is used, it is recommended that a qualified electrician determine that the ground path is adequate. A copy of the above code standards can be obtained from:
- National Fire Protection Association
- 1 Batterymarch Park
- Quincy, MA 02169-7471
- CSA International
- 8501 East Pleasant Valley Road
- Cleveland, OH 44131-5575
It is important to make sure you have the proper electrical connection.
RECOMMENDED GROUNDING
METHOD
A 120-volt, 60 Hz, AC only, 15-amp fused, grounded electrical supply is required. Use an outlet that cannot be turned off by a switch. Do not use an extension cord.
NOTE: Before cleaning, or removing a light bulb, turn the vent hood off, and then disconnect the vent hood from the electrical source. When you are finished, reconnect the vent hood to the electrical source.
PREPARE LOCATION
- It is recommended that the vent system be installed before the hood is installed.
- Before making cutouts, make sure there is proper clearance within the ceiling or wall for the exhaust vent.
- Check your ceiling height and the hood height maximum before you select your hood.
- Disconnect power.
- Determine which venting method to use: roof, wall, or non vented.
- Select a flat surface for assembling the range hood. Place covering over that surface.
WARNING Excessive Weight Hazard Use two or more people to move and install the range hood. Failure to do so can result in death or personal injury. - Using 2 or more people, lift the range hood onto the covered surface.
MOUNT RANGE HOOD TO THE WALL
- Determine and mark the centerline on the wall where the canopy hood will be installed.
- Select a mounting height between a minimum of 24” (61.0 cm) for an electric cooking surface, a minimum of 27” (68.6 cm) for a gas cooking surface, and a suggested maximum of 36” (91.4 cm) above the range to the bottom of the hood. Mark a reference line on the wall.
- Place the vent hood on the wall, adjust to align, and fasten it with screws and screw anchors suited to the wall type (reinforced concrete, plasterboard, etc.)
- Mark the centers of the fastener locations through the template to the wall.
IMPORTANT: All screws must be installed into the wood. If there is no wood to screw into, additional wall framing supports may be required. Remove the template. - Drill 3/16″ (4.8 mm) pilot holes at all locations where screws are being installed into the wood.
- Install the 2 – 5 x 45 mm mounting screws. Leave a 1/4″ (6.4 mm) gap between the wall and the back of the screw head to slide the range hood into place.

VENT COVER BRACKET INSTALLATION
- Attach vent cover bracket to wall flush to the ceiling using 2 – 5 x 45 mm screws.

COMPLETE PREPARATION
- Determine and make all necessary cuts in the wall for the vent system. Install the vent system before installing the hood. See the “Venting Requirements” section.
- Determine the required height for the home power supply cable and drill a 1-1/4” (3.2 cm) hole at this location.
- Run the home power supply cable according to the National Electrical Code or CSA Standards and local codes and ordinances. There must be enough 1/2” conduit and wires from the fused disconnect (or circuit breaker) box to make the connection in the hood’s electrical terminal box.
NOTE: Do not reconnect power until installation is complete. - Use caulk to seal all openings.
INSTALL RANGE HOOD
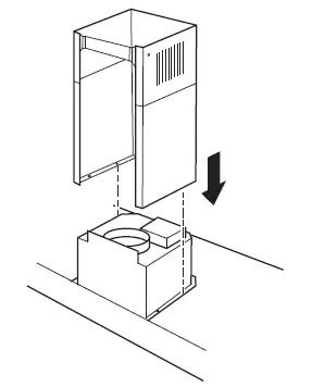
- Using 2 or more people, hang the range hood on 2 mounting screws through the mounting slots on the back of the hood.

- Remove the grease filter. See the Care and Cleaning section.
- Level the range hood and tighten the upper mounting screws.
- Install 2 – 5 x 45 mm lower mounting screws and tighten
CONNECT VENT SYSTEM
For non-vented (recirculating) installation only:
- Assemble the air deflector with the duct cover bracket with 4 – assembly screws provided with the Recirculation Kit.

- Measure from the bottom of the air deflector to the bottom of the hood outlet.

- Cut the duct to the measured size (X).
- Remove the air deflector.
- Slide the duct onto the bottom of the air deflector.
- Place the assembled air deflector and duct over the exhaust outlet from the hood.
- Reassemble the air deflector to the duct cover bracket with 4 assembly screws.
- Seal connections with vent clamps.
MAKE ELECTRICAL CONNECTION
HAZARD
- Plug into a grounded 3-prong outlet
- Do not remove the ground prong
- Do not use an adapter
- Do not use an extension cord. Failure to follow these instructions can result in death, fire, or electrical shock.
- Plug into a grounded 3-prong outlet
COMPLETE INSTALLATION
- For non-vented (recirculating) installations only, install charcoal filters over metal grease filters. See the Care and Cleaning section.
- Install metal filters. See the Care and Cleaning section.
- Check the operation of the range hood blower and light. See the Using the Hood section.
NOTE: To get the most efficient use of your new range hood, read the Using the Hood section.
Troubleshooting tips … Before you call for service
Save time and money! Review the charts on the following pages first and you may not need to call for service. For more help, visit GEAppliances.com or call 800. GE.Cares (800-432-2737).
| Problem | Possible Cause | What To Do |
| Hood doesn’t work | Electric Supply | Check that the hood is plugged into a receptacle. |
| Check that the power is turned on. | ||
| Poor Airflow | Aluminum grease filters are clogged | Clean and dry the filters, and then reassemble |
| Charcoal filters are clogged | Replace the charcoal filters. | |
| Motor running, but no airflow | Butterfly valve jammed | Call for service. |
| After running for a while, the motor stops. | The high temperature safety device is activated. | The kitchen is not sufficiently ventilated. |
| The hood is installed to close to the stove | The hood must be a minimum of 25 5/8” (65 cm) above the stove. | |
| Strong cooking smell | Charcoal filters are not installed | In re-circulating mode, charcoal filters must be installed. |
| Oil dripping onto stove | Oil cup missing or not installed | Replace aluminum filter and replace oil cup. |
| Aluminum grease filter saturated | Wash the aluminum grease filters | |
| Whirring sound | Fan blade problem | Call for service |
GE Appliances Vented Range Hood Warranty
GEAppliances.com
All warranty service is provided by our Factory Service Centers or an authorized Customer Care® technician. To schedule service online, visit us at www.geappliances.com/service_and_support/, or call GE Appliances at 800. GE.CARES (800.432.2737). Please have your serial number and your model number available when calling for service. Servicing your appliance may require the use of the onboard data port for diagnostics. This gives a GE Appliances factory service technician the ability to quickly diagnose any issues with your appliance and helps GE Appliances improve its products by providing GE Appliances with information on your appliance. If you do not want your appliance data to be sent to GE Appliances, please advise your technician not to submit the data to GE Appliances at the time of service.
| For the period of | GE Appliances will replace |
| One year | Any part of the cooking product which fails due to a defect in materials or workmanship. |
| From the date | During this limited one-year warranty, GE Appliances will provide, free of charge, all labor |
| of the original | and related service costs to replace the defective part. |
| purchase |
What GE Appliances will not cover:
- Service trips to your home to teach you how to use the product.
- Improper installation, delivery, or maintenance.
- Failure of the product if it is abused, misused, modified, or used for other than the intended purpose or used commercially.
- Replacement of house fuses or resetting of circuit
- Damage to the product caused by accident, fire, floods, or acts of God.
- Damage to the finish, such as surface rust, tarnish, or small blemishes not reported within 48 hours of delivery.
- Incidental or consequential damage caused by possible defects with this appliance.
- Damage caused after delivery.
- Product not accessible to provide required service.
EXCLUSION OF IMPLIED WARRANTIES
Your sole and exclusive remedy is product repair as provided in this Limited Warranty. Any implied warranties, including the implied warranties of merchantability or fitness for a particular purpose, are limited to one year or the shortest period allowed by law. This warranty is extended to the original purchaser and any succeeding owner for products purchased for home use within the USA. If the product is located in an area where service by a GE Appliances Authorized Servicer is not available, you may be responsible for a trip charge or you may be required to bring the product to an Authorized GE Appliances Service location for service. In Alaska, the warranty excludes the cost of shipping or service calls to your home.
Some states do not allow the exclusion or limitation of incidental or consequential damages. This warranty gives you specific legal rights, and you may also have other rights which vary from state to state. To know what your legal rights are, consult your local or state consumer affairs office or your state’s Attorney General. Warrantor: GE Appliances, a Haier company Louisville, KY 40225 Extended Warranties: Purchase a GE Appliances extended warranty and learn about special discounts that are available while your warranty is still in effect. You can purchase it online anytime at www.geappliances.com/service_and_support/shop-for-extended-service-plans.htm or call 800.626.2224 during normal business hours. GE Appliances Service will still be there after your warranty expires.
Consumer Support
GE Appliances Website
Have a question or need assistance with your appliance? Try the GE Appliances Website 24 hours a day, any day of the year! You can also shop for more great GE Appliances products and take advantage of all our online support services designed for your convenience. In the US: GEAppliances.com
Register Your Appliance
Register your new appliance online at your convenience! Timely product registration will allow for enhanced communication and prompt service under the terms of your warranty, should the need arise. You may also mail in the pre-printed registration card included in the packing material. In the US: GEAppliances.com/register
Schedule Service
Expert GE Appliances repair service is only one step away from your door. Get online and schedule your service at your convenience any day of the year. In the US: GEAppliances.com/service or call 800.432.2737 during normal business hours.
Extended Warranties
Purchase a GE Appliances extended warranty and learn about special discounts that are available while your warranty is still in effect. You can purchase it online anytime. GE Appliances Services will still be there after your warranty expires. In the US: GEAppliances.com/extended-warranty or call 800.626.2224 during normal business hours.
Remote Connectivity
For assistance with wireless network connectivity (for models with remote enable), visit our website at GEAppliances.com/connected-home-smart-appliances/ or call 800.220.6899 in the US.
Parts and Accessories
Individuals qualified to service their own appliances can have parts or accessories sent directly to their homes (VISA, MasterCard, and Discover cards are accepted). Order online today 24 hours every day. In the US: GEApplianceparts.com or by phone at 877.959.8688 during normal business hours. Instructions contained in this manual cover procedures to be performed by any user. Other servicing generally should be referred to qualified service personnel. Caution must be exercised, since improper servicing may cause unsafe operation.
Contact Us
If you are not satisfied with the service you receive from GE Appliances, contact us on our Website with all the details including your phone number, or write to:
In the US: General Manager, Customer Relations | GE Appliances, Appliance Park | Louisville, KY 40225 GEAppliances.com/contac
Download PDF: GE UVW7241SNSS RANGE HOOD User Manual
GE UVW7241SNSS RANGE HOOD User Manual
Duct cover
























