FOTILE EA06C Range Hood

Dear User, thank you for purchasing the Fotile Range Hood. At Fotile, we manufacture exquisite appliances that are expertly crafted with the finest materials. Before using the Fotile Range Hood, please take some time to read through this Product Manual (manual). It will familiarize you with important safety, operation, and maintenance instructions, as well as help maximize your culinary experience.
Before using the Fotile Range Hood, you must follow the instructions, as specified in this manual. Any damage resulting from the improper operation and/or maintenance of the appliance may result in the loss of warranty. The warranty will become invalid, and your warranty application .whether direct or indirect, will not be accepted by the authorized service center of Fotile. If you require a warranty or post-warranty after-sale service, please contact the local authorized service center of Fotile nearest you.
Your satisfaction with the Fotile brand is important to us. Our after-sales service centers provide assistance in resolving issues with Fotile appliances. Product model and serial number are required if you need services.
Product features and specifications are subject to change, at any time, without notice, and may be different from those in this material. Please visit our website at www.fotileglobal.com for the most up-to-date information.
Warning and Safety Instructions
CAUTION: Accessible parts may become hot when used with cooking appliances.
Special version:
Please properly use the appliance, strictly complying with the user manual. FOTI LE company will not bear responsibility for property loss and personal injury due to improper use.
Warning:
The appliance can be used by children aged 8 years and above and persons with the reduced physical. sensory or mental capabilities or lack of experience and knowledge if they have been given supervision or instruction concerning the use of the appliance in a safe way and understand the hazards involved (only for the EU market). Children shall not play with appliances. Cleaning and user maintenance shall not be made by children without supervision.
This appliance is not intended for use by persons (including children) with reduced physical, sensory or mental capabilities, or lack of experience and knowledge unless they have been given supervision or instruction concerning the use of the appliance by a person responsible for their safety.
- Pour out the gathering oil periodically; please wipe the range hood surface once after using the range hood.
- Please frequently clean the range hood surface and oil cup.
- There is a fire risk if cleaning is not carried out in accordance with the instructions.
Strictly execute



Forbidden
- Services guaranteed under warranty must be performed by Fotile certified service provider or personnel. The warranty is not effective for products removed for repair without authorization.
- Adhere to the voltage and frequency settings listed in this manual to avoid possible damage to the range hood.
- When the range hood and appliances supplied with energy other than electricity are simultaneously in operation, the negative pressure in the room must not exceed 4 Pa(4 x 10·5 bar) (only for GERMANY).
- Tempered glass is applied to the products of the company and the tempering treatment of the glass determines the extremely little possibility of spontaneous explosion. If the occurrence of the spontaneous explosion is not due to improper use, our company promises to provide the tempered glass free. The possibility of tempered glass breaking can be significantly increased in the following situations, which should be avoided: For instance, hitting the glass, especially the corners of the glass, with cooking utensils or other hard objects; The glass is impacted when you open a cabinet door around the Range Hood; Put the glass in an extremely hot or cold environment or an environment where heat and cold are excessively alternated.
Usage
Main Technical Specifications
The parameters below are measured with the standard testing method in the ambient conditions specified in national standards.
Note:
- In the “Auto Turbo” mode, the maximum airflow can be 1140m3/h and the noise can be 55dB(A sound pressure level);
- Air flow and air pressure: tolerance between the measured value and expressed value shall not exceed -10% of the expressed value;
- The noise shown in the table is the sound pressure level. Weighted sound power level noise is the sound pressure level noise plus 14 dB.
- The noise in the table is tested in accordance with IEC 60704-3-2006 standard. The airflow in the table is tested in accordance with IEC 61591-2010 standard.
Operation Instruction
Operation Don’ts
- Do not turn the hob when there is nothing to be cooked on it.
- The range hood should not be dismantled when the power supply is connected and the advice is violated.
- Overflow of oil from the oil cup should be prevented;
- Dismantling and inspection by non-professionals should be avoided.
- Do not wash the machine switch with water.
Description of EA06C Control Interface
Power/Lock Screen/Delay shut-off:
When the range hood is off:- Touch the O button, the range hood will enter the standby state, and all buttons and the light band will light up.
- Press the O button for more than 3 seconds, when the range hood makes a “click” sound, all buttons will be locked and will not light up upon touch. Press O for more than 3 seconds again, the Lock Screen function will be disabled, and the buttons will resume function.
When the range hood switches on and the fan do not work:
Touch the O button, and the range hood will shut down.
When the range hood switches on and the fan are working:
Touch the O button, and the range hood will work at the current level for 2 minutes and then shut down. Touch the O button again, and the smoke baffle plate will be automatically closed and the range hood will shut down. The Lock Screen function will be disabled when the fan is working.
The following buttons will work only when the Power button lights up.
- O Cleaning Mode:
Touch this button, and the
indicator light is ON, the smoke baffle plate of the range the hood is opened and the fan stops working, Cleaning mode
and Intelligent Air Management
High/Low Speed
and Auto Turbo
are mutually exclusive. When one of the above three functions is enabled, click the Cleaning mode to exit the corresponding function mode. In cleaning and maintenance mode,
,
and
are invalid.
Ambient Light:
Touch this button, and the
indicator light and the ambient light are ON. The candlelight effect color is displayed by default at the first startup. Touch the button to switch to the next color.
The switching sequence is Quiet-Lighting-Cool-Candlelight. Hold the Ambient Light
for a long time to switch the color effect of the ambient light one by one in sequence. Release the button to stay in the current ambient light effect color. When the ambient light is ON, press the Ambient Light
, the indicator light of ambient light is OFF and the display of the ambient light goes out.
Light:
Touch
the button, the button will light up and the light will turn on brightly. Touch
the button again, and the brightness will decrease. Touch
the button a third time, and the light will switch off.
High/Low Speed:
Touch
the button, the button will light up and the fan will run at a high level. Touch
the button again, the fan will run at a low level. Touch
the button a third time, and the fan will shut down.
Auto Turbo:
Touch this button, the
indicator light is ON and the range hood enters the auto turbo mode, in which the range hood automatically adjusts the required air flow according to the current fume and the resistance of the rear exhaust duct to achieve the best fume suction effect. Press and hold the Auto Turbo Button for 5 seconds, and the hood runs in the highest speed of Auto Turbo mode.
Intelligent Air Management:
Touch this button, the
indicator light is ON and flashing, and the air quality sensor enters a warm-up state. After the warm-up is completed for 2 minutes, the air quality state is detected.
When the air quality is good, the
m indicator light is green and the fan does not work. When the air quality is detected to be relatively poor, the
indicator light turns light red, the fan works and the
indicator light is ON. When the air quality is detected to be poor, the Cl, indicator light turns red, the fan works and the
indicator light is ON.
Cleaning and Maintenance
Warning:
- The range hood may be at risk of fire if it is not cleaned as specified in the Instruction.
- Before cleaning and disassembling the impeller, motor, and power panel of the range hood, be sure to disconnect the power supply of the range hood to avoid electric shock.
- While the range hood is being cleaned, water should be prevented from entering electrical components such as motors and control keys
- When the fan is in operation, it is forbidden to put your hand within the operating area of the fan.
- Gasoline, acids, benzene, solvents, or any other chemicals shall never be used to clean the range hood.
In order to use the range hood more comfortably, the surface of the range hood, oil screen, and oil cup should be frequently cleaned.
Cleaning the surface of the range hood
Warning:
In order to avoid scratching the surface of the range hood, never clean the machine with rough objects such as cleaning baits, brushes, scouring pad,s and coarse cloth.
- The range hood shall only be cleaned with neutral soap or detergent. After cleaning, dry the surface with a soft cloth.
- If the surface of the range hood appears to be smeared, a neutral detergent shall be used to clean the stain and the detergent shall not touch the control keys. Drip the detergent to the stain and leave it on the stain for a moment (the detergent should not stay on the range hood for too long, otherwise damage will be caused to the range hood). Wipe off the stain using a soft rag; remove the detergent with a slightly damp towel, and then dry the body with a soft dry towel.
- Do not leave stains on the surface of the range hood for too long.
- If you accidentally drip salt solution, disinfectant, bleach, and other detergents on the stainless steel panel (most of these detergents contain harmful chemical ingredients), immediately wipe it with a damp cloth and then dry it with a dry cloth.
Others: The product is mainly made of SUS430 stainless steel and sprayed cold rolled steel sheet.
Cleaning of Oil Cup and Oil Screen
- Touch the Dismantling & Washing Mode Button
to open the smoke baffle. As shown in the figure, hold both ends of the oil cup with two hands, keep the oil cup horizontal, slowly move out to the front of the range hood, remove the oil cup, and pour out the accumulated oil. Remove the three oil screen assemblies as shown in the figure (the oil cup and oil screen assemblies may fall off during removal, which will cause damage to the oil cup, oil screen assemblies, and the gas stove below. Please make sure to always hold the oil cup and oil screen assemblies tightly during operation)
Spray detergent (household special dishwasher detergent) on the surface of the oil cup
and oil screen stained with oil stains, clean the oil stains with a cleaning cloth or a soft brush, and rinse with warm water. The three oil screen assemblies can also be cleaned by the dishwasher. Put the oil screen assemblies into the dishwasher to ensure that the spray arm is not obstructed, and use special household dishwashing detergent. - After cleaning and drying the surface, install the three oil screen assemblies back into the machine, and then install the oil cup back into the machine according to Installation Steps 14 and 15.
Suggestion:
- After each operation of the range hood, please wipe the outer surface of the range hood;
- Clean the oil cup and oil screen assemblies once every three months.
Normal Malfunction and Trouble Shooting
- Change the LED light: please contact FOTILE after-sale service center.
- If the range hood still can’t work after getting rid of the above malfunctions, please contact the FOTILE service center.
- The ventilator shall be not allowed to be repaired by any party other than Fotile’s appointed technicians. Otherwise, it may cause serious consequences and exempt the product from warranty.
- The following circumstances do not fall into the scope of a free warranty, and a fee will be charged for the repair.
- Damage resulting from improper handling, installation, use, maintenance, and safekeeping conducted by customers.
- Failure and damage caused by using the product beyond the normal operating conditions (damage caused in the case that the voltage is higher than 242V or lower than 189.2V).
- The product is installed, dismantled, or repaired by the customer or any party other than Fotile’s appointed service staff or agency.
- The discrepancy between the information on the purchase voucher and the warranty card and the product. Product damage caused by force majeure (such as natural disasters and war, etc.).
- Product failure or damage arising from use not in conformity with the “instructions”. sensor enters a warm-up state. After the warm-up is completed for 2 minutes, the air quality state is detected.
Installation
Packing List
After the package is opened, please check whether each of the following products and accessories suffers from any defect or damage:
- In case the responsibility for such defect or damage lies with the Company or the seller, please contact the seller;
- In case the responsibility for such defect or damage rests with the user, please contact the FOTILE service center.
- Main body
- Decorative Cover
- Oil Screen assembly
- Oil cup assembly
- Exhaust Pipe
- Aluminum Foil Tape
- Expansion Anchor Bolt
- Cross Head Self-tapping Screw M4x14
- User Manual
- Cross Head Self-tapping Screw ST3.9×9.5
- Drilling template
- Warranty Card
Installation Methods


Product Basic Conditions

Installation Suggestions
Safety precautions
Special note:
For safety and proper operation, the installation and maintenance of the product (incl. the exhaust duct and other parts) shall be done by a designated qualified professional. If the product stops working due to installation or maintenance by the customer or any third party entrusted by the customer, the free maintenance and repair service will not be available, even if it is within the warranty period.
Please read the instructions carefully before installing the product and note that:
- If you are renovating your kitchen, do not expose the range hood. Construction materials, dust, paint, coating, and evaporated gas may corrode and fade the surface of the hood. It is recommended to install the range hood after the decoration of the kitchen.
- Before installing the ceiling, the mounting rack assembly must be installed according to the installation requirements.
- Since the installation of the range hood is complex and the hood is heavy, it shall be done by qualified installation & maintenance professionals in accordance with the Instruction.
- When cleaning articles around the range hood (such as ceiling and cupboard), it may touch the range hood. Please wear protective gloves and take other protective measures to prevent injuries or scratches.
- Do not damage the electric wires or other hidden devices when drilling on the roof. Do not power on the range hood when installing the range hood after drilling. You should disconnect the power in the main power box.
- The exclusive grounded power outlet is required for the range hood. When the power cord is extended through a multi-port wiring connector and an extension cord, electric shock, heating of plug and socket, and fire are likely to occur. Please make sure that the power cord is extended by a professional electrician in strict accordance with all applicable national and local power regulations; prior to wiring, the power supply should be turned off and reasonable measures should be taken to prevent automatic connection of power.
- If the gas stove needs to be moved before the range hood is installed, please turn off the main valve of the gas before moving the gas stove. If installed above the gas stove, the minimum distance from the bottom surface of the range hood to the support surface of the hob shall be 650mm.
- The strength of roof shall be strong enough to install the range hood. For a hollow roof, the thickness of the solid layer of the hollow plate must be greater than 30mm.
- In order to ensure safety and smooth installation, please use the attached accessories for installation. The expansion tube shall be installed in a way that avoids forming an over-size hole on the wall, as a way to prevent the fall of the expansion tube.
- To avoid fire, the exhaust gas should be discharged to the outside.
- Do not discharge the exhaust gas into the wall, attic, or garage.
- Do not discharge the exhaust gas from the range hood to a flue that is used for exhausting fumes from appliances burning gas or other fuels.
- When being installed, the range hood should remain horizontal.
- After installation, the range hood shall be confirmed to be qualified if there is no abnormality during commissioning. Users are advised to read this Installation instruction carefully and keep it in a proper manner.
Installation Position
The range hood is only for family use only; Please do not use the range hood under other conditions. The range hood should be installed above the stove. Keep parallel between the blower outer cover bottom end and cabinet bottom end. The temperature of the range hood should not be more than 40°C. The wall should be none-flammable. Never install the range hood on the flammable wooden wall.
Preparations before installation
Warning:
In order to avoid damage to the range hood, please make sure that there is no debris entering the exhaust outlet.
- Estimate the location of the exhaust duct that connects the range hood to the outside, as shown in the installation diagram.
- A straight, short exhaust duct will discharge smoke from the range hood in a smoother way.
- Exhaust ducts that are too long and come with many corners should be avoided because they cannot discharge smoke in the range hood effectively.
- Joints between the exhaust ducts and holes on the wall shall be strictly sealed by duct tape. It must be ensured that the exhaust duct is firmly connected to the outlet housing.
- If holes in the wall are too small, smoke in the range hood cannot be discharged effectively. If safety can be ensured, it is recommended to ream the holes to the original size of the exhaust duct.
Tools:
In order to install this range hood, the following tools shall be prepared.
- Impact drill (with a cp10 drill bit)
- Cross screwdriver
- Wire cutter
- Tape measure
- Hammer
- Plumb
- Electric hand drill
- Level ruler
- 10mm screwdriver with external hexagon socket
Measurement and calculation before installation
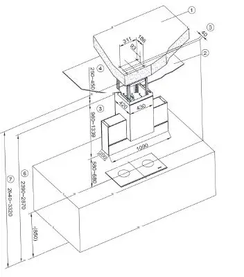
For accurate measurement and setting-out prior to installation, please refer to the following installation diagram (all data are in mm)
- Installation area: roof for the fixed mounting rack;
- Ceiling board;
- Adjustable height range from range hood to the ceiling board;
- The adjustable range allowed between the ceiling board and the installation roof;
- Deviation distance among the center lines for the hob burner, the range hood, and the roof mounting hole;
- Height range from the ground to the ceiling board that is adaptable to the range hood;
- Height range from the ground to the roof that is adaptable to the range hood.

Note: If the height between the ground and the ceiling board exceeds 2,690mm, please contact the FOTILE service center and apply for the use of a long decorative cover.
Installation Steps
- Two intersection lines shall be drawn on the roof according to the figure.

- The arrow-printed side of the drilling template is facing downward, and the arrow direction is facing the direction of the hob operating surface, the four notches on the edge of the drilling, template are aligned with the roof intersection lines, and 4 round holes in the drilling template is marked with a pencil for drilling positioning;

- 4 holes with a diameter of 10mm and a depth of 50mm shall be drilled according to the marked drilling positions for installing expansion bolts;
- Insert 4 expansion bolts into 4 holes, and tighten the bolts so that the expansion tubes are expanded and firmly fixed on the roof. Then loosen the bolts to an exposed length of 10mm;

- First, remove the mounting rack from the whole machine (the screws are retained), hang the mounting rack assembly on 4 bolts, and then tighten the bolts to firmly fix the mounting rack.

- Embed the aluminum foil exhaust duct, and the elongated length of the aluminum foil exhaust duct stretching from the ceiling board shall be 710mm;
- Remove two decorative cover fixing plates pre-installed on the mounting rack (retained together with the removed screws). Ceiling boards shall be installed by the decorator, with a distance of 250-450mm (250mm is recommended when the height between the ground and the roof is below 3,000mm) from the roof. A 365×322 hole is reserved for ceiling board at the mounting rack, and a power socket for the range hood is also reserved between the ceiling board and the roof;

- After the decoration of the ceiling board is completed, install the previously removed decorative cover fixing plate (1) on the left and right sides of the mounting rack, align the upper edge of the decorative cover with the ceiling board and tighten it with four M4x8 self-tapping locking screws.

- Install the main body of the range hood with a decorative cover (the decorative covers include two types, i.e., a short decorative cover with a length of 375 and a long decorative cover with a length of 450. The height range from the ground and the ceiling board adaptable to the short decorative cover is 2390-2690, and that adaptable to the long decorative cover is 2525-2870). Assemble the main body and the mounting rack firmly ‘ at the maximum extension length, and seal and connect the aluminum foil exhaust duct with the outlet housing so that the check valve plate will rise and fall without hindrance. Fix the exhaust duct on the outlet housing with ST3.9X9.5 tapping screws, and then wrap and seal , it with aluminum foil tape. The whole body is provided with the standard decorative cover. If the height between the ground and the ceiling board exceeds 2690mm, a long decorative cover shall be used. Please contact the FOTILE service center.

- The plug of the power cable is firmly connected with the special power socket reserved for the range hood, and the power cable is placed in the mounting rack;
- Loosen the 4 screws connecting the mounting rack to the main body and adjust the main body to the desired height according to the installation diagram. Fix the main body and the mounting rack firmly with 12 M4x8 self-tapping locking screws;
- Shorten the long exhaust duct and fix it with aluminum foil tape to prevent the machine from opening during operation.
- Lift the decorative cover and secure it on the decorative cover retaining plate with 4 stainless steel countersunk screws M4x14 provided in the accessory bag;

- Turn on the power, press the disassembly & cleaning button
to open the smoke battle, light the LED lamp, and install 3 oil screen components as shown in the picture.
- As shown in the figure, insert both ends of the oil cup from the direction of the operating surface of the hob into the hook groove to install the oil cup. (Note: Oil cup cannot be installed in a direction other than the operating surface of the hob). Touch the Dismantling & Washing Mode Button
to close the smoke baffle and complete the installation of the range hood.
Debugging
- Put on oil cup.
- Plug the power cable into the socket.
- Press the Power button, and press the Dismantling & Washing Mode button. Check if the “smoke baffle” and the LED lamp work normally.
- Press a motor key, and check whether the motor turns normally. In the following cases, cut off the power, stop turning and check whether it is the reason for installation (if the range hood breaks down, please contact our service center).
- Machine shakes violently
- Expansion pipe loses
- The impeller doesn’t turn
- Impeller with obvious grating when turning
- Motor with abnormal noise
- Press the power key, the motor stops turning, smoke baffle closes.
- If the power supply wire is damaged, in consideration of safety, must have the manufacturer, the repair department, or similarly qualified personnel replace it.
- When the range hood, gas stove, or other fuel stove is used at the same time, the room must be well-ventilated.
Correct Disposal of this product
This marking indicates that this product should not be disposed of with other household wastes throughout the EU. To prevent possible harm to the environment or human health from uncontrolled waste disposal, recycle it responsibly to promote the sustainable reuse of material resources. To return your used device, please use the return and collection systems or contact the retailer where the product was purchased. They can take this product for environmentally safe recycling.
Component Name Diagram































