iKTCH IKB02 Series Range Hood

Installation Guide & User Manual
Version: IKB01/ IKB02 SERIES
Built-In/Inserted Series Mount Range Hood
6″ Diameter Round Top Vent Only
STOP and read! Test before installing
- Please unpack the range hood and accessories carefully.
- Remove the baffle filters, check any dent or damage inside and outside.
- If found any loosing parts, please remove them.
- Place the range hood on a flat stable surface, plug in 120V AC power source. Press the power button and the speed buttons to turn on.
- Check if any unusual metal touching noise, check the speed variation, and press the Light button to check the lights.
- Verify all functions per Section 9 RANGE HOOD OPERATIONS .
- Refer to Section 10 TROUBLESHOOTING if any malfunction was found.
- The plastic protective film was removed for sanding polish finishing.
IMPORTANT:
Read and save these instructions.
NOTICE:
Installer: Leave this guide with the homeowner
Homeowner: Keep this guide for future reference
Contact your local seller for exchange or repair.
Visit: www.iktch.com for most updated information.
Email to [email protected] for technical support and sales activity.
I K B01 Series
- Model No.:
- I KB01- (30″ ) `
- I KB01- (36″ )

- I KB02 Series
- Model No.:
- IKB02- (30″ )
- I KB02- (36″ )
- I KB02- (42″ )

IMPORTANT READ THIS FIRST
READ BEFORE INSTALLATION
- Carefully check all contents of packages.
- Thoroughly inspect the unit for any shipping damages, cosmetic damages or defects.
- Have a certified contractor/ electrician test the unit before installation.
IF THERE IS ANY PROBLEM:
- DO NOT INSTALL THE UNIT AND KEEP ALL ORIGINAL PACKAGING MATERIAL.
- Have your original invoice as proof of purchase and product serial number ready.
- Contact your merchant for product replacement due to shipping damages, cosmetic damages or defects.
- For all other issues, email [email protected]
IMPORTANT SAFETY INSTRUCTIONS
- PLEASE READ THIS SECTION CAREFULLY BEFORE INSTALLATION –
WARNING: TO REDUCE THE RISK OF FIRE, ELECTRIC SHOCK OR PERSONAL INJURY, OBSERVE THE FOLLOWING:
- Installation and electrical wiring must be done by qualified professionals and in accordance with all applicable codes and standards, including fire-rated construction.
- When cutting or drilling into wall or ceiling, be careful not to damage electrical wiring or other hidden utilities.
- Ducted fans must be vented to the outside.
- Before servicing or cleaning unit, open the light panel and SWITCH POWER OFF AT SERVICE PANEL.
- Clean all grease-laden surfaces frequently. To reduce the risk of fire and to disperse properly, make sure to vent air outside. DO NOT vent exhaust air into wall spaces, attics, crawl spaces or garages.
NOTE
- This warranty is invalid without an authorized agent’s receipt or if unit is damaged due to misuse, poor installation, improper use, mistreatment, negligence or any other circumstances beyond the control of IKTCH RANGE HOODS authorized agents. Any repair carried out without the supervision of IKTCH RANGE HOODS authorized agents will automatically void the warranty.
- IKTCH RANGE HOODS will not be held responsible for any damages to personal property or real estate or any bodily injuries whether caused directly or indirectly by the range hood.
WARNING: TO REDUCE THE RISK OF PERSONAL INJURY IN THE EVENT OF A RANGE TOP GREASE FIRE:
- Keep all fan, baffle/spacer/filter/oil tunnel/oil container and grease-laden surfaces clean. Grease should not be allowed to accumulate on fan, baffle/spacer/filter/oil tunnel/oil container.
- Always turn hood ON when cooking.
- Use high settings on cooking range ONLY when necessary.
- Do not leave cooking range unattended when cooking.
- Always use cookware and utensils appropriate for the type and amount of food prepared.
- Use this unit only in the manner intended by the manufacturer.
- Before servicing, switch power off at service panel and lock service panel (if possible) to prevent power from switching on accidentally.
- Clean ventilating fan frequently.
What to Do In The Event Of a Range Top Grease Fire
- SMOTHER FLAMES with a tight fitting lid, cookie sheet, or metal tray, and then turn off the burner.
KEEP FLAMMABLE OR COMBUSTIBLE MATERIAL AWAY FROM FLAMES. If the flames do not go out immediately, EVACUATE THE AREA AND CALL THE FIRE DEPARTMENT or 911. - NEVER PICK UP A BURNING PAN – You May Get Burned.
- DO NOT USE WATER, including wet dishcloths or towels – a violent steam blast will result.
- Use an extinguisher ONLY if:
- You have a Class A, B, C extinguisher and know how to operate it.
- The fire is small and contained in the area where it started.
- The fire department has been called.
- You can fight the fire with your back to an exit.
What to DO If You Smell Gas
- Extinguish any open flame.
- Do not try to turn on the lights or any type of appliance.
- Open all doors and windows to disperse the gas. If you still smell gas, call the Gas Company and Fire Department right away.
CAUTION
- For general ventilation use only. Do not use to exhaust hazardous or explosive materials and vapors.
- To reduce the risk of fire, use only metal ductwork. Sufficient air is needed for proper combustion and exhausting of gases through the flue (chimney) to prevent back drafting.
- Follow the heating equipment manufacturer’s guideline and safety standards such as those published by the National Fire Protection Association (NFPA), and the American Society for Heating, Refrigeration and Air Conditioning Engineers (ASHRAE), and code authorities.
- Turning any switch on may cause ignition or an explosion.
- Due to the size and weight of this hood, two people installation is recommended.
WARNING
ELECTRICAL SHOCK HAZARD
Can result in serious injury or death. Disconnect appliance from electric power before servicing. If equipped, the fluorescent light bulb contains small amounts of mercury, which must be recycled or disposed of according to Local, State, and Federal Codes.
INSTALLATION
PLEASE READ ENTIRE INSTRUCTIONS BEFORE PROCEEDING
Calculation before Installation
To calculate installation, please refer to TABLE 1. (All calculation in inches).
FOR BUIL T-IN / INSERT
TABLE 1
- A = Height of Floor to Ceiling
- B = Height of Floor to Counter Top (Standard: 36″)
- C = Height of Counter Top to Wood Frame Bottom (Recommended 26″ to 30″)
- D = Height of Wood Frame
SAFETY WARNING
- HOOD MAY HAVE SHARP EDGES; PLEASE WEAR PROTECTIVE GLOVES IF REMOVING ANY PARTS FOR INSTALLING, CLEANING, OR SERVICING.
- BE CAREFUL WHEN USING ELECTRICAL SCREWDRIVER, DAMAGE TO THE HOOD MAY OCCUR. USING HAND TOOLS IS RECOMMENDED. DO NOT OVER TIGHTEN SCREWS.
- MAKE SURE TO PREVENT ANY DEBRIS FROM ENTERING THE VENT OPENING TO AVOID DAMAGE OR MALFUNCTION.
INSERT INSTALLATION
Before Installation
- Read any provided document(s).
- Test the range hood by temporarily connecting it to an outlet and turning the fan and lights ON.
- If you run into any problems, contact IKTCH Range Hoods.
Venting Requirements
- This range hood has a top 6″ Round exhaust (default).
- Decide the location of the venting pipe from the hood to the outside. A straight, short vent run will allow the hood to perform more efficiently. Try to avoid elbows, transitions, and long run as much as possible as this may reduce the performance of the hood. Make sure that the duct work leads to the outside.
- It is recommended to use metal/aluminum Duceppe with a uniform size (ex. 6″ round pipe from range hood to the outside.)
- If an elbow is necessary, a minimum of 12″ straight run is necessary before the elbow.
Clearance
- Clearance is the distance between the cooktop and the bottom of the range hood. The recommended minimum clearance for this model is 26″ and the maximum clearance is 30″.
- It is important to install the hood at the recommended clearance. Installing too low could result in damage and/or fire hazard while installing too high may result in reduced performance and efficiency.

Important: Peel protective film off the hood, if any.
Use duct tape to seal joints between pipe sections.
CAUTION: If moving the cooking range is necessary to install the hood, turn off the power in an electric range at the main electrical box. SHUT OFF THE GAS BEFORE MOVING A GAS RANGE. And use a protective covering to protect cooktop and/or countertop from damage.
IKB01 SERIES INSTALLATION
- The hood has to be installed inside the cabinet. It is recommended to install a front and rear stud support. Refer to Figure 1.and figure 2.

- Determine and mark the centerlines on the base of the wood frame where the insert will be installed.
- Determine and make all necessary cuts in the wall or ceiling for the ductwork. Note: Install the duct work before installing the insert.

- Cut out the opening where the insert will be installed. Refer to Figure 3

- Slide the hood to the opening.
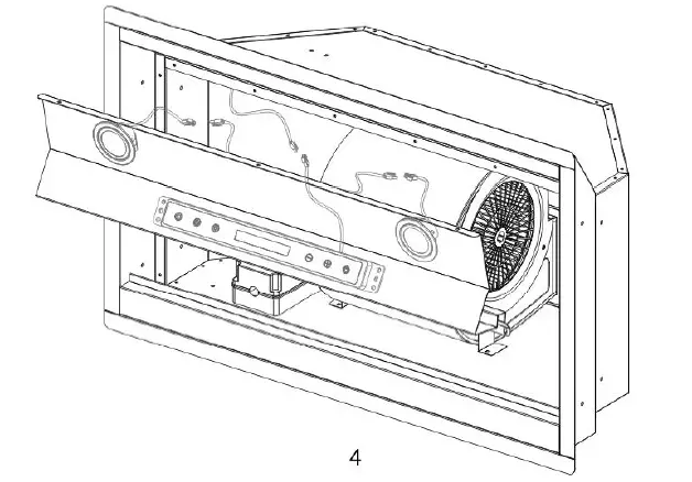
- The hood could be installed a front and rear stud support, it also could be installed a left and right stud support. front side and rear side have 8 holes, each side has 4 holes, left side and right side have 4 holes, each side has 2 holes refer to figture 4.

- Locate the screw holes on each side of the insert.
Adjust the level of the hood casing support according to the thickness of the base. - Secure the hood using the screw holes that are located at the front and back or left and right of the unit (screws provided). Refer to figture 4
- Make sure the hood casing support is secure before releasing.
Ductwork
- Attach the vent adapter to the exhaust opening
- Connect the pipe to the vent adapter and seal the joint with duct tape. Make sure it is completely air tight.
Electrical Wire
- Connect the range hood to an outlet.
- If hardwired is desired, cut off the plug and connect three wires (black, white, green) to the outlet wires and cap with wire connectors. Connect the wires according to color (ex: black to black).
Finish
- Remove any protective film from the hood.
- Before using, make sure that any accessories such as baffle filters are properly installed where applicable.
- Test the range hood to see if it is working properly.
THIS RANGE HOOD MUST BE PROPERLY GROUNDED. MAKE SURE THIS IS DONE BY A QUALIFIED ELECTRICIAN IN ACCORDANCE WITH ALL APPLICABLE NATIONAL AND LOCAL ELECTRICAL CODES. BEFORE CONNECTING WIRES, SWITCH POWER OFF AT SERVICE PANEL AND LOCK SERVICE PANEL TO PREVENT POWER FROM BEING SWITCHED ON ACCIDENTALLY.
IKB02 SERIES INSTALLATION

Custom Hood Preparation:
- The custom hood frame must be designed according to the shape and the weight of the insert. Refer to Measurements and Diagrams
- A sturdy base (3/4 inch thick plywood recommended) is needed to sustain the weight of insert.
- Please install the insert hood left & right stud support (not included)
- Determine and mark the centerlines on the base of the wood frame where the insert will be installed.
- Determine the proper location for the Power Supply Cable. Make a wiring access hole using a drill bit. Install the wire cable and seal the gap around hole.
- Cut out the opening where the insert will be installed. (Figure 1)

Hood Installation
NOTE: USE HAND TOOLS ONLY. DO NOT OVER TIGHT EN SCREWS. IT MIGHT CAUSEDDAMAG EDTO TH E HOOD.
- Remove 5 screws located at the bottom of the insert (Refer to Figure 2 and figture 3).

- Disconnect the 2pcs LED lights wire and switch wire, then carefully remove the light support panel from hood body refer to figture 4

- Position the insert inside the custom wood frame, refer to figture 5, Secure the insert to the left and right stud support ( Refer to Figure 5) by using the left and right mounting holes (Screws included, 2 holes each side).

- Make sure insert is secure before releasing.
- Re-install the light support panel. (Do not over tighten screws.) Refer to figture 6

Final Assembly
- install the oil tunnel into recess support near rear of hood, and assemble the handle to stainless steel baffle filters Refer to Figure 7.
- install baffle filters. Angle baffle filter toward back of hood 1 . Push baffle filter up until almost level 2. Slide forward into recess behind the front of hood 3. Lower baffle filter 4. Slide back until it fits into resting position 5. Refer to Figure 7.

Angle baffle fi I term toward back of hood.- Push baffle filter up until almost level.
- Slide forward into recess behind the front of hood.
- Lower baffle filter.
- Slide back until it fits into resting positions.
IKB01/IKB02 SERIES
Control Panel Layout and Buttons Configurations:

- From left to right side: Lighting Key (K1 ), Timer Key (K2), LED Display, Speed Key (K3 ), Power Key (K4)
- When the power supply connected, all indicate lighting is On and then Off in 1 second. To press K4 to open the hood.
- When the hood is On, to press K3 to open Fan Speed 1″, to press again to open Fan Speed 2″”, as so forth, to open Fan Speed 3′” and 4th by K3. The Fan Speed is changed as 1-2-3-4-0-1-2-3-4.
- If there was any fan speed working, to press K2 to open Timer Mode, the default is 3 minutes and do count-down step. Or to press K2 or K3 to set the timer as wanted, the maximum timer is 15 minutes.
- To press K1 to open or close the lamp. The luminance of lighting can be adjusted from 0% to 100% as wanted by touching K1.
- Gesture Control: to move your hand from left side to right side to open 1″ Fan Speed. And again to open 2″” Fan Speed, and 3′”, and 4th On the contrary, to move your hand from right side to left to reduce the speed level.
Please Note: when using gesture control function, please make sure to move your hand from 2 signal ports completely.
Optional
This hood switch control can be operated by remote controller if wanted.
MAINTENANCE
For optimal performance, clean the range hood surface and baffles regularly.
To Clean Hood Surface
CAUTION: NEVER USE ABRASIVE CLEANERS, PADS, OR CLOTHS.
Regular care will help preserve its fine appearance.
- Use only mild soap or detergent solutions. Dry surfaces using soft cloth.
- If hood looks splotchy (stainless steel hood), use a stainless steel cleaner to clean the surface of the hood. Avoid getting cleaning solution onto or into the control panel. Follow directions of the stainless steel cleaner. Caution: Do not leave on too long as this may cause damage to hood finish. Use soft towel to wipe off the cleaning solution, gently rub off any stubborn spots. Use dry soft towel to dry the hood.
- DO NOT allow deposits to accumulate or remain on the hood.
- DO NOT use ordinary steel wool or steel brushes. Small bits of steel may adhere to the surface and cause rusting.
- DO NOT allow salt solutions, disinfectants, bleaches, or cleaning compounds to remain in contact with stainless steel for extended periods. Many of these compounds contain chemicals, which may be harmful. Rinse with water after exposure and wipe dry with a clean lint tree cloth.
For Baffle Filter models only: to Clean Baffle Filter/Oil Tunnel
CAUTION: DRAIN OIL FROM BAFFLE FILTERS, SPACERS & OIL TUNNEL REGULARLY TO PREVENT OVERFLOW.
- Remove all the baffle filters, spacers and oil tunnel. Note: Not all models have spacers and oil tunnels.
- Using a sponge, wash with warm soapy water. Dry completely before returning into place.
CAUTION: SHARP EDGES (Note: Baffle Filters are top rack dishwasher safe.)
SPECIFICATIONS
- MODEL/ SIZE
- IKB01-30″
- IKB01-36″
- IKB02-30″
- IKB02-36″
- IKB02-42″
- COLOR
- Stainless Steel
- CONSUMPTION/ AMPERE
- 230W / 2.5A
- NUMBER OF BLOWERS 1
- DESIGN
- Seamless I Satin Finish
- BLOWER TYPE
- Single Horizontal Squirrel Cage
- EXHAUST
- Top 6″ Round
- CONTROLS
- 4 Speeds Electronic Switch
- LIGHTS
- 3-watt LED Lights x 2
- SPEED 1 2 3 4
- Air Capacity (cfm) 300 420 550 900
- Sone (dB)* 1 2.2 4.5 6
*One sane is equivalent to the sound of a refrigerator at 40 decibels.
*Specifications subject to change without notice.
MEASUREMENTS & DIAGRAMS
IKB01 SERIES 
IKB02 SERIES
EXPLODED VIEW
IKB01 SERIES

IKB02 SERIES


Range Hood
Model No: IKB01
Stainless Steel Range Hood
- Power 110V-125V60Hz2.5A
- Wattage 236W Thermally Protected
- Suction Capacity: 900CFM
- Suitable for use in a household cooking area.
- Do not install closer than 25.5 inches above the cooking surface.
- For residential indoor use only.
- Serial No.:
- Made In China
CONFORMS TO UL STD.507 CERTIFIED TO CSA STD.C22.2 NO.113
Range Hood
Model No: IKB02
Stainless Steel Range Hood
- Power 110V-125V60Hz2.5A
- Wattage 236W Thermally Protected
- Suction Capacity: 900CFM
- Suitable for use in a household cooking area.
- Do not install closer than 25.5 inches above the cooking surface.
- For residential indoor use only.
- Serial No.:
- Made In China
CONFORMS TO UL STD.507 CERTIFIED TO CSA STD.C22.2 NO.113
TROUBLESHOOTING
| Issue | Possible Cause | Solution |
| After Installation, both motors and lights are not working. | The power is not on. | Make sure the circuit breaker and the unit’s power is ON. Use a voltage meter to check the power supply. |
| The wire connection is not secure. | Check and tighten wire connection. | |
| The control switch is defective. | Replace the control switch. | |
| Lights are working, but motor(s) is not. | The motor(s) is defective. | Replace the motor. |
| The capacitor(s) is defective. | Replace capacitor(s). | |
| The control switch is defective. | Replace the control switch. | |
| The range hood is vibrating. | The blower system is not secure. | Tighten the turbine impeller/squirrel cage and air chamber. |
| The turbine impeller/squirrel cage is not balanced. | Replace the turbine impeller/squirrel case. | |
| Hood is not secured in place. | Check the installation of hood, tighten the mountain bracket. | |
| The motor is working, but the lights are not working. | LED light fixture(s) is defective. | Replace LED light fixture(s) |
| The light wiring(s) is loose. | Check wire continuity from Control Switch to LED Driver to LED light fixture(s). | |
| The control switch or LED light driver is defective. | Replace the control switch or LED light driver. | |
| The range hood is not venting out correctly. | The range hood is installed outside of the manufacture recommended clearance. | Adjust the clearance between the range hoods and cook top to 26″ to 30″. For Island range hood, the clearance between the range hoods and cook top is 30″ to 36″. |
| There is no make-up air inside the house. | Open the window to enhance the performance of the range hood by creating a sufficient make-up air. | |
| Obstacle blocking the pipe work. | Remove all obstacles from the duct work. | |
| The pipe size is smaller than the suggested pipe size. | Change the ducting according to the manufacture suggestion. | |
| Cold air is coming into the home. | The pipe connection is not properly sealed. | Check the pipe installation. |
| The damper is not properly installed or is missing from the installation. | Check the damper installation. | |
| The damper is not installed. | Installing the damper will help eliminate air backflow. |
WARRANTY
SPARE PARTS WARRANTY
- 5 Years warranty for LED lights and switch control
- 10 Years warranty for motor and blowers
- If any problem, please kind send mail to us with your amazon order ID,
- We would like to send you spare parts immediately with free of cost
- Email: [email protected]















Angle baffle fi I term toward back of hood.

















