

OPP 2050
ACKNOWLEDGMENT
Thank you for purchasing a Concept product. We hope you will be satisfied with our product throughout its service life.
Please study the entire Operating Manual carefully before you start using the product. Keep the manual in a safe place for future reference. Make sure other people using the product are familiar with these instructions.
| TECHNICAL PARAMETERS | |
| Voltage | 230 V — 50 Hz |
| Power input | 150 W |
| Version | Based |
| ASSEMBLY | Under upper cupboard |
| Width | 500 mm |
| Depth | 480 mm |
| Height | 150 mm |
| Output piping diameter | 100 mm |
| Number of fans | 1 |
| Number of fan power levels | 3 |
| Capacity | max. 186 m3/h |
| Number of fat filters | 2 |
| Mode | Airing or re-circulation |
| Lighting | 1 x 40W bulb |
| Weight | 4.8 kg |
| Noise level, airing/re-circulation | < 54/56 dB(A) |
The manufacturer reserves the right to perform technical modifications and design changes without prior notice.
IMPORTANT NOTICES:
Delivery
- Check the package and unit immediately after delivery for any damage that may have occurred during
- If the unit is damaged, do not operate it. Contact the supplier as soon as possible.
- Remove all the covering and marketing materials from the unit before the first use.
- Dispose of the packaging material properly.
Installation
- The unit is designed to be assembled under an upper cupboard of a kitchen set.
- Follow the instructions for the appliance connection and installation.
- The unit has to be disconnected from the power socket during installation.
- Before connecting the appliance, ensure that your local connection is earthed and compliant with all applicable
- Make sure the mains voltage and current protection correspond to the values on the rating plate. Use earthed wall outlets only.
- After installation of the unit, the plug or circuit breaker shall be freely accessible.
- Only an authorized technician may install and connect your appliance.
- Improper connection and/or incompetent installation may result in injury or death.
- The manufacturer takes no responsibility for any damage incurred due to improper installation or use.
Normal operation
- Use the unit only as described in this operating manual.
- Use the unit only in a household, solely for the purpose of absorbing vapor created during cooking, or recirculation and absorption of odors created during cooking.
- Install the unit at least 650 mm above the electric stove (or hotplate), and 750 mm at minimum above the gas stove (or gas hotplate).
- Never operate the appliance with wet hands.
- In case of any failure, and before maintenance and cleaning, turn off the product and disconnect the plug from the mains outlet, or switch off the circuit breaker.
- Never pull the cord to disconnect the plug from the wall outlet; hold the plug instead.
- Check the appliance and power cord for damage regularly. Never switch on a damaged appliance.
- Do not immerse the power cord, plug, or appliance in water or any other liquid.
- Make sure that all controls are in the OFF position when the appliance is not in use.
- Do not handle open flame under the unit (e.g. flaming)! If you remove a cooking vessel from a gas stove, turn down the flame to the minimum, or turn it off!
- Make sure the diameter of the burner of the gas stove or gas hotplate corresponds to the cookware used. When using smaller than recommended vessels, the flames could touch the sides, and plastic handles could be scorched — the risk of fire and damage to the unit!
- When you deep-fry or fry food, keep it under continuous supervision. When oil is overheated, there is a risk of fire!
- Keep the intervals for replacement and cleaning of the filters (every 2 months at minimum). If these instructions are not followed, there is a risk of fire due to fat sediments in the filters!
- For the ventilation ducts, all the applicable standards and regulations shall be observed.
- The diameter of the duct pipeline for the airing mode should be approximately the same as the diameter of the output pipe of the absorber (100 mm).
- The air shall not be ventilated through a chimney used for combustion gases, or in a shaft used for airing rooms where combustion chambers are installed.
- During operation in airing mode, a sufficient opening for inlet air shall be made; its size shall be approximately the same as or bigger than that of the hole for ventilated air.
- During simultaneous operation of the unit in pairing mode and the stove, the underpressure in the room shall not exceed 4 Pa (0.04 mbar).
- Use manufacturer-recommended accessories only.
Children in the household
- The appliance is not intended for and should not be accessible to children or persons with reduced capabilities.
- The appliance is not intended for use by persons with reduced physical, sensory or mental capabilities or lack of knowledge, unless under the supervision of an acquainted person responsible for their safety.
- Take extra care when using the unit near children.
- Do not use the appliance as a toy.
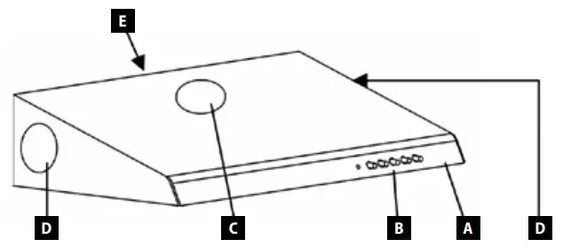
PRODUCT DESCRIPTION
A Body of the unit
B Control panel
C Upper output hole
D Side output holes
E Back output hole
Accessories
F Backfl ow valve
DESCRIPTION OF THE CONTROL PANEL
- Operating light
- Fan power level setting buttons
- Lighting ON/OFF button

Operating Instructions
Before first use
Prior to the start of use of a new unit, wipe it with a wet and then a dry cloth.
Airing mode
In this mode the vapors are ventilated through the output pipe into the shaft and out of the room. If there are carbon filters installed in the unit, remove them (see the Cleaning and Maintenance paragraph).
- Select the required fan power (1 – 3) using the respective buttons (2)
- Switch the unit off after use by pushing „0“.
Re-circulation mode
If you have no possibility to ventilate the air out of the room, re-circulation mode can be selected. In this mode, the vapors are filtered through metal and carbon filters. Active carbon in these filters absorbs smells, and the clean air flows back into the room. For this mode, it is necessary to buy and assemble the corresponding carbon filters (see the Cleaning and Maintenance paragraph).
3. Select the required fan power (1 – 3) using the respective buttons (2)
4. Switch the unit off after use by pushing „0“.
Switching the lighting on and off
Press the button to turn the light on or off.
CLEANING AND MAINTENANCE
- Before any maintenance and cleaning, disconnect the power cord from the mains or switch off the circuit breaker of the main outlet of the unit.
- Do not immerse the power cord, plug, or appliance in water or any other liquid.
- Set all controls in the OFF position.
- Clean the outer surface of the unit with a wet cloth, or use a neutral detergent.
- Do not use coarse sponges, abrasive cleaners, solvents or aggressive detergents.
- Do not use an autoclave to clean the unit!
CLEANING AND REPLACING THE FILTERS
a) Metal fat filters
Under normal use, the metal fat filters should be cleaned every 2 months.
In case of more frequent frying or deep frying, shorten the interval.
Do not use the unit without properly mounted metal fat filters!
- Remove the metal filters (Fig. 1). If carbon filters are mounted, remove them.
- Put the metal filters in warm water with a detergent. Clean them with a soft brush, rinse with clean water and let dry.
- Remount the completely dry filters following the reverse steps.

b) Carbon filters (must be purchased)
These filters are used only in the re-circulation mode.
The filters contain active carbon that absorbs the ventilated odors. After a while the active carbon is saturated, and loses its absorption ability. These filters can‘t be washed or otherwise cleaned.
Under normal use, the carbon filters should be replaced every 2 months. In case of more frequent frying or deep frying, shorten the interval.
- Remove the metal filters (Fig. 1), and remove the carbon filters from them.
- Mount new carbon filters on the metal ones (Fig. 2), and put the set back.

UNIT INSTALLATION
- Only authorized personnel can install the power connection!
- Only the customer is responsible for installation in situ. Defects caused by the incorrect installation are not covered by the warranty.
- Remove all the covering and marketing materials from the unit before the first use.
- We recommend that you let a specialized company perform the installation.
- The manufacturer bears no responsibility for damage caused to people, animals, or objects as a result of incorrect installation.
Follow the installation instructions:
- Remove both fat (or carbon) filters.
- Select one of the three output holes for the airing mode. Unused holes shall be covered by the supplied casings so as not to reduce the performance of the unit.
For the re-circulation mode, close all four output holes. - Put the unit on the lower edge of the upper cupboard of the kitchen set. Check the minimum required height according to Fig. 3 (650 mm for electric, and 750 mm for gas hotplates).
- You will see the fixing holes through the lower orifice of the unit. Mark the positions on the wall and bottom side of the cupboard.
- Mark the position and diameter of the hole for output piping.
- Drill the fixing holes in the wall, possibly also for the output piping.
- Fix the unit to the wall using the supplied wall plugs and screws (Fig. 4).


- Fix the unit to the bottom side of the cupboard using the supplied screws.
- Mount the backflow valve on the output hole, and connect the output hole of the fan to the hole in the wall using a flexible pipe.
Note:
Flexible pipe is not supplied. - The output air will be blown through the holes in the front panel of the unit in the re-circulation mode.
The following adjustment shall be made for the re-circulation mode:
a) Close all four output holes using the supplied casings.
d) Operate the lever on the inner side of the top cover (Fig. 5, Pos. A) to the lower position you will open the air output on the upper front part. - Mount the fat (or carbon) filter.
- Plug the supply cable into the wall outlet.

Removal
Before removal, disconnect the power cable from the wall outlet; follow the reverse steps to remove individual parts of the unit.
SERVICE
Bulb replacement
Before replacement, let the bulb cool down. There is a risk of burning.
For the replacement proceed as follows:
- Pull the power cord out of the mains outlet or switch off the circuit breaker of the unit’s mains outlet.
- Remove the covering glass and replace the bulb with a new one of the same type (maximum 40 W)!
- Remount the covering glass.
Any extensive maintenance or repair that requires access to the inner parts of the product must be performed by an expert service centre.
ENVIRONMENTAL PROTECTION
- Packaging materials and obsolete appliances should be recycled.
- The transport box may be disposed of as sorted waste.
- Polyethylene bags shall be handed over for recycling.
Appliance recycling at the end of its service life:
sure this product is disposed of properly, you will help prevent the negative effects on the environment health that would otherwise result from inappropriate disposal of this product. You can learn more about products from your local authorities, a household waste disposal service, or in the shop where you bought A symbol on the product or its packaging indicates that this product should not go into household waste. It must be taken to the collection point of an electric and electronic equipment recycling facility. By making sure this product is disposed of properly, you will help prevent the negative effects on the environment and human health that would otherwise result from the inappropriate disposal of this product. You can learn more about recycling this product from your local authorities, a household waste disposal service, or in the shop where you bought this product.
References
Concept – chytře vymyšleno pro život
Domena Concept.pl jest na sprzedaż - SklepDomeny.pl
Online software pre autoservis | servis.sk
Tech.sk | Všetko o informačných technológiáchTech.sk | Magazín o internete a technológiách
Concept – chytře vymyšleno pro život
Concept innowacje w Twoim życiu!
www.my-concept.sk | vymyslené pre život




















