
COOK LIKE A GOD
User Manual
USE AND CARE MANUAL
HRH PROFESSIONAL
RANGE HOODS
HRH MODELS
HRH3607 | HRH3007
Dear Customer, If you follow the recommendations contained in this Instruction Manual, our appliance will give you constant high performance and will remain efficient for many years to come.
ATTENTION
- The manufacturer will not be held liable for any damages resulting from incorrect or improper installation.
- Please read this instruction manual before installing and using this range hood. Properly keep this instruction manual in a safe place for future reference.
- This range hood can be used either in the Ducted Model (ducting fumes to the outside) or in the Recirculation Mode (internal recycling) Accessories are sold separately.
- Only a qualified and trained service technician can do the installation and service.
IMPORTANT SAFETY INSTRUCTIONS
READ AND SAVE THESE INSTRUCTIONS.
WARNING: TO REDUCE THE RISK OF FIRE, ELECTRIC SHOCK, OR INJURY TO PERSONS, OBSERVE THE FOLLOWING INSTRUCTIONS:
- Use this unit only in the manner intended by the manufacturer. If you have questions, please contact the manufacturer.
- Before servicing or cleaning the unit, securely fasten a prominent warning device, such as a tag, to the service panel.
- Installation work and electrical wiring must be done by a qualified technician(s) in accordance with all applicable codes and standards including fire-rated construction.
- Do not operate any fan with a damaged cord or plug.
- Sufficient air is needed for proper combustion and exhausting of gas through the flue(chimney) of fuel-burning equipment to prevent back-drafting. Follow the heating equipment manufacturer’s guidelines and safety standards such as those published by National Fire Protection Association(NFPA), the American Society for Heating, Refrigeration and Air Conditioning Engineers(ASHRAE), and the local code authorities.
- When cutting and drilling into a wall or ceiling; do not damage electrical wiring and other utilities.
- Ducted fans must always be vented outdoors.
- CAUTION: For general ventilating use only. Do not use to exhaust hazardous or explosive materials and vapors.
- CAUTION: To reduce the risk of fire and to properly exhaust air, be sure to duct air outside-do not vent exhaust air into space within walls or ceilings, attics or into crawl spaces. or garages.
- WARNING – TO REDUCE THE RISK OF FIRE, USE ONLY METAL DUCTWORK.
- WARNING – TO REDUCE THE RISK OF A RANGE TOP GREASE FIRE:
a) Never leave surface units unattended at high settings. Boilovers cause smoking and greasy spillovers that may ignite. Heat oils slowly on low or medium settings.
b) Always turn the hood ON when cooking at high heat or when flambeing food (i.e. Crepes Suzette. Cherries Jubilee, Peppercorn Beef Flambe’).
c) Clean ventilating fans frequently. Grease should not be allowed to accumulate on the fan or filter.
d) Use proper pan size. Always use cookware appropriate for the size of the surface element. - WARNING – TO REDUCE THE RISK OF INJURY TO PERSONS IN THE EVENT OF A RANGE TOP GREASE FIRE, OBSERVE THE FOLLOWING:
a) SMOTHER FLAMES with a close-fining lid, cookie sheet, or metal tray, then turn off the burner. BE CAREFUL TO PREVENT BURNS. If the flames do not go out immediately, EVACUATE AND CALL THE FIRE DEPARTMENT
b) NEVER PICK UP A FLAMING PAN – You may be burned.
c) DO NOT USE WATER, including wet dishcloths or towels – a violent steam explosion will result.
d) Use an extinguisher ONLY if:
- You know you have a Class ABC extinguisher, and you already know how to operate it.
- The fire is small and contained in the area where it started.
- The fire department is being called.
- You can fight the fire with your back to an exit. Based on “Kitchen Fire Safety lips’ published by NFPA.
WARNING: To reduce the risk of fire or electrical shock, do not use this fan with any solid-state speed control device.
- Check that the mains voltage corresponds to the one indicated on the rating plate fixed inside the hood.
- Check that the domestic power supply guarantees adequate earthing.
- Do not connect the hood to exhaust ducts carrying combustion fumes (boilers, fireplaces, etc.) If the hood is used in conjunction with non-electrical appliances (e. g. gas burning appliances), a sufficient degree of aeration must be guaranteed in the room in order to prevent the backflow of exhaust gas. The kitchen must have an opening directly with the open air in order to guarantee the entry of clean air.
- The minimum distance is 30 inches from the range hood to a gas hob, and is 25 inches to an electric hob. If the installation instructions for gas hobs specify a greater distance, this must be taken into account.
NOTICE: Considering the excessive weight, two or more people are required to install or move this appliance. Failure to do so can cause physical injuries. * The range hood has been designed only for domestic use to eliminate kitchen fumes. - Never use the hood for purposes other than what it has been designed for. ‘ Never leave high naked flames under the hood when it is in operation.
- Adjust the flame intensity to direct it onto the bottom of the pan only; making sure that it does not engulf the pan sides. ‘ Deep fat fryer must be continuously monitored during use: overheated oil can burst into flame. ‘ The hood should not be used by children or person not instructed in its correct use
MAINTENANCE
- Proper maintenance of the Range Hood will assure the proper performance of the unit.
- Disconnect the hood from the main supply before carrying out any maintenance work
- Check and/or replace the stainless steel filter every 2 months if you are using it a daily basis. You can purchase the filters at www.thorkitchen.com
- Clean the hood using a damp cloth and a neutral liquid detergent.
- DISPOSAL: Do not dispose of this product as unsorted municipal waste. Collection of such waste separately for special treatment is necessary.
WARNING!!
In certain circumstances, electrical appliances may be a dangerous hazard.
- Do not check the status of the filters while the range hood is operating.
- Do not touch the light bulbs after appliance use
- Do not disconnect the appliance with wet hands.
- Avoid free flame, as it is damaging to the filters and a fire hazard.
- Constantly check food frying to avoid the overheated oil may become a fire hazard.
- Disconnect the electrical plug prior to any maintenance.
- Children don’t recognize the risks of electrical appliances. Therefore use or keep the appliance only under the supervision of adults and out of the reach of children.
- Don’t use this product outdoor.
- There shall be adequate ventilation of the room when the range hood is used at the same time as appliances burning gas or other fuels.
- There is a fire risk if cleaning is not carried out in accordance with instructions. Do not flambe under the range hood.
- The discharge air must not be discharged into a flue which is used for exhausting fumes from appliances burning gas or other fuels.
WARNING: TO PROVIDE PROTECTION AGAINST ELECTRIC SHOCK, CONNECT TO PROPERLY GROUNDED OUTLETS ONLY.
GROUNDING INSTRUCTIONS
This appliance must be grounded. In the event of an electrical short circuit, grounding reduces the risk of electric shock by providing an escape wire for the electric current. This appliance is equipped with a cord having a grounding wire with a grounding plug. The plug must be plugged into an outlet that is properly installed and grounded. WARNING — Improper grounding can result in a risk of electric shock. Consult a qualified electrician if the grounding instructions are not completely understood, or if doubt exists as to whether the appliance is properly grounded. Do not use an extension cord. If the power supply cord is too short, have a qualified electrician install an outlet near the appliance.
NEVER CUT THE PLUG FROM THE ELECTRIC CORD AND ENSURE THE OUTLET IS GROUNDED, CUTTING THE CORD WILL VOID THE WARRANTY.
DIMENSIONS
![]() |
INSTALLATION & USE
USE ONLY WITH RANGE HOOD CORD CONNECTION KITS THAT HAVE BEEN INVESTIGATED AND FOUND ACCEPTABLE FOR USE WITH THIS MODEL RANGE HOOD.
Note 1: On stainless steel hoods, carefully remove the plastic protective film from all exterior surfaces of the hood and chimney prior to final installation.
Note 2: At least two people will be required to mount the hood.
INSTALLATION DRILLING AND LINING
- Draw a vertical line on the supporting wall up to the ceiling, or as high as practical, at the centre of the area in which the hood will be installed.
- Draw a horizontal line 28-30 inches above an electric hob or 30-32 inches above a gas hob.

- Place chimney mounting brackets on the wall as shown about 1″ (27mm) from the ceiling or upper limit aligning the center (notch) with the vertical reference line.
MOUNTING THE HOOD
- Mount two main mounting screws into the wall along the line that is 10″ above the horizontal line. To ensure that two screws are paralleling with a horizontal line.

- Hook the hood body on the wall by mounted screws and screw up the screws.

- Mounting the auxiliary two screws to fix the hood body.
DUCT FIXING
Caution: To reduce the risk of fire, use metal ductwork only. (Metal duct should be sourced by locally.)
- Attach an adequate length of 4> 6″ round duct on the top of the outlet adapter.
- Secure the duct using a fastener. Make sure the duct is fixed well on.
TELESCOPIC CHIMNEY ASSEMBLY
Chimney Bottom
- Carefully slide the chimney bottom down outside the chimney top partly, then carefully place the chimney bottom into the recessed area of the hood body top.

Chimney Top
- Raise the chimney top up inside the chimney bottom. Secure the chimney top to the chimney mounting bracket that is well fixed on the wall with the two chimney bracket screws supplied from two sides.

CONNECTIONS
Ducted mode air exhaust system
Caution: To reduce the risk of fire, use metal ductwork only. (Metal duct should be sourced by locally.)
- Decide where the ductwork will run between the hood and the outside.
- A straight, short duct run will allow the hood to perform most efficiently.
- Long duct runs, elbows, and transitions will reduce the performance of the hood. Use as few of them as possible. Larger ducting may be required for best performance with longer duct runs. 4. Attach an adequate length of

- 6′ round duct to the air outlet adapter.
- The air must not be discharged into a flue that is used for exhausting fumes from appliances burning gas or other fuels” ‘Regulations concerning the discharge of air have to be fulfilled.
- Install a roof/wall cap. Connect round metal ductwork to cap and work back towards the hood location. Use duct tape to seal the joints between ductwork sections.
Recirculation Mode
Caution: Do not use plastic or rigid metal ducting.
- Install the charcoal filter on.
- Please note that the air will flow out from the two grids on the two sides of the chimney top.
Electrical connection
* Electrical wiring must be done by a qualified person(s) in accordance with all applicable codes and standards. Turn off electrical power at service entrance before wiring.
* If the supply cord is damaged, it must be replaced by the manufacturer, its service agent or similarly qualified persons in order to avoid a hazard.
* Do not use the plug and an extension cord other than the ones initially supplied with the hood.
* The earthing of this hood is compulsory. Do not remove the ground prong of the plug.
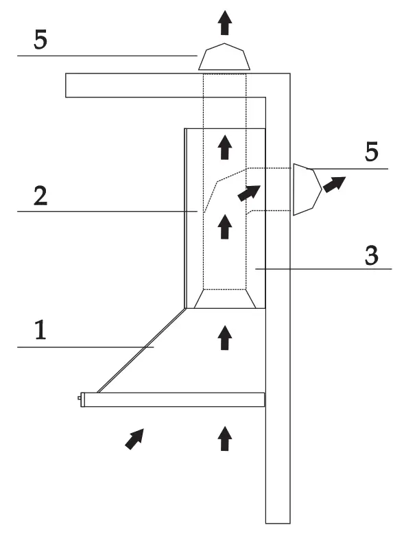
OPERATION OF CONTROLS SOFT-TOUCH CONTROL SWITCH
The hoods may be operated using the soft-touch control on the front panel. The lights switch turns the lamps on and off. The blower switch turns the blower on to three-speed settings:
1 —Lamp
2 – PLUS
3 – MINUS
4 — ON/OFF
5 – REMOTE CONTROL RECEIVER
How to set the speed
Press the speed plus button + and speed minus button — to set the fan speed. Press the On/Off button
to turn off the fan and automatically memorize the previous setting at the next time of the operation. This range hood can be switched to three-speed settings.
How to set the clock
Press the button
for 3 seconds and the time indicator in the display keeps flashing, press the button + and — to adjust the hour setting, and push the button
again to set the minute setting. The machine will automatically confirm if without any operation in 3 seconds.
How to set a timer delay
When the fan is working, press the button
for 3 seconds, light the timer delay indicator in the display and the time indicator keeps flashing, Press the button + and — to set the delay time range from 1min to 15mins. The machine will automatically confirm the setting if without any operation in 3 seconds.
Clean indicator function
After a long time of usage, If the symbol, is
in the display light, that indicates the grease filter has reached saturation and needs to wash. Keep pressing the for 3 seconds to remove this symbol if the filter has been cleaned.
Note: The symbol
will keep lighting if without operation of the keeping button for 3 seconds
MAINTENANCE
GREASE FILTER
- The grease filters should be cleaned frequently (every two months of operation, or more frequently for heavy use). Use a warm detergent solution.
- Grease filters are washable.

- Remove the grease filter one by one by pushing down each latch. This will disengage the fitter from the hood. Tilt the filter downward and remove it.
- Wash the filters, taking care not to bend them. Allow them to be dry before refitting.
- When refitting the filters, make sure that the handle is visible from the outside.
- To install the grease filter, align rear filter tabs with slots in the hood. Push down the latch, push the filter into position, and release. Make sure the filter is securely engaged after assembly.
NON-DUCTED RECIRCULATION CHARCOAL FILTER(not Included)
This filter is not washable, can not be regenerated, and should be replaced approximately every 3 months of operation, or more frequently in the case of heavy usage.
- Install the charcoal filter(not included), and lock it until the stop click is heard.
- Install grease filter after the charcoal filter(not included) is installed.

LED BULBS
This range hood may require two LED bulbs (120V, GU10, 3.5W)
WARNING: Always switch off the electrical supply before carrying out any operation on the appliance.
To change bulbs:
- Switch off power and wait for 5 minutes till the bulbs cool down.
- Wear gloves and remove the bulb by pulling sideward (as the direction instructed).
- Replace with 120V, GU10, 3.5W LED bulbs.
CAUTION:
- THE SURFACE OF THE HALOGEN BULBS MAY BE HOT. TAKE CARE WHEN TAKING THE REPLACEMENT.
HOOD CLEANING
Stainless steel is one of the easiest materials to keep clean. Occasional care will help preserve its fine appearance.
Cleaning tips:
- Hot water with soap or detergent is all that is usually needed.
- Follow all cleaning by rinsing with clear water. Wipe dry with a clean, soft cloth to avoid watermarks.
- For discolorations or deposits that persist, use a non-scratching household cleanser or stainless steel polishing powder with a little water and a soft cloth.
- For stubborn cases use a plastic scouring pad or soft bristle brush together with cleanser and water. Rub lightly in direction of polishing lines or ‘grain” of the stainless finish. Avoid using too much pressure that may mar the surface.
- Do not allow deposits to remain for long periods of time.
- Do not use ordinary steel wool or steel brushes. Small bits of steel may adhere to the surface causing rust.
- Do not allow salt solutions. disinfectants. bleaches. or cleaning compounds to remain in contact with stainless steel for extended periods. Many of these compounds contain chemicals that may be harmful. Rinse with water after exposure and wipe dry with a clean cloth.
- Painted surfaces should be cleaned with warm water and mild detergent only.
Warranty
This product has been manufactured by Thor Group. 4651 E Airport Drive. Ca forrna 91761 For the most up-to-date warranty and service policy. please refer to our website WWW.THORKITCHEN.COM/WARRANTY-REGISTRATION For in-warranty service requests. please visa our website at WWW.THORKITCHEN.COM/SERVICE Please Note You must provide proof of purchase or installation date for any in-warranty service requests
WELCOME
TO THE CLUB
You chose THOR Kitchen to enhance your culinary journey and we’re stoked to have you in the club. Think of it as a secret society of really savvy people, such as yourself, choosing professional power and performance at an affordable price.
Register your product by following the steps below.
WARRANTY REGISTRATION
| Scan theQR code or visit thorkitchen.com/warranty | Input your product info and select register | You’re done. Let’s get cookin’. |

For additional information and product support, visit thorkitchen.com/service ![]()
























