THOR TRH30P Professional Range Hood

IMPORTANT SAFETY INSTRUCTIONS
ATTENTION
- The manufacturer will not be held liable for any damages resulting from incorrect or improper installation.
- Please read this instruction manual before installing and using this range hood.
- Properly keep this instruction manual in a safe place for future reference.
- This range hood can be used either in the Ductless installation (internal recirculation ) or in the Charcoal Filter sold separately.
- Only a qualified and trained service technician can perform the installation and service.
WARNING
READ AND SAVE THESE INSTRUCTIONS.
WARNING:TO REDUCE THE RISK OF FIRE,ELECTRIC SHOCK,OR INJURY TO PERSONS,READ THE FOLLOWING INSTRUCTIONS:
- Use this unit only in the manner intended by manufacturer. Please contact customer service if you have any questions.
- Before servicing or cleaning the unit,securely fasten a prominent warning device,such as a tag,to the service panel.
- Installation work and electrical wiring must be done by qualified technician(s)in accordance with all applicable codes and standards including fire-rated construction.
- Do not operate any fan with a damaged cord or plug.
- Sufficient air is needed for proper combustion and exhaust of gas through the flue(chimney)of fuel burning equipment to prevent back drafting.Follow the appliance manufacturer’s guideline and safety standards,such as those published by National Fire Protection Association(NFPA),the American Society for Heating. Refrigeration and Air Conditioning Engineers(ASHRAE),and the local code authorities.
- When cutting and drilling into wall or ceiling;do not damage electrical wiring and other utilities.
- Ducted fans must always be vented outdoors.
- CAUTION: For residential kitchen ventilating use only.Do not use to exhaust hazardous or explosive materials and vapors.
- CAUTION: To reduce risk of fire and to properly exhaust air, be sure to duct air outside-do not vent exhaust air into space within walls or ceilings,attics or into crawl spaces,or garages.
WARNING – TO REDUCE THE RISK OF FIRE, USE ONLY METAL DUCTWORK.
WARNING- TO REDUCE THE RISK OF A RANGE TOP GREASE FIRE:
a) Never leave surface units unattended at high settings. Boil overs cause smoking and greasy spillovers that may ignite.Heat oils slowly on low or medium settings.
a) Never leave surface units unattended at high settings. Boil overs cause smoking and greasy spillovers that may ignite.Heat oils slowly on low or medium settings.
b) Always turn hood ON when cooking at high heat or when flambeing food (i.e.Crepes Suzette,Cherries Jubilee,Peppercorn Beef Flambe).
c) Clean ventilating fans frequently.Grease should not be allowed to accumulate on fan or filter.
d) Use proper pan size.Always use cookware appropriate for the size of the surface burner / element .
WARNING-TO REDUCE THE RISK OF INJURY TO PERSONS IN THE EVENT OF A RANGE TOP GREASE FIRE,OBSERVE THE FOLLOWING:
a) SMOTHER FLAMES with a close-fitting lid,cookie sheet, or metal tray,then turn off the burner. BE CAREFUL TO PREVENT BURNS. If the flames do not go out immediately, EVACUATE AND CALL THE FIRE DEPARTMENT.
b) NEVER PICK UP A FLAMING PAN– You may be burned.
c) DO NOT USE WATER,including wet dishcloths or towels – a violent steam explosion will result.
d) Use an extinguisher ONLY if:
- Y ou know you have a Class ABC extinguisher,and you already know how to operate it.
- The fire is small and contained in the area where it started.
- The fire department is being called.
- You can fight the fire with your back to an exit. Base on”Kitchen Fire Safety Tips”published by NFPA.
WARNING:TO REDUCE THE RISK OF FIRE OR ELECTRICAL SHOCK,DO NOT USE THIS FAN WITH ANY SOLID-STATE SPEED CONTROL DEVICE
- Check voltage corresponds to the one indicated on the rating plate/label plate fixed inside the hood.
- Check that the domestic power supply guarantees adequate grounding.
- Do not connect the hood to exhaust ducts carrying combustion fumes(boilers,fireplaces,etc.)
- If the hood is used in conjunction with non-electrical appliances(e.g.gas burning appliances),a sufficient degree of aeration must be guaranteed in the room in order to prevent the backflow of exhaust gas.The kitchen must have an opening directly with the open air in order to guarantee the entry of clean air.
- The minimum distance is 30 inches from the range hood to a gas cooktop,and is 25 inches to an electric cooktop.If the installation instructions for gas cooktop specify a greater distance,this must be taken into account. In certain circumstances electrical appliances may be a danger hazard.
- Do not check the status of the filters while the range hood is operating.
- Do not touch the light bulbs during or right after appliance in use.
- Do not operate or disconnect the appliance with wet hands.
- Avoid free flame,as it is damaging for the filters and a fire hazard.
- Constantly check food frying to prevent that overheated oil may become a fire hazard.
- Disconnect electrical plug prior to any maintenance.
- The hood should not be used by children or person not instructed in its correct use.
- Children don’t recognize the risks of electrical appliances. Therefore, use or keep the appliance only under supervision of adults and out of the reach from children.
- Don’t use this product outdoor.
- There shall be adequate ventilation of the room when the range hood is used at the same time as appliances burning gas or other fuels.
- There is a fire risk if cleaning is not carried out in accordance with instructions.
- Do not flambe under the range hood.
- The discharge air must not be discharged into a flue which is used for exhausting fumes from appliances burning gas or other fuels.
WARNING:TO PROVIDE PROTECTION AGAINST ELECTRIC SHOCK,CONNECT TO PROPERLY GROUNDED OUTLETS ONLY
GROUNDING INSTRUCTIONS
This appliance must be grounded.In the event of an electrical short circuit,grounding reduces the risk of electric shock by providing an escape wire for the electric current.
This appliance is equipped with a cord having a grounding wire with a grounding plug.The plug must be plugged into an outlet that is properly installed and grounded.
WARNING: IMPROPER GROUNDING CAN RESULT IN A RISK OF ELECTRIC SHOCK
Consult a qualified electrician if the grounding instructions are not completely understood,or if doubt exists as to whether the appliance is properly grounded. Do not use an extension cord. If the power supply cord is too short, have a qualified electrician install an outlet near the appliance.
NEVER CUT THE PLUG FROM THE ELECTRIC CORD AND ENSURE THE OUTLET IS GROUNDED,CUTTING THE CORD WILL VOID THE WARRANTY.
NOTICE
Considering excessive weight, two or more people are required to install or move this appliance. Failure to do so can cause physical injuries.
- The range hood has been designed only for residential use only for use to eliminate kitchen fumes.
- Never use the hood for purposes other than what it has been designed for.
- Never left open flame unattended under the hood when it is in operation.
- Adjust the flame intensity to direct it onto the bottom of the pan only;making sure that it does not exceed the pan sides.
- Deep fryer must be continuously monitored during use:overheated oil can burst into flame
DIMENSIONS
PRODUCT DIMENSION
- All measurements in parenthesis are in millimeter.
- All inch measurements are converted form millimeters, thus inch measurements are estimated.

INSTALLATION & USE
USE ONLY RANGE HOOD CORD CONNECTION KITS THAT HAVE PROVIDED FOR USE WITH THIS RANGE HOOD
Note 1: Carefully remove the plastic protective film from all exterior surfaces of the hood, filters and duct cover prior to installation.
Note 2: At least two people will be required to mount this product.
INSTALLTION DRILLING AND LINING
- Draw a vertical line on the wall where the hood will be installed, up to the ceiling or as high as needed.
- Draw a horizontal line 28-30 inches above an electric cooktop or 30-32 inches above a gas cooktop.
- Place chimney mounting brackets on the wall as shown about 1”(27mm) from the ceiling or upper limit aligning the centre (notch) with the vertical reference line.

MOUNTING THE HOOD
- Mount two main mounting screws into the wall along the line that is 16″above the horizontal line. To ensure that two screws are paralleling with horizontal line.
- Align mounting holes on the back of range hood with mounting screws on the wall.
Place range hood on the screws and fasten the screws. - Use the auxiliary screws provided to secure the range hood.

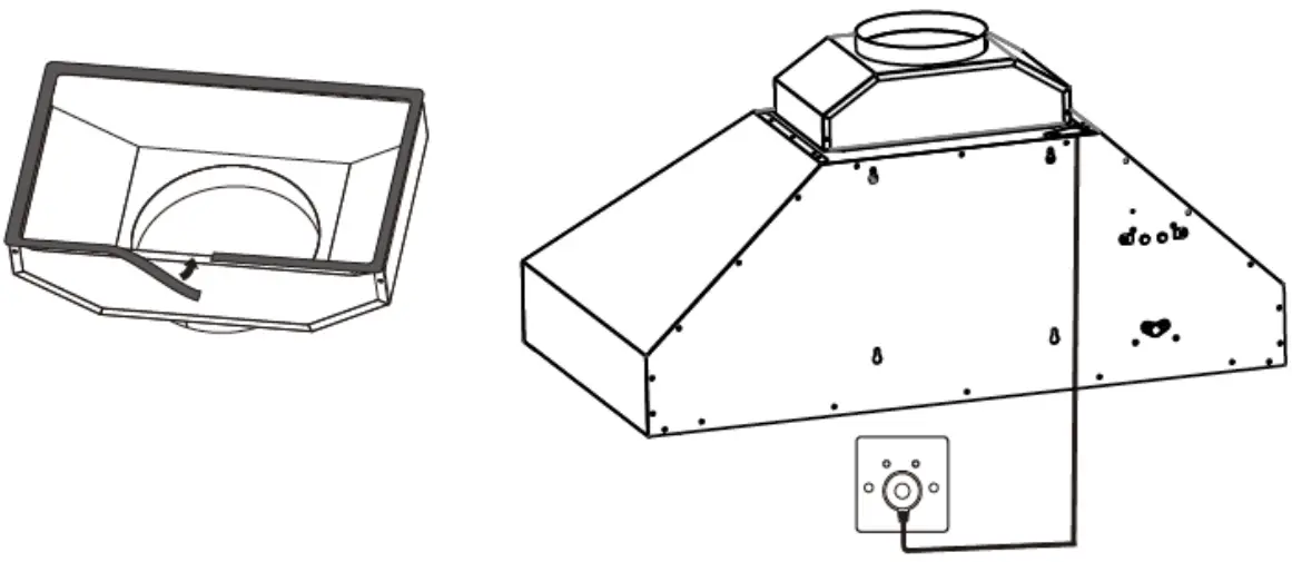
FIX THE AIR OUTLET
- Use the sealing strip provided in the accessories bag and place it around the air outlet joint cover by one circle and make sure there is no air leakage.
- Using 4 screws provided to install the joint cover onto the range hood.

DUCT FIXING
Caution:To reduce the risk of tire,use metal ductwork only. (Metal duct should be able to easily sourced from local hardware stores.)
- Attach an adequate length of Φ7” round duct on the top the outlet adapter.
- Secure the duct using fastener. Make sure the duct is taxed well on
CONNECTIONS
Ducted mode air exhaust system
Caution: To reduce the risk of fire, use metal ductwork only.(Metal duct should be sourced by locally.)
- Decide where the ductwork will run between the hood and the outside.
- A straight, short duct run will allow the hood to perform most efficiently.
- Long duct runs, elbows, and transitions will reduce the performance of the hood.
Use as few of them as possible. Larger ducting may be required for best performance with longer duct runs. - Attach an adequate length of 7″round duct to the air outlet adapter.
- The air must not be discharge into a flue that is used for exhausting fumes from appliances burning gas or other fuels.
Regulations concerning the discharge of air have to be fulfilled. - Install wall cap or roof cap. Connect round metal ductwork to cap and work back towards the hood location. Use duct tape to seal the joints between duct work sections.

Recirculation Mode
Caution: Do not use plastic or rigid metal ducting.
- Install the charcoal filter on.
- Please note that the air will flow out from the two grids on the two sides of the chimney top.
- If choosing recirculation kit,for exhausting air smoothly, please make sure that there is a gap of 20mm at least between the cabinet or chimney cover and the ceiling.

Electrical connection
- Electrical wiring must be done by a qualified person(s) in accordance with all applicable codes and standards. Turn off electrical power at service entrance before wiring.
- If the supply cord is damaged,it must be replaced by the manufacturer,its service agent or similarly qualified persons in order to avoid a hazard.
- Do not use the plug and an extension cord other than the ones initially supplied with the hood.
- This appliance must be grounded. In the event of an electrical short circuit, grounding reduces the risk of electric shock by providing an escape wire for the electric current.
This appliance equipped with a cord having a grounding wire with a grounding plug.
The plug must be plugged into an outlet that is properly installed and grounded.Do not remove ground prong of the plug
OPERATION OF CONTROLS CONTROL SWITCH

-Turns the light on/off
- – Low speed sett, ng
- – Medium speed setting
- – High speed setting
– Turns the hood on or off
MAINTENANCE
Proper maintenance of the Range Hood will assure proper performance of the unit.
Disconnect the hood from the main supply before carrying out any maintenance work.
GREASE FILTER
- The grease filters should be cleaned frequently, Use a warm detergent solution.(every two months of operation,or more frequently for heavy use. )
- Grease filters are washable.
- You can purchase the filter at www.thorkitchen.com

- Remove the grease filter one by one by pushing down each latch. This will disengage the filter from the hood. Tilt the filter downward and remove.
- Wash the filters, taking care not to bend them. Allow them to be dry before refitting.
- When refitting the filters, make sure that the handle is visible from the outside.
- To install the grease filter, align rear filter tabs with slots in the hood. Push down the latch, push filter into position and release. Make sure the filter is securely engaged after assembly
CHARCOAL FILTER FOR DUCTLESS INSTALLATION (NOT INCLUDED)
This filter not washable, can not be regenerated, and should be replaced approximately every 3 months of operation, or more frequently in the case of heavy usage.
- To install the charcoal filter(not included),and lock it until the stop click is heard.
- Install grease filter after charcoal filter(no t included)is installed

LED BULBS
This range hood may require two DC12V 2.0W LED. WARNING: Always switch off the electrical supply before carrying out any operation on the appliance.
To change bulbs:
- Switch off power and wait for 5 minute till the bulbs cool down.
- Wear gloves and remove the bulb by pulling sideward (as the direction instructed).
- Replace with DC12V 2.0W LED .

CAUTION
- THE SURFACE OF THE HALOGEN BULBS MAY BE HOT, TAKE CARE WHEN TAKING THE REPLACEMENT.
HOOD CLEANING
Stainless steel is one of the easiest materials to keep clean. Occasional care will help preserve its fine appearance. Cleaning tips:
- Warm water with soap or detergent is all that is usually needed.
- Follow all cleaning by rinsing with clear water. Wipe dry with a clean,soft cloth to avoid water marks.
- For discolorations or deposits that persist,use a non-scratching household cleanser or stainless steel polishing powder with a little water and a soft cloth.
- For stubborn cases use a plastic scouring pad or soft bristle brush together with cleanser and water.Rub lightly in direction of polishing lines or “grain”of the stainless finish.Avoid using too much pressure that may mar the surface.
- Do not allow deposits to remain for long periods of time.
- Do not use ordinary steel wool or steel brushes. Small bits of steel may scratch the surface and cause rust.
- Do not allow salt solutions, disinfectants, bleaches, or cleaning compounds to remain in contact with stainless steel for extended periods. Many of these compounds contain chemicals that may be harmful. Rinse with water after exposure and wipe dry with a clean cloth.
- Painted surfaces should be cleaned with warm water and mild detergent only.
- DISPOSAL: Do not dispose this product as unsorted municipal waste. Collection of such waste separately for special treatment is necessary
WARRANTY
Warranty & Service
This product has been manufactured by Thor Group, 4651
AirPort Drive, California 91761
For Customer Service, please call (877) 288 – 8099
For the most up to date warranty and service policy, please refer to our website
WWW.THORKITCHEN.COM/WARRANTY-REGISTRATION
For in-warranty service requests, please visit our website at
WWW.THORKITCHEN.COM/SERVICE
Please Note: You must provide proof of purchase or installation date for any in-warranty service requests.
WELCOME TO THE CLUB
You chose THOR Kitchen to enhance your culinary journey and we’re stoked to have you in the club. Think of it as a secret society of really savvy people, such as yourself, choosing professional power and performance at an affordable price.
Register your product by following the steps below.
WARRANTY REGISTRATION
- Scan theQR code or visit thorkitchen.com/warranty

- Input your product info and select register

- You’re done. Let’s get cookin’.

Customer Support
For Any installation Inquiries, please call Thor Customer Service Support
# 877 .. 288 .. 8099, or email to
[email protected]
































