Custom
INSERT HOODS
OWNER’S MANUAL & INSTALLATION INSTRUCTIONS
UVC7300
Write the model and serial numbers here:
Model # _________________
Serial # _________________
You can find them on a label on the inside of the hood.
GE is a trademark of the General Electric Company. Manufactured under trademark license.
49-2000893 Rev. 1 05-21 GEA
THANK YOU FOR MAKING GE APPLIANCES A PART OF YOUR HOME.
________________
Whether you grew up with GE Appliances, or this is your first, we’re happy to have you in the family.
We take pride in the craftsmanship, innovation and design that goes into every GE Appliances product, and we think you will too. Among other things, registration of your appliance ensures that we can deliver important product information and warranty details when you need them.
Register your GE appliance now online. Helpful websites and phone numbers are available in the Consumer Support section of this Owner’s Manual. You may also mail in the pre-printed registration card included in the packing material.

SAFETY INFORMATION
IMPORTANT SAFETY INFORMATION
READ ALL INSTRUCTIONS BEFORE USING
WARNING TO REDUCE THE RISK OF FIRE, ELECTRIC SHOCK OR INJURY TO PERSONS, OBSERVE THE FOLLOWING:
A. Use this unit only in the manner intended by the manufacturer. If you have questions, contact the manufacturer.
B. Before servicing or cleaning unit, switch power off at service panel and lock the service disconnecting means to prevent power from being switched on accidentally. When the service disconnecting means cannot be locked, securely fasten a prominent warning device, such as a tag, to the service panel.
C. Do not use this unit with any solid-state speed control device.
D. This unit must be grounded.
CAUTION FOR GENERAL VENTILATING USE ONLY. DO NOT USE TO EXHAUST HAZARDOUS OR EXPLOSIVE MATERIALS AND VAPORS.
CAUTION TO REDUCE RISK OF FIRE AND TO PROPERLY EXHAUST AIR, BE SURE TO DUCT AIR OUTSIDE. DO NOT VENT EXHAUST AIR INTO SPACES WITHIN WALLS OR CEILINGS OR INTO ATTICS, CRAWL SPACES OR GARAGES.
WARNING TO REDUCE THE RISK OF INJURY TO PERSONS IN THE EVENT OF A RANGE TOP GREASE FIRE, OBSERVE THE FOLLOWING*:
A. SMOTHER FLAMES with a close-fitting lid, cookie sheet or metal tray, then turn off the burner. BE CAREFUL TO PREVENT BURNS. If the flames do not go out immediately, EVACUATE AND CALL THE FIRE DEPARTMENT.
B. NEVER PICK UP A FLAMING PAN–You may be burned.
C. DO NOT USE WATER, including wet dishcloths or towels–a violent steam explosion will result.
D. Use an extinguisher ONLY if:
- You know you have a Class ABC extinguisher, and you already know how to operate it.
- The fire is small and contained in the area where it started.
- The fire department is being called.
- You can fight the fire with your back to an exit.
*Based on “Kitchen Fire Safety” published by NFPA.
READ AND SAVE THESE INSTRUCTIONS
WARNING TO REDUCE THE RISK OF A RANGE TOP GREASE FIRE:
A. Never leave surface units unattended at high settings. Boilovers cause smoking and greasy spillovers that may ignite. Heat oils slowly on medium settings.
B. Always turn hood ON when cooking at high heat or when flambéing food (i.e. Crepes Suzette, Cherries Jubilee, Peppercorn Beef Flambé).
C. Clean ventilating fans frequently. Grease should not be allowed to accumulate on fan or filter.
D. Use proper pan size. Always use cookware appropriate for the size of the surface element.
WARNING TO REDUCE THE RISK OF FIRE, ELECTRIC SHOCK OR INJURY TO PERSONS, OBSERVE THE FOLLOWING:
A. Installation work and electrical wiring must be done by qualified person(s) in accordance with all applicable codes and standards, including fire-rated construction.
B. Sufficient air is needed for proper combustion and exhausting of gases through the flue (chimney) of fuel burning equipment to prevent back drafting. Follow the heating equipment manufacturer’s guidelines and safety standards such as those published by the National Fire Protection Association (NFPA), the American Society for Heating, Refrigeration and Air Conditioning Engineers (ASHRAE) and the local code authorities.
C. When cutting or drilling into wall or ceiling, do not damage electrical wiring and other hidden utilities.
D. Ducted fans must always be vented to the outdoors.
E. When applicable, install any makeup (replacement) air system in accordance with local building code requirements. Visit GEAppliances.com for available makeup air solutions. In Canada, visit GEAppliances.ca.
F. Turn off breaker to adjacent rooms while working.
WARNING TO REDUCE THE RISK OF FIRE, USE ONLY METAL DUCTWORK.
- Do not attempt to repair or replace any part of your hood unless it is specifically recommended in this manual. All other servicing should be referred to a qualified technician.
How to Remove Protective Shipping Film and Packaging Tape
Carefully grasp a corner of the protective shipping film with your fingers and slowly peel it from the appliance surface. Do not use any sharp items to remove the film. Remove all of the film before using the appliance for the first time.
To assure no damage is done to the finish of the product, the safest way to remove the adhesive from packaging tape on new appliances is an application of a household liquid dishwashing detergent. Apply with a soft cloth and allow to soak.
NOTE: The adhesive must be removed from all parts.
NOTE: For further cleaning instructions/suggestions, please refer to the Care and Cleaning section.
READ AND SAVE THESE INSTRUCTIONS
USING THE HOOD: Controls
Controls


1. Rangehood Control Panel: The control panel is located on the front of the canopy. The position and function of each control button are noted below.
2. Fan On/Off Button: On/Off switch for the fan. The fan can be operated by pressing any of the fan setting buttons. Hold for 3 seconds to activate Delay Off feature, which automatically turns the fan off after 15 minutes.
3. Fan Setting Button: Speed control for the fan. Press the Low button for LOW speed, Med for MEDIUM speed, and High for HIGH speed. Hold down the High button for 3 seconds to activate the BOOST speed that will run for 10 minutes.
On Remote, press
to increase fan speed, press
to decrease fan speed, including Boost.
4. Light Button: On/Dim/Off switch for the LED lights. Press the Light button to turn the lights on, again to set the lights to dim setting, and again to turn the lights off.
5. Chef Connect: This is a Bluetooth® pairing feature for use with other compatible Chef Connect enabled products on a cooktop or range. When the device is paired, the light and fan will turn ON at the Default Sync Settings upon receiving a command from the range or cooktop. It will remain ON at that setting until the user changes it. To pair devices, hold down the Chef Connect button for 3 seconds. To turn it back off, hold the button down for another 3 seconds, see the Chef Connect section for details.
6. Chef Connect Indicator Light: Light will turn on when Chef Connect is paired.
7. IR Sensor: Remote Control receiver when used with Remote Control Kit (UXRC1).
8. Wi-Fi (Remote only): Not available.
9. Delay Off (Remote only): Press and hold Delay Off to toggle Delay Off function.
Heat Sensor
Your hood is equipped with a HEAT SENSOR thermostat. This thermostat is a device that will turn on or speed up the blower if it senses excessive heat above the cooking surface.
- If blower is Off – it turns blower On to Med speed
- If blower is On at a lower speed setting – it turns blower up to Med speed.
When the temperature level drops to normal, the blower will return to its original setting.
USING THE HOOD: Chef Connect
Chef Connect
Chef Connect Operation Bluetooth® Connection
To pair with another device:
To start the pairing process on the hood, press and hold the Chef Connect button for 3 seconds. The backlight for the Low-Med-High-Light-Chef Connect buttons will flash in that sequence until the hood is paired with the range or other device. If the pairing is successful, all five backlights (Low, Med, High, Light, Chef Connect) will flash simultaneously three times and then turn off and the Chef Connect indicator light will turn on.
It will time out after 2 minutes if the pairing is not completed, after which the pairing sequence will need to be restarted.
To cancel pairing:
To cancel the pairing, hold the Chef Connect button down for 3 seconds and then turn off the hood.
Default Sync Settings:
The factory default setting for the light will be the brightest.
The factory default setting for the fan sync will be OFF.
The user can change the Default Sync Settings by pressing and holding the Low button for 3 seconds. This will enter the Default Settings Mode. Once in this mode, the backlights for all buttons (Low, Med, High, Light, Chef Connect) will blink On/Off indefinitely and the fan and light will switch to the current Default Sync Setting, so the user knows what the current default value is. At this time, set the light and fan to the desired default levels. Once the user is satisfied with the selection, press and hold the Off button for 3 seconds. This will exit this mode. At that time the backlights will stop blinking and the state of the fan and light will change back to their prior state before entering the Default Settings Mode.
CARE AND CLEANING: Filters
Filters
Be sure the circuit breaker is off and all surfaces are cool before cleaning or servicing any part of the vent hood.
The metal filters trap grease during cooking.
The filter must ALWAYS be in place when the hood is in use. The grease filter is dishwasher-safe and should be cleaned every month, depending on the usage of the hood.
Mesh Metal Grease Filter
To remove:
Press filter latch in and pull down.
To replace:
Insert the bottom of the filter tabs into the corresponding holes. Press filter latch in and lift up into place. Release the latch to lock it in place.
To clean:
Swish the filter in hot soapy water and rinse in clean water or wash it in the dishwasher. Do not use abrasive cleansers.
NOTE: Some discoloration of the filters may occur in the dishwasher.
Charcoal Filter (for recirculation installation only)
NOTE: DO NOT rinse, or put charcoal filter in an automatic dishwasher.
The charcoal filter cannot be cleaned. It must be replaced. It is recommended that the charcoal filter be replaced every 6 months or if it is noticeably dirty or discolored.
Order Charcoal Filter UXCF91 (not included)
To inquire about purchasing replacement charcoal filters or to find the location of a dealer nearest you, please call our toll-free number:
National Parts Center 800.626.2002
In Canada, 800.661.1616
To Install
- Remove the grease filters. See Filters section.
- Install the charcoal filter mounts to either side of the motor using three screws per side.
- Insert the tab on the charcoal filter into the triangular slot on the mount.
- Clip the charcoal filter in until it is locked
- Repeat with second filter on the other side of the motor.
- Reattach the metal filters. See Filters section.
To Remove
- Remove grease filters-See Filters section
- Unclip the charcoal filter by pressing the release clip.
- Carefully remove charcoal filter from tab.

- Charcoal Filter Mount
CARE AND CLEANING: Surfaces / Lights
Surfaces
Stainless Steel Surfaces (on some models)
Do not use a steel wool pad; it will scratch the surface.
To clean the stainless steel surface, use warm sudsy water or a stainless steel cleaner or polish. Always wipe the surface in the direction of the brush line. Follow the cleaner instructions for cleaning the stainless steel surface. Cleaners with oxalic acid such as Bar Keepers Friend Soft Cleanser™ will remove surface rust, tarnish, and small blemishes. To receive a coupon for a trial sample of Bar Keepers Friend Soft Cleanser™ follow the link below or scan the QR Code.
Use only a liquid cleanser free of grit and rub in the direction of the brush lines with a damp soft sponge.
To inquire about purchasing stainless steel appliance cleaner or polish, or to find the location of a dealer nearest you, please call our toll-free number:
National Parts Center
800.626.2002
GEApplianceparts.com
In Canada, call 800.661.1616 or visit geappliances.ca
Lights
CAUTION Allow lights to cool before touching.
- Before attempting to replace the lights, make sure that the light switch is turned off.
- Rotate light counterclockwise to unlock and pull out. Wearing latex gloves may offer a better grip.
- Replace with new light of same type, making sure pins are inserted properly into the sockets of the lamp holder and turn clockwise to lock.
All lamps need to be GU10 compatible.

- Lamp Holder
- Rotate the lamp until the pins are located in narrow neck of the socket to lock.
INSTALLATION INSTRUCTIONS
Installation Instructions
Custom Insert Hood
UVC7300
? If you have questions, call GE Appliances at 800.GE.CARES (800.432.2737) or visit our website at: GEAppliances.com. In Canada, visit GEAppliances.ca or call 800.561.3344.
BEFORE YOU BEGIN
Read these instructions completely and carefully.
- IMPORTANT – Save these instructions for local inspector’s use.
- IMPORTANT – Observe all governing codes and ordinances.
- Note to Installer - Be sure to leave these instructions with the Consumer.
- Note to Consumer - Keep these instructions for future reference.
- Skill level – Installation of this vent hood requires basic mechanical and electrical skills.
- Completion time - Approximately 1 to 3 hours
- Proper installation is the responsibility of the installer.
- Product failure due to improper installation is not covered under the Warranty.
CAUTION Due to the weight and size of these vent hoods and to reduce the risk of personal injury or damage to the product, TWO PEOPLE ARE REQUIRED FOR PROPER INSTALLATION.
FOR YOUR SAFETY
WARNING Before beginning the installation, switch power off at service panel and lock the service disconnecting means to prevent power from being switched on accidentally. When the service disconnecting means cannot be locked, securely fasten a prominent warning device, such as a tag, to the service panel.
WARNING TO REDUCE THE RISK OF FIRE, ELECTRIC SHOCK OR INJURY TO PERSONS, OBSERVE THE FOLLOWING:
A. Installation work and electrical wiring must be done by qualified person(s) in accordance with all applicable codes and standards, including fire-rated construction.
B. Sufficient air is needed for proper combustion and exhausting of gases through the flue (chimney) of fuel burning equipment to prevent back drafting. Follow the heating equipment manufacturer’s guidelines and safety standards such as those published by the National Fire Protection Association (NFPA), the American Society for Heating, Refrigeration and Air Conditioning Engineers (ASHRAE) and the local code authorities.
C. When cutting or drilling into wall or ceiling, do not damage electrical wiring and other hidden utilities.
D. Ducted fans must always be vented to the outdoors.
E. Turn off breaker to adjacent rooms while working.
WARNING TO REDUCE THE RISK OF FIRE, USE ONLY METAL DUCT WORK.
WARNING Disconnect all electrical power at the main circuit breaker or fuse box before installing.
Installation instructions, describing the intended mounting and wiring of the range hood cord connection kit, shall be provided with each range hood cord connection kit.
INSTALLATION PREPARATION
Installation Preparation
PRODUCT DIMENSIONS



CABINET PREPARATION
Liner (Optional) (UXHL30 or UXHL36)

FRONT VIEW

SIDE VIEW

- Liner is used
INSTALLATION CLEARANCES
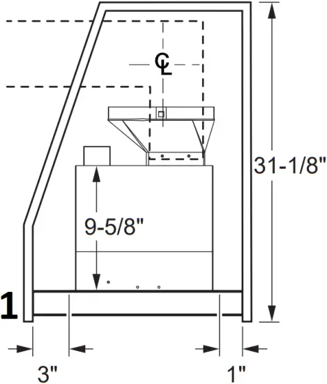
This vent hood must be installed between the 24″ required minimum and 36″ recommended maximum above the cooking surface.
- Always refer to the cooktop or range installation instructions for product-specific clearances.
NOTE: Installation height should be measured from the cooking surface to the bottom edge of the cabinet surface.
NOTE: UL requires any combustible surface to be a minimum of 30″ above the cooking surface.
- The custom cabinet internal height must be 16-5/8″ minimum for vertical venting, 27-1/8″ for recirculation. If liner is used, the custom cabinet internal height must be 20-5/8″ minimum for vertical venting, 31-1/8″ for recirculation.
- This hood can be vented to the outdoors, or it can be installed for recirculating operation. For recirculating operation, refer to Recirculating Installation Planning.
- This hood may be mounted onto a cabinet or installed over an island.

- Liner is used
- *24″ Minimum required
*36″ Maximum recommended
NOTE: The exhaust duct on the hood is closer to the rear of the hood. It is important to plan for the alignment to the connection point of the hood.

1″ = 2.5 cm
TOOLS AND MATERIALS REQUIRED (NOT SUPPLIED)

Pencil and tape measure Aluminized duct tape

Step ladder Needle-nose pliers
![]()
Electric drill and appropriate bits Level


Flashlight Safety glasses

8″ ducting and caps as needed Tin snips

Wire cutter/ stripper UL listed wire nuts

Phillips and flat-blade screwdrivers Strain relief for junction box

Gloves
PARTS PROVIDED
Locate the parts packed with the hood.
NOTE: The hardware bag may contain extra pieces to accommodate a variety of installation methods for various models.


Hardware Bag Hood
A

Phillips Head Wood Screws
3/16″ x 1-1/2″
(QTY: 4)
B

Philips Head Machine Screw
1/8″ X 3/8″
(QTY: 16)

Damper Assembly
D

Phillips Head Wood Screws
1/8″ X 3/8″
(QTY: 4)
L

Phillips Head Wood Screws
3/16″ x 1″
(QTY: 8)
PLAN THE INSTALLATION
CAUTION To reduce risk of fire and to properly exhaust air, be sure to duct the air outside-Do not vent exhaust air into spaces within walls or ceilings or into attics, crawl spaces, or garages.
WARNING
PERSONAL INJURY HAZARD
It is recommended that 2 people are used to install the range hood. Failure to properly lift rangehood could result in damage to the product or personal injury.
NOTE: This rangehood can be installed as either ducted or recirculation. In a ducted application, this rangehood can be vented through the wall or ceiling. When installed for recirculation, the rangehood vents back into the room.
REMOVE THE PACKAGING
CAUTION Wear gloves to protect against sharp edges.
- Remove the hardware bag, literature package and other boxed parts.
- Remove and properly discard the protective plastic wrapping and other packaging materials.
1″ = 2.5 cm
ADVANCE PLANNING
Duct Install Planning
- This hood is designed to be vented vertically through the ceiling. Use a 8″ round duct. Use locally supplied elbows to vent horizontally through the rear wall. An 8″ duct is required for optimal performance but a minimum of 6″ duct can be used to ensure consistent performance.
- Use metal ductwork only.
- Determine the exact location of the vent hood.
- Plan the route for venting exhaust to the outdoors.
To maximize the ventilation performance of the vent system:
1. Minimize the duct run length and number of transitions and elbows.
2. Maintain a constant duct size.
3. Seal all joints with duct tape to prevent any leaks.
NOTE: Flexible vent is not recommended. Flexible vent creates back pressure and air turbulence that greatly reduces performance.
- Maximum equivalent duct length for 100 CFM: 150 foot for vent hoods.
- Install a wall cap or roof cap with damper at the exterior opening. Purchase the wall or roof cap and any transition and length of duct needed in advance.
- When applicable, install any makeup (replacement) air system in accordance with local building code requirements. Visit GEAppliances.com for available makeup air solutions.
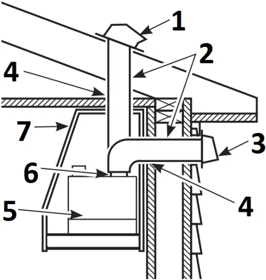
Vent system can terminate either through the roof or the wall. To vent through a wall, a 90° elbow is needed and installed immediately above the hood.

- Roof Cap
- Round Duct
- Wall Cap
- Add Insulation and/or Caulk
- Hood
- Add tape to joint
- Cabinet
Wall and Ceiling Framing for Adequate Support This vent hood is heavy and the cabinet structure needs to support the weight of the loaded insert sleeve. Adequate structural support must be provided in all types of installations.
- Installation will be easier if the vent hood is installed before the cooktop is installed.
Custom Cabinet Frame Planning
- The custom canopy or cabinet should have a rectangular hole to accommodate the custom hood insert by itself. This hole is the same size for both a wall installation and an island installation. Ensure parallelism and levelness of the cabinet so that it doesn’t affect flushness of the hood with the cabinet.

- Front of hole must be 3″ minimum from cabinet front
- Back of hole must be 1″ minimum from back wall
RECIRCULATION INSTALL PLANNING
This hood may be installed in recirculation mode. The charcoal filter (not included) is necessary for recirculation installation.
Use only with range hood cord connection kits that have been investigated and found acceptable for use with this model range hood.
1’ = 0.3 m, 1″ = 2.5 cm
POWER SUPPLY
IMPORTANT - (Please read carefully)
WARNING
FOR PERSONAL SAFETY, THIS APPLIANCE MUST BE PROPERLY GROUNDED.
Remove house fuse or open circuit breaker before beginning installation.
Do not use an extension cord or adapter plug with this appliance. Follow National Electrical Codes or prevailing local codes and ordinances.
Electrical supply
These vent hoods must be supplied with 120V, 60Hz, and connected to an individual, properly grounded branch circuit, and protected by a 15 or 20 amp circuit breaker or time delay fuse.
- Wiring must be 2 wire with ground.
- If the electrical supply does not meet the above requirements, call a licensed electrician before proceeding.
- Route house wiring as close to the installation location as possible in the ceiling or wall.
- Connect the wiring to the house wiring in accordance with local codes.
Grounding instructions
The grounding conductor must be connected to a ground metal, permanent wiring system, or an equipment-grounding terminal or lead on the hood.
WARNING The improper connection of the equipment-grounding conductor can result in a risk of electric shock. Check with a qualified electrician or service representative if you are in doubt whether the appliance is properly grounded.
PREPARE HOUSE ELECTRICAL WIRING
The custom cabinet must allow spacing for house wiring to reach junction box located in diagram below. If unit is installed over an island, the wiring must come from ceiling. If power cord is needed, accessory is available.

- Electrical Area
PREPARE FOR CABINET INSTALLATION
NOTE: This bracket must be removed prior to installation. Remove 2 back (rear) and 2 bottom screws per illustration bellow.


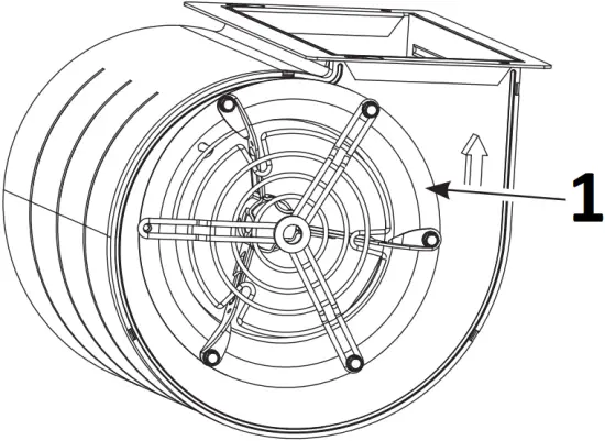
1. Securely press the damper on top of the exhaust opening. Check that the damper opens freely. Attach damper to hood using screws (B) provided.

2. The hood should be centered left to right over the cooktop.
3. Remove and properly discard the protective plastic wrapping from the hood.
4. The back surface of the hood must be 1″ minimum from the back wall. The front surface of the hood must be 3″ minimum from the front custom cabinet panel.
5. The custom cabinet should provide for removal of panels to provide access to the electrical wiring and to the ducting and its connections to the hood in case of any need for servicing or other reasons.
1″ = 2.5 cm
INSTALLATION
Installation
STEP 1 INSTALL HOOD LINER (If Used)
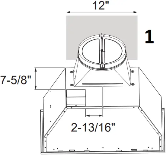
1. The rectangular opening in framing or custom cabinet must be sized for the liner outside and inside dimensions. Refer to Product Dimensions section.
2. Secure the liner to the cabinet with 4 wood screws (A) or (D) as needed.

STEP 2 INSTALL THE HOOD
1. Confirm the damper is in place in the hood exhaust opening.
2. Insert the hood into the cabinet opening.

3. Fasten with 8 screws (A or L), 4 in the back and 2 on each side. It is recommended to start with one corner and fasten screws diagonally to ensure unit flushness with cabinet.

If the liner is used, fasten 12 machine screws (B), 4 in the back, 4 in the front, and 2 on each side. The front 4 screw holes are accessed by removing the light panel assembly. The light panel assembly is removed by removing the two screws on both ends of the panel.

4. Once the hood is in place, seal the duct to the hood with duct tape (Do not use screws).
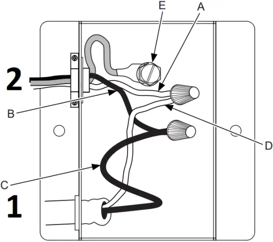
ELECTRICAL CONNECTION
1. Remove the electrical junction box cover.

2. Remove the electrical box knockout.

- Electrical Box Knockout with Strain Relief
3. Feed the Power Supply Cable through the hole and secure with a strain relief.
4. Attach the white lead of the power supply (A) to the white lead of the range hood (D) with a wire nut. Attach the black lead of the power supply (B) to the black lead of the range hood (C) with a wire nut. Connect the house ground wire under the green grounding screw (E).

- Hood Wiring
- House Wiring
5. Reattach the electrical junction box cover.
STEP 3 RECIRCULATION KIT (If Used)
- Cut a hole into the soffit for the exhaust duct.
- Install the vent grill over the exhaust duct.
- Seal the duct joints with duct tape.
Visit GEAppliances.com to order the optional recirculation kit. In Canada, vision GEAppliances.ca.


- 8″ to 8″ ducting
- 90° Angle Boot
- Hood Center Line
- Soffit Cutout
- Filters
1″ = 2.5 cm
STEP 4 FINALIZE INSTALLATION
- Insert filters, see the Filters section.
- Check operation of the lights and blower.
- Finish the custom cabinetry.
TROUBLESHOOTING TIPS
Troubleshooting tips … Before you call for service
Save time and money! Review the charts on the following pages first and you may not need to call for service.
| Problem | Possible Cause | What To Do |
| Fan/Light does not operate when button is turned ON | A house fuse may be blown or a circuit breaker tripped. | Replace fuse or reset circuit breaker. |
| Loud or abnormal airflow noise | Wrong duct size used in installation. | This hood requires 8″ ducting to perform optimally. Using smaller duct pipe will cause reduced venting. Minimize the duct run length and number of transitions and elbows. GE Appliances service technicians cannot correct this issue if installed improperly. |
| Fan fails to circulate air or moves air slower than normal and/or fan is making loud or abnormal airflow noise | Obstructions in duct work. | Make sure nothing is blocking the vent. Make sure your wall or roof cap has a blade or door. |
| Damper blade on wall or roof cap may not be open. | Make sure damper swings freely. Damper blades may flip over and will not fully open when this happens. Adjust to original position. | |
| Metal grease filter and charcoal filter (if present) may be dirty. | Clean the metal grease filter and replace charcoal filter (if present). See Care and Cleaning of the Vent Hood. | |
| Insufficient makeup (replacement) air | Sufficient makeup (replacement) air is required for exhausting appliances to operate to rating. Check with local building codes, which may require or strongly advise the use of makeup air. Visit GEAppliances.com for available makeup air solutions. In Canada, GEAppliances.ca. | |
| Early light failure | Light wattage is too high. | Replace with correct wattage. |
| Fan keeps going off and on | The motor is probably overheating and turning itself off. This can be harmful to the motor. | Check to be sure the filters are clean. If off and on cycling continues, call for service. |
| Lights not functioning | Wrong bulbs are used. Must use GU10 compatible dimmable bulbs. | Visit GEAppliances.com for replacement bulbs. In Canada, GEAppliances.ca. |
LIMITED WARRANTY
GE Appliances Vented Range Hood Limited Warranty
GEAppliances.com
All warranty service is provided by our Factory Service Centers, or an authorized Customer Care® technician. To schedule service online, visit us at GEAppliances.com/service_and_support/, or call GE Appliances at 800.GE.CARES (800.432.2737). In Canada, visit GEAppliances.ca/en/support/service-request or call 800.561.3344. Please have your serial number and your model number available when calling for service.
Servicing your appliance may require the use of the onboard data port for diagnostics. This gives a GE Appliances factory service technician the ability to quickly diagnose any issues with your appliance and helps GE Appliances improve its products by providing GE Appliances with information on your appliance. If you do not want your appliance data to be sent to GE Appliances, please advise your technician not to submit the data to GE Appliances at the time of service.
| For the period of | GE Appliances will replace |
| One year From the date of the original purchase | Any part of the cooking product which fails due to a defect in materials or workmanship. During this limited one-year warranty, GE Appliances will provide, free of charge, all labor and related service costs to replace the defective part. |
What GE Appliances will not cover:
- Service trips to your home to teach you how to use the product.
- Improper installation, delivery, or maintenance.
- Failure of the product if it is abused, misused, modified, or used for other than the intended purpose or used commercially.
- Replacement of house fuses or resetting of circuit breakers.
- Damage to the product caused by accident, fire, floods, or acts of God.
- Damage to finish, such as surface rust, tarnish, or small blemishes not reported within 48 hours of delivery.
- Incidental or consequential damage caused by possible defects with this appliance.
- Damage caused after delivery.
- Product not accessible to provide required service.
- Service to repair or replace light bulbs, except for LED lamps.
EXCLUSION OF IMPLIED WARRANTIES
Your sole and exclusive remedy is product repair as provided in this Limited Warranty. Any implied warranties, including the implied warranties of merchantability or fitness for a particular purpose, are limited to one year or the shortest period allowed by law.
This limited warranty is extended to the original purchaser and any succeeding owner for products purchased for home use within the USA. If the product is located in an area where service by a GE Appliances Authorized Servicer is not available, you may be responsible for a trip charge or you may be required to bring the product to an Authorized GE Appliances Service location for service. In Alaska, the limited warranty excludes the cost of shipping or service calls to your home. Some states do not allow the exclusion or limitation of incidental or consequential damages. This limited warranty gives you specific legal rights, and you may also have other rights which vary from state to state. To know what your legal rights are, consult your local or state consumer affairs office or your state’s Attorney General. In Canada: This warranty is extended to the original purchaser and any succeeding owner for products purchased in Canada for home use within Canada. If the product is located in an area where service by a GE Authorized Servicer is not available, you may be responsible for a trip charge or you may be required to bring the product to an Authorized GE Service location. Some provinces do not allow the exclusion or limitation of incidental or consequential damages. This warranty gives you specific legal rights, and you may also have other rights which vary from province to province. To know what your legal rights are, consult your local or provincial consumer affairs office.
Garante: GE Appliances, a Haier company Louisville, KY 40225
MC Commercial Burlington, ON, L7R 5B6
Extended Warranties: Purchase a GE Appliances extended warranty and learn about special discounts that are available while your warranty is still in effect. You can purchase it online anytime at
In US: geappliances.com/service_and_support/shop-for-extended-service-plans.htm
In Canada: geappliances.ca/en/support/purchase-extended-warranty
or call 800.626.2224 (Canada 866.277.9842) during normal business hours. GE Appliances Service will still be there after your warranty expires.
Staple your receipt here. Proof of the original purchase date is needed to obtain service under the warranty.
ACCESSORIES
Accessories
Looking For Something More?
GE Appliances offers a variety of accessories to improve your cooking and maintenance experiences!
Refer to the Consumer Support page for phone numbers and website information.
The following products and more are available:
Parts
Power Cord Kit
Recirculation Kit
Charcoal Filter
Hood Liner
Remote Control
Cleaning Supplies
CitruShine™ Stainless Steel Wipes
Stainless Steel Appliance Cleaner
Bar Keepers Friend Soft Cleanser™
CONSUMER SUPPORT
Consumer Support
GE Appliances Website
Have a question or need assistance with your appliance? Try the GE Appliances Website 24 hours a day, any day of the year! You can also shop for more great GE Appliances products and take advantage of all our on-line support services designed for your convenience. In the US: GEAppliances.com. In Canada: GEAppliances.ca.
Register Your Appliance
Register your new appliance on-line at your convenience! Timely product registration will allow for enhanced communication and prompt service under the terms of your warranty, should the need arise. You may also mail in the pre-printed registration card included in the packing material. In the US: GEAppliances.com/register. In Canada: Prodsupport.mabe.ca/crm/Products/ProductRegistration.aspx
Schedule Service
Expert GE Appliances repair service is only one step away from your door. Get on-line and schedule your service at your convenience any day of the year. In the US: GEAppliances.com/service or call 800.432.2737 during normal business hours. In Canada: GEAppliances.com/en/support/service-request
Extended Warranties
Purchase a GE Appliances extended warranty and learn about special discounts that are available while your warranty is still in effect. You can purchase it on-line anytime. GE Appliances Services will still be there after your warranty expires. In the US: GEAppliances.com/extended-warranty or call 800.626.2224 during normal business hours. In Canada: GEAppliances.com/en/support/purchase-extended-warranty
Remote Connectivity
For assistance with wireless network connectivity (for models with remote enable), visit our website at GEAppliances.com/connect or call 800.220.6899 in the US.
Parts and Accessories
Individuals qualified to service their own appliances can have parts or accessories sent directly to their homes (VISA, MasterCard and Discover cards are accepted). Order on-line today 24 hours every day.
In the US: GEApplianceparts.com or by phone at 877.959.8688 during normal business hours.
In Canada: GEAppliances.com/en/products/parts-filters-accessories
Instructions contained in this manual cover procedures to be performed by any user. Other servicing generally should be referred to qualified service personnel. Caution must be exercised, since improper servicing may cause unsafe operation.
Contact Us
If you are not satisfied with the service you receive from GE Appliances, contact us on our Website with all the details including your phone number, or write to:
In the US: General Manager, Customer Relations | GE Appliances, Appliance Park | Louisville, KY 40225 GEAppliances.com/contact
In Canada : Director, Consumer Relations, Mabe Canada Inc. | Suite 310, 1 Factory Lane | Moncton, N.B. E1C 9M3 GEAppliances.ca/en/contact-us
Printed in China
49-2000893 Rev. 1
Mesh Metal Grease Filter


















