WVU17UC0JW 30 Inch Range Hood
30″ (76.2 CM) RANGE HOOD
Installation Instructions and Use & Care Guide
For questions about features, operation/performance, parts, accessories or service, call: 1-800-253-1301
or visit our website at www.whirlpool.com
In Canada, call 1-800-807-6777 or visit our website at www.whirlpool.ca

Models WVU17UC0JS , WVU17UC0JB, WVU17UC0JW
IMPOR TANT: READ AND SAVE THESE INSTRUCTIONS. FOR RESIDENTIAL USE ONLY.
RANGE HOOD SAFETY
Your safety and the safety of others are very important.
We have provided many important safety messages in this manual and on your appliance. Always read and obey all safety messages.
This is the safety alert symbol. This symbol alerts you to potential hazards that can kill or hurt you and others. All safety messages will follow the safety alert symbol and either the word “DANGER” or “WARNING.” These words mean:
SAFETY You can be killed or seriously injured if you don’t immediately follow instructions.
You can be killed or seriously injured if you don’t follow instructions.
All safety messages will tell you what the potential hazard is, tell you how to reduce the chance of injury, and tell you what can happen if the instructions are not followed.
IMPORTANT SAFETY INSTRUCTIONS
WARNING: TO REDUCE THE RISK OF FIRE, ELECTRIC SHOCK, OR INJURY TO PERSONS, OBSERVE THE FOLLOWING:
- Use this unit only in the manner intended by the manufacturer. If you have questions, contact the manufacturer.
- Before servicing or cleaning unit, switch power off at service panel and lock the service disconnecting means to prevent power from being switched on accidentally. When the service disconnecting means cannot be locked, securely fasten a prominent warning device, such as a tag, to the service panel.
- Installation work and electrical wiring must be done by qualified person(s) in accordance with all applicable codes and standards, including fire-rated construction.
- Do not operate any fan with a damaged cord or plug. Discard fan or return to an authorized service facility for examination and/or repair.
- Sufficient air is needed for proper combustion and exhausting of gases through the flue (chimney) of fuel burning equipment to prevent back drafting. Follow the heating equipment manufacturer’s guideline and safety standards such as those published by the National Fire Protection Association (NFPA), and the American Society for Heating, Refrigeration and Air Conditioning Engineers (ASHRAE), and the local code authorities.
- When cutting or drilling into wall or ceiling, do not damage electrical wiring and other hidden utilities.
- Ducted fans must always be vented to the outdoors.
CAUTION: For General Ventilating Use Only. Do Not Use To Exhaust Hazardous Or Explosive Materials And Vapors.
CAUTION: To reduce risk of fire and to properly exhaust air, be sure to duct air outside -Do not vent exhaust air into spaces within walls or ceilings or into attics, crawl spaces,
or garages.
WARNING: TO REDUCE THE RISK OF FIRE, USE ONLY METAL DUCTWORK.
WARNING: TO REDUCE THE RISK OF A RANGE TOP GREASE FIRE:
- Never leave surface units unattended at high settings. Boilovers cause smoking and greasy spillovers that may ignite. Heat oils slowly on low or medium settings.
- Always turn hood ON when cooking at high heat or when flaming food (i.e. Crepes Suzette, Cherries Jubilee, Peppercorn Beef Flambé).
- Clean ventilating fans frequently. Grease should not be allowed to accumulate on fan or filter.
- Use proper pan size. Always use cookware appropriate for the size of the surface element.
WARNING: To REDUCE THE RISK OF INJURY TO PERSONS IN THE EVENT OF A RANGE TOP GREASE FIRE, OBSERVE THE FOLLOWING?:
- SMOTHER FLAMES with a close-fitting lid, cookie sheet, or metal tray, then turn off the burner, BE CAREFUL TO PREVENT BURNS. If the flames do not go out
immediately, EVACUATE AND CALL THE FIRE DEPARTMENT. - NEVER PICK UP A FLAMING PAN – You may be burned.
- DO NOT USE WATER, including wet dishcloths or towels a violent steam explosion will result.
- Use an extinguisher ONLY if:
— You know you have a Class ABC extinguisher, and you already know how to operate it.
— The fire is small and contained in the area where it started.
— The fire department is being called.= You can fight the fire with your back to an exit.
Based on “Kitchen Fire Safety Tips” published by NFPA. - WARNING: To Reduce The Risk Of Fire Or Electric Shock, Do Not Use This Fan With Any Solid-State Speed Control Device.
- This appliance is not intended for use by persons (including children) with reduced physical, sensory or mental capabilities, or lack of experience and knowledge, unless they have been given supervision or instruction concerning use of the appliance by a person responsible for their safety.
READ AND SAVE THESE INSTRUCTIONS
INSTALLATION REQUIREMENTS
Tools and Parts
Gather the required tools and parts before starting installation. Read and follow the instructions provided with any tools listed here.
Tools needed
Parts supplied
Remove parts from package. Check that all parts are included.

Parts needed
For 7″ (17.8 cm) round vented installations
For 31/4″ x 10″ (8.3 x 25.4 cm) rectangular vented
installations
Optional accessories
*For information on ordering, see the “Assistance or Service”
section.
Location Requirements
IMPORTANT: Observe all governing codes and ordinances.
■ It is the installer’s responsibility to comply with installation clearances specified on the model/serial rating plate. The model/serial rating plate is located inside the range hood on
the left wall.
■ Range hood location should be away from strong draft areas, such as windows, doors and strong heating vents.
■ Cabinet opening dimensions that are shown must be used. Given dimensions provide minimum clearance. Consult the cooktop/range manufacturer installation instructions before making any cutouts.
■ This range hood is recommended for use with cooktops with a maximum total rating of 40,000 BTUs or less.
■ Grounded electrical outlet is required. See “Electrical Requirements” section.
■ All openings in ceiling and wall where range hood will be installed must be sealed.
■ These range hoods are factory set for vented installations. Models that are capable of being installed as non-vented (recirculating) require charcoal filters. See the “Assistance or
Service” section for information on ordering charcoal filters.
For Mobile Home Installations
The installation of this range hood must conform to the Manufactured Home Construction Safety Standards, Title 24 CFR, Part 328 (formerly the Federal Standard for Mobile Home
Construction and Safety, title 24, HUD, Part 280) or when such standard is not applicable, the standard for Manufactured Home Installation 1982 (Manufactured Home Sites, Communities and Setups) ANSI A225.1/NFPA 501A, or latest edition, or with local
codes.
Product Dimensions
Installation Clearances

A. 24″ (61.0 cm) minimum distance from electric cooking surface.
24″ (61.0 cm) minimum distance from gas cooking surface.
30″ (76.2 cm) suggested maximum above the cooking surface.
B. 18″ (45.7 cm) minimum clearance – upper cabinet to countertop.
C. 30″ (76.2 cm) minimum cabinet opening width for 30″ (76.2 cm)
models and 36″ (91.4 cm) minimum cabinet width for 36″
(91.4 cm) models.
D. 12″ (30.5 cm) cabinet depth.
E. 36″ (91.4 cm) base cabinet height.
Venting System
Venting Methods
NOTES:
■ Flexible vent is not recommended. Flexible vent creates both back pressure and air turbulence that greatly reduce performance.
■ The vent system is optional for this model. Vent system can terminate either through the roof or wall. Use 7″ (17.8 cm) or larger round vent with a maximum length of 50 ft (15.2 m) for vent system.

A. 7″ (17.8 cm) round vent
through roof
(purchased separately)
B. Roof cap with damper
(purchased separately)
A. 7″ (17.8 cm) round vent
out the top and through
the wall (purchased
separately)
B. Wall cap with damper
(purchased separately)
Cold Weather Installations
An additional back draft damper should be installed to minimize backward cold air flow and a thermal break should be installed to minimize conduction of outside temperatures as part of the vent system. The damper should be on the cold air side of the thermal break.
The break should be as close as possible to where the vent system enters the heated portion of the house.
Venting Requirements
■ Vent system must terminate to the outdoors, except for nonvented (recirculating) installations.
■ Do not terminate the vent system in an attic or other enclosed area.
■ Do not use a 4″ (10.2 cm) laundry-type wall cap.
■ Use 7″ (17.8 cm) round metal vent.
Rigid metal vent is recommended. Plastic or metal foil vent is not recommended.
■ The length of vent system and number of elbows should be kept to a minimum to provide efficient performance.
For the most efficient and quiet operation:
■ Use no more than three 90° elbows.
■ Make sure there is a minimum of 24″ (61 cm) of straight vent between the elbows if more than 1 elbow is used.
■ Do not install 2 elbows together.
Use clamps or duct tape to seal all joints in the vent system.
■ The vent system must have a damper. If roof or wall cap has a damper, do not use damper supplied with the range hood.
■ Use caulking to seal exterior wall or roof opening around the cap.
Calculating Vent System Length
To calculate the length of the system you need, add the equivalent feet (meters) for each vent piece used in the system.
Vent System
Vent Piece
45° elbow 2.5 ft (0.8 m)
90° elbow 5 ft (1.5 m)
7″ (17.8 cm) wall cap 0 ft (0 m)
Example vent system

1 – 90° elbow = 5 ft (1.5 m)
1 – wall cap = 0 ft (0 m)
8 ft (2.4 m) straight = 8 ft (2.4 m)
System length = 13 ft (3.9 m)
Maximum Recommended Length
7″ (17.8 cm) Round Vent = 50 ft (15.2 m)
Electrical Requirements
Observe all governing codes and ordinances.
Ensure that the electrical installation is adequate and in
conformance with National Electrical Code, ANSI/NFPA 70
(latest edition), or CSA Standards C22.1-94, Canadian Electrical
Code, Part 1 and C22.2 No. 0-M91 (latest edition) and all local
codes and ordinances.
If codes permit and a separate ground wire is used, it is
recommended that a qualified electrician determine that the
ground path is adequate.
A copy of the above code standards can be obtained from:
National Fire Protection Association
1 Batterymarch Park
Quincy, MA 02169-7471
CSA International
8501 East Pleasant Valley Road
Cleveland, OH 44131-5575
■ A 120 V, 60 Hz, AC only, 15 A, fused electrical circuit is required.
■ If the house has aluminum wiring, follow the procedure
below:
Connect the aluminum wiring using special connectors and/or tools designed and UL listed for joining copper to aluminum.
Follow the electrical connector manufacturer’s recommended procedure. Aluminum/copper connection must conform with local codes and industry accepted wiring practices.
■ Wire sizes and connections must conform with the rating of the appliance as specified on the model/serial rating plate.
The model/serial plate is located behind the filter on the rear wall of the range hood.
■ Wire sizes must conform to the requirements of the National Electrical Code, ANSI/NFPA 70 (latest edition), or CSA Standards C22. 1-94, Canadian Electrical Code, Part 1 and C22.2 No. 0-M91 (latest edition) and all local codes and ordinances.
INSTALLATION INSTRUCTION
NOTES:
■ Depending on your model, determine which venting method to use: roof, wall or non-vented (recirculating).
■ It is recommended that the vent system be installed before the range hood is installed. Go to “Venting System” in the “Installation Requirements” section if you need assistance.
■ Before making cutouts, make sure there is proper clearance within the ceiling or wall for the vent system.
1. Disconnect power
![]()
2. Mark hole locations

Align the exterior edge of the mounting brackets with the exterior edges of the upper cabinet.
IMPORTANT: The brackets should touch the upper cabinet. With a pencil, mark the upper holes on the brackets.
3. Install brackets

■ Using a #2 Phillips screwdriver, install the drywall anchors.
■ Using #8-18 x 1″ (4.2 x 25 mm) flat-head #2 Phillips screws,
install the mounting brackets using the upper holes.
NOTE: For installations to a surface other than drywall, it
is recommended that a qualified contractor determine the
anchoring method.
4. Remove grease filters

■ Remove the two filter security screws and put them aside.
■ Press the filter latch to release the grease filters.
■ Remove each grease filter.
5. Prepare Range Hood

■ Set the range hood on its back on a covered surface.
■ Using a #2 Phillips screwdriver, remove the rectangular damper attached with 3.5 x 9.5 mm screws.
■ Using a #2 Phillips screwdriver, remove the electrical box cover.
■ Using a flat-blade screwdriver, remove the appropriate power supply knockout.
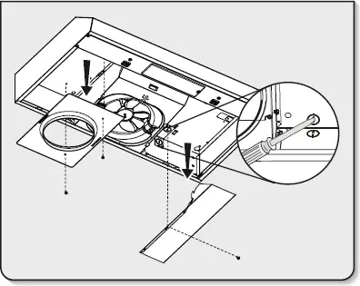
6. Mark hole locations

Lift the range hood into place and insert the mounting bracket tabs through the slots in the back of the range hood.

Hold the range hood firmly in place with one hand and bend
each mounting tab (A) upward approximately 90°.
Mark the hole at the power supply knockout (B).
OPTIONAL: Mark the hole in each mounting tab.
Remove the range hood and set it aside.
7. Mark and cut vent opening
7″ (17.8 cm) Round Vent System

■ Using the 7″ (17.8 cm) round vent mounting plate, draw the
vent opening outline on the underside of the cabinet:
– Place the vent mounting plate on the bottom of the
cabinet. Position the edge of the plate with the widest
distance (A) between the hole and edge of the mounting
plate against the wall. Position the side edges of the
mounting plate between the dots marked previously
IMPORTANT: The widest edge (A) of the vent
mounting plate must be positioned against the wall.
– Trace the 7″ (17.8 cm) vent opening (solid line) on the
cabinet bottom.
■ Using a jigsaw or keyhole saw, cut the vent opening
1″ (2.5 cm) larger than the 7″ (17.8 cm) hole traced
(dashed line).
8. Drill electrical opening

Using a 11/4″ (3 cm) drill bit, drill the hole in the dot marked
previously at the electrical strain relief.
OPTIONAL: Using a 1/8″ (3 mm) drill bit, drill pilot holes for the
dots marked previously at each mounting tab at an approximate
45° angle in an upward direction.
9. Prepare Range Hood Vents and Mounting Tabs.

■ Install Strain Relief
Install a UL listed/CSA approved 1/2″ (13 mm) strain relief (A).
■ Mounting Tabs
Start a #8-18 x 5/8″ (4.2 x 16 mm) truss-head screw into the
mounting tab (F) on each side of the range hood as shown
in the inset. Insert the screws approximately 2 turns into the
mounting tab holes.
■ Non-vent (Recirculating) Installations
Using a #2 Phillips screwdriver remove the 2 screws and
remove the top, front rectangular vent cover (E). Go to Step 12.
■ 7″ (17.8 cm) Round Vent Installations
Remove both top knockouts (C and D).
10. Attach Vent Damper or Transition
7″ (17.8 cm) Round Vent Mounting Plate

■ Using (2) short Phillips head screws, install the 7″ (17.8 cm)
round vent mounting plate over the vent knockouts removed
in Step 8. Position the wide flange (C) to the front.
NOTE: An optional 7″ (17.8 cm) round damper (A), Part
Number W10355451, and a 7″ (17.8 cm) round vent
mounting plate (B), Part Number W10388168, are available
as accessories. For information on ordering, see the
“Assistance or Service” section.
■ If installing the optional round damper, position it over the
round vent mounting plate.
11. Mount Range Hood

■ Lift the range hood into place, positioning the rear slots over
the mounting brackets.
■ Using a Phillips screwdriver, push on the screws that are
started into the top mounting tabs and bend the tabs against
the cabinet side walls. Attach the screws to the cabinet side
walls.
■ For direct wire installations, run the home power supply
cable according to the National Electric Code or CSA
standards and local codes and ordinances. There must be
enough wiring from the fused disconnect (or circuit breaker)
box to make the connection in the range hood electrical
terminal box.
■ Tighten the strain relief screws.
NOTE: Do not reconnect power until the installation is
complete.
OPTIONAL: If you prefer, bend the rear tabs against the rear
of the range hood and attach to the wall using #8-18 x 5/8″
(4.2 x 16 mm) truss-head screws.
12. Connect Vent System
■ Connect the ventwork to the range hood. Seal joints with
vent clamps or duct tape to make secure and airtight.
■ Check that the back draft dampers work properly.
13. Make electrical connection

Option 1 – Direct Wire Installations
■ Use a UL listed/CSA approved wire connector and connect
the 2 white wires (A) together.
■ Use a UL listed/CSA approved wire connector and connect
the 2 black wires (B) together.

■ Connect the green (or bare) ground wire (C) from the power
supply to the green ground screw in the electrical box and
tighten the screw securely.
Reinstall the electrical box cover.
Reconnect power.
Option 2 – Power Cord Kit Installations
For optional power cord kit installations, follow the instructions
supplied with the power cord kit. See the “Assistance or
Service” section for information on ordering.
NOTE: Use only with range hood cord connection kits that have
been investigated and found acceptable for use with this model
range hood.
14. Complete the Installation
■ Install a 120 V, 75 W maximum, incandescent light bulb with
E26 base. See “Replacing the Incandescent Light Bulb” in
the “Range Hood Care” section.
■ If removed previously, replace the filter. See “Grease or
Charcoal Filter” in the “Range Hood Care” section.
For vented installations: Install a metal filter.
For non-vented (recirculating) installations: Install a
charcoal filter.
■ Check the operation of the range hood fan and light. See the
“Range Hood Use” section.
If the range hood does not operate, check to see whether a
circuit breaker has tripped or a household fuse has blown.
Disconnect the power and check the wiring connections.
NOTE: To get the most efficient use from your new range hood,
read the “Range Hood Use” section.
RANGE HOOD USE
The range hood is designed to remove smoke, cooking vapors
and odors from the cooktop area. For best results, start the hood
before cooking and allow it to operate several minutes after
the cooking is complete to clear all smoke and odors from the
kitchen.
The hood controls are located on the front panel of the range
hood.

Range Hood Controls

Operating the light
Press the light switch to the left to turn the light On. Press the
light switch to the right to turn the light Off.
IMPORTANT: Flicker and visual fluctuation can be present every
time the lamp switch is activated. The duration of the flicker will
depend on the manner and velocity that the light switch changes
position.
Operating the fan
The fan has 2 speeds.
Press the fan switch to the left for Low speed. Press the fan
switch to the right for High speed. Return the fan switch to the
center to turn the fan Off.
RANGE HOOD CARE
Cleaning
IMPORTANT: Clean the hood and grease filters frequently
according to the following instructions. Replace the grease filter
before operating hood.
Exterior Surfaces:
IMPORTANT: Do not use soap-filled scouring pads, abrasive
cleaners, cooktop polishing creme, steel wool, gritty washcloths
or paper towels.
To avoid damage to the stainless steel, do not use cleaners that
contain chlorine.
Cleaning Method:
■ Liquid detergent or all-purpose cleaner:
Rinse with clean water and dry with a soft, lint-free cloth.
■ Glass cleaner to remove fingerprints.
■ For stainless steel models, use Stainless Steel Cleaner and
Polish: See the “Assistance or Service” section to order.
■ For stainless steel models, rub in the direction of the grain to
avoid scratching or damaging the surface.
Grease or Charcoal Filter
To Clean the Filter:
1. Remove the screw from the grease filter retainer.
2. Push the grease filter retainer to release the filter.

3. For vented installations: Grease filters should be cleaned
using warm water, dishwashing liquid, and a non abrasive
brush.
For non-vented (recirculating) installations: The charcoal
filter is not washable. For information on ordering, see the
“Assistance or Service” section.
NOTE: To reduce the risk of fire or shock when the hood
is used in recirculation mode, use only the conversion kit
models listed below:
Recirculating kit: W11371717
To Replace the Filter:
1. To reinstall the filter, place the back edge of the filter into the
channel at the rear of the hood. Push the filter into place and
turn the filter retainer to secure the filter to the range hood.
2. Replace the screw in the grease filter retainer.
Replacing the LED Light Bulb
Turn off the range hood and allow the light bulb to cool.
1. Disconnect power.
2. Remove the grease filters from the hood.
3. Remove the fused light bulb from behind the lamp spacer.

4. Screw a 120 V, 9 W maximum, LED light bulb with E26 base
into the socket.
5. Replace the grease filters.
6. Reconnect power.
If the new light does not operate, make sure the light bulb is
inserted correctly before calling service.
WIRING DIAGRAM

ASSISTANCE OR SERVICE
If you need service
When calling, please know the purchase date and the complete
model and serial number of your appliance. This information will
help us to better respond to your request.
If you need replacement parts
If you need to order replacement parts, we recommend that you
use only FSP® replacement parts. FSP® replacement parts will
fit right and work right because they are made with the same
precision used to build every new Whirlpool® appliance.
To locate FSP® replacement parts in your area, call us or your
nearest Whirlpool designated service center.
In the U.S.A.
Call the Whirlpool Customer eXperience Center toll free:
1-800-253-1301 or visit our website at www.whirlpool.com.
Our consultants provide assistance with:
■ Scheduling of service. Whirlpool appliances designated
service technicians are trained to fulfill the product warranty
and provide after-warranty service, anywhere in the United
States.
■ Features and specifications on our full line of appliances.
■ Referrals to local Whirlpool appliance dealers.
■ Installation information.
■ Use and maintenance procedures.
■ Accessory and repair parts sales.
■ Specialized customer assistance (Spanish speaking, hearing
impaired, limited vision, etc.).
For further assistance
If you need further assistance, you can write to Whirlpool with
any questions or concerns at:
Whirlpool Brand Home Appliances
Customer eXperience Center
553 Benson Road
Benton Harbor, MI 49022-2692
Please include a daytime phone number in your correspondence.
In Canada
Call the Whirlpool Canada LP Customer eXperience Centre toll
free: 1-800-807-6777 or visit our webpage www.whirlpool.ca.
Our consultants provide assistance with:
■ Scheduling of service. Whirlpool designated service
technicians are trained to fulfill the product warranty and
provide after-warranty service, anywhere in Canada.
■ Features and specifications on our full line of appliances.
■ Referrals to local Whirlpool appliance dealers.
■ Use and maintenance procedures.
■ Accessory and repair parts sales.
For further assistance
If you need further assistance, you can write to Whirlpool with
any questions or concerns at:
Customer eXperience Centre
Whirlpool Canada LP
200 – 6750 Century Ave.
Mississauga, Ontario L5N 0B7
Please include a daytime phone number in your correspondence




















