AVN436SSB 36 Inch Stainless Steel Convertible Chimney Style Wall Mount Hood
Instruction Manual
AVN436SSB 36 Inch Stainless Steel Convertible Chimney Style Wall Mount Hood
APPROVED FOR RESIDENTIAL APPLIANCES FOR RESIDENTIAL USE ONLY READ AND SAVE THESE INSTRUCTIONS PLEASE READ ENTIRE INSTRUCTIONS BEFORE PROCEEDING.
INSTALLATION MUST COMPLY WITH ALL LOCAL CODES.
IMPORTANT: Save these Instructions for the Local Electrical Inspector’s use.
INSTALLER: Please leave these Instructions with this unit for the owner.
OWNER: Please retain these instructions for future reference.
Safety Warning:Turn off power circuit at service panel and lock out panel before wiring this appliance.
Requirement 120 VAC, 60 Hz. 15 or 20 A Branch Circuit
IMPORTANT SAFETY INSTRUCTIONS
WARNING: TO REDUCE THE RISK OF FIRE, ELECTRIC SHOCK, OR INJURY TO PERSONS, OBSERVE THE FOLLOWING:
- Use this unit only in the manner intended by the manufacturer. If you have questions, contact the manufacturer.
- Before servicing or cleaning the unit, switch power off at service panel and lock the service disconnecting means to prevent power from being switched on accidentally. When the service disconnecting means cannot be locked, securely fasten a prominent warning device, such as a tag to the service panel.
- Installation work and electrical wiring must be done by qualifi ed person(s) in accordance with all applicable codes and standards, including fi re-rated construction.
- Suffi cient air is needed for proper combustion and exhausting of gases through the fl ue (chimney) of fuel burning equipment to prevent backdrafting. Follow the heating equipment manufacturer’s guideline and safety standards such as those published by the National Fire Protection Association (NFPA), the American Society for Heating, Refrigeration and Air Conditioning Engineers (ASHRAE), and the local code authorities.
- When cutting or drilling into wall or ceiling; do not damage electrical wiring and other hidden utilities.
- Ducted fans must always be vented outdoors.
CAUTION: For general ventilating use only. Do not use to exhaust hazardous or explosive materials and vapors.
CAUTION: To reduce risk of fi re and to properly exhaust air, be sure to duct air outside – do not vent exhaust air into spaces within walls or ceilings, attics or into crawl spaces, or garages.
WARNING: TO REDUCE THE RISK OF FIRE, USE ONLY METAL DUCTWORK
WARNING: TO REDUCE THE RISK OF A RANGE TOP GREASE FIRE:
- Never leave surface units unattended at high settings. Boilovers cause smoking and greasy spillovers that may ignite. Heat oils slowly on low or medium settings.
- Always turn hood ON when cooking at high heat or when flambeing food (i.e. Crepes Suzette, Cherries Jubilee, Peppercorn Beef Flambé).
- Clean ventilating fans frequently. Grease should not be allowed to accumulate on fan or fi lter.
- Use proper pan size. Always use cookware appropriate for the size of the surface element.
WARNING: TO REDUCE THE RISK OF INJURY TO PERSONS IN THE EVENT OF A RANGE TOP GREASE FIRE, OBSERVE THE FOLLOWING: - SMOTHER FLAMES with a close fi tting lid, cookie sheet, or metal tray, then turn off the burner. BE CAREFUL TO PREVENT BURNS. If the fl ames do not go out immediately, EVACUATE AND CALL THE FIRE DEPARTMENT.
- NEVER PICK UP A FLAMING PAN – you may get burned.
- DO NOT USE WATER, including wet dishcloths or towels – a violent steam explosion will result.
- Use an extinguisher ONLY if:
- You know you have a class ABC extinguisher, and you already know how to operate it.
- The fi re is small and contained in the area where it started.
- The fi re department is being called.
- You can fi ght the fi re with your back to an exit. Based on “Kitchen Fire Safety Tips” published by NFPA.
WARNING: To reduce the risk of fi re or electrical shock, do not use this fan with any solid-state speed control device.
WARNING: Do not operate any fan with a damaged cord or plug. Discard fan or return to an authorized service facility for examination and/or repair.
Tools and Parts
Parts supplied
Removing the packaging
CAUTION!
Remove carton carefully, wear gloves to protect against sharp edges.
WARNING!
Remove the protective film covering the product before putting into operation.

Tools/Materials required
- Level
- Drill with 1¼” (3.0 cm), 1 ⁄8” (3.0 mm), and 1 ⁄16” (4,8 mm) drill bits
- Pencil
- Wire stripper or utility knife
- Tape measure or ruler
- Pliers
- Caulking gun and weatherproof caulking compound
- Vent clamps
- Jigsaw or keyhole saw
- Metal snips
- Screwdriver
- Phillips screwdriver
- Flat-blade
Parts needed
- Home power supply cable
- ½” (12.7 mm) UL listed or CSA approved strain relief
- 3 UL listed wire connectors
For vented installations, you will also need:
- 1 wall or roof cap
- Metal vent system
Parts not supplied
Optional Accessories
| Kit | # Part |
| CFM Reduction Kit | KIT02748 |
| Long Chimney Extension Kit (9´ to 12´ Ceiling) | KIT02762 |
| Recirculating Kit | KIT02766 KIT02721A |
| 6″ Round Backdraft Damper Kit | KIT0102873 |
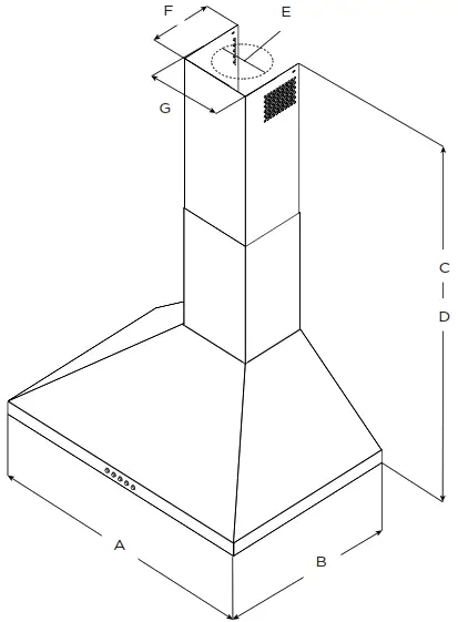
Dimensions and Clearances

| AVN430SSB | AVN436SSB | |
| A | 30″ (76 cm) | 36″ (91.54 cm) |
| B | 19″A6″ (50 cm) | |
| C | Max: 421/6″ (107 cm) Min: 286/6″ (72 cm) | |
| D | Max: 383A6″ (97 cm) Min: 286/6″ (72 cm) | |
| E | 6″ (15.24 cm) | |
| F | 73A6″ (18.3 cm) | |
| G | 83A6″ (20.8 cm) | |
Electrical Requirements
IMPORTANT
Observe all governing codes and ordinances.
It is the customer’s responsibility:
- To contact a qualified electrical installer.
- To assure that the electrical installation is adequate and inconformance with National Electrical Code, ANSI/ NFPA 70— latest edition*, or CSA Standards C22.1-94, Canadian Electrical Code, Part 1 and C22.2 No.0-M91 – latest edition** and all local codes and ordinances.
- If codes permit and a separate ground wire is used, it is recommended that a qualified electrician determine that the ground path is adequate.
- Do not ground to a gas pipe.
- Check with a qualified electrician if you are not sure range hood is properly grounded.
- Do not have a fuse in the neutral or ground circuit.
A copy of the above code standards can be obtained from:
National Fire Protection Association
1 Batterymarch Park
Quincy, MA 02169-7471
CSA International
8501 East Pleasant Valley Road
Cleveland, OH 44131-5575
IMPORTANT
- Save Installation Instructions for electrical inspector’s use.
- The range hood must be connected with copper wire only.
- The range hood should be connected directly to the fused disconnect (Or circuit breaker) box through metal electrical conduit.
- Wire sizes must conform to the requirements of the National Electrical Code ANSI/NFPA 70 — latest edition*, or CSA Standards C22.1-94, Canadian Electrical Code Part 1 and C22.2 No. 0-M91 – latest edition** and all local codes and ordinances.
- A U.L.- or C.S.A.-listed conduit connector must be provided at each end of the power supply conduit (at the range hood and at the junction box).
BEFORE INSTALLING THE HOOD
- For the most efficient air flow exhaust, use a straight run or as few elbows as possible.
CAUTION:Vent unit to outside of building, only. - At least two people are necessary for installation.
- Fittings material is provided to secure the hood to most types of walls/ceilings, consult a Qualified Installer, check if they perfectly fit with your cabinet/wall.
- Do not use flex ducting.
- COLD WEATHER installations should have an additional back draft damper installed to minimize backward cold air flow and a nonmetallic thermal break to minimize conduction of outside temperatures as part of the ductwork. The damper should be on the cold air side of the thermal break. The break should be as close as possible to where the ducting enters the heated portion of the house.
- Make up air: Local building codes may require the use of Make-Up Air Systems when using Ducted Ventilation Systems greater than specified CFM of air movement. The specified CFM varies from locale to locale. Consult your HVAC professional for specific requirements in your area.
Ducting Options
CFM reduction kit
If required or desired this hood is to be used only in conjunction with CFM reduction kit model KIT02748.
Consult your HVAC professional and local building codes for specific requirements in your area.
Closely follow the instructions set out in this manual.
All responsibility, for any eventual inconveniences, damages or fires caused by not complying with the instructions in this manual, is declined.
Ducting version
The hood is equipped with a 6” (15.2 cm) round transition for discharge of fumes to the outside.

| A. Roof cap B. 6” (15.2 cm) round vent | A. Wall cap B. 6” (15.2 cm) round vent |
Ductless (Recirculating)
In cases where it should not be possible to discharge cooking fumes and vapour to the outside.
Attach a charcoal filter and the deflector on the duct cover support bracket. Fumes and vapours are recycled through the top grille by means of a duct connected to the transition and the transition mounted on the deflector.
For this version only purchase the Ductless Recirculating Kit.
Minimum Duct Size: 6” Round Pipe.

A. Deflector
B. 6” (15.2 cm) round vent
Preparation
Do not cut a joist or stud unless absolutely necessary. If a joist or stud must be cut, then a supporting frame must be constructed.
Fittings material is provided to secure the hood to most types of walls/ceilings. However, a qualified technician must verify suitability of the materials in accordance with the type of wall/ ceiling.
Before making cutouts, make sure there is proper clearance within the ceiling or wall for exhaust vent.
Recommended installation height:
Hood installation height above cooktop is the users preference.
The lower the hood is above the cooktop, the more efficient the capturing of cooking odors, grease and smoke.
CAUTION
| Hood models | AVN430SSB | AVN436SSB |
| GAS cooktops | 27″ (66.6 cm) | 30″ (76.2 cm) |
| ELECTRIC cooktops | 24″ (61 cm) | 27″ (66.6 cm) |
There is no maximum mounting height, however, we recommend mounting the hood no greater than 36” (91.4 cm) above the cooking surface. For every inch (2.54 cm) above 36” (91.4 cm), fume and moisture capture efficiency diminishes at an increasing rate and may not deliver an acceptable level of ventilating performance.
This hood is intended for household use.
PLEASE READ THE INSTALLATION MANUAL FOR SPECIFIC APPLICATION. Check your ceiling height and hood height before selecting your hood.
Installation instructions
Prepare location
- It is recommended that the vent system is installed before the hood is installed.
- Before making cutouts, make sure there is a proper clearence within the ceiling or wall for exhaust vent.
- Check your ceiling height and the hood height maximum before you select your hood.
- Disconnect the power.
- Determine which venting method to use: roof, wall, or nonvented.
- Select a flat surface for assembling the range hood. Place covering over that surface.
WARNING
TO REDUCE THE RISK OF FIRE, ELECTRIC SHOCK, OR INJURY TO PEOPLE, OBSERVE THE FOLLOWING. - Using 2 or more people, lift range hood onto covered surface.
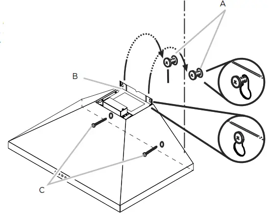
Mounting the duct cover bracket
- Determine and mark the centerline on the wall where the canopy hood will be installed. Disconnect power.
- Select a mounting height and mark a reference line on the wall.
- Tape template in place, aligning the template centerline and bottom of the template with the hood bottom line and with the centerline marked on the wall.
A. Centerline
B. Fastener locations
C. Mounting height reference (hood bottom line) - Mark centers of the fastener locations through the template to the wall.
IMPORTANT: All screws must be installed into the wood. If there no wood to screw into, additional wall framing supports may be required. - Remove the template.
- Drill3⁄16” (4.8 mm) pilot holes at all locations where screws are being installed into wood.
- Install the 2-5 x 45 mm mounting screws. Leave a ⁄4” (6.4 mm) gap between the wall and the back of the screw head to slide range hood into place.

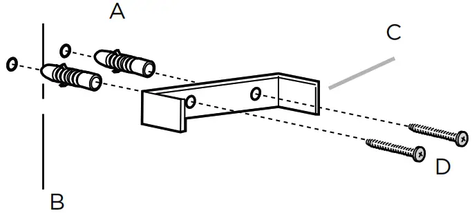
Vent cover bracket installation
- Attach vent cover bracket to wall flush to the ceiling using 2-5 x 45 mm screws.
A. 8 x 40 mm anchors
B. Centerline on wall
C. Vent cover support bracket
D. 5 x 45 mm screws
Complete preparation
- Determine and make all necessary cuts in the wall for the vent system. Install the vent system before installing the hood. See “Venting Requirements” section.
- Determine the required height for the home power supply cable and drill a 11⁄4” (3.2 cm) hole at this location.
- Run the home power supply cables according to the National Electric Code or CSA Standards and local codes and ordinances. There must be enough1⁄2” coundiut and wores from the fused disconnect (or circuit breaker) box to make connection in the hood’s electrical terminal box.
NOTE: Do not reconnect power until the installation is complete. - Use caulk to seal all openings.
Mounting the Hood
- Using 2 or more people, hang range hood on 2 mounting screws through the mounting slots on back of hood.
A. Mounting screws
B. Mounting slots
C. Lower mounting screws
- Mark with a pencil the lower mounting holes location.
- Uninstall the hood assembly, and drill 3⁄16” (4.8 mm) pilot holes at marked locations.
- Hang the range hood again on 2 upper mounting screws.
- Level the range hood and tighten upper mounting screws.
- Install 2-5 x 45 mm lower mounting screws and tighten. Use the optional wall anchors if nedded.
Connect vent system
- Install transition on top of hood (if removed for shipping) with 2-3.5 x 9.5 mm sheet metal screws.
A. Vent transition
B. 3.5 x 9.5 mm screws
For vented installations only
- Fit vent system over the exhaust outlet.
- Measure from the bottom of the air deflector to the bottom of the hood outlet. Cut the ductwork at the measured dimension.

- Seal connection with clamps.
- Check that back draft dampers work properly.
Electrical Connection
WARNING: Electrical Shock Hazard
Disconnect power before servicing.
Replace all parts and panels before operating.
Failure to do so can result in death or electrical shock.
- Disconnect power.
- Remove terminal box cover.
- Remove the knockout in the terminal box cover and install a UL listed or CSA approved 1⁄2” strain relief.
- Run home power supply cable through strain relief, onto terminal box.

- Use UL listed wire connectors and connect black wires together.
- Use UL listed wire connectors and connect white wires together.
WARNING: Electrical Shock Hazard
Electrically ground blower.
Connect ground wire to green and yellow ground wire in terminal box. Failure to do so can result in death or electrical shock. - Connect green (or bare) ground wire from home power supply to yellow-green ground wire (F) in terminal box using UL listed wire connectors.
- Tighten strain relief screw.
- Install terminal box cover.
- Reconnect power.
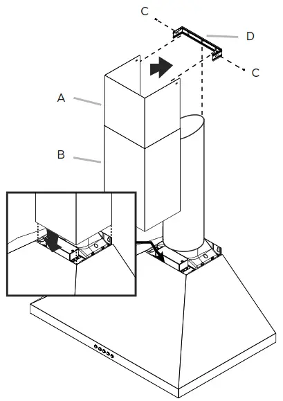
Install duct covers
- When using both upper and lower vent covers, push lower cover down onto hood and lift upper cover to ceiling and install with two mounting screws.
NOTE: For vented installations, the upper vent cover may be reversed to hide slots.
A. Upper vent cover
B. Lower vent cover
C. 4 x 8 mm screws
D. Bracket
NOTE: To prevent scratches, lay paper or a kitchen towel over the edges of the lower flue ductto protect the surface.
Complete Installation
- For non-vented (recirculating) installations only, install charcoal filters over metal grease filter.
- See the “Maintenance” section.
- Install metal filters. See the “Maintenance” section.
To get the most efficient use from your new range hood, read the “Maintenance” section.
Keep your Use, Care and Installation Guide close to your range hood for easy reference.
- Fix the wiring conduit of the hood.
- Slide the hood back against the cabinet. Tighten the mounting screws. Be sure the screw heads are in the narrow neck of the keyhole slot.
- Drive 2 pieces of the selected screws in the lower security screws location (see the image below).
Description of the Hood

- Blower and light controls
- LED lamps
- Grease filter handle
- Grease filter
- Duct covers
Control

1. Light On/Off button
2. Blower On/Off button
3. Blower speed minimum button
4. Blower speed medium button
5. Blower speed maximum button
NOTE: Control buttons will light up when range hood is On. Operating the light The light On/Off button (1) controls both lights. Press once for On and again for Off.
Operating the blower
The Blower On/Off button (2) turns the blower On or Off. The Blower Speed buttons (3, 4 and 5) set the desired speed and control the sound level for quiet operation. The speed can be changed anytime during fan operation by pressing the desired blower speed button.
- To turn the Blower On, press the Blower On/Off button (2) and the desired speed button (3,4 and 5).
- To turn the Blower Off, press the Blower On/Off button (2).
Any of the 3 blower speed buttons can be in the On position at the same time. The blower will operate at the highest speed button that is pushed in. For lower blower speeds, the higher speed buttons must not be pushed in.
Range Hood Care
Cleaning
Do not spray cleaners directly to the control while cleaning the Hood. The cooker hood should be cleaned regularly (at least with the same frequency with which you carry out maintenance of the grease filters) internally and externally. Clean using the cloth dampened with neutral liquid detergent. Do not use abrasive products. Do not use chlorine base cleaners.
DO NOT USE ALCOHOL.
WARNING
Failure to carry out the basic cleaning recommedations of the cooker hood and replacement of the filters may cause fire risks.
Therefore, we recommend observing these instructions.
The manufacturer declines all responsibility for any damage to the motor or any fire damage linked to inappropiate maintenance or failure to observe the above safety recommendations.
Grease Filter
Traps cooking greaser particles.
This must be cleaned once a month using non agressive detergents, either by hand or in the dishwasher, which must be set to a low temperature and a short cycle. When washed in a dishwasher, the grease filter may discolour slightly, but this does not affect its filtering capacity.
To remove the grease filter, pull the spring and release the handle.

A. Spring release handle
Replacing a LED Lamp
The LED lights are replaceable by a service technician only. See the service contact information in the next page.
Charcoal filter
If the model is not vented to the outside, the air will be recirculated through disposable charcoal filters that help remove smoke and odors.
- Cover the grill that protects the suction motor with the carbon filter so that the slots on the filter correspond to the pins on the sides of the motor protection grill.
- Turn the carbon filter clockwise to block them (bayonet fixing).
NOTE: The charcoal filter cannot be cleaned. It should be replaced every 4-6 months (depending on hood usage).

WARRANTY
TO OBTAIN SERVICE UNDER WARRANTY:
or any Service Related Questions, please call:
1-888-732-8018
Staple your receipt here.
Proof of the original purchase date is needed to obtain service under the warranty.
TO OBTAIN SERVICE UNDER WARRANTY: You must present proof of original purchase date.
Please keep a copy of your dated proof of purchase (sales slip) in order to obtain service under warranty.
Parts and Service Warranty:
For the period of one year from the date of the original purchase, we will provide free of charge, non consumable parts or components that failed due to manufacturing defects. During this one year limited warranty, we will also provide, free of charge, all labor and inhome service to replace the defective
part.
What is Not Covered:
- Damage to the product caused by fl oods, act of God, fi re and accidents.
- Damage caused after delivery.
- House fuses replacement or resetting of circuit breakers.
- Service trips to your home to teach you how to use or install the product.
- Light bulbs, metal, carbon fi lters and the other consumable parts.
- The natural wear of fi nish, and wear due to improper maintenance, use of corrosive and abrasive cleaning products, pads, and oven cleaner products.
This warranty will be voided when:
- Product damaged due to improper installation and failure to follow installation instructions, delivery or maintenance.
- Incidental or consequential damage caused by possible defects with this appliance.
- Alteration or modifi cation of the Product which may cause in damage to the Product, or failure to operate it in accordance with specifi cations.
- Damage because of improper connection with equipment of other manufacturers.
- Failure of the product if it is negligence, abused, misused, or used for other than the intended purpose or used commercially.
- Improper repair, modifi cation or servicing of the Product performed by third parties other than Authorized Agents.
Who is Covered:
This warranty is extended to the original purchaser for products purchased for ordinary home use in the 48 mainland states, Hawaii, Washington D.C. Alaska, Guam, Puerto Rico and the Virgin Islands.
This warranty is non-transferable and applies only to the original purchaser and does not extend to subsequent owners of this product. This warranty is made expressly in lieu of all other warranties, expressed or implied, including, but not limited, any implied warranty of merchantability or fi tness for a particular purpose, and all other obligations on the part of Elicamex, provided, however, that if the disclaimer of implied warranties is ineffective under applicable law, the duration of any implied warranties arising by operation of law shall be limited to 1 (one) year from the date of original purchase at retail or such longer period as may be required by applicable law.
This warranty does not cover any special, incidental and/or consequential damages, nor loss of profi ts, suffered by the original purchaser, its customers and/or the users of the Product.
Have your product proof of purchase with date ready for warranty issues.
Or write to:
Who to contact
To obtain service under warranty or for any service related question, please visit the support section on the website below: www.elica.com
Have your product proof of purchase with date ready for warranty issues.
Are You Having Difficulty Assembling
This Product? Missing Parts?
PLEASE DO NOT RETURN TO THE STORE!
Call Service Power
1-888-732-8018
between 7 a.m. and 4:00 p.m. (Pacific Time), Monday – Friday
or Email: [email protected]
(please include contact name, model, serial number, purchasing ticket and best time to contact)
for all replacement parts and any questions you may have about this product!
ERvicEpower Service
Made Simple 1503 South Coast Drive #320 Costa Mesa, CA 92626
IMPORTANT: Please save the original package if return is needed.
A. Centerline
A. 8 x 40 mm anchors
A. Vent transition

NOTE: To prevent scratches, lay paper or a kitchen towel over the edges of the lower flue ductto protect the surface.

















