
arietta ALS436SSB 36 Inch Stainless Steel Convertible Chimney Style Wall Mount Hood Instruction Manual

READ AND SAVE THESE INSTRUCTIONS
APPROVED FOR RESIDENTIAL APPLIANCES
FOR RESIDENTIAL USE ONLY
READ AND SAVE THESE INSTRUCTIONS
PLEASE READ ENTIRE INSTRUCTIONS BEFORE PROCEEDING.
INSTALLATION MUST COMPLY WITH ALL LOCAL CODES.
IMPORTANT: Save these Instructions for the Local Electrical Inspector’s use.
INSTALLER: Please leave these Instructions with this unit for the owner.
OWNER: Please retain these instructions for future reference.
Safety Warning: Turn off power circuit at service panel and lock out panel before wiring this appliance.
Requirement 120 VAC, 60 Hz. 15 or 20 A Branch Circuit
IMPORTANT SAFETY INSTRUCTIONS
WARNING: TO REDUCE THE RISK OF FIRE, ELECTRIC SHOCK, OR INJURY TO PERSONS, OBSERVE THE FOLLOWING:
- Use this unit only in the manner intended by the manufacturer. If you have questions, contact the manufacturer.
- Before servicing or cleaning the unit, switch power off at service panel and lock the service disconnecting means to prevent power from being switched on accidentally. When the service disconnecting means cannot be locked, securely fasten a prominent warning device, such as a tag to the service panel.
- Installation work and electrical wiring must be done by qualified person(s) in accordance with all applicable codes and standards, including fi re-rated construction.
- Sufficient air is needed for proper combustion and exhausting of gases through the flue (chimney) of fuel burning equipment to prevent back drafting. Follow the heating equipment manufacturer’s guideline and safety standards such as those published by the National Fire Protection Association (NFPA), the American Society for Heating, Refrigeration and Air Conditioning Engineers (ASHRAE), and the local code authorities.
- When cutting or drilling into wall or ceiling; do not damage electrical wiring and other hidden utilities.
- Ducted fans must always be vented outdoors.
CAUTION: For general ventilating use only. Do not use to exhaust hazardous or explosive materials and vapors.
CAUTION: To reduce risk of fi re and to properly exhaust air, be sure to duct air outside – do not vent exhaust air into spaces within walls or ceilings, attics or into crawl spaces, or garages.
WARNING: TO REDUCE THE RISK OF FIRE, USE ONLY METAL DUCTWORK
WARNING: TO REDUCE THE RISK OF A RANGE TOP GREASE FIRE:
- Never leave surface units unattended at high settings. Boilovers cause smoking and greasy spillovers that may ignite. Heat oils slowly on low or medium settings.
- Always turn hood ON when cooking at high heat or when flambeing food (i.e. Crepes Suzette, Cherries Jubilee, Peppercorn Beef Flambé).
- Clean ventilating fans frequently. Grease should not be allowed to accumulate on fan or fi lter.
- Use proper pan size. Always use cookware appropriate for the size of the surface element.
WARNING: TO REDUCE THE RISK OF INJURY TO PERSONS IN THE EVENT OF A RANGE TOP GREASE FIRE, OBSERVE THE FOLLOWING: a
- SMOTHER FLAMES with a close fitting lid, cookie sheet, or metal tray, then turn off the burner. BE CAREFUL TO PREVENT BURNS. If the fl ames do not go out immediately, EVACUATE AND CALL THE FIRE DEPARTMENT.
- NEVER PICK UP A FLAMING PAN – you may get burned.
- DO NOT USE WATER, including wet dishcloths or towels – a violent steam explosion will result.
- Use an extinguisher ONLY if:
-You know you have a class ABC extinguisher, and you already know how to operate it.
– The fi re is small and contained in the area where it started.
– The fi re department is being called.
– You can fight the fire with your back to an exit.
a Based on “Kitchen Fire Safety Tips” published by NFPA.
WARNING: To reduce the risk of fi re or electrical shock, do not use this fan with any solid-state speed control device.
WARNING: Do not operate any fan with a damaged cord or plug. Discard fan or return to an authorized service facility for examination and/or repair.
READ AND SAVE THESE INSTRUCTIONS
Tools and Parts
Parts supplied
Removing the packaging
CAUTION!
Remove carton carefully, wear gloves to protect against sharp edges.
WARNING!
Remove the protective film covering the product before putting into operation.
- Hood canopy assembly with blower and LED lamps already installed.
- 6” (15.2 cm) round air transition
- Duct covers
- Hardware bag with:

Tools/Materials required
- Level
- Drill with 1¼” (3.2 cm),1⁄8” (3.2 mm), and 1⁄16” (4,8 mm) drill bits
- Pencil
- Wire stripper or utility knife
- Tape measure or ruler
- Pliers
- Caulking gun and weatherproof caulking compound
- Vent clamps
- Jigsaw or keyhole saw
- Flat-blade screwdriver
- Metal snips
– Phillips
– Torx 20 screwdriver
Parts needed
- Home power supply cable
- ½” (12.7 mm) UL listed or CSA approved strain relief
- 2 UL listed wire connectors
For vented installations, you will also need:
- 1 wall or roof cap
- Metal vent system
Parts not supplied
Optional Accessories

Product Dimensions


*For non-vented (recirculating installations)
**For vented installations
Electrical Requirements
IMPORTANT
Observe all governing codes and ordinances.
It is the customer’s responsibility:
To contact a qualified electrical installer.
To assure that the electrical installation is adequate and in conformance with National Electrical Code, ANSI/NFPA 70 — latest edition*, or CSA Standards C22.1-94, Canadian Electrical Code, Part 1 and C22.2 No.0-M91 – latest edition** and all local codes and ordinances.
If codes permit and a separate ground wire is used, it is recommended that a qualified electrician determine that the ground path is adequate.
A copy of the above code standards can be obtained from:
National Fire Protection Association
1 Batterymarch Park
Quincy, MA 02169-7471
CSA International
8501 East Pleasant Valley Road
Cleveland, OH 44131-5575
A 120 volt, 60 Hz., AC only, 15-amp, fused electrical circuit is required.
■ If the house has aluminum wiring, follow the procedure below:
- Connect a section of solid copper wire to the pigtail leads.
- Connect the aluminum wiring to the added section of copper wire using special connectors and/or tools designed and UL listed for joining copper to aluminum.
Follow the electrical connector manufacturer’s recommended procedure. Aluminum/copper connection must conform with local codes and industry accepted wiring practices.
- Wire sizes and connections must conform with the rating of the appliance as specified on the model/serial rating plate. The model/serial plate is located behind the filter on the rear wall of the range hood.
- Wire sizes must conform to the requirements of the National Electrical Code, ANSI/NFPA 70 (latest edition), or CSA Standards C22. 1-94, Canadian Electrical Code, Part 1 and C22.2 No. 0-M91 (latest edition and all local codes and ordinances.
Venting Requirements
(ducted models only)
- Vent system must terminate to the outdoors, except for non vented (recirculating) installations.
- Do not terminate the vent system in an attic or other enclosed area.
- Do not use 4” (10.2 cm) laundry-type wall cap.
- Use metal vent only. Rigid metal vent is recommended. Plastic or metal foil vent is not recommended.
- The length of vent system and number of elbows should be kept to a minimum to provide efficient performance.
For the most efficient and quiet operation:
- Use no more than three 90° elbows.
- Make sure there is a minimum of 24” (61 cm) of straight vent between the elbows if more than 1 elbow is used.
- Do not install 2 elbows together.
- Use clamps to seal all joints in the vent system.
- The vent system must have a damper. If the roof or wall cap has a damper, do not use the damper supplied with the range hood.
- Use caulking to seal exterior wall or roof opening around the cap.
- The size of the vent should be uniform.
Venting Methods
This canopy hood is factory set for venting through the roof or wall. A 6” (15.2 cm) round vent system is needed for installation (not included). The hood exhaust opening is 6” (15.2 cm) round.
NOTE: Flexible vent is not recommended. Flexible vent creates back pressure and air turbulence that greatly reduce performance. Vent system can terminate either through the roof or wall. To vent through a wall, a 90° elbow is needed.
Rear discharge
A 90° elbow may be installed immediately above the hood.
For Non-Vented (recirculating) Installations
If it is not possible to vent cooking fumes and vapors to the outside, the hood can be used in the non-vented (recirculating) version, fitting a charcoal filter and the deflector. Fumes and vapors are recycled through the top grille.

Installation Instructions
Prepare Location
- It is recommended that the vent system be installed before hood is installed.
- Before making cutouts, make sure there is proper clearance within the ceiling or wall for exhaust vent.
- Check your ceiling height and the hood height maximum before you select your hood.
- Disconnect power.
- Determine which venting method to use: roof, wall, or nonvented.
- Select a flat surface for assembling the range hood. Place covering over that surface.
WARNING
TO REDUCE THE RISK OF FIRE, ELECTRIC SHOCK, OR INJURY TO PERSONS, OBSERVE THE FOLLOWING
4. Using 2 or more people, lift range hood onto covered surface.
Range hood mountig screws installation
- Determine and mark the centerline on the wall where the canopy hood will be installed. Disconnect power.
- Select a mounting height between a minimum of 24” (60.9 cm) for an electric cooking surface, a minimum of 30” (76.2 cm) for a gas cooking surface, and a suggested maximum of 36” (91.4 cm) above the range to the bottom of the hood. Mark a reference line on the wall.
- Tape template in place, aligning the template centerline and bottom of template with hood bottom line and with the centerline marked on the wall.

4. Mark centers of the fastener locations through the template to the wall.
IMPORTANT: All screws must be installed into wood. If there is no wood to screw into, additional wall framing supports may be required.
5. Remove the template.
6. Drill 3⁄16” (4.8 mm) pilot holes at all locations where screws are being installed into wood.
7. Install the 2 – 5 x 45 mm mounting screws. Leave a 1⁄4”(6.4 mm) gap between the wall and the back of the screw head to slide range hood into place.

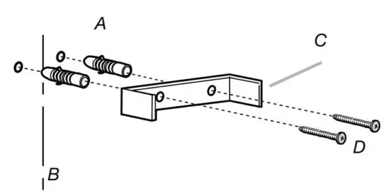
Vent cover bracket installation
1. Attach vent cover bracket to wall flush to the ceiling using 2 – 5 x 45 mm screws.

A. 8 x 40 mm drywall anchors
B. Centerline on wall
C. Vent cover support bracket
D. 5 x 45 mm screws
Complete Preparation
- Determine and make all necessary cuts in the wall for the vent system. Install the vent system before installing the hood. See “Venting Requirements” section.
- Determine the required height for the home power supply cable and drill a 1¼” (3.2 cm) hole at this location.
- Run the home power supply cable according to the National Electrical Code or CSA Standards and local codes and ordinances. There must be enough ½” conduit and wires from the fused disconnect (or circuit breaker) box to make the connection in the hood’s electrical terminal box.
NOTE: Do not reconnect power until installation is complete. - Use caulk to seal all openings.
- Remove plastic bag with styrofoam located behind the blower motor from inside the hood.
Installing the Range Hood
- Using 2 or more people, hang range hood on 2 mounting screws through the mounting slots on back of hood.

2. Mark with a pencil the lower mounting holes location.
3. Uninstall the hood assembly, and drill 3⁄16” (4.8 mm) pilot holes at marked locations.
4. Hang the range hood again on 2 upper mounting screws.
5. Level the range hood and tighten upper mounting screws.
6. Install 2 – 5 x 45 mm lower mounting screws and tighten.
7. Use the optional wall anchors if needed.
Connect Vent System
- Install transition on top of hood (if removed for shipping) with 2 – 3.5 x 9.5 mm sheet metal screws.

For vented installations only:
1. Fit vent system over the exhaust outlet.
2. Measure from the bottom of the air deflector to the bottom of the hood outlet. Cut the ductwork at the measured dimension.

3. Seal connection with clamps.
4. Check that back draft dampers work properly.
Electrical Connection
WARNING: Electrical Shock Hazard
Disconnect power before servicing.
Replace all parts and panels before operating.
Failure to do so can result in death or electrical shock.
- Disconnect power.
- Remove terminal box cover.
- Remove the knockout in the terminal box cover and install a UL listed or CSA approved 1⁄2” strain relief.

4. Run home power supply cable through strain relief, into terminal box.

5. Use UL listed wire connectors and connect black wires (C) together.
6. Use UL listed wire connectors and connect white wires (E) together.
WARNING: Electrical Shock Hazard
Electrically ground blower.
Connect ground wire to green and yellow ground wire in terminal box. Failure to do so can result in death or electrical shock.
7. Connect green (or bare) ground wire from home power supply to yellow-green ground wire (F) in terminal box using UL listed wire connectors.
8. Tighten strain relief screw.
9. Install terminal box cover.
10. Reconnect power.
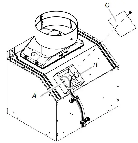
Install Duct Covers
When using both upper and lower vent covers, push lower cover down onto hood and lift upper cover to ceiling and install with two mounting screws.
NOTE: For vented installations, the upper vent cover may be reversed to hide slots.

Complete Installation
- For non-vented (recirculating) installations only, install charcoal filters over metal grease filter. See the “Range Hood Care” section.
- Install metal filters. See the “Range Hood Care” section.
- Check the operation of the range hood blower and light. See the “Range Hood Use” section.
NOTE: To get the most efficient use from your new range hood, read the “Range Hood Use” section.
Description of the Hood
The range hood is designed to remove smoke, cooking vapors and odors from the cooktop area. For best results, start the hood before cooking and allow it to operate several minutes after the cooking is complete to clear all smoke and odors from the kitchen. The hood controls are located on the front side of the canopy.

Control

NOTE: Control buttons will light up when range hood is On.
Operating the light
The Light On/Off button (1) controls both lights. Press once for On and again for Off.
Operating the blower
The Blower On/Off button (2) turns the blower On or Off.
The Blower Speed buttons (3, 4 and 5) set the desired speed and control the sound level for quiet operation. The speed can be changed anytime during fan operation by pressing the desired blower speed button.
- To turn the blower On, press the Blower On/Off button (2) and the desired speed button (3, 4 or 5).
- To turn the blower Off, press the Blower On/Off button (2).
- Any of the 3 blower speed buttons can be in the On position at the same time. The blower will operate at the highest speed button that is pushed in. For lower blower speeds, the higher speed buttons must not be pushed in.
When the temperature level on the hood drops to normal, the blower will operate in the setting defined by the user before the alarm occured.
Range Hood Care
Cleaning
IMPORTANT: Clean the hood and grease filters frequently according to the following instructions. Replace grease filters before operating hood.
Exterior Surfaces:
To avoid damage to the exterior surface, do not use steel wool or soap-filled scouring pads.
Always wipe dry to avoid water marks.
Cleaning Method:
- Liquid detergent soap and water, or all-purpose cleanser
- Wipe with damp soft cloth or nonabrasive sponge, then rinse with clean water and wipe dry.
- Do not use cleaning agents containing bleach.
Replacing a LED Lamp
The LED lights are replaceable by a service technician only. See the service contact information in this page below.
Aluminum Grease Filter:
1. Remove the filter by pulling the spring release handle and then pulling down the filter.

2. Wash aluminum grease filters as needed in dishwasher or hot detergent solution.
3. Reinstall the filter by making sure the spring release handles are toward the front. Insert aluminum filter into upper track.
4. Push in spring release handle.
5. Push up on aluminum filter and release handle to latch into place.
Are You Having Difficulty Assembling
This Product? Missing Parts?
PLEASE DO NOT RETURN TO THE STORE!
Call Service Power
1-888-732-8018
between 7 a.m. and 4:00 p.m. (Pacific Time), Monday – Friday
or Email: [email protected]
(please include contact name, model, serial number, purchasing ticket and best time to contact) for all replacement parts and any questions you may have about this product!
SERVICE-Power
Service Made Simple
1503 South Coast Drive #320 Costa Mesa, CA 92626
IMPORTANT: Please save the original package if return is needed.
WARRANTY
TO OBTAIN SERVICE UNDER WARRANTY: or any Service Related Questions, please call: 1-888-732-8018
Staple your receipt here. Proof of the original purchase date is needed to obtain service under the warranty.
TO OBTAIN SERVICE UNDER WARRANTY: You must present proof of original purchase date. Please keep a copy of your dated proof of purchase (sales slip) in order to obtain service under warranty.
Parts and Service Warranty: For the period of one year from the date of the original purchase, we will provide free of charge, non consumable parts or components that failed due to manufacturing defects. During this one year limited warranty, we will also provide, free of charge, all labor and in-home service to replace the defective part.
What is Not Covered:
- Damage to the product caused by floods, act of God, fi re and accidents.
- Damage caused after delivery.
- House fuses replacement or resetting of circuit breakers.
- Service trips to your home to teach you how to use or install the product.
- Light bulbs, metal, carbon filters and the other consumable parts.
- The natural wear of finish, and wear due to improper maintenance, use of corrosive and abrasive cleaning products, pads, and oven cleaner products.
This warranty will be voided when:
- Product damaged due to improper installation and failure to follow installation instructions, delivery or maintenance.
- Incidental or consequential damage caused by possible defects with this appliance.
- Alteration or modification of the Product which may cause in damage to the Product, or failure to operate it in accordance with specifications.
- Damage because of improper connection with equipment of other manufacturers.
- Failure of the product if it is negligence, abused, misused, or used for other than the intended purpose or used commercially.
- Improper repair, modification or servicing of the Product performed by third parties other than Authorized Agents.
Who is Covered:
This warranty is extended to the original purchaser for products purchased for ordinary home use in the 48 mainland states, Hawaii, Washington D.C. Alaska, Guam, Puerto Rico and the Virgin Islands. This warranty is non-transferable and applies only to the original purchaser and does not extend to subsequent owners of this product. This warranty is made expressly in lieu of all other warranties, expressed or implied, including, but not limited, any implied warranty of merchantability or fitness for a particular purpose, and all other obligations on the part of Elicamex, provided, however, that if the disclaimer of implied warranties is ineffective under applicable law, the duration of any implied warranties arising by operation of law shall be limited to 1 (one) year from the date of original purchase at retail or such longer period as may be required by applicable law.
This warranty does not cover any special, incidental and/or consequential damages, nor loss of profits, suffered by the original purchaser, its customers and/or the users of the Product.
Have your product proof of purchase with date ready for warranty issues. Or write to:
Who to contact
To obtain service under warranty or for any service related question, please visit the support section on the website below: www.elica.com
Have your product proof of purchase with date ready for warranty issues
Read More About This Manual & Download PDF:

















