
ATS430SSB 30 Inch Stainless Steel Convertible Chimney Style Wall Mount Hood
Instruction Manual
APPROVED FOR RESIDENTIAL APPLIANCES FOR RESIDENTIAL USE ONLY READ AND SAVE THESE INSTRUCTIONS
PLEASE READ ENTIRE INSTRUCTIONS BEFORE PROCEEDING. INSTALLATION MUST COMPLY WITH ALL LOCAL CODES.
IMPORTANT: Save these Instructions for the Local Electrical Inspector’s use.
INSTALLER: Please leave these Instructions with this unit for the owner.
OWNER: Please retain these instructions for future reference.
Safety Warning:Turn off power circuit at service panel and lock out panel before wiring this appliance.
Requirement 120 VAC, 60 Hz. 15 or 20 A Branch Circuit
IMPORTANT SAFETY INSTRUCTIONS
WARNING: TO REDUCE THE RISK OF FIRE, ELECTRIC SHOCK, OR INJURY TO PERSONS, OBSERVE THEFOLLOWING:
- Use this unit only in the manner intended by the manufacturer. If you have questions, contact the manufacturer.
- Before servicing or cleaning the unit, switch power off at service panel and lock the service disconnecting means to prevent power from being switched on accidentally. When the service disconnecting means cannot be locked, securely fasten a prominent warning device, such as a tag to the service panel.
- Installation work and electrical wiring must be done by qualifi ed person(s) in accordance with all applicable codes and standards, including fi re-rated construction.
- Suffi cient air is needed for proper combustion and exhausting of gases through the fl ue (chimney) of fuel burning equipment to prevent backdrafting. Follow the heating equipment manufacturer’s guideline and safety standards such as those published by the National Fire Protection Association (NFPA), the American Society for Heating, Refrigeration and Air Conditioning Engineers (ASHRAE), and the local code authorities.
- When cutting or drilling into wall or ceiling; do not damage electrical wiring and other hidden utilities.
- Ducted fans must always be vented outdoors.
CAUTION: For general ventilating use only. Do not use to exhaust hazardous or explosive materials and vapors.
CAUTION: To reduce risk of fi re and to properly exhaust air, be sure to duct air outside – do not vent exhaust air into spaces within walls or ceilings, attics or into crawl spaces, or garages.
WARNING: TO REDUCE THE RISK OF FIRE, USE ONLY METAL DUCTWORK
WARNING: TO REDUCE THE RISK OF A RANGE TOP GREASE FIRE:
- Never leave surface units unattended at high settings. Boilovers cause smoking and greasy spillovers that may ignite. Heat oils slowly on low or medium settings.
- Always turn hood ON when cooking at high heat or when flambeing food (i.e. Crepes Suzette, Cherries Jubilee, Peppercorn Beef Flambé).
- Clean ventilating fans frequently. Grease should not be allowed to accumulate on fan or fi lter.
- Use proper pan size. Always use cookware appropriate for the size of the surface element.
WARNING: TO REDUCE THE RISK OF INJURY TO PERSONS IN THE EVENT OF A RANGE TOP GREASE FIRE, OBSERVE THE FOLLOWING: - SMOTHER FLAMES with a close fi tting lid, cookie sheet, or metal tray, then turn off the burner. BE CAREFUL TO PREVENT BURNS. If the fl ames do not go out immediately, EVACUATE AND CALL THE FIRE DEPARTMENT.
- NEVER PICK UP A FLAMING PAN – you may get burned.
- DO NOT USE WATER, including wet dishcloths or towels – a violent steam explosion will result.
- Use an extinguisher ONLY if:
-You know you have a class ABC extinguisher, and you already know how to operate it.
– The fi re is small and contained in the area where it started.
– The fi re department is being called.
– You can fi ght the fi re with your back to an exit.
Based on “Kitchen Fire Safety Tips” published by NFPA.
WARNING: To reduce the risk of fire or electrical shock, do not use this fan with any solid-state speed control device.
WARNING: Do not operate any fan with a damaged cord or plug. Discard fan or return to an authorized service facility for examination and/or repair.
Tools and Parts
Parts supplied
Removing the packaging
CAUTION!
Remove carton carefully, wear gloves to protect against sharp edges.
| Supplied Par | Pieces |
Hood assembly and LED lamps already installed | 1 |
| 6 | |
| 4 | |
| 2 | |
| 4 | |
| 1 |
Parts not supplied
Tools/Materials required
- Level
- Drill
- 11⁄4” (3.2 cm), 1⁄8” (3.2 mm), and 1⁄16” (4.8 mm) drill bits
- Pencil
- Wire stripper or utility knife
- Tape measure or ruler
- Pliers
- Caulking gun and weatherproof caulking compound
- Jigsaw or keyhole saw
- Metal snips
- Screwdrivers:
– Flat-blade
– Phillips
– Torx 10
WARNING!
Remove the protective film covering the product before putting into operation.
| Supplied Part | Pieces |
| 2 | |
| 1 | |
| 2 | |
| 4 | |
| 1 | |
| 1 |
Parts needed
- Home power supply cable
- ½” (12.7 mm) UL listed or CSA approved strain relief
- 3 UL listed wire connectors
For vented installations, you will also need:
- 1 wall or roof cap
- Metal vent system
Optional Accessories
| KIT | # Part | |
| 30” (76.2 cm) | 36” (91.4 cm) | |
| Recirculating Kit | KIT0102875 | |
| Long Chimney Extension | KIT01935 | |
| CFM Reduction Kit | KIT02748 | |
Dimensions and Clearances

| Models | ||
| ATS430SSB | ATS436SSB | |
| A | 30”(76.2 cm) | 36”(91.4 cm) |
| B | 1911⁄16” (50 cm) | |
| C* | Max: 5411⁄64” (139 cm) Min: 3311⁄” (86 cm) | |
| D** | Max: 505⁄16” (129 cm) Min: 2911⁄16” (77 cm) | |
| E | 6” (15.24 cm) | |
| F | 103⁄4 ” (27 cm) | |
| G | 131⁄32” (33 cm) | |
| H | 26⁄16” (6 cm)15⁄8 ” (4 cm) | |
Ductless (Recirculating) version Ducted version
Electrical Requirements
IMPORTANT
Observe all governing codes and ordinances. It is the customer’s responsibility:
- To contact a qualified electrical installer.
- To assure that the electrical installation is adequate and inconformance with National Electrical Code, ANSI/ NFPA 70— latest edition*, or CSA Standards C22.1-94, CanadianElectrical Code, Part 1 and C22.2 No.0-M91 – latest edition** and all local codes and ordinances.
- If codes permit and a separate ground wire is used, it is recommended that a qualified electrician determine that the ground path is adequate.
- Do not ground to a gas pipe.
- Check with a qualified electrician if you are not sure range hood is properly grounded.
- Do not have a fuse in the neutral or ground circuit.
A copy of the above code standards can be obtained from: National Fire Protection Association
1 Batterymarch Park
Quincy, MA 02169-7471 CSA International
8501 East Pleasant Valley Road Cleveland, OH 44131-5575
IMPORTANT
- Save Installation Instructions for electrical inspector’s use.
- The range hood must be connected with copper wire only.
- The range hood should be connected directly to the fused disconnect (Or circuit breaker) box through metal electrical conduit.
- Wire sizes must conform to the requirements of the National Electrical Code ANSI/NFPA 70 — latest edition*, or CSA Standards C22.1-94, Canadian Electrical Code Part 1 and C22.2 No. 0-M91 – latest edition** and all local codes and ordinances.
- A U.L.- or C.S.A.-listed conduit connector must be provided at each end of the power supply conduit (at the range hood and at the junction box).
BEFORE INSTALLING THE HOOD
- For the most efficient air flow exhaust, use a straight run or as few elbows as possible.
CAUTION:Vent unit to outside of building, only. - At least two people are necessary for installation.
- Fittings material is provided to secure the hood to most types of walls/ceilings, consult a Qualified Installer, check if they perfectly fit with your cabinet/wall.
- Do not use flex ducting.
- COLD WEATHER installations should have an additional back draft damper installed to minimize backward cold air flow and a nonmetallic thermal break to minimize conduction of outside temperatures as part of the ductwork. The damper should be on the cold air side of the thermal break. The break should be as close as possible to where the ducting enters the heated portion of the house.
- Make up air: Local building codes may require the use of Make-Up Air Systems when using Ducted Ventilation Systems greater than specified CFM of air movement. The specified CFM varies from locale to locale. Consult your HVAC professional for specific requirements in your area.
Ducting Options
CFM reduction kit
If required or desired this hood is to be used only in conjunction with CFM reduction kit model KIT02748.
Consult your HVAC professional and local building codes for specific requirements in your area.
Closely follow the instructions set out in this manual.
All responsibility, for any eventual inconveniences, damages or fires caused by not complying with the instructions in this manual, is declined.
Ducting version
The hood is equipped with a 6” (15.2 cm) round transition for discharge of fumes to the outside.
Ductless (Recirculating)
In cases where it should not be possible to discharge cooking fumes and vapour to the outside.
Attach a charcoal filter and the deflector on the duct cover support bracket. Fumes and vapours are recycled through the top grille by means of a duct connected to the transition and the transition mounted on the deflector.
For this version only purchase the Ductless Recirculating Kit. Minimum Duct Size: 6” Round Pipe.
Preparation
Do not cut a joist or stud unless absolutely necessary. If a joist or stud must be cut, then a supporting frame must be constructed. Fittings material is provided to secure the hood to most types of walls/ceilings. However, a qualified technician must verify suitability of the materials in accordance with the type of wall/ ceiling.
Before making cutouts, make sure there is proper clearance within the ceiling or wall for exhaust vent.
Recommended installation height:
Hood installation height above cooktop is the users preference. The lower the hood is above the cooktop, the more efficient the capturing of cooking odors, grease and smoke.
CAUTION
For gas cooktop & range installations: Mount the hood so the bottom is at least 30” (76.2 cm) above the cooking surface.
For electric/induction cooktop & range installations: Mount the hood so the bottom is at least 24” (61 cm) above the cooking surface.
There is no maximum mounting height, however, we recommend mounting the hood no greater than 36” (91.4 cm) above the cooking surface. For every inch (2.54 cm) above 36” (91.4 cm), fume and moisture capture efficiency diminishes at an increasing rate and may not deliver an acceptable level of ventilating performance.
This hood is intended for household use.
PLEASE READ THE INSTALLATION MANUAL FOR SPECIFIC
APPLICATION. Check your ceiling height and hood height before selecting your hood.
Installation instructions
Prepare location
- It is recommended that the vent system be installed before hood is installed.
- Before making cutouts, make sure there is proper clearance within the ceiling or wall for exhaust vent.
- Check your ceiling height and the hood height maximum before you select your hood.
- Disconnect power.
- Determine which venting method to use: roof, wall, or nonvented.
- Select a flat surface for assembling the range hood. Place covering over that surface.
WARNING
TO REDUCE THE RISK OF FIRE, ELECTRIC SHOCK, OR INJURY TO PERSONS, OBSERVE THE FOLLOWING. - Using 2 or more people, lift range hood onto covered surface.
Mounting the duct cover bracket
- Determine and mark the centerline on the wall where the canopy hood will be installed. Disconnect power.
- Select a mounting height between a minimum of 24” (61 cm) for an electric cooking surface, a minimum of 30” (76.2 cm) for a gas cooking surface, and a suggested maximum of 36” (91.4 cm) above the range to the bottom of the hood. Mark a reference line on the wall.
- Tape template in place, aligning the template centerline and bottom of template with hood bottom line and with the centerline marked on the wall.
A. Centerline
B. Fastener locations
C. Mounting height reference (hood bottom line) - Mark centers of the fastener locations through the template to the wall.
IMPORTANT: All screws must be installed into wood. If there is no wood to screw into, additional wall framing supports may be required. - Remove the template. 6. Drill 3⁄16” (4.8 mm) pilot holes at all locations where screws are being installed into wood.
- Install the 2 – 5 x 45 mm mounting screws. Leave a 1⁄4” (6.4 mm) gap between the wall and the back of the screw head to slide range hood into place.
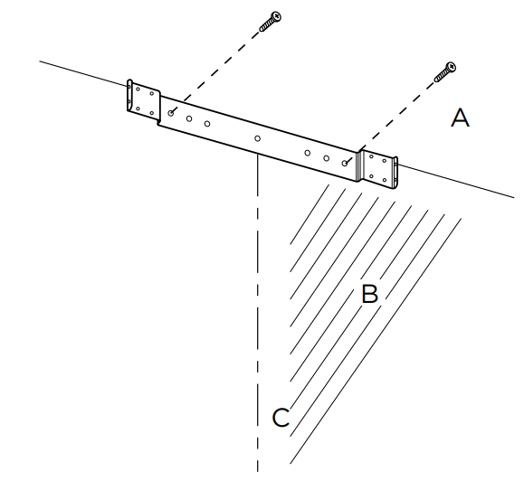
Vent cover bracket installation
- Attach vent cover bracket to wall flush to the ceiling using 2 – 5 x 45 mm screws.
A. Ceiling
B. Wall
C. Centerline
Complete preparation
- Determine and make all necessary cuts in the wall for the vent system. Install the vent system before installing the hood. See “Venting Requirements” section.
- Determine the required height for the home power supply cable and drill a 1¼” (3.2 cm) hole at this location.
- Run the home power supply cable according to the National Electrical Code or CSA Standards and local codes and ordinances. There must be enough ½” conduit and wires from the fused disconnect (or circuit breaker) box to make the connection in the hood’s electrical terminal box.
NOTE: Do not reconnect power until installation is complete. - Use caulk to seal all openings.
Connect Vent System
Install transition on top of hood (if removed for shipping) with 2 – 3.5 x 9.5 mm sheet metal screws.
A. Vent transition
B. 3.5 x 9.5 mm screw
Install Range Hood
Remove all packaging materials and protective film from hood. Using 2 or more people, hang range hood on 2 mounting screws through the mounting slots on back of hood.
- Mark with a pencil the lower mounting holes location.
- Uninstall the hood assembly, and drill 3⁄16” (4.8 mm) pilot holes at marked locations.
- Hang the range hood again on 2 upper mounting screws.
- Level the range hood and tighten upper mounting screws.
- Install 2 – 5 x 45 mm lower mounting screws and tighten. Use the optional wall anchors if needed.
- Remove plastic bag with styrofoam located behind the blower motor from inside the hood.
Electrical Connection
WARNING
ELECTRICAL SHOCK HAZARD.
WARNING
DISCONNECT POWER BEFORE SERVICING.
REPLACE ALL PARTS AND PANELS BEFORE OPERATING. FAILURE TO DO SO CAN RESULT IN DEATH OR ELECTRICAL SHOCK.
- Disconnect power.
- Remove terminal box cover.
- Remove the knockout in the terminal box cover and install a UL listed or CSA approved 1⁄2” strain relief.
A. Terminal box
B. Knockout
C. Terminal box cover
For vented installations only:
- Fit vent system over the exhaust outlet.
- Measure from the bottom of the air deflector to the bottom of the hood outlet. Cut the ductwork at the measured dimension.

- Seal connection with clamps.
- Check that back draft dampers work properly.
- Run home power supply cable through strain relief, into terminal box.

A. Home power supply cable E. Black wires B. UL listed or CSA approved strain relief F. Green (or bare) and yellow C. UL listed wire connectors G. Terminal box green ground wires D. White wires - Use UL listed wire connectors and connect black wires (C) together.
- Use UL listed wire connectors and connect white wires (E) together.
WARNING
ELECTRICAL SHOCK HAZARD.
WARNING
ELECTRICALLY GROUND BLOWER. CONNECT GROUND WIRE TO GREEN AND YELLOW GROUND WIRE IN TERMINAL BOX. FAILURE TO DO SO CAN RESULT IN DEATH OR ELECTRICAL SHOCK. - Connect green (or bare) ground wire from home power supply to yellow-green ground wire (F) in terminal box using UL listed wire connectors.
- Tighten strain relief screw.
- Install terminal box cover.
- Reconnect power.
Complete Installation
Install duct covers
- When using both upper and lower vent covers, push lower cover down onto hood and lift upper cover to ceiling and install with two mounting screws.
NOTE: For vented installations, the upper vent cover may be reversed to hide slots.
A. Upper vent cover
B. Lower vent cover
C. 4 x 8 mm screws
D. Bracket
- Secure the bottom of the duct with 2 – 4 x 8 mm screws.

- For non-vented (recirculating) installations only, install charcoal filters over metal grease filter. See the “Mainteinance” section.
- Install metal filters. See the “Mainteinance” section.
To get the most efficient use from your new range hood, read the “maintenance” section.
Keep your Use, Care, and installation Guide close to range hood for easy reference.
Description of the Hood
A. Grease filter
B. Grease filter handle
C. Blower and light controls
D. LED lamps
Control![]()
- Light On/Off button
- Blower On/Off button
- Blower speed minimum button
- Blower speed medium button
- Blower speed maximum button
NOTE: Control buttons will light up when range hood is On.
Operating the light
The Light On/Off button (1) controls both lights. Press once for
Range Hood Care
Cleaning
Do not spray cleaners directly to the control while cleaning the Hood. The cooker hood should be cleaned regularly (at least with the same frequency with which you carry out maintenance of the fat filters) internally and externally. Clean using the cloth dampened with neutral liquid detergent. Do not use abrasive products.
DO NOT USE ALCOHOL!
WARNING
Failure to carry out the basic cleaning recommendations of the cooker hood and replacement of the filters may cause fire risks.
Therefore, we recommend oserving these instructions.
The manufacturer declines all responsibility for any damage to the motor or any fire damage linked to inappropriate maintenance or failure to observe the above safety recommendations.
On and again for Off.
Operating the blower
The Blower On/Off button (2) turns the blower On or Off.
The Blower Speed buttons (3, 4 and 5) set the desired speed and control the sound level for quiet operation. The speed can be changed anytime during fan operation by pressing the desired blower speed button.
- To turn the blower On, press the Blower On/Off button (2) and the desired speed button (3, 4 or 5).
- To turn the blower Off, press the Blower On/Off button (2). Any of the 3 blower speed buttons can be in the On position at the same time. The blower will operate at the highest speed button that is pushed in. For lower blower speeds, the higher speed buttons must not be pushed in.
Grease Filter
Traps cooking grease particles.
This must be cleaned once a month using non aggressive etergents, either by hand or in the dishwasher, which must be set to a low temperature and a short cycle. When washed in a dishwasher, the grease filter may discolour slightly, but this does not affect its filtering capacity.
To remove the grease filter, pull the spring release handle.
Replacing a LED Lamp
The LED lights are replaceable by a service technician only. See “Who to contact” section in the warranty for service contact information.
Are You Having Difficulty Assembling This Product? Missing Parts?
PLEASE DO NOT RETURN TO THE STORE!
Call Service Power 1-888-732-8018
between 7 a.m. and 4:00 p.m. (Pacific Time), Monday – Friday or Email: [email protected] (please include contact name, model, serial number, purchasing ticket and best time to contact) for all replacement parts and any questions you may have about this product!
Service Made Simple 1503 South Coast Drive #320 Costa Mesa, CA 92626
Service Power
IMPORTANT: Please save the original package if return is needed.
Hood assembly and LED lamps already installed



















