Angled Wall Chimney Hood
Instruction Manual
AH600BK 
Contact Caple on 0117 938 7420 for spare parts or www.caple.co.uk
INTRODUCTION
Thank you for choosing this Caple extractor hood.
To ensure that you get the best results from your new extractor, we strongly suggest that you read this instruction manual thoroughly before use. If treated with care, your Caple extractor should give you years of trouble-free use.
To register ownership, please ensure you complete and return the guarantee card supplied with the appliance or visit www.caple.co.uk and register here.
This instruction manual is designed to provide you with all the required information related to the installation, use and maintenance of the appliance.
This hood is designed to extract unpleasant odors from the kitchen; it is not intended to extract steam. In order to operate the unit correctly and safely, please read this instruction manual carefully before installation and use.
The cooker hood uses high-quality materials and is made with a streamlined design.
Equipped with an electric motor and centrifugal fan, it provides strong extraction with low noise. It also features non-stick grease filters and an easy installation.
IMPORTANT
This appliance must only be used for the purpose it is intended. Other types of use are not permitted and may prove dangerous. Caple will not be held liable for any damage caused by the incorrect use of the appliance.
Do not use any accessories or attachments not recommended by Caple as this may result in fire, electric shock or injury.
To protect against fire, electrical shock, and injury to persons, do not immerse cords or plugs in water or any other liquid.
Never touch the appliance with wet or damp hands.
Never pull the power cable as you could damage it. If the appliance is faulty, do not attempt to repair it. Isolate it from the mains electric supply and contact Caple Service either by phone at 0117 938 7420 or email [email protected].
Keep all packaging (including plastic bags, polystyrene foam etc) out of the reach and away from children.
Do not rest large or unstable objects on any part of the appliance.
Caple cannot be held responsible for injuries or losses caused by incorrect use or installation of this product. Please note that Caple reserve the right to invalidate the guarantee supplied with this product following the incorrect installation or misuse of the appliance. Under no circumstances should any external covers be removed for servicing or maintenance except by suitably qualified personnel.
SAFETY INSTRUCTIONS
- Never let children operate the machine.
- The cooker hood is for home use only, not suitable for barbecuing, restaurants or other commercial purposes.
- The cooker hood and its filter should be cleaned regularly in order to keep in good working condition.
- Clean the cooker hood according to the instruction manual to reduce the risk of fire.
- When using a gas hob, do not leave naked flames under the extractor.
- Before connecting this appliance check that the power supply cord is not damaged.
- If the room where the hood is to be used contains a fuel-burning appliance such as a central heating boiler then its flue must be of the sealed or balanced flue type. If other types of flue or appliances are fitted ensure that there is an adequate supply of air to the room.
- The air must not be discharged into a flue that is used for exhausting fumes from appliances burning gas or other fuels.
- Regulations concerning the discharge of air have to be conformed to. – Do not flambé under the cooker hood.
- Never leave frying pans unattended during use as overheated fats and oils may catch fire.
- To ensure the best performance, we recommend switching on the extractor 15 minutes before cooking and leaving it running 15 minutes after. This will ensure that the air in the kitchen is being circulated before cooking commences and the air is being cleaned after cooking has finished.
- The performance of your extractor will vary depending on a number of factors. These include the type of extraction, room volume, length of ducting, ventilation available, and the cleanliness of the filters.
- This appliance is not intended for use by persons (including children) with reduced physical, sensory or mental capabilities, or lack of experience and knowledge unless they have been given supervision or instruction concerning the use of the appliance by a person responsible for their safety.
- Children should be supervised to ensure that they do not play with the appliance. – Cleaning and user maintenance must not be made by children without supervision.
- Never immerse the appliance in water.
- This appliance is intended to be used in household and similar applications such as:
› Staff kitchen areas in shops, offices and other working environments.
› Farm Houses.
› By clients in hotels, motels and other residential type environments.
› Bed and breakfast type environments. - To avoid all risk, if the power cable is damaged, it must only be replaced by a Caple-appointed engineer.
- Appliances can be used by persons with reduced physical, sensory or mental capabilities or lack of experience and knowledge if they have been given supervision or instruction concerning use of the appliance in a safe way and understand the hazards involved.
- Children must not play with this appliance.
- When not in use and before cleaning, always isolate the appliance from the electrical supply.
ELECTRICAL SHOCK HAZARD
- Only plug this unit into a properly earthed outlet. If in doubt seek advice from a suitably qualified engineer.
- Failure to follow these instructions can result in death, fire, or electrical shock.
- This appliance must be connected to the mains by a competent person. We recommend that the appliance is connected by a qualified electrician who is a member of the N.I.C.E.I.C and will comply with the I.E.E and local regulations. Electrical information can be found on the rating plate.
ENVIRONMENTAL PROTECTION![]()
Waste electrical products should not be disposed of with household waste. Please recycle where facilities exist. Check with your Local Authority or retailer for recycling advice. This appliance is marked according to the European directive on Waste Electrical and Electronic Equipment (WEEE).
By ensuring this product is disposed of correctly, you will help prevent potential negative consequences for the environment and human health, which could otherwise be caused by inappropriate waste handling of this product. The symbol on the product indicates that this product may not be treated as household waste. Instead, it shall be handed over to the applicable collection point for the recycling of electrical and electronic equipment. Disposal must be carried out in accordance with local environmental regulations for waste disposal.
For more detailed information about the treatment, recovery, and recycling of this product, please contact your local council, your household waste disposal service or the retailer where you purchased the product
WARRANTY
Your new appliance is covered by warranty. The warranty card is enclosed – if it is missing, you must provide the following information to your retailer in order to receive a replacement: date of purchase, model, and serial number. Registration can also be completed online by visiting www.caple.co.uk.
Ensure you keep your warranty card safe, you may need to show it to Caple Service together with proof of purchase. If you fail to show your warranty card you will incur all repair charges.
Spare parts are only available from Caple Service and spare parts authorized centers.
CE DECLARATIONS OF CONFORMITY![]()
This appliance has been manufactured to the strictest standards and complies with all applicable legislation, Low Voltage Directive (LVD) and Electromagnetic Compatibility (EMC).
UKCA DECLARATIONS OF CONFORMITY![]()
This appliance has been manufactured to the strictest standards and complies with all applicable legislation.
TECHNICAL FICHE
This appliance conforms to all current and applicable energy regulations. To view the Technical Fiche that supports the energy labelling data, please visit the product page on our website www.caple.co.uk
INSTALLATION
Prepare for the installation:
If you have an outlet to the outside, your cooker hood can be connected as per the below picture by means of an extraction duct with an interior diameter of 150mm.
Before installation, turn the unit off and unplug it from the outlet.
The cooker hood should be placed at a minimum distance of 650~760mm above the hob. It is the manufacturer of the hob who determines the clearance required and the clearance quoted by the hob manufacturer must be followed. In the absence of any instructions supplied with a gas hob the minimum distance between the hob and the hood must be at least 760mm.
INSTALLATION — DUCTED
ATTENTION: Observe the warning concerning the operation of the appliance when air is discharged from the room.
When the cooker hood and appliance supplied with energy other than electricity are simultaneously in operation, the negative pressure in the room must not exceed 4 Pa (4×10-5 Bar).
Drill 3 x 8mm holes to accommodate the bracket. Screw and tighten the bracket onto the wall with the screws and screw plugs provided.

Level up the cooker hood and hang onto the wall bracket hook.
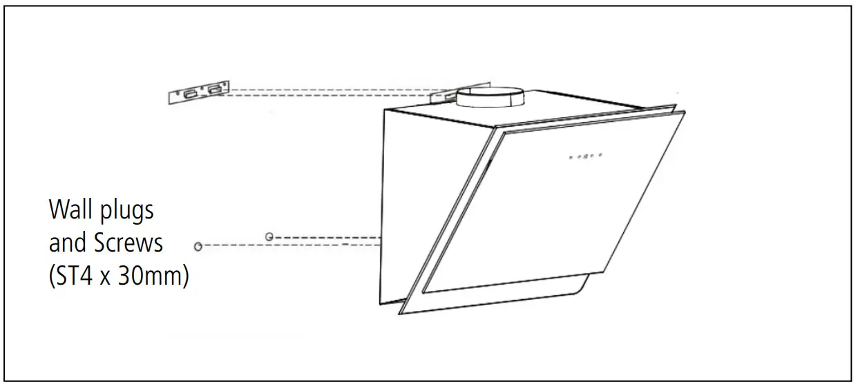
After hanging the hood on the bracket, remove the grease filters, mark 2 holes inside the hood for safety screws. After marking, remove the hood, drill two holes and insert 2 wall plugs and finally fix the safety screws with 2 screws (ST4x30mm).
Place the plastic duct on the cooker hood outlet.
CHIMNEY INSTALLATION
The lower chimney bracket is used to fix the upper decorative chimney and lower decorative chimney. Use 2pcs 4x8mm screws to attach lower chimney and lower chimney bracket together.
Put the lower chimney on the cooker hood and mark the location of lower chimney bracket fixing holes on the wall.
NOTE:
Do not fasten screws too much, make sure upper decorative chimney can be telescopically adjusted once assembled.
Put the chimney on the cooker hood. Fix the lower chimney bracket on the wall by 2 screws (4mm x 30mm).
Then pull out the upper chimney upwards to the target height. Adjust to reach the height required.
Fix the upper chimney on the upper chimney bracket by 2 screws (4x8mm). Then fix the upper chimney bracket on the wall. Before fixing the bracket on the wall, you can decide the upper chimney bracket fixing holes for installation.
NOTE:
The chimney installation is optional. This extractor can be installed without the chimney section.
INSTALLATION – RECIRCULATION MODE
If you do not have an outlet to the outside, the exhaust pipe is not required (as shown in the section “Installation – ducted”), and charcoal filters must be installed.
INSTALLING THE CHARCOAL FILTER (CAP60CF)
An activated charcoal filter can be used to trap odors. In order to install the charcoal filter, the grease filter should be detached first. Press the release button and pull it down as shown below.
Fit the activated charcoal filter onto the side of the motor and turn it in a clockwise direction to lock into place. Repeat the same on the other side.

Scan the QR Code to access the ‘How To’ video.
https://www.youtube.com/watch?v=GYwBerfPDYU
NOTE:
Make sure the filter is securely locked.
Otherwise, it may loosen and be dangerous.
When using a charcoal filter, the extraction power may be slightly reduced.
We recommend replacing these filters every 6 months. Replacement filters (CAP60CF) can be purchased directly from www.caple.co.uk
![]()
OFF BUTTON
Press the Off button to turn off the extractor.
- LOW-SPEED BUTTON
Press this button to turn the extractor on at the low fan speed. It is suitable for simmering and cooking which does not produce much steam or odor. - MEDIUM SPEED BUTTON
Press this button to select the medium fan speed. The airflow speed is ideal for extracting with standard cooking. - HIGH-SPEED BUTTON
Press this button to select the high fan speed. When a high amount of steam or odors are produced, use the high-speed setting for the most effective extraction.
LIGHT BUTTON
Switches the light on and off.
CARE AND MAINTENANCE
IMPORTANT:
Before cleaning or maintenance please switch off the electricity supply and remove the plug from the wall.
REGULAR CLEANING
Use a soft damp cloth with lukewarm mildly soapy water or household cleaning detergent. Never use metal pads, chemicals, abrasive material, abrasive cleaning creams or stiff brushes to clean the appliance.
CLEANING THE GREASE FILTER
Clean the filter every month to help minimize the risk of fire. The filter collects grease, smoke, and dust, therefore the filter is directly affecting the efficiency of the cooker hood. If not cleaned, the grease residue (which is potentially flammable) will saturate the filter. It can be easily cleaned with warm water and washing up liquid, alternatively the filters can be cleaned in your dishwasher. Please ensure no other items are washed with the filters, they must be washed separately to prevent food from becoming trapped in the gauze. Cleaning the grease filters in the dishwasher may lead to discoloration, this is normal and is not a fault with the product.
REPLACING YOUR CHARCOAL FILTER
This only applies if you are using the hood in recirculation mode (not vented to the outside). The charcoal filter traps your cooking odours and they need to be replaced, this can vary depending on how frequently the cooker hood is used. We recommend replacing them at least every 6 months. This extractor uses CAP60CF charcoal filters. Filters can be purchased directly from www.caple.co.uk.
REPLACING THE BULB
NOTE:
The lights must be replaced by a qualified person.
- Switch the unit off and unplug the appliance.
- Push out and unclip the old LED light.
- Replace with the same type and rated bulb/lamp fixing.
LED lamp (max.1.5W).
LIGHT SOURCE ENERGY CLASS
This product contains a light source of energy efficiency class G. 
TROUBLESHOOTING
| FAULT | CAUSE | SOLUTION |
| The lights on, but the fan does not work | The fan blade is jammed | Switch off the unit and contact Caple Service. To be repaired by qualified service personnel only. |
| The motor is damaged | ||
| The lights and fan do not work | A blown fuse | Replace the fuse |
| The power cord is loose | Plug in to the power supply again | |
| Serious vibration of the unit | The fan blade is damaged | Switch off the unit and contact Caple Service. To be repaired by quality service personnel only |
| The fan motor is not fixed tightly. | Switch off the unit and contact Caple Service. To be repaired by quality service personnel only | |
| The unit is not hung correctly on the bracket | Take down the unit and check whether the bracket is in the correct location. | |
| The extraction performance is not good | The filter requires cleaning | Clean the grease filter as directed in the ‘Care and maintenance section. Replace the charcoal filter (if in recirculation mode) |
If the above table has not solved the problem please contact Caple Service by phone on 0117 938 7420 or by email [email protected]
PRODUCT DIMENSIONS
Caple Service
Fourth Way
Avonmouth T: 0117 938 1900
bristle: [email protected]
BS11 8DW www.caple.co.uk


















