AKDY RH0666 Convertible Insert Range Hood

Product Information
This product is a range hood that is designed to be installed inside a cabinet. It features an aluminum filter, an LED lamp, and a motor. The range hood body measures 28 inches by 14 inches by 4 inches and can accommodate a 30-inch or 36-inch exhaust pipe (sold separately). The hood comes with front and rear stud supports, as well as left and right supports if there is enough space. The package also includes a carbon filter and filter panel.
Product Usage Instructions
- First, determine where to install the range hood inside the cabinet and mark a horizontal and perpendicular line on the base of the cabinet.
- Next, cut out the opening where the insert will be installed according to the measurements provided in the manual (26.75 inches for 30-inch exhaust pipe or 34.45 inches for 36-inch exhaust pipe).
- Install the exhaust pipe before installing the range hood.
- Secure the range hood inside the cabinet using the provided screws. There are 8 holes on the front and rear sides, and 4 holes on the left and right sides.
- If necessary, make all necessary cuts in the wall or ceiling for the ductwork before installing the insert.
- Finally, remove the white/blue protective film on the range hood before use.
It is important to follow all instructions carefully to ensure proper installation and safe use of the range hood.
RANGE HOOD SAFETY
- Your safety and the safety of others are very important.
- We have provided many important safety messages in this manual and on your appliance. Always read and obey all safety messages.
- This is the safety alert symbol.
- This symbol alerts you to potential hazards that can kill or hurt you and others.
- All safety messages will follow the safety alert symbol and either the word “DANGER” or ‘WARNING.” These words mean:
DANGER
- You can be killed or seriously injured if you don’t immediately follow instructions.
WARNING
- You can be killed or seriously injured if you don’t follow instructions.
IMPORTANT SAFETY INSTRUCTIONS
- WARNING: TO REDUCE THE RISK OF FIRE, ELECTRIC SHOCK, OR INJURY TO PERSONS, READ THE FOLLOWING:
- Use this unit only in the manner intended by the manufacturer. If you have questions, please
contact the manufacturer. - Before servicing or cleaning the unit, switch the power off and lock the service panel. This will prevent the power from accidentally turning on. If the service panel does not lock, secure a warning label, such as a tag, to the service panel.
- Installation work and electrical wiring must be done by a qualified professional{s) in accordance with all applicable codes, standards, and fire-rated constructions.
- Do not operate any fans with a damaged cord or plug. Discard the fan or return to an authorized service
facility for further examination and/or repair. - To prevent back draft, sufficient air is needed for proper combustion. Gas from fuel burning equipment needs to exhaust through the flue (chimney). Follow the heating equipment manufacturer’s guideline and safety standards such as those published by the National Fire Protection Association (NFPA), the American Society for Heating, Refrigeration and Air Conditioning Engineers (ASHRAE), and the local code authorities.
- When cutting or drilling into walls or ceilings; be aware of electrical wires, piping, and other utilities.
- Ducted fans must always be vented outdoors. CAUTION: For general ventilation use only. Do not use to exhaust hazardous or explosive materials and vapors.
- CAUTION: To reduce the risk of fire and to properly exhaust air, be sure to duct air outside – DO NOT vent exhaust air into attics, crawl spaces, garages, or within walls and ceilings.
- WARNING: TO REDUCE THE RISK OF A RANGE TOP GREASE FIRE, READ THE FOLLOWING:
- Never leave surface units unattended at high settings. Boil-over can cause smoke and grease to spill over that may ignite. Heat oils slowly on low or medium settings.
- Always turn hood ON when cooking at high heat or when flambeing food (i.e. Crepes Suzette, Cherries Jubilee, Peppercorn Beef Flambe).
- Clean ventilation fans frequently. Grease should not be allowed to accumulate on fan or filter.
- Use proper pan size. Always use cookware
appropriate for the size of the surface element. - WARNING: TO REDUCE THE RISK OF INJURY. IN THE EVENT OF A RANGE TOP GREASE FIRE, READ THE FOLLOWING:
- SMOTHER FLAMES with a close fitting lid, cookie sheet, or metal tray, then turn off the burner. BE CAREFUL TO PREVENT BURNS. If the flames do not go out immediately, EVACUATE AND CALL THE FIRE DEPARTMENT.
- NEVER PICK UP A FLAMING PAN – you may be burned.
- DO NOT USE WATER, including wet dishcloths or towels – a violent steam explosion will result.
- Use an extinguisher ONLY if:
- You know you have a class ABC extinguisher, and you already know how to operate it.
- The fire is small and contained in the area where it started.
- The fire department is being called.
- You can fight the fire with your back to an exit.
- Based on “Kitchen Fire Safety Tips” published by NFPA.
- WARNING: To reduce the risk of fire or electrical shock, do not use this fan with any solid-state speed control device.
INSTALLATION REQUIREMENT
TOOLS AND PARTS REQUIREMENTS
- Electrical drill or ratchet driver
- 1/2″ drill bit for drilling pilot holes
- 1 ¼” drill bit for drilling electrical wiring access hole.
- Screwdrivers: Philips & Straight blade
- Pliers
- Tape measure or ruler and pencil
- Electrical supplies for wiring
- Aluminum foils tape and/or duct tape
- Hammer
- Jigsaw or saber saw
- Stud finder
- Parts Supplied
- Body: 1 Set
- Installation manual 1 Pc
- Metal grease filter 1-4 Pcs
- Hardware 1 Set
- Disclaimer: Screws may vary from model to model.

LOCATION REQUIREMENTS
- IMPORTANT: Observe all governing codes and ordinances. Have a qualified technician install the range hood. It is the installer’s responsibility to comply with installation clearances specified on the model/serial rating plate.
- The canopy hood’s location should be away from strong draft areas, such as windows, doors, and strong heating vents.
- The cabinet opening dimensions that are shown must be used. Given dimensions provide minimum clearance.

INSTALLATION DIMENSIONS 
- A. Countertop height
- B. Hood height from ceiling to bottom of the range hood filter surface: D-A-C=B
- C. 29″ (73.66 cm) min. from cooking surface, suggested 31″ (78.74 cm) max.
- D. Ceiling height
VENTILATION REQIUREMENTS
- Range hoods must be ventilated to the outdoors, except for non-vented (recirculating) installations.
- Do not ventilate the range hood into an attic or other enclosed areas.
- Do not use 4″ (10.2 cm) laundry-type wall caps.
- The length of the range hood and the number of elbows should be kept to a minimum to provide maximum performance.
- For the most efficient and quiet operation
- Use no more than three 90° elbows.
- Make sure there is a minimum of 24″ (61 cm) of straight duct between the elbows if more than one elbow is used.
- Do not install two elbows together.
- Use clamps to seal all joints in the vent system.
- The vent system must have a damper. If the roof or wall cap has a damper, do not use the damper supplied with the range hood.
- Use caulking to seal exterior walls or roof openings around the cap.
- The size of the vents should be uniform.
Cold Weather Installations
- An additional back draft damper should be installed to minimize backward cold air flow. A thermal break should be installed to minimize conduction of outside temperatures as part of the vent system. The damper should be on the cold air side of the thermal break.
- The break should be as close as possible to where the vent system enters the heated portion of the house.
Makeup Air
- Local building codes may require the use of makeup air systems, when using ventilation systems greater than specified CFM of air movement. The specified CFM varies from state to state. Consult your HVAC professional for specific requirements in your area.
Venting Method
- This canopy hood is factory set for through the roof or wall.
- A 6″ (15.2 cm) round vent system is needed for installation. The hood exhaust opening is 6″ (15.2 cm) round.
- To vent through a wall, a 90° elbow is needed.
- If exhaust ducting with a diameter of less than 5.91″ (150 mm) or if flat ducting is used, the noise level of the range hood will increase and extraction will be less efficient.
Rear Discharge
- A 90° elbow may be installed immediately above the hood.
- For Non-Vented {recirculating)
Installations
- If it is not possible to vent cooking fumes and vapors to the outside, the hood can be used in the non-vented (recirculating) version, fitting a carbon filter at the motor. Fumes and vapors are then recycled through the top grille. DO NOT block the Non-vented (recirculating) Roof Venting

Calculating Vent System Length
To calculate the length of the system you need, add the equivalent feet (meters) for all vent pieces used in the system. 
Example vent system
ELECTRICAL REQUIREMENTS
- Observe all governing codes and ordinances. Ensure that the electrical installation is adequate and in conformance with the National Electrical Codes, ANSI/NFPA 70 (latest edition), or CSA Standards C22.1-94, Canadian Electrical Code, Part 1 and C22.2 No. 0-M91 (latest edition), all local codes, and ordinances. If codes permit and a separate ground wire is used, it is recommended that a qualified electrician determine that the ground path is adequate.
- A copy of the above code standards can be obtained from:
- National Fire Protection Association
- 1 Batterymarch Park
- Quincy, MA 02169-7471
- CSA International
- 8501 East Pleasant Valley Road
- Cleveland, OH 44131-5575
- A 120 volt, 60 Hz., AC only, 10-amp, fused electrical circuit is required.
- If the house has aluminum wiring, follow the procedure below:
- Connect a section of solid copper wire to the pigtail leads.
- Connect the aluminum wiring to the copper wire using special connectors and/or tools designed and UL listed for joining copper to aluminum.
- Follow the manufacturer’s recommended procedure for the electrical connector. Aluminum/copper connection must conform to local codes and industry accepted wiring practices.
- Wire sizes and connections must conform to the rating of the appliance as specified on the model/serial rating plate. The model/serial plate is located behind the filter on the rear wall of the range hood.
- Wire sizes must conform to the requirements of the National Electrical Code, ANSI/NFPA 70 (latest edition), or CSA Standards C22. 1-94, Canadian Electrical Code, Part 1 and C22.2 No. 0-M91 (latest edition) and all local codes and ordinances.
INSTALLATION INSTRUCTIONS
PREPARE LOCATION
- Lay out the vent duct system before installing the range hood to determine the best routing for the vent duct.
- It is recommended that the vent system be installed before the range hood is installed.
- Before making cutouts, make sure there is proper clearance within the ceiling for exhaust vent.
- Range hood is to be installed 24″ (61.0 cm) min. for electric cooking surfaces, 27″ (68.6 cm) min. for gas cooking surfaces, to a suggested maximum of 36″ (91.4 cm) above the cooking surface.
- Remove film from metal surfaces as needed prior to assembly.
- Check your ceiling height and the range hood height maximum before you install your hood.
- Disconnect power.
- Determine which venting method to use: roof or non-vented.
Range Hood Mounting Screws Installation
- Determine and mark the centerline on the ceiling where the range hood will be installed, considering the
requirements for ceiling support structures. See the “Location Requirements” section. Make sure the range hood is centered over the cooking surface. - Use a pencil to mark the mounting screws, wire access and duct hole locations on the ceiling.
NOTE: Mounting holes location should be into a ceiling support structure capable of holding 80 lbs (36.6 kg). - Drill 4 – 3/,,” (4.8 mm) pilot holes for mounting the upper horizontal support.
Complete Preparation
- Determine the required location for the home power supply cable and drill a ½” (1.3 cm) diameter hole for wire access.
- Run ½” (1.3 cm) conduit and wires or home power supply cable according to the National Electrical Code or CSA Standards and local codes and ordinances. There must be enough ½” conduit and wires or home power supply cable from the fused disconnect (or circuit breaker) box to make the connection in the hood’s electrical terminal box.
- For vented installations only: Using a jigsaw or keyhole saw, cut a 6½” (16.5 cm) diameter hole for the vent duct.
- Install the exhaust pipe (Buy individually)

INSTALL RANGE HOOD
- Determine and mark the horizontal line and perpendicular line on the base of the cabinet.
- Cut out the opening where the insert will be installed.
- The hood has to be installed inside the cabinet. It should be installed front and rear stud support.

- It would be better if there is space enough for installed the left and right support.
- Determine and make all necessary cuts in the wall or ceiling for the ductwork.
- Note: Install the ductwork before installing the insert.

- In front and rear sides have 8 holes, secure the range hood using the 4X30 screws (8 pcs).

- The left and right sides have 4 holes, secure the range hood using the 4X30 screws (4 pcs).

- Open the filter: Anticlockwise the lock with 90°

- Installation finished.

- CAUTION: BEFORE USE Please remove the white/blue protective film on the range hood.

CONNECTING VENT SYSTEM
COMPLETE INSTALLATION FOR VENTED MODE
- Remove the tape from the airflow flappers. (Part C)

- Install the 8″ exhaust pipe onto the shutter.

COMPLETE INSTALLATION(FOR NON- VENTED(RECIRCULATING) INSTALLATION ONLY
- Step 1: Do not install exhaust pipe, remove the grease filters, and locate the blower inside the ho‹
- Step 2: Attach the carbon filters to both sides of the blower
- Step 3: Twist the carbon filter until it is in the locking position
- Step 4: Reinstall the grease filters, reconnect the power.

RANGE HOOD USE
- The range hood is designed to remove smoke, vapors, and odors.
- For best results, start the hood before cooking. After, the cooking process is complete, allow the range hood to run for several minutes to completely clear all the smoke and odors from the kitchen.

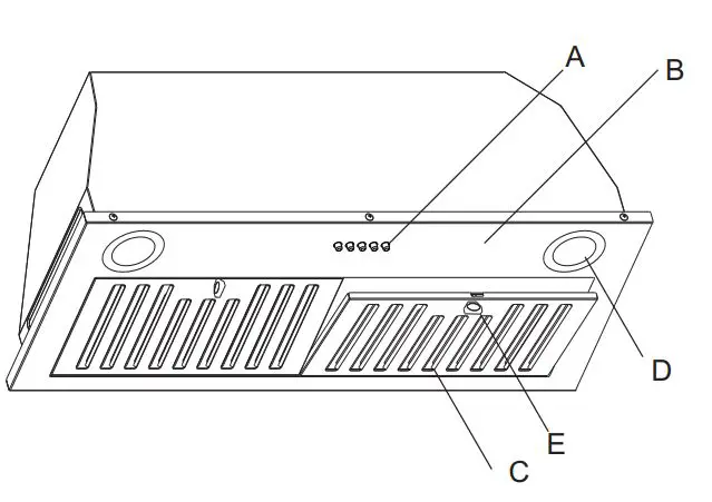
- A. Control Panel (design of panel may vary)
- B. Range hood body (Main Unit)
- C. Filter Panel (design and number of panels may vary)
- D. LED lamp (position and number of lamps may be vary)
- E. Filter Panel Release Handle
RANGE HOOD CONTROLS
Operating the lights
- The On/Off light button controls both lights. Press once for on and again for off.
Operating the blower
- The blower speed buttons turn the blower on and control the blower speed and sound level for quiet operation. The speed can be changed anytime during fan operation by pressing the desired blower speed button. The blower off button turns the blower off.
- Adjusting the clock
- Hold the clock button for two seconds, press “+ or “-” sign to adjust the hour, then press the clock button once again to adjust the minutes. (Some range hoods are using military time, time format are not adjustable)
- Disclaimer: Control panel may vary from model to model; models may not have these controls at all. This is a general type of control panel.
RANGE HOOD CARE
Cleaning
- IMPORTANT: Clean the hood and grease filters frequently according to the following instructions.
- Replace panel filters before operating hood.
Exterior Surfaces
- To avoid damage to the exterior surface, do not use steel wool or soap-filled scouring pads.
- Always wipe dry to avoid water marks.
Cleaning Method
- Use liquid detergent soap and water, or an all-purpose cleanser.
- Wipe with a damp soft cloth or non-abrasive sponge, then rinse with clean water and wipe dry.
Metal Baffle/Grease Filter
- Remove the filter by pulling the spring release handle and then pulling down the filter.

- Wash metal filters as needed in dishwasher or hot detergent solution.
- Reinstall the filter by making sure the spring release handles are toward the front. Insert aluminum filter into upper track.
- Push the spring release handle.
- Push up on metal filter and release handle to latch into place.
TROUBLESHOOTING
| Potential Effect of Failure | Potential Cause(s) | Recommended Action(s) |
| Lamp does not turn ON | Electronic Control does not work. Due to Over Voltage | a) Pressing any key the LCD lights up and icons are in place? Yes, Proceed with the following diagnostic sequence No, Replace the control and user interface. |
| Non functional lamp | 1) Remove the lamp. 2) Verify the lamp to be non functional, by checking the filament and seeing if it was burnt. 3) Replace if needed. | |
| During the hood cleaning, the motor connector has been loose and a false contact in the main harness is performed. | 1) Open the control box by removing the screws. 2) Remove power supply from the hood. 3) Verify that the connector coming from the motor is well connected to the connector mounted in the plastic. Verifying that the locking systems in the connectors are well locked. 4) If the connectors are not well connected: – Hold and press main connectors attached in the white plastic. – Push inwards the motor/lamp connectors until the locking system on connectors is well attached. 5) Connect hood to power supply and verify. | |
| FAN does not work | Electronic Control does not work. Due to Over Voltage | a) Pressing any key the LCD lights up and Icons are in place? Yes, Proceed with the following diagnostic sequence No, Replace the control and user interface. |
| During the hood cleaning, the motor connector has been loose and a false contact in the main harness is performed. | 1) Open the control box removing the screws. 2) Remove power supply from the hood. 3 Verify that the connector coming from the motor is well connected to the connector mounted in the plastic. Verifying that the locking systems in the connectors are well locked. 4) If the connectors are not well connected: |
| – Hold and press main connectors attached in the white plastic. – Push inwards the motor/lamp connectors until the locking system on connectors is well attached. 5) Connect hood to power supply and verify. | ||
| The blower is too noisy | Filters are dirty | 1) Verify that the grease and/or charcoal filters are clean. 2) If they are not clean change charcoal filter, or wash grease filter and verify. |
| False contact in the connectors | During the hood cleaning, the motor connector has been loose and a false contact in the main harness is performed. | 1) Open the control box removing the screws. 2) Remove power supply from the hood. 3) Verify that the connector coming from the motor is well connected to the connector mounted in the plastic. Verifying that the locking systems in the connectors are well locked. 4) If the connectors are not well connected: – Hold and press main connectors attached in the white plastic. – Push inwards the motor/lamp connectors until the locking system on connectors is well attached. 5) Connect hood to power supply and verify. |
| The hood and or the lamp does not work | A terminal or connector is loose | 1) Open the control box removing the 6 screws. 2) Remove power supply from the hood. 3) Verify that the connector coming from the motor is well connected to the connector mounted in the plastic. Verifying that the locking systems in the connectors are well locked. 4) If the connectors are not well connected: – Hold and press main connectors attached in the white plastic. – Push inwards the motor/lamp connectors until the locking system on connectors is well attached. 5) Connect hood to power supply and verify. |




































