Cheaf SERIES
IN-R100SS-30
Convertible Range Hood Insert
User Manual
Safety Information
Before installing your range hood, read the entire instruction manual. Installers, leave this manual with the homeowner.
WARNING
SUITABLE FOR USE IN HOUSEHOLD COOKING AREA ONLY.
TO REDUCE THE RISK OF FIRE, ELECTRICAL SHOCK, OR INJURY, OBSERVE THE FOLLOWING:
- Use this range hood only in the manner intended by the manufacturer. If you have the questions, contact Hauslane at 1-800-929-0168 or email at [email protected].
- Before servicing or cleaning, switch power off at service panel and lock service panel to prevent power from being switched on accidentally. When the service disconnecting means cannot be locked, securely fasten a prominent warning device, such as a tag, to the service panel.
- Installation work and electrical wiring must be done by qualified personnel in accordance with all applicable codes and standards, including fire-rated construction codes and standards.
- Sufficient air is needed for proper combustion and exhausting of gases through the flue (chimney) of fuel-burning equipment to prevent back drafting. Follow the heating equipment manufacturer’s guidelines and safety standards such as those published by the National Fire Protection Association (NFPA), and the American Society for Heating, Refrigeration and Air Conditioning Engineers (ASHRAE), and the local code authorities.
- When cutting or drilling into wall or ceiling, do not damage electrical wiring and other hidden utilities.
- Ducted fans must always be vented to the outdoors.
- Do not use this unit with any solid-state speed control device.
- To reduce the risk of fire, use only steel ductwork.
- This unit must be grounded.
TO REDUCE THE RISK OF A RANGE TOP GREASE FIRE:
- Never leave surface units unattended at high settings. Boil overs cause smoking and greasy spillovers that may ignite. Heat oils slowly on low or medium settings.
- Always turn hood ON when cooking at high heat or when cooking flaming foods.
- Clean ventilating fans frequently. Grease should not be allowed to accumulate on fan or filter.
- Use proper pan size. Always use cookware appropriate for the size of the surface element.
WARNING
TO REDUCE THE RISK OF INJURY TO PERSONS IN THE EVENT OF A RANGE TOP GREASE FIRE, OBSERVE THE FOLLOWING*:
- SMOTHER FLAMES with a close-fitting lid, cookie sheet or metal tray, then turn off the burner. BE CAREFUL TO PREVENT BURNS. IF THE FLAMES DO NOT GO OUT IMMEDIATELY, EVACUATE AND CALL THE FIRE DEPARTMENT.
- NEVER PICK UP A FLAMING PAN as you may be burned.
- DO NOT USE WATER, including wet dishcloths or towels. This could cause a violent steam explosion.
- Use an extinguisher ONLY if:
A. You own a Class ABC extinguisher and you know how to operate it.
B. The fire is small and contained.
C. The fire department has been called.
D. You can fight the fire with your back to an exit.
*Based on “Kitchen Fire Safety Tips” published by NFPA.
CAUTION
- For general ventilating use only. Do not use to exhaust hazardous or explosive materials and vapors.
- To avoid damage and noisy and/or unbalanced impellers, keep drywall/construction dust, etc. off power unit.
- Mount your range hood so that the bottom of the hood is 24″ to 30″ above the cooking surface. The minimum hood distance above cooktop must not be less than 24″; any installation less than 24″ may cause overheating and cause damage to the range hood, HAUSLANE does not warrant this improper installation.
- Two to three installers are recommended because of the larger size and weight of this hood.
- To reduce the risk of fire and to properly exhaust air, be sure to duct air outside. Do not exhaust air into spaces within walls and ceiling or into attics, crawl space or garages.
- Because of the high exhausting capacity of this hood, you should make sure enough air is entering the house to replace exhausted air by opening a window close to or in the kitchen.
- Use with approved cord-connection kit only.
- Please read product specification label on range hood for further information and requirements.
Warranty Information
This range hood is warranted to the original purchaser to be free of defects in material and workmanship for two (2) years from the date of purchase.
Our obligation shall be limited to the repair or replacement of a unit (at our discretion) that may prove, by our sole examination, to be defective under normal use and service during the warranty period. We may issue credit in the amount of the invoice value of the defective product (or a percentage of it according to use) in lieu of repair or replacement. Any failure of this product that is not traceable to a defect in material or workmanship is not covered by this warranty. These non-warrantable items include, but are not limited to:
- Any defects or damage to light bulbs
- Change in color or finish due to chemical usage
- Improper installation not in accordance with the instructions
- Dents, bumps, and scratches incurred during shipping, handling, or installation
- Damage caused by failure to follow care and cleaning guidelines, including damage caused by the use of abrasive cleaners
- Alterations made to the unit by the purchaser or installer
- Damage caused by accidental impact, fire, flood, freezing, and normal wear
- Bends and warping caused by forced connections, over-tightened fittings, and inadequate support during installation
A thorough inspection must be made before installation and any damage must be promptly reported. We will not be liable for failures or damage that could have been discovered or avoided by proper inspection and testing prior to installation.
Incidental repairs that would involve a minimum of time and effort on behalf of the purchaser will not be considered warranty work and no compensation will be deemed forth coming.
This warranty is non-transferable and shall be voided if the unit is removed from its initial installation or if it is not installed following the instructions.
Under no circumstance shall we be held liable for personal injury or property damage resulting from improper installation or use of this product. We will not be held liable for inconvenience caused by loss of use of this product, costs incurred for labor or materials, removal and installation of replacement units, or any other incidental or consequential damages. Costs relating to obtaining access for repair or replacement are the responsibility of the user.
This warranty does not extend to commercial and institutional installation or use.
Warranty Claim Procedure
If a claimable defect occurs, please contact our customer service team at 1-800-929-0168 (8 a.m. – 5 p.m., PST, Monday – Friday). or email us at [email protected] Before you make your claim call, please ensure that you have:
- Description of the range hood
- Proof of sale
- Details regarding the defect
- Name(s) and address(es) of the owner and installer
Claims must be filled out in writing and returned within six (6) months of the appearance of a defect. Failure to comply with this stipulation will make this warranty null and void. We reserve the right to a thirty-day (30) delay following the receipt of a claim in which to inspect the product. We assume no responsibility for labor costs, removing or replacing a previously installed product, transportation, or the return of a product.
Specifications
| IN-R100SS-30 | Volts | Hertz | Fan CFM | Speeds | Light Wattage | Stainless Steel Grade |
| 29.5” W 11.25” D 10.43” H | 120 | 60 | 600 | 3 | 2W x 2 | 430 |

Tools Needed
Before you begin the installation process, gather the following tools:

| 1. Measuring Tape 2. Tape 3. Level 4. Utility Knife 5. Pencil 6. Adjustable Wrench 7. Philips Screwdriver | 8. Flathead Screwdriver 9. Needle Nose Pliers 10. Hammer 11. Electric Drill 12. Safety Goggles 13. Sefety Gloves |
Package Contents

| 1. Range Hood 2. Vertical Round Outlet Adapter 3. Baffle Filter (Preinstalled) | 4. (2) LED Light (Preinstalled) 5. Bag of Screws 6 .User Manual |
Parts Included
6 x AA Hood mounting screws
2 x Front panel mounting screws (preinstalled on the unit)
Preparation: What to Do Before Installation
Before installing your range hood, carefully follow these steps:
- Read This Manual
Read through all the steps. If you fail to read the instructions carefully, we will not be responsible for damages incurred on your part. If you’re not confident in your abilities to install the range hood properly, we recommend hiring a certified technician to complete the installation. While reading through the manual, ensure you have the necessary tools and parts according to the previous page. If you want the non-ducted function by using a charcoal filter then skip step 4. - Measure, Mark, and Cut the Installation Area
Cut a rectangular hole in the bottom of the cabinet with dimensions 28.4” x 10.75”. Ensure there is room for the front and back mounting screws of the range hood. If not, you may need to build wood blocking in order to secure the mounting screws.
- Check Electrical Connection
Check the position of the power outlet and consider where the power cable will run. A hole may have to be made in the wall unit to accommodate it.
Electrical wiring should be done by a qualified person in accordance with all applicable codes and standards. Turn off electrical power at service entrance before wiring. If the supply cord is damaged, it must be replaced by the manufacturer, a service agent or similarly qualified persons. Don’t use the plug or an extension cord other than the ones initially supplied with the hood. - Check Ducting & Install Adapter
Ensure there is a hole for the exhaust in order to connect the range hood to exhaust ducting. Use an outlet exhaust duct with minimum indispensable length and minimum possible bends with a maximum bend angle of 90 degrees. Use certified material according to the state in which you are located. Avoid any drastic changes in duct cross-section. Recommended diameter is 6”. Next, install the adapter over the lip and insert 8 screws (BB) to securely fasten the adapter.

- Install Charcol Filter (Non-Ducted Only)
To install the charcoal filter, first remove the bottom cover. Push the middle of the charcoal filter against the middle of the grill and turn the filter clockwise to fix into position.
- Find a Helper
Two or more people are recommended to install this range hood due to its size and weight.
IMPORTANT: Exhaust air must not be discharged into a flue which is used for appliances burning gas or other fuels.
If the instructions for installation for the gas range specify a greater distance than 650mm, you will need to take this into account.
Always fulfill all regulations concerning the discharge of exhaust air.
How to Install Your Range Hood
When you’ve completed all the preparation steps, you’re ready to install your range hood.
- Carefully Remove Packaging
Open the box and flip it upside down, then lift the box up to carefully unbox the range hood. Remove any packaging, including the plastic wrap and protective plastic film, from the hood. You can use stainless steel cleaner to wipe down the surface if desired. Keep all packaging materials until you are satisfied with our product. - Test the Unit and Ensure You Are Satisfied With It
Check your range hood for damaged or missing parts. Plug it in to an outlet to ensure the fan and lights work. If anything is damaged or missing, contact the seller to get the issues solved. Don’t throw away packaging until you’re sure you are fully satisfied with the product.
IMPORTANT: ower the range hood and test all functions before proceeding with the installation. If the range hood is not working properly, please contact us at 1-800-929-0168. - Uninstall Bottom Cover
To uninstall the bottom cover, turn the unit upside down and remove the baffle filter from the range hood by pushing the filter knob outward. Then, remove the bottom cover by unscrewing the two screws as shown.
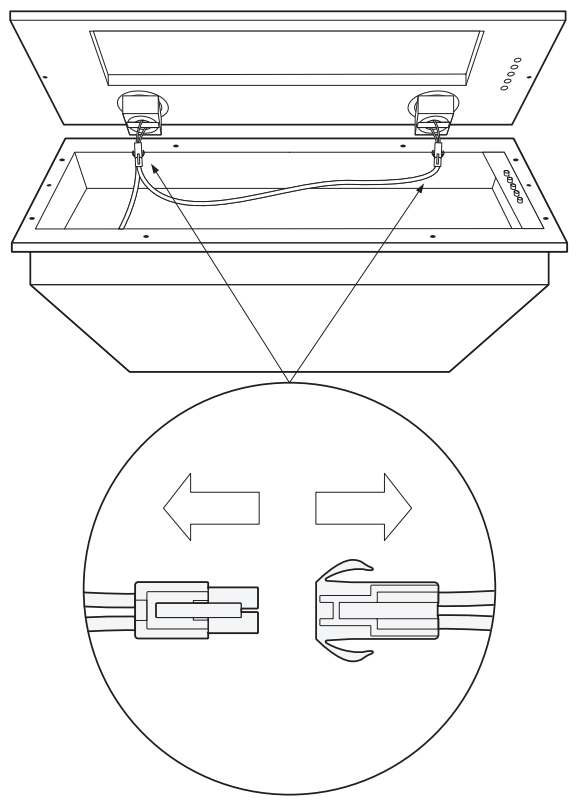
- Disconnect the Wiring
Inside the range hood, locate the two areas where the wires are connected, as shown in the image. Carefully disconnect these pieces as shown.
- Mount the Hood to the Cabinet
Next, lift the range hood into position in the opening of the cabinet. Secure it in place, using screws in the mounting holes as shown. The bottom of the range hood should align flush with the bottom of the cabinet. For best results, use a screw in every mounting hole on all four sides of the range hood. If it is not possible to insert screws on the left and right sides, it is sufficient to secure the range hood using the front and back mounting holes.
- Replace the Bottom Cover
Then, screw back the bottom cover by carefully inserting the two screws that you removed earlier. Reinsert the baffle filter.
Be Careful with Electrical Connections.
Then, screw back the bottom cover by carefully inserting the two screws that you removed earlier. Reinsert the baffle filter.
WARNING: Electrical wiring must be done by a qualified person(s) in accordance with all applicable codes and standards. Turn off electrical power at service entrance before wiring.
WARNING: Do not use the plug and an extension cord other than the ones initially supplied with the hood.
WARNING: The ground connection of this hood is compulsory. Do not remove ground prong of the plug.
How to Use Your Range Hood
Now that your range hood is installed, it’s time to learn how to use it. It is very simple to use and is operated entirely using the front control panel.
Using the Front Control Panel
Use the simple front control panel to turn the lights and fan on or off.

Basic Maintenance Instructions
Your range hood requires some easy routine maintenance to keep it running efficiently.
Maintaining the Stainless Steel Grease Baffle Filter
Clean the grease filters frequently—we suggest cleaning every 2 months, or more frequently for heavy use.
- To remove the baffle filters, push down on the latch, tilt the filter, and lift out.

- Wash the baffle filter in the dishwasher or by hand using a warm detergent solution, taking care not to bend the stainless steel filter.
- Let the baffle filters dry completely.
- Reinstall the baffle filter and ensure that the latch is visible from the outside.
Replacing the Lighting
CAUTION: Always switch off the electrical supply before replacing LED lamps.
This range hood requires two LED or halogen lightbulbs.
- Switch off power and wait for 5 minutes to ensure bulbs have cooled down.
- Wearing gloves, remove the bulb by pulling sideways.
Cleaning Your Range Hood
This range hood will look great and function correctly for a long time with proper care. Here are a few do’s and dont’s when caring for your range hood.
WARNING: Failure to maintain basic standards of care and cleaning will increase the risk of fire.
| DO | DONT |
| Clean the range hood with warm, soapy cloth or a stainless-steel polish. | Don’t use cleaners or cloths that are corrosive or abrasive. Don’t use detergents with ingredients like chloride, iodide, or fluoride. |
| Clean the hood in line with the grain of the stainless steel. | Don’t leave dirt or soap residue on the hood. This can damage the surface. Wash the hood’s surface and rinse immediately with clean water. |
| After cleaning with soap, rinse with clean water and wipe with a clean, dry cloth. | Don’t let particles, especially construction particles (from sanding, etc.) enter the hood. Cover the hood during room renovations. |
| Check the ducts and vents regularly to make sure they are not clogged. | Don’t use flammable agents near the stove, as these can cause explosions. |
Troubleshooting Tips
WARNING: Please turn off the power circuit or power breaker panel before troubleshooting this range hood. Failure to do so can cause death or serious injury.
| Problem | Solution |
| My range hood won’t work. | 1. Make sure the power supply and wiring are connected securely. 2. Double-check to see that the power breaker is on and the power supply is live. 3. Check to see that the control panel cables are connected correctly to the switchboards. |
| My range hood vibrates while the fan is operating. | 1. Check to ensure the hood is firmly secured to the cabinet/wall. Tighten or add screws if necessary. 2. Confirm that the motor is firmly in place and secured safely. If it is not, tighten it. 3. If those steps haven’t resolved the issue, your fan may be damaged. If it is damaged, you may need to replace it. |
| The fan is operating weakly. | 1. Double-check to ensure the duct size is correct. 2. Clean ducts or filters if they’re dirty. Also, check to make sure the mesh enclosure on the hood is receiving proper air ventilation. 3. If possible, check to see that the damper is functioning properly regarding the opening. |
| The fan is not working properly even though the lights are working. | 1. Double-check that the fan is not jammed /that it isn’t scraping any of the surfaces of the hood. 2. If this doesn’t work, you may need to replace the motor as it may be defective. |
| The vent hood is not working efficiently. | 1. The minimum distance between the cooking area and the appliance should be 24″ or 30″ maximum. Check to see if this is correct. 2. Make sure that the duct is not susceptible to easy wind opening. 3. Make sure the fan speed is at the appropriate rate. The heavier the cooking, the greater the speed of the hood should be set. 4. Closing the windows and doors in the room will allow the vent to work much better. 5. As noted during the installation process, all ductwork must be done correctly. You may need to reduce the length of ductwork or reduce elbows. 6. Make sure all joinery in ductwork is sealed and secured properly. |
| The light is not working. | 1. Check to see if lightbulb is loose and needs to be tightened. 2. If tightening doesn’t fix the problem, replace bulb with a new one and see if that solves the issue. 3. If replacement and/or tightening does not solve, you may need to replace the lighting service system on the hood. |
Still experiencing problems after following these steps? Contact a technician to assist. Contact us at 1-800-929-0168 or [email protected].
Contact Hauslane
Extended Warranties
If you are interested in an extended warranty, sign up on our website at www.hauslane.com
Parts and Accessories
If you need replacement parts or accessories, visit www.hauslane.com
Contact Us
We’d be happy to answer your questions or resolve any issues you may have.
Phone: 1-800-929-0168![]()
Find Us and Connect with Us



























