HAUSLANE WM-590BSS-30 Stainless Steel Wall Mounted Range Hood Instruction Manual
Safety Information
READ AND SAVE THESE INSTRUCTIONS FOR DOMESTIC COOKING ONLY
INSTALLER: Leave this manual with the homeowner.
HOMEOWNER: Use and Care information on Page
If hood is to be installed Non-Ducted (Recirculation) , then purchase a set of (2) non-ducted charcoal filters from your local distributor or retailer and attach them to the motor.
WARNING
SUITABLE FOR USE IN HOUSEHOLD COOKING AREA.
TO REDUCE THE RISK OF FIRE, ELECTRICAL SHOCK, OR INJURY TO PERSONS, OBSERVE THE FOLLOWING:
- Use this unit only in the manner intended by the manufacturer. If you have the questions, contact the manufacturer at the email address or telephone number listed in the warranty.
- Before servicing or cleaning unit, switching power off at service panel and lock service panel to prevent power from being switched on accidentally. When the service disconnecting means cannot be locked, securely fasten a prominent warning device, such as a tag, to the service panel.
- Installation work and electrical wiring must be done by a qualified personnel in accordance with all applicable codes and standards, including fire-rated construction codes and standards.
- Sufficient air is needed for proper combustion and exhausting of gases through the flue (chimney) of fuel burning equipment to prevent back drafting. Follow the heating equipment manufacturer’s guidelines and safety standards such as those published by the National Fire Protection
Association (NFPA), and the American Society for Heating, Refrigeration and Air Conditioning Engineers (ASH RAE), and the local code authorities. - When cutting or drilling into wall or ceiling, do not damage electrical wiring and other hidden utilities.
- Ducted fans must always be vented to the outdoors.
- Do not use this unit with any solid-state speed control device.
- To reduce the risk of fire, use only steel ductwork.
- This unit must be grounded.
TO REDUCE THE RISK OF A RANGE TOP GREASE FIRE:
- A. Never leave surface units unattended at high settings. Boil overs cause smoking and greasy spillovers that may ignite. Heat oils slowly on low or medium settings.
- B. Always turn hood ON when cooking at high heat or when cooking flaming foods.
- C. Clean ventilating fans frequently. Grease should not be allowed to accumulate on fan or filter.
- D. Use proper pan size. Always use cookware appropriate for the size of the surface element
WARNING
TO REDUCE THE RISK OF INJURY TO PERSONS IN THE EVENT OF A RANGE
TOP GREASE FIRE, OBSERVE THE FOLLOWING*:
- SMOTHER FLAMES with a close-fitting lid, cookie sheet or metal tray, then turn off the burner. BE CAREFUL TO PREVENT BURNS. IF THE FLAMES DO NOT GO OUT IMMEDIATELY, EVACUATE AND CALL THE FIRE DEPARTMENT.
- NEVER PICK UP A FLAMING PAN -You may be burned.
- DO NOT USE WATER, including wet dishcloths or towels-This could cause a violent steam explosion.
- Use an extinguisher ONLY if:
- You own a Class ABC extinguisher and you know how to operate it.
- The fire is small and contained in the area where it started.
- The fire department has been called.
- You can fight the fire with your back to an exit.
Based on “Kitchen Fire Safety Tips” published by NFPA.
CAUTION
- For general ventilating use only. Do not use to exhaust hazardous or explosive materials and vapors.
- To avoid motor bearing damage and noisy and/or unbalanced impellers, keep drywall spray, construction dust, etc. off power unit.
- For the best capture of cooking impurities, your range hood should be mounted so that the top of the hood is 26″-30″ above the cooking surface (min 26″ for electric cooktop, 28″ for gas cooktop). The minimum hood distance above cooktop must not be less than 26″; any installation less than 26″ may cause over heat and cause damage to the range hood, HAUSLANE does not warrant this improper installation.
- Two installers are recommended because of the larger size and weight of this hood.
- To reduce the risk of fire and to properly exhaust air, be sure to duct air outside -Do not exhaust air into spaces within walls and ceiling or into attics, crawl space or garages.
- Because of the high exhausting capacity of this hood, you should make sure enough air is entering the house to replace exhausted air by opening a window close to or in the kitchen.
- Use with approved cord-connection kit only.
- Please read specification label in product for further information and requirements.
Warranty
This range hood is warranted to the original purchaser to be free of defects in material and workmanship for two(2)year from the date of purchase.
Our obligation shall be limited to the repair or replacement of a unit (at our discretion) that may prove, by our sole examination, to be defective under
normal use and service during the warranty period. We may issue credit in the amount of the invoice value of the defective product (or a percentage of
it according to use) in lieu of repair or replacement. Any failure of this product that is not traceable to a defect in material or workmanship is not
covered by this warranty. These non-warrantable items include, but are not limited to:
- Any defects or damage to light bulbs
- Change in color or finish due to chemical usage
- Improper installation not in accordance with the instructions
- Dents, bumps, and scratches incurred during shipping, handling, or installation
- Damage caused by failure to follow care and cleaning guidelines, including damage caused by the use of abrasive cleaners
- Alterations made to the unit by the purchaser or installer
- Damage caused by accidental impact, fire, flood, freezing, and normal wear
- Bends and warping caused by forced connections, over-tightened fittings, and inadequate support during installation
A thorough inspection must be made before installation and any damage must be promptly reported. We will not be liable for failures or damage that could have been discovered or avoided by proper inspection and testing prior to installation.
Incidental repairs that would involve a minimum of time and effort on behalf of the purchaser will not be considered warranty work and no compensation will be deemed forth coming.
This warranty is non-transferable and shall be voided if the unit is removed from its initial installation or if it is not installed following the instructions.
Under no circumstance shall we be held liable for personal injury or property damage resulting from improper installation or use of this product. We will not be held liable for inconvenience caused by loss of use of this product, costs incurred for labor or materials, removal and installation of replacement units, or any other incidental or consequential damages. Costs relating to obtaining access for repair or replacement are the responsibility of the user.
This warranty does not extend to commercial and institutional installation or use.
WARRANTY CLAIM PRODEDURE
If a claimable defect occurs, please contact our customer service team.
Before you make your claim call, please ensure that you have:
- Description of the range hood
- Proof of sale
- Details regarding the defect
- Name(s) and address(es) of the owner and installer
Claims must be filled out in writing and returned within six (6) months of the appearance of a defect. Failure to comply with this stipulation will make this warranty null and void. We reserve the right to a thirty-day (30) delay following the receipt of a claim in which to inspect the product. We assume no responsibility for labor costs, removing or replacing a previously installed product, transportation, or the return of a product.
Pre-installation
TOOLS REQUIRED
- Measuring tape

- Level

- Utility knife

- Pencil

- Tape

- Adjustable wrench

- Phillips screwdriver

- Flathead screwdriver

- Needle nose pliers

- Hammer

- Electric drill

- Safety goggles

- Safety gloves

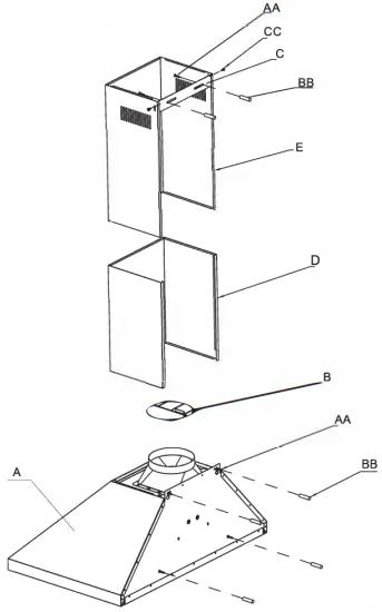
HARDWARE INCLUDED
NOTE, Hardware not shown to actual size.
| Part | Description | Quantity |
| AA | Hood body mounting screws | 6 |
| BB | Drywall anchor | 6 |
| CC | Chimney mounting bracket screws | 2 |
PACKAGE CONTENTS

| Part | Description | Quantity |
| A | Range hood (including filters and lamps) | 1 |
| B | Damper (located with the outlet adapter) | 1 |
| C | Chimney mounting bracket | 1 |
| D | Bottom chimney | 1 |
| E | Top chimney | 1 |
SPECIFICATIONS
| Dimensions | Volts | Hertz | Fan CFM | Speeds | Light Wattage | Stainless Steel Grade |
| WM-590BSS-30: 760mm(29.4 in)W | 120 | 60 | 860 | High | 1 x 5W | |
| 480 mm (18.9 in.) D | Medium | |||||
| 675-1150mm(26.5-45.2 in.)H | Low |

Installation
INSTALLATION DRILLING AND LINING
- Draw a vertical line on the supporting wall up to the ceiling, or as high as practical, at the center of the area in which the hood will be installed.
- Draw a horizontal line at minimum 24 in and maximum 30 in above the cooking surface.
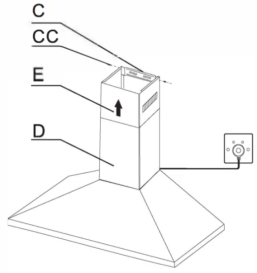
- Place chimney mounting bracket (C) on the wall as shown about 1 in. from the ceiling or upper limit aligning the center (notch) with the vertical reference line.

MOUNTING THE HOOD
- Mount the two hood body mounting screws (AA) with drywall anchors (BB) into the wall along the line that is 11-4/5 in. above the horizontal line. Ensure the screws and anchors (AA and BB) are parallel with the horizontal line.

- Hang the hood body (A) onto the screws (AA) mounted onto the wall and securely tighten the screws (AA) to secure the hood body (A) on the wall.
- Install two additional hood body mounting screws (AA) into the auxiliary mounting holes to secure the hood body (A) in place.

DUCT FIXING
CAUTION: To reduce the risk of fire, metal ductwork is preferred. (Metal duct should be sourced locally.)
- Attach an adequate length of cp 6 in. round duct (not included) on the top the outlet adapter.
- Check and properly tape all joints on duct work to ensure proper connections.
- TELESCOPIC CHIMNEY ASSEMBLY
- Chimney Bottom: Carefully slide the chimney bottom (D) down outside the chimney top (E) partly, and then carefully place the chimney bottom (D) into the recessed area of the hood body (A) top

- Chimney Top: Ensure the chimney mounting bracket (C) is securely attached to the wall. Raise the chimney top (E) up inside the chimney bottom(D). Secure the chimney top (E) to the chimney mounting bracket (C) with chimney mounting bracket screws (CC) from two sides.

- Chimney Bottom: Carefully slide the chimney bottom (D) down outside the chimney top (E) partly, and then carefully place the chimney bottom (D) into the recessed area of the hood body (A) top
CONNECTIONS
DUCTED MODE
CAUTION: To reduce the risk of fire, metal ductwork is preferred. (Metal duct should be sourced locally.)
- Decide where the ductwork (not included) will run between the hood and the outside.
- Please be noted that a straight, short duct will allow the hood to perform more efficiently.
- Long duct runs, elbows, and transitions will reduce the performance of the hood. Larger ducting may be required for better performance with longer duct runs.
- The air must not be discharge into a flue that is used for exhausting fumes from appliances burning gas or other fuels. Regulations concerning the discharge of air have to be fulfilled.
- Install a roof/wall cap. Connect metal ductwork to cap and work back towards hood location. Check and properly tape all joints on ductwork to ensure proper connections. (The roof/wall cap should be sourced locally).

NON-DUCTED MODE
CAUTION: Do not use plastic or rigid metal ducting.
- Install the charcoal filter (not included).
- Please note that the air will flow out from the two grids on the two sides of the chimney top.

ELECTRICAL CONNECTION
WARNING: Electrical wiring must be done by a qualified person(s) in accordance with all applicable codes and standards. Tum off electrical power at service entrance before wiring.
WARNING: If the supply cord is damaged, it must be replaced by the service agent or similarly qualified persons in order to avoid a hazard.
WARNING: Do not use the plug and an extension cord other than the ones initially supplied with the hood.
WARNING: The ground connection of this hood is compulsory. Do not remove ground prong of the plug
Operation
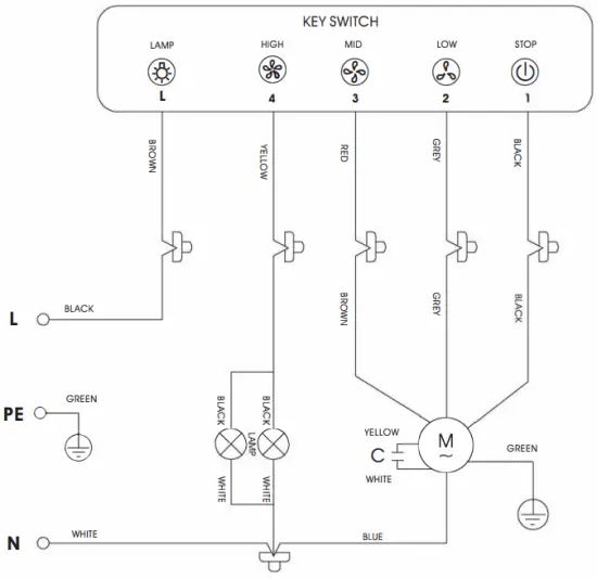
OPERATION OF CONTROLS
Settings:
- 0-0N/OFF
- 1- LOW SPEED
- 2- MEDIUM SPEED
- 3 – HIGH SPEED
- 4- LIGHT
Maintenance
BAFFLE GREASE FILTER
- The grease filters should be cleaned frequently (every two months of operation, or more frequently for heavy use). Use a warm detergent solution.
- Grease filters are washable.

- Remove the grease filters one by one by pushing down each latch. This will disengage the filter from the hood. Tilt the filter downward and remove.
- Wash the filters, taking care not to bend them. Allow them to be dry before refitting.
- When refitting the filters, make sure that the latch is visible from the outside.
- To install the grease filter, align rear filter tabs with slots in the hood. Push down the latch, push filter into position and release. Make sure the filter is securely engaged after assembly.
NON-DUCTED RECIRCULATION CHARCOAL FILTER {NOT INCLUDED)
- This charcoal filter(not included) is not washable, cannot be regenerated, and should be replaced approximately every 3 months of operation, or more frequently in the case of heavy usage.
- Remove the outer filters.
- The charcoal filters (not included) must be applied to the suction unit in side the hood, centering them inside of it and turning them 90° until they snap into place.
- Put the outer filters back in place

LIGHTING
WARNING: Always switch off the electrical supply before carrying out any operation on the appliance.
CAUTION: The surface of the LED lamps may be hot. Take care when doing the replacement.
- This range hood requires one LED strip (model #WA0876 with 120V, 5W ).
- To change LED strip:
- Switch off power and wait for 5 minute until the bulbs cool down.
- Wear gloves and remove the bulb by pulling sideways.

OIL CUP
- The oil cup (1) is located on the motor blower.
- The oil cup should be cleaned frequently. The oil accumulated inside the oil cup cannot be more than half. Use a warm detergent solution.
- Allow it to be dry before refitting.

Care and Cleaning
WARNING: Failure to maintain basic standards of care and cleaning of the range hood will increase the risk of fire .
The range hood should be cleaned regularly internally and externally to preserve its appearance and performance.
Do
- Clean the range hood periodically with hot, soapy water and a clean cotton cloth.
- Always clean in the direction of original polish lines.
- Always rinse well with clean water two or three times after cleaning. Wipe completely dry with a soft, non-abrasive cloth.
- After cleaning, you may polish with a non-abrasive stainless steel polish or cleaner. Always rub lightly and with the grain.
- Ensure that the venting system is free of debris, if you have one.
Do Not
- Do not use corrosive or abrasive detergents, or any products containing chloride, fluoride, iodide, or bromide on this product, as they will deteriorate the surface rapidly.
- Do not allow cleaning compounds, salt solutions, disinfectants, or bleaches to remain in contact with the product for extended periods of time.
- Do not allow deposits to remain for long periods of time on the range hood. Rinse with water immediately and wipe dry with a clean cloth.
- Do not leave the range hood dirty for long periods of time or allow dirt to accumulate.
- Do not let plaster dust or any other construction residue enter the hood. During construction or renovation, cover the hood.
- Combustible products used for cleaning, such as acetone, alcohol, ether, or benzyl, are highly explosive and should never be used close to a range or stove .
Troubleshooting
DANGER: Tum off the power circuit breaker or the power switch on the Junction box before Installing or servicing this unit.
Touching circuitry inside the range hood while it is energized will result in death or serious injury.
| Problem | SOLUTION |
| The range hood will not operate.
| Check that the power supply cable and all electrical wiring are properly connected. |
| Check that the power is turned on at the junction box or circuit breaker. | |
| Check that the wiring between the switch board and the control board are connected properly. | |
|
The range hood vibrates when the fan is operating.
| Check that the range hood has been secured properly to the wall or cabinet. |
| Tighten it into position, if necessary. | |
| Check that the motor is secured in place. If not, then tighten the motor in place. | |
| Check that the fan is not damaged. If so, replace the fan. | |
| The fans seem weak
| Check that the duct size used is at least 152 mm (6 in.). The range hood will not function efficiently with insufficient duct size. |
| Check that the duct is not clogged with debris and the tight mesh on the wall cap, if applicable, isn’t restricting airflow. | |
| Check that the damper unit is opening properly, if applicable. | |
| The lights work, but the fan is not spinning, is stuck, or is rattling.
| The lights work, but the fan is not spinning, is stuck, or is rattling. |
| Check that the fan isn’t jammed or scraping the bottom. | |
| If nothing else works, the motor may be defective or seized. If so, replace the motor. | |
| Check that the distance between the cook top and the bottom of the range hood is min. at 24 in. | |
| The range hood is not venting properly.
| Check that duct work follows all requirements. Use metal duct work with a uniform diameter of 150 mm (6 in.). Reduce the length of duct work and the number of elbows if necessary. Ensure that all joints are properly connected, sealed, and taped. |
| Check that the duct does not open against the wind. | |
| Ensure that the power is on high speed for heavy cooking. | |
| Wind from opened windows or doors may affect the performance of the range hood. Close windows and doors to eliminate outside air flow. | |
| A light does not work
| Check the light bulb to see if it is loose. If so, tighten. |
| Remove the problem bulb and insert one you know is working. If the properly functioning light does not come on, the problem may be the light assembly. | |
| Have the light assembly serviced or replaced. |
Wiring Diagram










































