USER MANUAL

WM-730 Model Series

Safety Information
Before installing your range hood, read the entire instruction manual. Installers, leave this manual with the homeowner.
WARNING
SUITABLE FOR USE IN HOUSEHOLD COOKING AREA ONLY. TO REDUCE THE RISK OF FIRE, ELECTRICAL SHOCK, OR INJURY, OBSERVE THE FOLLOWING:
- Use this range hood only in the manner intended by the manufacturer. If you have the questions, contact Chef Kitch at 1-800-929-0168 or email at [email protected].
- Before servicing or cleaning, switch power off at service panel and lock service panel to prevent power from being switched on accidentally. When the service disconnecting means cannot be locked, securely fasten a prominent warning device, such as a tag, to the service panel.
- Installation work and electrical wiring must be done by qualified personnel in accordance with all applicable codes and standards, including fire-rated construction codes and standards.
- Sufficient air is needed for proper combustion and exhausting of gases through the flue (chimney) of fuel-burning equipment to prevent back drafting. Follow the heating equipment manufacturer’s guidelines and safety standards such as those published by the National Fire Protection Association (NFPA), and the American Society for Heating, Refrigeration and Air Conditioning Engineers (ASHRAE) and the local code authorities.
- When cutting or drilling into wall or ceiling, do not damage electrical wiring and other hidden utilities.
- Ducted fans must always be vented to the outdoors.
- Do not use this unit with any solid-state speed control device.
- To reduce the risk of fire, use only steel ductwork.
- This unit must be grounded.
TO REDUCE THE RISK OF A RANGE TOP GREASE FIRE:
- Never leave surface units unattended at high settings. Boil overs cause smoking and greasy spillovers that may ignite. Heat oils slowly on low or medium settings.
- Always turn hood ON when cooking at high heat or when cooking flaming foods.
- Clean ventilating fans frequently. Grease should not be allowed to accumulate on fan or filter.
- Use proper pan size. Always use cookware appropriate for the size of the surface element.
WARNING
TO REDUCE THE RISK OF INJURY TO PERSONS IN THE EVENT OF A RANGE TOP GREASE FIRE, OBSERVE THE FOLLOWING*:
- SMOTHER FLAMES with a close-fitting lid, cookie sheet or metal tray, then turn off the burner. BE CAREFUL TO PREVENT BURNS. IF THE FLAMES DO NOT GO OUT IMMEDIATELY, EVACUATE AND CALL THE FIRE DEPARTMENT.
- NEVER PICK UP A FLAMING PAN as you may be burned.
- DO NOT USE WATER, including wet dishcloths or towels. This could cause a violent steam explosion.
- Use an extinguisher ONLY if:
A. You own a Class ABC extinguisher and you know how to operate it.
B. The fire is small and contained.
C. The fire department has been called.
D. You can fight the fire with your back to an exit.
*Based on “Kitchen Fire Safety Tips” published by NFPA.
CAUTION
- For general ventilating use only. Do not use to exhaust hazardous or explosive materials and vapors.
- To avoid damage and noisy and/or unbalanced impellers, keep drywall/construction dust, etc. off power unit.
- Mount your range hood so that the bottom of the hood is 24″ to 30″ above the cooking surface. The minimum hood distance above cooktop must not be less than 24″; any installation less than 24″ may cause overheating and cause damage to the range hood, HAUSLANE does not warrant this improper installation.
- Two to three installers are recommended because of the larger size and weight of this hood.
- To reduce the risk of fire and to properly exhaust air, be sure to duct air outside. Do not exhaust air into spaces within walls and ceiling or into attics, crawl space or garages.
- Because of the high exhausting capacity of this hood, you should make sure enough air is entering the house to replace exhausted air by opening a window close to or in the kitchen.
- Use with approved cord-connection kit only.
- Please read product specification label on range hood for further information and requirements.
Tools Needed
Marker or Pencil
Utility Knife
Measuring Tape
Hammer 
Level
Powered Drill
Aluminum Foil Duct Tape
Flat & Phillips Screwdrivers
Pliers
Parts Supplied
Range Hood Upper Chimney Lower Chimney


Stainless Steel Baffle Filter Upper Chimney Mounting Bracket

Grease Tube

- Draft Dampers
- Duct Adapter
- Adapter Gasket
(A)
(C)
Qty: 6 PCS (For dry wall or sheet rock only) Qty: 4 PCS
(B)
(D) 
Qty: 6 PCS Qty: 6 PCS Duct
Venting Methods
IMPORTANT:
DO
- Have the venting system go vertically from the range hood to the roof if possible.
- Have 24″- 30″ distance between the cooktop and the range hood. 27″ is recommended.
- Use uniformed duct of 6″ round duct or 3-¼ x 10″ rectangular duct or larger.
- Use metal vent only. Rigid metal vent is recommended. Semi-rigid aluminum vent is also acceptable for easy connection.
- Make sure there is a minimum of 24″ of straight vent between the elbows if more than 1 elbow is used.
- Use minimal numbers of elbows and the shortest route for the venting system for a better performance.
- Use silver tap or duct tap to seal all joints in the venting system.
- Use caulking silicone to seal exterior wall or roof opening around the cap.
- Always keep the duct clean to ensure proper airflow.

- Cabinet
- Range Hood
- Maximum Height: 30″
Recommended: 27″
Minimum Height: 24″ - Stove Top
DO NOT
- End the venting system in an enclosed area indoors.
- Use plastic vent.
- Use no more than three 90° elbows.
- Install 2 elbows together.
- Install the range hood outside of the recommended height.
- Reduce the duct size below the recommended size.
Venting System Setup:
- This Range Hood is 6″ top venting through the roof or wall.
Top Venting Roof Exhaust Top Venting Wall Exhaust

- Roof Cap
- Wood Hood
- Range Hood
- Stove Top
- Side Wall Cap
IMPORTANT:
- NEVER exhaust air or terminate duct work into spaces between walls, crawl spaces, ceiling, attics or garages. All exhaust must be ducted to the outside.
- Use metal/aluminum duct work only.
- Fasten all connections with sheet metal screws and tape all joints with certified dud tape or equivalent. Use caulking to seal exterior wall or roof opening around the cap.
Horizontal Wall Venting
Option 1: Option 2:
- Side Wall Cap
Vertical Roof Venting
- Roof Cap
Charcoal Filter Installation
NOTE:
1. Remove baffle filters from the hood. Position the charcoal filters onto the side of the motor, aligning the mounting points, turn until it locks. Re- install baffle filters.
2. Charcoal filters must be replaced after 120 hours of use (or approximately every 2 to 3 months based on the average of 1 to 2 hours of daily cooking time). Visit www.hauslane.com to shop CFI0 10 Charcoal Filters.
Electrical Requirements
IMPORTANT!
Observe all governing codes and ordinances.
It is the customer’s responsibility:
- To contact a qualified electrical installer;
- To ensure that the electrical installation is in compliance with applicable codes and standards.
Electrical Requirements:
- A 120V, 60Hz., AC only, 15A fused electrical circuit is required.
- Wire sizes and connections must conform with the power rating of the range hood and all applicable codes and standards.
- DO NOT have a fuse in the neutral or ground circuit.
- The 3-prong outlet should be grounded. If the power cord plug is not used, the power cord’s green wire should be connected to ground. Check with a qualified electrician if you are not sure that the range hood is properly grounded.
- DO NOT ground to a gas pipe.
- The range hood must be connected with copper wire/plug only.
- The range hood should be connected directly to the fused disconnect box (or circuit breaker) through flexible armored or non-metallic sheathed copper cable. ETL or UL listed strain relief must be provided at each end of the power supply cable.

WARNING
Hazard of electrical shock!
Do not perform service on an electrically live system. Disconnect the main electrical supply before servicing this device. Touching electrical connectors or other exposed electrical circuitry inside this range hood when they are energized could result in death, serious bodily injury, or property damage.
Preparation
NOTE: To avoid damage to your hood, prevent debris from entering the vent opening.
- Determine and mark the center line on the wall where the range hood will be installed. Make sure there is proper clearance within the ceiling or wall for exhaust vent.
- Due to the weight and size of this unit, please make sure that the support system or framework being used is stable and secure in the wall or ceiling.
- Put a thick, protective covering over counter top, cook top or range to protect from damage or dirt. Remove any hazardous objects around the area when installing.
- Mark the locations of the support mounting bracket holes, ducting cutout (if used) and power supply cable cutout on the wall or ceiling behind the chimney covers. Use drill and saber saw or keyhole saw to cut openings for power supply cable and ducting (see Venting Requirements and Electrical Requirements, Pages 5-7).
- If venting to the outside install vent system (see Venting Methods, Page 6). Use caulking to seal exterior wall or roof openings.
- Disconnect main electrical supply, prepare and run electrical wiring through ceiling or wall. Install a power outlet within reaching distance of the range hood assembly. DO NOT restore power until installation is complete.
- Gently push the baffle filter back and pull down from the front. Place baffle filters aside while installing the range hood.
- Assemble the duct adapter onto the range hood body. Place the duct adapter gasket into the hollow perimeter of the rectangular side of the duct adapter; place the rectangular side of the duct adapter over the range hood duct, aligning the screw holes; fasten the duct adapter onto the range hood body using the supplied hardware: “D” screws.

Stainless Steel Baffle Filter Step 1 Step 2
WARNING
Severe Injury
Rotating fan can cause severe injury Stay clear of fan when power is present.
Installation Overview
(A)
(C)
Qty: 6 PCS (For dry wall or sheet rock only) Qty: 4 PCS
(B)
Qty: 6 PCS

- Upper Chimney Mounting Bracket
- Upper Chimney
- Duct work and electric wiring region
- Lower Chimney
- 6″ Round Duct (exhaust)
- Motor Housing
- Electric Circuit Box
- Wall Mount Range Hood
Note: Type “A” anchors are designed for for dry wall or sheet rock. Not to be used with any other types of walls.
Installation
1. Confirm where you want your range hood installed:
Confirm your centerline and side measurements of each piece of hardware. Measure the distance between stove top and the boom of range hood and confirm a *recommended distance of 24″ to 30″.
*Due to different ceiling height configurations, recommended height may not be applicable. Use removable tape, pencil or erasable marker to mark your ideal installation.
2. Mark the mounting locations for the range hood body:
Make sure the range hood is level, not tilted, and not colliding against other objects.

WARNING
Hazard of electrical shock!
Do not perform service on an electrically live system. Disconnect the main electrical supply before servicing this device. Touching electrical connectors or other exposed electrical circuitry inside this range hood when they are energized could result in death, serious bodily injury, or property damage.
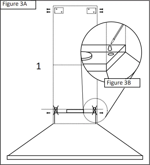
3. Mark the locations of the keyhole shaped hanging bracket holes onto the wall as shown in Figure 3A and Figure 3B.
4. Mark the mounting locations for the upper chimney mounting bracket:
Inspect how this bracket installs into the upper chimney cover. Use that as reference to where you want your upper chimney installed and where the bracket should be installed onto your wall.
5. Place the mounting bracket squarely above the range hood, level it and mark the locations of the mounting bracket holes on the wall.
6. Safely place aside all equipment and review all marked regions and drill holes. Review fastening hardware to be used. Recommended for your type of wall:
Sheet rock, drywall or wood walls where the structural studs or solid structural support are accessible: screw directly into the structural studs or structural support, with hardware that meets are exceeds the factory hardware, with at least 1” of thread engagement.
Sheet rock, drywall or wood walls where the structural studs or solid structural support are not accessible: Affixing the range hood to into structural studs is highly recommended. If stud blockings are not available, it is recommended to build a support structure behind the sheet rock for the best weight support. If wall anchors are used, ensure their hanging capacity exceeds the weight of the range hood, hardware, and estimated usage load.
Concrete wall: Use designated concrete screws and/or anchors (not provided) that meet or exceed the factory hardware specifications. Ensure proper load ratings. Follow instructions of concrete screw manufacture. Install the range hood body (if using factory hardware):
7. Fasten (2) two Type “A” anchors flush into the wall (as shown in Figure 4) over your previously marked locations for mounting the range hood body. Loosely fasten (2) two Type “B” screws into the anchors.
DO NOT fasten screws all the way down. Leave approximately 3/32″ of gap from the wall to the screw head. Hang the range hood body onto the Type “B” screws.


- Secure upper support frame

8. Ensure the range hood is level and then fasten the screws completely.
Note: for wall mounted range hoods (not island mounted), the rear panel of the range hood body (against the installation wall) is plain sheet metal and can be drilled and screwed into the wall for additional stabilization. DO NOT drill into or screw through any wires, any wire harnesses, or any critical fixtures.
9. Install the upper chimney mounting bracket (if using factory hardware):
Reference steps “6” & “7” to complete this step “9”, at the locations previously marked in step “3.”
10. Install the flexible duct tube:
First, install the flexible duct tube onto your household ducting and then extend the ducting downward, allowing about 6 inches of extra ducting.
Then, cut off excess ducting. Install the ducting onto the range hood (body) duct adapter. Use certified ducting tape or fastening devices.
11. Install power plug:
Plug in the power cord into your power socket.
DO NOT turn on main power supply until installation is complete. If a function test is desired (should be done before starting installation)
Clear workspace and ensure workspace is safe. Then temporarily supply power to unit and test functions. Please ensure to completely SHUT OFF POWER SUPPLY after testing and before continuing installation.

- BACK SUPPORT
- DRYWALL

- Fasten mounting bracket
- Slide up and secure upper chimney to mounting bracket
- Hold in position and secure lower chimney to range hood
12. Install the upper chimney cover:
Having the installation hardware readily available, align the upper chimney cover with the pre- installed (upper chimney) mounting bracket and then screw the hardware through the chimney into the mounting bracket. Remove any finish protection wrapping.
To avoid any scratching, install one chimney piece at a time, starting with the upper chimney. Ensure the chimney pieces are fully fastened before moving onto any other step.
13. Install the lower chimney cover:
Confirm the orientation of the lower chimney cover. Pull, stretch or flex the rear opening of the chimney so it is temporarily larger than the upper chimney cover. Carefully install or wrap the lower chimney over the upper chimney cover and range hood body.
Screw in the mounting hardware through the lower chimney cover into the range hood body. Remove any finish protection wrapping.
14. Install remaining accessories and operation check:
Install aluminum filters (or optional stainless steel baffle filters) then check the operation of the range hood.
Remove any other finish protection wrapping. Use stainless steel cleaner to remove any finger prints or marks.


How to Use Your Range Hood
Now that your range hood is installed, it’s time to learn how to use it. It is very simple to use and is operated entirely using the front control panel.

1 & 4. Power Off & Delay On/Off
2. Speed Indicators
3. Lights On/Off
EASY ACCESS KNOB CONTROL
CAUTION: For halogen lamps never touch bulbs during operation; they can get very hot.
- Power Off
- Turn On fan
• Press
twice for Max Speed - On/Off Lights
- Delay Function: Press and hold the power button for 3 seconds to activate the Delay Function, the power button will blink for the 5 minute preset time.
Troubleshooting
Before Calling for Service
Issue | Possible Cause / Solution |
| The range hood doesn’t turn on |
|
| The range hood turns on but the light doesn’t |
|
| The range hood vibrates when the blower is on |
|
| The blower or fan seems weak |
|
| The lights work but the blower is not spinning at all or is rattling |
|
| The hood is not venting out properly |
|
Range Hood Care
Cleaning
WARNING
- To reduce the risk of electrical shock, DO NOT clean the hood while it’s operating.
- Never put your hands into the area housing the fan when the fan is operating.
Cleaning the Exterior Surfaces:
IMPORTANT
To avoid damage to the exterior surfaces:
- DO NOT use corrosive or abrasive detergent.
- DO NOT use steel wool, scoring pad or steel brushes. Use a paper towel or soft cloth or nonabrasive sponge instead.
- DO NOT use salt solutions, disinfectants, bleaches or cleaning compound that contains harmful chemicals.
Cleaning Method:
- Noncorrosive or nonabrasive liquid detergent soap or all-purpose liquid cleanser.
- Wipe the surfaces with a damp paper towel or soft cloth or nonabrasive sponge.
- Rinse with clean water.
- Wipe dry with dry towel or cloth.
Note
- The nonabrasive stainless steel polisher can be applied when done cleaning to retain the stainless luster and grain.
- Always follow the instruction of the polisher.
Cleaning the Stainless Steel Baffle Filters:
- Wash the filters in the dishwasher, or soak it into hot or warm water with dish detergent for half an hour, then wipe the filter clean. Repeat these steps until there’s no oil residue remains.
- Let the filters dry thoroughly.
Replacing the Filters:
- Replace the baffle filters immediately should they become worn out due to aging or prolonged usage.
Replacing the Lamps:
WARNING
Electrical Shock Hazard
Disconnect power before servicing
Wear gloves to protect against sharp edges
- This range hood uses 120V, GU10, 3W LED light bulbs.
- Switch off power and allow 5 minutes for the lights to cool down.
- Remove the light bulb by turning to the left
- Replace with a new light bulb by aligning the base with the range hood socket and turning it to the right until the light bulb is locked in position.
- Check if the new Lamp is working properly.
Warranty Information
This range hood is warranted to the original purchaser to be free of defects in material and workmanship for two (2) years from the date of purchase.
Our obligation shall be limited to the repair or replacement of a unit (at our discretion) that may prove, by our sole examination, to be defective under normal use and service during the warranty period. We may issue credit in the amount of the invoice value of the defective product (or a percentage of it according to use) in lieu of repair or replacement. Any failure of this product that is not traceable to a defect in material or workmanship is not covered by this warranty. These non-warrantable items include, but are not limited to:
- Any defects or damage to light bulbs
- Change in color or finish due to chemical usage
- Improper installation not in accordance with the instructions
- Dents, bumps, and scratches incurred during shipping, handling, or installation
- Damage caused by failure to follow care and cleaning guidelines, including damage caused by the use of abrasive cleaners
- Alterations made to the unit by the purchaser or installer
- Damage caused by accidental impact, fire, flood, freezing, and normal wear
- Bends and warping caused by forced connections, over tightened fittings, and inadequate support during installation
A thorough inspection must be made before installation and any damage must be promptly reported. We will not be liable for failures or damage that could have been discovered or avoided by proper inspection and testing prior to installation. Incidental repairs that would involve a minimum of time and effort on behalf of the purchaser will not be considered warranty work and no compensation will be deemed forth coming.
This warranty is non-transferable and shall be voided if the unit is removed from its initial installation or if it is not installed following the instructions.
Under no circumstance shall we be held liable for personal injury or property damage resulting from improper installation or use of this product. We will not be held liable for inconvenience caused by loss of use of this product, costs incurred for labor or materials, removal and installation of replacement units, or any other incidental or consequential damages. Costs relating to obtaining access for repair or replacement are the responsibility of the user.
This warranty does not extend to commercial and institutional installation or use.
Warranty Claim Procedure
If a claimable defect occurs, please contact our customer service team at 1-800-929-0168 (8 a.m. – 5 p.m., PST, Monday – Friday). or email us at [email protected]
Before you make your claim call, please ensure that you have:
- Description of the range hood
- Proof of sale
- Details regarding the defect
- Name(s) and address(es) of the owner and installer
Claims must be filled out in writing and returned within six (6) months of the appearance of a defect. Failure to comply with this stipulation will make this warranty null and void. We reserve the right to a thirty-day (30) delay following the receipt of a claim in which to inspect the product. We assume no responsibility for labor costs, removing or replacing a previously installed product, transportation, or the return of a product
CALIFORNIA RESIDENTS ONLY
WARNING:
Cancer and Reproductive Harm
www.P65Warnings.ca.gov
Contact Hauslane
Extended Warranties
If you are interested in an extended warranty, sign up on our website at www.hauslane.com
Parts and Accessories
If you need replacement parts or accessories, visit www.hauslane.com
Contact Us
We’d be happy to answer your questions or resolve any issues you may have.
Phone: 1-800-929-0168
Email: [email protected]
![]()
Find Us and Connect with Us
@HauslaneOfficial
WM-730 USER MANUAL

















