FORNO FRHWM5010-30 Wall Mount Range Hood

IMPORTANT
Read and save these instructions
NOTICE
- Installer: Leave this guide with the homeowner
- Homeowner: Keep this guide for future reference
Customer Care
Thank you for purchasing a FORNO product. Please read the entire instruction manual before operating your new appliance for the first time. Whether you are an occasional user or an expert, it will be beneficial to familiarize yourself with the safety practices, features, operation and care recommendations of your appliance. Both the model and serial number are listed inside the product. For warranty purposes, you will also need the date of purchase. Record this information below for future reference.
SERVICE INFORMATION
- Model Number: Use these numbers in any correspondence or service calls concerning your appliance.
- Serial Number:
If you received a damaged appliance, immediately contact the dealer (or builder) that sold you the appliance - Date of Purchase
- Purchase Address & Phone: Save time and money. Before you call for service, check the Troubleshooting Guide. It ists the causes of minor operating problems that you can correct yourself
SERVICE IN THE UNITED STATES AND CANADA
Keep the instruction manual handy to answer your questions. If you don’t understand something or you need more assistance, please call our Customer Service: 1-866-231-8893 opt. 2 ext. 214 Or email: [email protected] Digital instruction manual can be downloaded from www.forno.ca If your appliance ever requires servicing, be sure to use a FORNO Factory Certified Service provider recommended by our customer care center. All Factory Certified Service providers are carefully selected and thoroughly trained by us.
Dear Customer,
If you follow the recommendations contained in this Instruction Manual, our appliance will give you constant high performance and will remain efficient for many years to come. We declines all responsibility in the event of failure to observe the instructions given here for installation, maintenance and suitable use of the product. We further declines all responsibility for injury due to negligence and the warranty of the unit automatically expires due to improper maintenance.
Product Specification & Technical Parameters

RECOMMENDATIONS AND SUGGESTIONS
CAUTION
TO REDUCE THE RISK OF FIRE, ELECTRIC SHOCK OR INJURE TO PERSONS, PLEASE OBSERVE THE FOLLOWINGS:
- Installation work and electric wiring (including switch location) must be done by the qualified person(s) in accordance with local applicable codes and standards, including fire-rated construction.
- The hood may have sharp edges. Be careful when handling to avoid cuts and abrasions during installation and cleaning.
- The hood must be placed at a minimum distance of 25″ from the electric cooktop and 30″ from gas cooktop.
- Provide sufficient ventilation for proper combustion and exhausting of gases through the chimney to prevent backdrafting. Follow the equipment manufacturer’s guideline and safety standards such as those published by the National Fire Protection Association, and the American Society for Heating, Refrigeration and Air Conditioning Engineer (ASHRAE), and the local code authorities.
- Hood must always be vented to the outdoors.
- Do not vent exhaust air into spaces within walls or ceilings or into atticS, crawl spaces, or garages
- This appliance is design to be operated by adults. Children were not allowed to temper with the controls or play with this appliance.
- To reduce the risk of fire or electric shock, do not use this fan with any solid-state speed control device.
- When cutting or drilling into wall or ceiling, do not damage electrical wiring and other hidden utilities.
- Before servicing or cleaning the hood, switch power off at service panel and lock the service disconnecting means to prevent power from being switched on accidentally. When the service disconnecting means cannot be locked, securely fasten a prominent waming device, such as a tag, to the service panel.
TO REDUCE THE RISK OF A RANGE TOP GREASE FIRE:
- Never leave surface units unattended at high settings. Boilovers cause smoking and greasy spillovers that may ignite. Heat oils slowly on low or medium settings.
- Always turn hood ON when cooking at high heat or when flambeing food (i.e. Crepes Suzette, Cherries Jubilee, Peppercorn Beef Flambe).
- Clean hood frequently. Grease should not be allowed to accumulate on fan or filte.
- Use proper pan size. Always use cookware appropriate for the size of the surface element.
CHARACTERISTICS
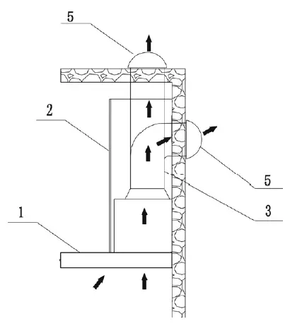
WALL MOUNT Range Hood is designed for designer’s kitchen with the range hood install directly above cooking appliances against a wal. This hood is a highlight and show piece in your kitchen and at the same time provide you with the benefit of extracting the grease and smoke from your cooking. Please refer to the instruction below
INSTALLATION & USE
NOTE: remove protective film (if any) from the exterior surfaces of the hood carefully prior to final installation.
DESCRIPTION/CONNECTION
This range hood should be mounted directly to the support frame mounting, where the support frame flue shall secure to the ceiling joist or framework.
- Ductwork can be installed vertically or horizontally.
- Duct runs should be as short as possible.
- Avoid the use of elbows.
- Use duct tape at all joints.
- Do not use duct smaller than the discharge on the ho0d.
LOCATION PREPARATION
The installation in this manual is intended for qualified installers, service technicians or persons with similar qualified backgrounds. DO NOT attempt to install this appliance yourself. Injury could result from installing the unit due to lack of appropriate electrical and technical background. All electrical wiring must be properly installed, insulated and grounded. Overly accumulated grease in old duct work should be cleaned out or duct work should be replaced if necessary to avoid the possibility of a grease fire. Check all joints on duct work to insure proper connection and all joints should be properly taped.
- Note 1 : On stainless steel hoods, carefully remove the plastic protective film from all exterior surfaces of the hood and chimney prior to final installation.
- Note 2: At least two people will be required to mount the hood.
MOUNT HEIGHTS & CLEARANCE

The minimum mount height between the range top to hood bottom should be no less than 25″ Maximum mount height should be no higher than 30″ It is important to install the hood at the proper mounting height. Hoods mounted too low could result in heat damage and fire hazard; while hoods mounted too high will be hard to reach and will lose its performance and efficiency. If available, also refer range manufacturer’s height clearance requirements and recommended hood mounting height above range. Maximum ceiling clearance 106.5″ at 27.5″ hood mounting height from stove (different models may varies) For higher ceiling, an extension of the chimney and the decorative cover is available to purchase if required.
Ducting (not provided)
NEVER exhaust air or terminate duct work into spaces between walls, crawl spaces, ceilings, attics or garages. All exhaust must be ducted to the outside. Use Metal ductwork only. Fasten all connections with sheet metal screws and tape all joints w/ certified Silver Tape or Duct Tape.
Duct Run Calculation

- e.g. -1 roof cap, 2×90 elbows, 1×45 elbow roof cap, 2×90 elbow, 1×45 elbow
- 30′ +30’+9=69′ used, 31′ available for straight duct runs
DUCT SIZE
A minimum of 6 round ducts must be used to maintain maximum airflow efficiency. Flexible ducts are provided for convenience, always use rigid-type metal ducts if available to maximizing airflow. Also use calculation (on left) to compute total available duct run when using elbows, transitions and caps. ALWAYS, when possible, reduce the number or transitions and turns. If required a long duct increase duct size from 6″ to 7 or 8″. If a reducer is used, install a long reducer instead of a pancake reducer. Reduce duct size as far away from the opening as possible. If turns or transitions are required: Install as far away from the opening and as far apart, between 2, as possible.
MOUNTING THE RANGE HOOD
Note 1:On stainless steel hoods, carefully remove the plastic protective film from all exterior surfaces of the hood and chimney prior to final installation.
Note 2: At least two people will be required to mount the hood.
WALL DRILLING AND BRACKET FIXING
- Draw a vertical line on the supporting wall up to the ceiling, or as high as practical, at the centre of the area in which the hood will be installed.
- Drawa horizontal line at desired height (min 25″ above the electric hob or 30″ above the gas hob).
- Place chimney mounting brackets on the wall 1/8″ from the ceiling or upper limit aligning the centre with the vertical reference line.
- Mark the wall at the centre of the holes in the bracket.
- Place the hood on the wall with the center to the vertical reference line and make sure the bottom part of the hood align with the horizontal line.
- Mark the wall at the centre of the holes in the hood Fix the bracket and hood using the mounting screws.
MOUNTING THE HOOD BODY
- Hook the body onto the screws in the wall
- Balance the hood body by slightly adjusting the hood mounting screws
DAMPER (FLAPS) FIXING
- Fix the damper (flaps) into the air outlet adapter.
- To be sure that the damper (flaps) is locked well on the air outlet adapter, it should be flexible in opening and closing.
DUCT FIXING
Caution: To reduce the risk of fire, use metal ductwork only.
- Attach an adequate length of o 6″ round duct into the recessed area of the air outlet adapter.
- Secure the duct connected with the air outlet adapter by using duct tape to seal the joints
CONNECTIONS

Ducted mode air exhaust system
Caution: To reduce the risk of fire, use metal ductwork is preferred.
- Decide where the ductwork will run between the hood and the outside.
- A straight, shot duct run will allow the hood to perform most efficiently.
- Long duct runs, elbows, and transitions will reduce the performance of the hood. Use as few of them as possible. Larger ducting may be required for best performance with longer duct runs.
- Attach an adequate length of p 6″ round duct to the air outlet adapter.
- The air must not be discharge into a flue that is used for exhausting fumes from appliances burning gas or other fuels” “Regulations concerning the discharge of air have to be fulfilled.
- Install a roof/wall cap. Connect round metal ductwork to cap and work back towards hood location. Use duct tape to seal the joints between ductwork sections.
Recirculation Mode(customer need buy charcoal filter separately)
Caution: Do not use plastic or rigid metal ducting.
- Install charcoal filter on the two side of motor.

- Please note that the air will flow out from the two grids on the sides of the decorative chimney top.
Electrical Connection
- Electrical wiring must be done by a qualified person(s) in accordance with all applicable codes and standards.
- Turn off electrical power at service entrance before wiring.
- If the supply cord is damaged, it must be replaced by the manufacturer, its service agent or similarly qualified persons in order to avoid a hazard.
- Do not use the plug and an extension cord other than the ones initially supplied with the hood.
- The grounding of this hood is compulsory. Do not remove ground prong of the plug.
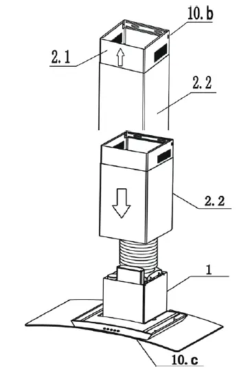
TELESCOPIC CHIMNEY COMPRISING ASSEMBLY
- Decorative Chimney Top
- Raise the decorative chimney top up inside the decorative chimney bottom Secure decorative chimney top to the chimney mounting bracket that is well fixed on the wall with the two chimney bracket screws supplied from two sides.

Decorative Chimney Bottom
Carefully slide the decorative chimney bottom 2.2 down outside the decorative chimney top 2.1. Carefully place the decorative chimney bottom 2.2 into the recessed area of the hood body top.
OPERATIONS

Power button When range hood is running.Press the Power button and enter the Power-off Delay function, range hood will turn off automatically after 3 minutes- decrease Speeds
- Increase Speeds
- Turn on/off the lamp
MAINTENANCE &CLEANING
Surface Maintenance:
Clean periodically with hot soapy water and clean cotton cloth. Do not use corosive or abrasive detergent (e.g. comet powder scrub, EZ-Off oven cleaner), or steel wool/scoring pads which will scratch and damage surtace. For heavier soil use liquid degreaser such as ‘Formula 409 or ‘Fantastic’ brand cleaner. After cleaning, you may use non abrasive stainless steel polish/cleaners such as 3M or ZEP, to polish and buff out the stainless luster and grain. Always scrub lightly, with clean cotton cloth, and with the grain
Stainless Steel Hybrid Filters:
The Filters fitted by the factory are intended to filter out residue and grease from cooking. It need not be replaced on a regular basis but are required to be kept clean. Filters should be cleaned after every 30 hours of use. Remove and clean by hand in a basin of hot soapy water. The fiter is also dishwasher-safe. If heavily soiled, spray ‘Formula 409 or equivalent degreasing detergent and leave to soak. Dry filters and re-install before using hood.
Hood Cleaning
The saturation of greasy residue in the blower and filters may cause increased inflammability. Keep unit clean and free of grease and residue build-up at all times to prevent possible fires. Filters must be cleaned periodically and free from the accumulation of cooking residue (see cleaning instructions inside). Old and worn frilters must be replaced immediately. Do not operate blowers when filters are removed. Never disassemble parts to clean without proper instructions. Disassembly is recommended to be performed by qualified personnel only. Call our service center for removal instructions. Stainless steel is one of the easiest materials to keep clean. Occasional care will help preserve its fine appearance.
Cleaning tips:
Hot water with soap or detergent is all that is usually needed.
Rinse with clear water. Wipe dry with a clean, soft cloth to avoid water marks.
For discolorations or deposits that persist, use a non-scratching household cleanser or stainless steel
polishing powder with a little amount of water and a soft cloth.
- For stubborn stain, use a plastic scouring pad or soft bristle brush together with cleanser and water. Rub lightly in direction of polishing lines or “grain” of the stainless finish. Avoid using too much pressure that may mar the surface. Do not allow deposits to remain for long periods of time
- Do not use ordinary steel wool or steel brushes. Small bits of steel may adhere to thee surface causing rust. Do not allow salt solutions, disinfectants, bleaches, or cleaning compounds to remain in contact with stainless steel for extended periods. Many of these compounds contain chemicals that may be harmful. Rinse with water after exposure and wipe dry with a clean cloth. Painted surfaces should be cleaned with warm water and mild detergent only.
LIGHT bulbs
WARNING: Please ensure lights have been switched off for some time and the power source has been disconnected before replacing any globes. Please be aware that the light will retain hear for a short period of time after being switched of.
- Step 1: Tum anti-clockwise to open
- Step 2: Take the existing globe out
- Step 3: Insert a new globe (GU10 Fitting) and turn clockwise in lock position
WARNING: This product can expose you to chemicals including |Lead, Lead and lead compounds ], which is [are] known to the State of California to cause cancer and birth defects or other reproductive harm. For more information go to www.P65Warnings.ca.gov.




















