Thermador HMWB30WS Low-Profile Wall Hood

Safety
Definitions
WARNING
This indicates that death or serious injuries may occur as a result of non-observance of this warning.
CAUTION
This indicates that minor or moderate injuries may occur as a result of non-observance of this warning.
NOTICE: This indicates that damage to the appliance or property may occur as a result of non-compliance with this advisory.
Note: This alerts you to important information and/or tips.
IMPORTANT SAFETY INSTRUCTIONS
READ AND SAVE THESE INSTRUCTIONS
INSTALLER: Save these instructions for the local electrical inspector’s use. Please leave these instructions with this unit for the owner. Show the owner the location of the circuit breaker or fuse. Mark it for easy reference.
OWNER: Please retain these instructions for future reference.
WARNING
If the information in this manual is not followed exactly, ire or shock may result causing property damage or personal injury.
WARNING
If the information in this manual is not followed exactly, ire or shock may result causing property damage, personal injury or death.
- DO NOT store or use gasoline or other lammable vapors and liquids in the vicinity of this or any other apppliance.
- WHAT TO DO IF YOU SMELL GAS
- DO NOT try to light any appliance.
- DO NOT touch any electrical switch.
- DO NOT use any phone in your building.
- Immediately call your gas supplier from a neighbor’s phone. Follow the gas supplier’s instructions.
- If you cannot reach your gas supplier, call the ire department.
- Installation and service must be performed by an authorized servicer, service agency or the gas supplier.
WARNING
Turn off power circuit at service panel and lock out panel before wiring this appliance. Requirement: 120 VAC, 60 Hz 15 A. Allow the appliance to cool after the power has been turned off before servicing the appliance.
WARNING
Automatically Operated Device To reduce the risk of injury disconnect from power supply before servicing.
WARNING
TO REDUCE THE RISK OF FIRE, ELECTRIC SHOCK, OR INJURY TO PERSONS, OBSERVE THE FOLLOWING:
- Use this unit only in the manner intended by the manufacturer. If you have questions, contact the manufacturer at the address or telephone number listed on the back page.
- Before servicing or cleaning unit, switch power off at service panel and lock the service disconnecting means to prevent power from being switched on accidentally. When the service disconnecting means cannot be locked, securely fasten a prominent warning device, such as a tag, to the service panel.
WARNING
DO NOT repair or replace any part of the appliance unless specifically recommended in the manuals.
Improper installation, service or maintenance can cause injury or property damage. Refer to this manual for guidance. All other servicing should be done by an authorized servicer.
WARNING
ELECTRICAL SHOCK HAZARD
- DO NOT remove connections.
- DO NOT use an extension cord.
- Failure to follow these instructions can result in death, ire, or electrical shock.
Grounding Instructions
WARNING
Improper grounding can result in a risk of electric shock.
This appliance must be grounded. In the event of an electrical short circuit, grounding reduces the risk of electric shock by providing an escape wire for the electric current.
Be sure your appliance is properly installed and grounded by a qualified technician. Installation, electrical connections and grounding must comply with all applicable codes. If required by the National Electrical Code (or Canadian Electrical Code), this appliance must be installed on a separate branch circuit.
WARNING
To reduce the risk of ire or electrical shock, DO NOT use this appliance with any solid state speed device.
Safety Codes and Standards
This appliance complies with one or more of the following Standards:
- UL 507, The Standard for the Safety of Electric Fans
- CSA C22.2 No. 113, Fans and Ventilators
It is the responsibility of the owner and the installer to determine if additional requirements and/or standards apply to specific installations.
CAUTION
Unit is heavy and requires at least two people or proper equipment to move and install.
Hidden surfaces may have sharp edges. Use caution when handling the appliance. Failure to do so may result in property damage or personal injury
Never modify or alter the construction of the appliance. For example, do not remove panels, wire covers or brackets/screws.
CAUTION
For general ventilating use only. DO NOT use to exhaust hazardous or explosive materials and vapors.
WARNING
To reduce the risk of ire, use only metal ductwork.
Use a qualified installer.
Remove all tape and packaging before using the appliance. Destroy the packaging after install. Never allow children to play with packaging material.
WARNING
TO REDUCE THE RISK OF FIRE, ELECTRIC SHOCK, OR INJURY TO PERSONS, OBSERVE THE FOLLOWING:
- Installation work and electrical wiring must be done by qualified person(s) in accordance with all applicable codes and standards, including ire-related construction.
- Suficient air is needed for proper combustion and exhausting of gases through the lue (chimney) of fuel burning equipment to prevent back drafting. Follow the heating equipment manufacturer’s guideline and safety standards such as those published by the National Fire Protection Association (NFPA), and the American Society for Heating, Refrigeration and Air Conditioning Engineers (ASHRAE), and the local code authorities.
- When cutting or drilling into wall or ceiling, do not damage electrical wiring and other hidden utilities.
- Ducted fans must always be vented to the outdoors.
WARNING
TO REDUCE THE RISK OF A RANGE TOP GREASE FIRE:
- Never leave surface units unattended at high settings. Boil overs cause smoking and greasy spillovers that may ignite. Heat oils slowly on low or medium settings.
- Always turn hood ON when cooking at high heat or when cooking lambéing food (i.e. Crepes Suzette, Cherries Jubilee, Peppercorn Beef Flambe).
- Clean ventilating fans frequently. Grease should not be allowed to accumulate on fan or filter.
- Use proper pan size. Always use cookware appropriate for the size of the surface element.
WARNING
TO REDUCE THE RISK OF INJURY TO PERSONS IN THE EVENT OF A RANGE TOP GREASE FIRE, OBSERVE THE FOLLOWING
- SMOTHER FLAMES with a close fitting lid, cookie sheet, or metal tray, then turn off the burner. BE CAREFUL TO PREVENT BURNS. If the lames do not go out immediately, EVACUATE AND CALL THE FIRE DEPARTMENT.
- NEVER PICK UP A FLAMING PAN – you may get burned.
- DO NOT USE WATER, including wet dishcloths or towels – a violent steam explosion will result.
- Use an extinguisher ONLY if:
a) You know you have a class ABC extinguisher, and you already know how to operate it.
b) The ire is small and contained in the area where it started.
c) The ire department is being called.
d) You can ight the ire with your back to an exit.
Based on “Kitchen Fire Safety Tips” published by NFPA.
Proposition 65 Warning:
This product may contain a chemical known to the State of California, which can cause cancer or reproductive harm.
Therefore, the packaging of your product may bear the following label as required by California:
Advance Planning
Before You Begin
CAUTION
Before installing, turn power OFF at the service panel.
Lock service panel to prevent power from being turned ON accidentally.
Parts Included
- Hood assembly (lamps and blower already installed)

- 10” Metal transition with backdraft damper

- Grease filters

- Fastener assortment*

* Hardware provided is for mounting through standard thickness drywall or plaster into wood studs. Installers are responsible to provide hardware for other types of mounting situations.
Tools and Parts Needed
- Ducting as needed (refer to Equivalent Duct Lengths for Commonly Used Transitions Table)
- Aluminum tape (DO NOT use duct tape)
- 1/2’’ (13 mm) Conduit if required (follow local codes)
- 1’’ (25.4 mm) Strain relief
- Ducting as needed
- Blower
- Flat head and Phillips screwdrivers
- Drill with 3/16’’ (4.76 mm) drill bit
- Circular saw or jigsaw
- 3/8’’ (9.52 mm) nut driver or socket and ratchet
- Wire stripper
- Protective work gloves
IMPORTANT: DO NOT throw away any packaging until appliance is fully installed.
Optional accessories available for separate purchase.
Refer to www.thermador.com for more details.
- DCT3016W – 16” tall Duct Cover Kit 30”
- DCT3616W – 16” tall Duct Cover Kit 36”
- DCT4816W – 16” tall Duct Cover Kit 48”
- DC30MTW – Telescopic Duct Cover Extension Kit 30”
- DC36MTW – Telescopic Duct Cover Extension Kit 36”
- DC48MTW – Telescopic Duct Cover Extension Kit 48”
- RECHMWB30 – Recirculating Kit 30”
- RECHMWB36 – Recirculating Kit 36”
- 00674939 – Charcoal Filter Replacement Kit
- REMCPW – Built-In Remote Control Accessory
General Information
Overall Dimensions
- HMWB30WS, HMWB361WS, HMWB36WS & HMWB481WS
This model series is 234 ⁄16’’ (590 mm) in depth and feature brushed stainless-steel canopy with LED lights.
inches (mm)
NOTE: Transition is centered horizontally.
Installation Preparation
Installation Considerations
Clearances and requirements
Hood installation height above a cooktop, range top or range can vary. To obtain the necessary installation height above a cooktop, range top or range, consult the appliance’s installation manual.
Hood Width
The hood width should be no less than the width of the cooking surface. For proper performance, the housing must cover the entire cooking surface. Where space is not restricted, a wider hood can be used to increase capture area.
For proper performance, the hood must be centered horizontally above the cooking surface.
Distance From Cooking Surface
For gas cooktop & range installations: Mount the hood so the bottom is at least 30” (76.2 cm) above the cooking surface.
For electric/induction cooktop & range installations: Mount the hood so the bottom is at least 30” (76.2 cm) above the cooking surface.
NOTICE: The hood could incur some damage from heat if a THERMADOR MASTERPIECE® series cooktop is operated with multiple burners at high settings under a hood that is installed at minimum clearances.
Unit Weight
This vent hood is heavy. Adequate structure and support must be provided in all types of installations. When calculating the load for the housing support system, be sure to consider the weight of the ventilation unit.
| Unit | Weight |
| 30’ (76 cm) | 40.3 lb (18.3 kg) |
| 36’ (91 cm) Single blower | 42.5 lb (19.3 kg) |
| 36’ (91 cm) Dual blower | 54.6 lb (24.8 kg) |
| 48’ (122 cm) | 65.9 lb (29.9 kg) |
IMPORTANT:
The supplied weights address only the ventilation unit and blower. Installer must account for weight of any materials of construction when calculating the total dead weight load of installation, including but not limited to: wall, tile, mortar, plaster, brick, finishes, partitions, and other similarly incorporated architectural and structural items. It is the responsibility of the owner and the installer to determine if additional requirements and/or standards apply to specific installations.
Wall Framing
Due to the weight of the hood, make sure the wood mounting bracket is attached to all available wall studs.
Framing must be fastened together and to ceiling joists to provide enough structural strength to support the weight of the hood and internal blower, if applicable. Wall framing should be, at minimum, made of 2”x 4” lumber. Proper structural support is required to accommodate the weight of the hood.
Electrical Requirements
The unit requires a 120V AC, 60Hz. 15A branch circuit. The hood should only be connected to a dedicated circuit (with ground) that has been installed according to relevant regulations.
Check your local building codes for proper method of installation. In the U.S., if there are no applicable local codes, this unit should be installed in accordance with the National Electric Code ANSI/NFPA No. 70, Current Issue. In Canada, installation must be in accordance with the CAN 1- B149.1 and .2 – Installation Codes for Gas Burning Appliances and/ or local codes.
The appliance must be grounded. In the event of an electrical short circuit, grounding reduces the risk of electric shock by providing a wire that allows the electric current to escape.
WARNING
The appliance must be grounded.
Electrical Data on the Data Rating Label
Data, including the model and serial number, is located on the product data rating label inside the appliance, visible after removal of the filter frame.
Ductwork Preparation
Discharge Direction
The exhaust air is discharged upwards through a duct. The hood can be mounted only with a vertical discharge.
Ducting Recommendations
Proper performance is dependent upon proper ducting. Local building codes may require the use of make-up air systems when using ducted ventilation systems greater than specified cubic feet per minute (CFM) of air movement. The specified CFM varies from locale to locale. It is the responsibility of the owner and the installer to determine if additional requirements and/or standards apply to specific installations.
DO NOT USE FLEXIBLE DUCT; it creates back pressure/ air turbulence and reduces performance. Always use metal ductwork.
Always install a metal vent cover where the ductwork exits the house. Hood must be vented to the outside of building only.
COLD WEATHER installations should have an additional backdraft damper installed to minimize backward cold air low and a nonmetallic thermal break to minimize conduction of outside temperatures as part of the ductwork. The damper should be on the cold air side of the thermal break.
The break should be as close as possible to where the ducting enters the heated portion of the house.
MAKE-UP AIR: Local building codes may require the use of make-up air systems when using ducted ventilation systems greater than specified CFM of air movement.
The specified CFM varies from locale to locale. It is the responsibility of the owner and the installer to determine if additional requirements and/or standards apply to specific installations.
For safety reasons, ducting should vent directly outdoors (not into an attic, underneath the house, into the garage or into any enclosed space).
THERMADOR® recommends not exceeding 50 equivalent length (ft) (15.24 m) of duct.
Keep duct runs as short and straight as possible.
Elbows and transitions fittings reduce air low efficiency.
Back to back elbows and “S” turns give very poor delivery
and are not recommended.
A short straight length of duct at the inlet of a remote blower gives the best delivery.
Hoods are supplied with a 10” (254 mm) round transition.
A locally supplied transition is required for other sizes.
Use “Equivalent Duct Lengths for Commonly Used Transitions” on page 11 to compute permissible lengths for duct runs to outdoors.
Equivalent Duct Lengths for Commonly Used Transitions
| Duct Piece | Size (in) | Equivalent Length (ft) |
| 6 | 1.2 |
| 8 | 0.7 | |
| 10 | 0.6 | |
| N/A | 1 |
| N/A | 0.7 |
| 6 | 12 |
| 8 | 6 | |
| 10 | 5 | |
| 6 | 5 |
| 8 | 3 | |
| 10 | 2 | |
| N/A | 5 |
| N/A | 15 |
| N/A | 20 |
| 6 | 1 |
| 8 | 10 | |
| 6 | 10 |
| 6 | 10 | |
| N/A | 15 |
| N/A | 25 |
| N/A | 15 |
| N/A | 25 |
| 6 | 2 |
| 8 | 2 | |
| 10 | 2 | |
| 6 | 2 |
| 8 | 2 |
| 10 | 2 | |
| N/A | 20 |
| N/A | 2 |
NOTE: These commonly used installation parts can be purchased at a local hardware store. Thermador does not manufacture all these parts.
Common Ducting Configurations
- A. 10” round transition
- B. 10” round duct system
- C. Cabinet / Duct cover kit
- D. 90° elbow
- E. Recirculating kit
- F. Installation height:
Gas range MIN: 30” (76.2 cm)
Electric range MIN: 30” (76.2 cm) - RECIRCULATING MODE

- VENTING THROUGH THE WALL

- VENTING THROUGH THE CEILING

NOTE: The figure does not represent all configurations or installation methods. The image is to be used as a guide ONLY.
Venting Methods
This hood is factory set for venting through the roof (vertical discharge) or wall (horizontal discharge). A 10” (254 mm) round duct system is needed for installation (not included).
NOTE: Flexible duct is not recommended. Flexible ductwork creates back pressure and air turbulence that greatly reduce performance.
Vent system can terminate either through the roof or wall.
Always install a metal vent cover where the ductwork exits the house.
For Non-Vented (recirculating) Installations
If it is not possible to vent cooking fumes and vapors to the outside, models HMWB30WS and HMWB36WS can be used in the non-vented (recirculating) version, using the recirculating kit (sold separately). Fumes and vapors are recycled through the grid.
See optional accessories section.
Hood Transition
Vertical Discharge Transition
The hood is shipped ready for vertical discharge.
The transition supplied with the hood connects to standard 10” round duct. The figure shows the transition connected for vertical discharge.
Assembly of the Transition
A minimum height clearance of 4 5 ⁄16’’ (110 mm) is needed above the hood for transition mounting. See “General Information” on page 6 for overall hood dimensions.
- Depending on direction of discharge, align mounting holes at base of transition with the mounting holes on the top of the hood.
- Fasten transition to hood using four (4)1 ⁄4’’ (6 mm) sheet metal screws included with hood.

- Seal connection between transition and hood with aluminum tape. DO NOT use duct tape. Ensure that the connection is completely sealed.

- Remove tape holding damper closed.
- Remove the duct knockouts using a lat blade screwdriver and a small hammer. Take care of sharp edges.

- Install strain relief (not included) into the circular knockout.

Installation Instructions
Installation
Determine installation height
The figure above shows a typical installation of the hood. Accessory 6’’ (152 mm) and/or 12’’ (305 mm) duct covers are available to ill the space between the hood and ceiling for some models (available for purchase separately). For gas cooktop & range installations: Mount the hood so the bottom is at least 30” (76.2 cm) above the cooking surface.
For electric/induction cooktop & range installations: Mount the hood so the bottom is at least 30” (76.2 cm) above the cooking surface.
NOTICE: The hood could incur some damage from heat if a THERMADOR MASTERPIECE® series cooktop is operated with multiple burners at high settings under a hood that is installed at minimum clearances.
Wall installation
- Turn power OFF at the service panel. Lock service panel to prevent power from being turned ON.
- After the hood installation height has been determined, draw a horizontal line at a distance above the cooktop equal to the recommended hood installation height plus 10 4 ⁄16’’ (260 mm). This line is the mounting location of the upper mounting screws.
- Find the centerline of the hood. Draw a vertical line along this centerline up to the horizontal line drawn in Step 2.
- Mark the screw hole locations indicated in the diagram.

30” (76.2 cm) 36” (91.4 cm) 48” (121.9 cm) A 615⁄16” (17.5 cm) 114⁄16” (28.5 cm) 114⁄16” (28.5 cm) B 1013⁄16” (27.5 cm) 1013⁄16” (27.5 cm) 1013⁄16” (27.5 cm) C 1015⁄16” (27.8 cm) 1015⁄16” (27.8 cm) 1015⁄16” (27.8 cm) D 73⁄4” (19.7 cm) 73⁄4” (19.7 cm) 73⁄4” (19.7 cm) E 13⁄16” (2 cm) 13⁄16” (2 cm) 13⁄16” (2 cm) - If drywall is present, cut away enough drywall to expose 2 vertical studs at the indicated holes location. Install two horizontal supports between two wall studs at the bottom and upper mounting holes installation location.
- The horizontal support must be lush with the room side of the studs. Use cleats behind both sides of the support to secure wall studs.
- Reinstall drywall and finish.

- Cut holes at marked locations for duct and electrical wiring.
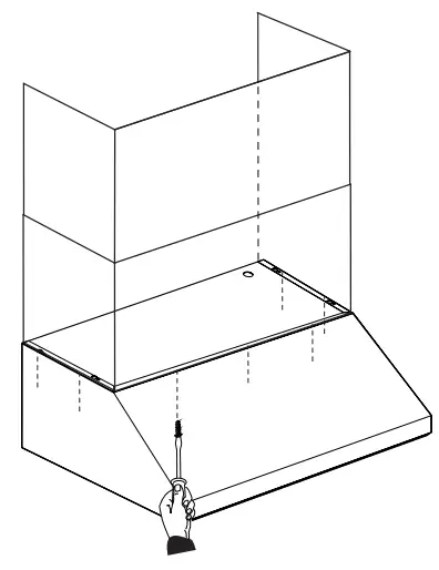
Mounting the hood
- Drive a mounting screw (from the hardware package) partway into each center of the narrow neck of the keyhole slots marked on the wall’s support frame.
- Install the 2 pieces of the selected screws on the mountings screws location (see the image). Leave a 1 ⁄4’’ (6.4 mm) gap between the wall and the back of the screw head to slide range hood into place.

- Fix the wiring conduit of the hood.
- Slide the hood back against the wall. Tighten the mounting screws. Be sure the screw heads are in the narrow neck of the keyhole slot.

- Drive 2 pieces of the selected screws in the lower security screws location (see the image above).
- Connect Ductwork to hood.
Cabinet Installation
Turn power OFF at the service panel. Lock service panel to prevent power from being turned ON.
Cabinet cutouts
- Use the diagram or the hood as a template and mark the locations on the cabinet for ductwork, electrical wiring and keyhole screw slots.

A 54⁄16” (13.3 cm) F 37⁄16” (8.7 cm) B 3⁄4” (1.9 cm) G 11⁄2” (4 cm) C 6⁄16” (1 cm) H 1” (2.54 cm) D 71⁄16” (18 cm) I 3⁄16” (.5 cm) E 29⁄16” (6.5 cm)
For recessed bottom cabinet only
If the cabinets have front, side or back trim, make 2 wood shims the width of the trim and attach them to the cabinet bottom recess on both sides.
NOTE: Your cabinet must be able to support at least 88 lb (40 kg).
- Drive a mounting screw (from the hardware package) partway into each center of the narrow neck of the keyhole slots marked on the cabinet bottom or the wall’s support frame.
- Install 4 – 4 x 8 mm mounting screws on the mountings screws location (see the image). Leave a 1 ⁄4’’ (6.4 mm) gap between the wall and the back of the screw head to slide range hood into place.

- Fix the wiring conduit of the hood.
- Slide the hood back against the cabinet. Tighten the mounting screws. Be sure the screw heads are in the narrow neck of the keyhole slot.

Electrical Connection
WARNING
Electrical Shock Hazard
Disconnect power before servicing.
Replace all parts and panels before operating.
Failure to do so can result in death or electrical shock.
- Disconnect power.
- Remove terminal box cover.
- Remove the knockout in the terminal box cover and install a UL listed or CSA approved 1/2” strain relief.
A. Home power supply cable
B. UL listed or CSA approved strain relief
C. Black wires
D. UL listed wire connectors
E. White wires
F. Green (or bare) and yellow-green ground wires
- Run home power supply cable through strain relief, into terminal box.

- Use UL listed wire connectors and connect black wires (C) together.
- Use UL listed wire connectors and connect white wires (E) together
WARNING
Electrical Shock Hazard
Electrically ground blower.
Connect ground wire to green and yellow ground wire in terminal box. Failure to do so can result in death or electrical shock. - Connect green (or bare) ground wire from home power supply to yellow-green ground wire (F) in terminal box using UL listed wire connectors.
- Tighten strain relief screw.
- Install terminal box cover.
- Reconnect power.
Remote Control Installation (optional)
Before you begin, read these instructions carefully. It is recommended that the Remote Control be wired to the hood after the hood is installed.
REMCPW Parts Included
- 1 – Remote control
- 1 – 30 ft. extension harness
IMPORTANT: Cutting off a connector to the appliance or to the extension cable kit will void the warranty.
Remote Control Installation
- Prepare the wall (or similar surface) cutout for installation as shown below (view is shown facing wall)

- Access the hood’s wiring. Route the 30 ft. extension harness through the strain relief to the square mounting clip until it clicks.

- Route the 30 ft extension harness through the cutout and connect the harness to the back of the remote control bracket.
- Press the bracket inside the cutout. Drill a ¼’’ (6 mm) tap hole through the bracket holes into the wall. Mount the bracket to the wall using the four (4) screws provided.

- Hook up the wire harness connector inside the bracket to the terminal on the back side of the remote control. Use either terminal.

- Snap the Remote Control into the bracket.

Chimney Extension Installation (optional)
On some models, optional duct covers and telescoping extensions may be used to ill the space between the hood and ceiling in wall mount installations. Chimney extensions ill the space between the hood and ceiling of 8’ (2.4 m) ceilings. Telescoping extensions accommodate 12’ (3.6 m) ceilings.
| Model | Duct Cover | Telescopic Extension |
| HMWB30WS | DCT3016W | DC30MTW |
| HMWB361WS | DCT3616W DCT3616W | DC36MTW DC36MTW |
| HMWB36WS | ||
| HMWB481WS | DCT4816W | DC48MTW |
Duct Cover Extension Installation
IMPORTANT NOTE: Secure the Chimney Wall Hood to the wall before installing the Chimney Extension. See “Mounting the Hood” on page 14 before securing the actual Extension.
- Installation of the chimney hood should maintain a minimum height of 30” (762 mm) from the bottom of the hood to the cooking surface. To determine placement of the hood with a Chimney Extension, the height of the chimney extension must be calculated.
- From inside of hood, screw the supplied 5 ⁄8’’ (16 mm) sheet metal screws through the holes on each side and along the front into bottom of the extension, as shown in below. (Screw quantity is dependent on hood size.)

Telescopic Duct Cover Installation
IMPORTANT: Secure the Chimney Hood to the wall after installing the Extension Mounting Bracket, but before installing the Telescoping Chimney Extension. See “Wall Installation” on page 14 before securing the actual Extension.
Securing the Telescoping Chimney Extension Bracket
- Ensure that the minimum height of 30” (762 mm) from the bottom of the hood to the cooking surface will be maintained.
- Locate two studs at the mounting location.

Model A B 30” 12” (305) 30” (762) 36” 12” (305) 36” (914) 48” 12” (305) 48” (1219) - Mount the duct cover bracket on the top of the ceiling using (2) 1½’’ (38 mm) screws (provided). Ensure that the bracket is level.

- Insert the complete duct cover at an angle and swivel toward the wall.

- Carefully pull the top part of the extension upwards. Screw the left and right sides of the extension to the mounting bracket with the supplied stainless screws.

- From inside of hood, screw the supplied 5/8’’ (16 mm) sheet metal screws through the holes on each side and along the front into bottom of the extension. Screw quantity is dependent on hood size.

Recirculating Kit (optional)
When used in recirculation mode, To Reduce the Risk of Fire and Shock use only conversion kit Models RECHMWB30 and RECHMWB36.
| Model | Recirculating Kit |
| HMWB30WS | RECHMWB30 |
| HMWB36WS | RECHMWB36 |
If it is not possible to vent cooking fumes and vapors to the outside, the hood can be used in the non-vented (recirculating) version, using the recirculating kit.
Fumes and vapors are recycled through the round grid.
Before installing the recirculation kit
The Installation of the Recirculation kit affects the installation of the hood, so take into consideration the following steps.
Cabinet or soffit preparation when installing the recirculation kit.
For cabinet or soffit preparation take into consideration that there’s no need to provide cutouts on walls for vertical or rear air discharge, since there is no need to install any Duct.
NOTE: Check that there is enough clearance and that minimum height from the countertop to the bottom of the hood is 30” (76.2 cm).
NOTE: The transition must not be installed, since no ducting is necessary.
Wall Mount Installation
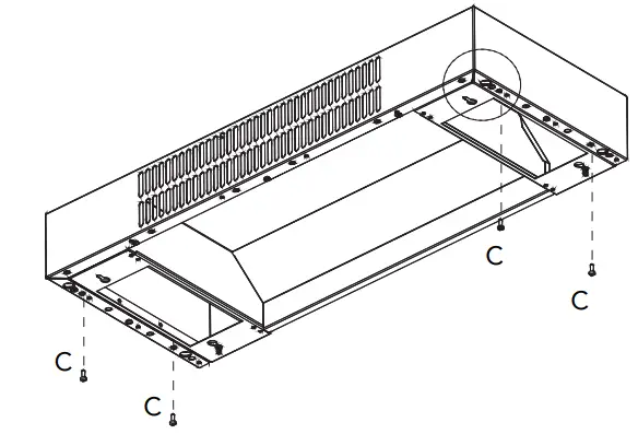
First install deflector on top of the hood then install to the wall:
- Fit four screws C on bottom of the deflector, do not tighten completely.

- Install the deflector on top of the hood so that screws C go respectively into Side Slots on top of the hood and Side Slots on bottom of Deflector, slide Deflector frontward until stops.
- Tighten the four screws C from inside of the hood.
- Fit screws (dim:3.5×9.5), from inside the hood to final assembly Deflector to the hood (number depends on hood size).

- Proceed to install hood as described on Wall Mount Installation described at the Hood Installation Manual.
Charcoal filter
In the recirculating mode, the air will be recirculated through disposable charcoal filters that help remove smoke and odors.
- Remove the grease filter of the hood.
- Cover the grill that protects the suction motor with the charcoal filter so that the slots on the filter correspond to the pins on the sides of the motor protection grill.
- Turn the carbon filter clockwise to block them (bayonet fixing).
NOTE: The charcoal filters cannot be cleaned. It should be replaced every 4-6 months (depending on hood usage)
Installer Checklist
Final Check
- Speciied clearances maintained to cabinet surfaces.
- Appliance is level.
- All packaging material removed.
- Proper ground connection.
- Owner is aware of location of the main circuit breaker
- INSTALLER: Write the model number and serial number found on the Product Data Rating Label in the Use and Care Guide. Leave the Use and Care Guide and the Installation Instructions with the owner of the appliance.
- INSTALLER: Leave the Home Connect™ instruction leaflet with the owner of the appliance. In order to utilize the full feature potential of the appliance, the owner should download the Home Connect™ app on their smart device and pair the appliance to the home’s Wi-Fi device.
To Clean and Protect Exterior Surfaces
- The stainless steel surfaces may be cleaned by wiping with a damp soapy cloth, rinsing with clear water and drying with a soft cloth to avoid water marks. Any mild glass cleaner will remove fingerprints and smears.
- To polish and protect stainless steel, apply a stainless steel conditioner with a soft cloth. The Thermador Stainless Steel Conditioner is available for purchase in the online eShop. (www.thermadoreshop.com). Order part number 00576697.
- DO NOT allow deposits to remain for long periods of time.
- DO NOT use ordinary steel wool or steel brushes. Small bits of steel may adhere to the surface causing rust.
- DO NOT allow salt solutions, disinfectants, bleaches or cleaning compounds to remain in contact with stainless steel for extended periods. Many of these compounds contain chemicals which could prove harmful. Rinse with water after exposure and wipe dry with a clean cloth.
Before Calling Service
Troubleshooting
See the Use and Care Guide for troubleshooting information. Refer to the Warranty in the Use and Care Guide.
Please be prepared with the information printed on your product data rating label when calling.
To reach a service representative, see the contact information at the back of the manual. Before calling, please note the complete model and serial number printed on your product data rating label.
Replacing a LED Lamp
The LED lights are replaceable by a service technician only.
See the service contact information.
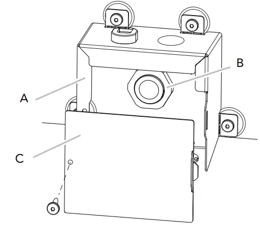
Product Data Rating Label
The data rating label is located under the filter. It shows the model and serial number. Refer to the data rating label on the appliance when requesting service.
The data rating label is located on the frame behind the filter. Remove the filter to view it.
Customer Support
Questions?
1-800-735-4328
www.thermador.com
We look forward to hearing from you!






Smooth, straight
3¼” x 10″, straight
90° elbow, round
45° elbow, round
3¼” x 10″,
3¼” x 10″,
3¼” x 10″, Flat elbow
Round to 3¼” x 10″
Round to 3¼” x 10″ 90° elbow,
3¼” x 10″ to round 90° elbow,
3¼” x 10″ Center reverse elbow, left
3¼” x 10″, Center reverse elbow, right
3¼” x 10″, Left reverse elbow
3¼” x 10″, Right reverse elbow
Round wall cap
Round roof cap
Round roof cap
2’ long, 3¼” x 10″ flex
3¼” x 10″, Roof jack and shutter














































