HAUSLANe IN-R300 Model Series Convertible Built In Range Hood
Product Information
The IN-R300 Model Series is a range hood designed for household cooking areas. It is equipped with various features to ensure efficient ventilation and a clean cooking environment. The range hood comes with baffle filters, a control panel, and adjustable speed settings. It operates on a 120V AC power source and has built-in lights for improved visibility during cooking.
Product Usage Instructions
Important Safety Instructions:
- Before installing the range hood, read the entire instruction manual.
- Use the range hood only as intended by the manufacturer.
- If you have any questions or concerns, contact Chef Kitch at 1-800-929-0168 or email [email protected].
- Before servicing or cleaning, switch off the power at the service panel and lock it to prevent accidental switching.
- If the service disconnecting means cannot be locked, securely fasten a prominent warning device, such as a tag, to the service panel.
Steps to Test Run Before Installation:
- Wear gloves to protect against sharp edges.
- Carefully remove the range hood and accessories from the package.
- Place the range hood on a flat stable surface and remove the baffle filter to inspect for any dents or damages.
- If there are any loose parts, remove them.
- Plug the range hood into a 120V AC power source.
- Press the power button once and then press any of the speed buttons to turn it on.
- Check each speed variation and pay attention to the noise level to ensure there are no unusual noises.
- Press the Light Button to check the lights.
- Verify all functions as instructed on Page 10 of the manual.
- Refer to Page 12 for troubleshooting common issues and solutions.
Note:
A range hood without protective films is still a new product. The baffle filters may be covered by protective films that can be removed following the provided steps.
Installation Overview:
- Unpack the range hood and check for any physical damage on the body.
- Test run the range hood to ensure all functions are working properly (refer to Page 10).
- If any defects are found, contact the seller immediately and do not proceed with the installation.
- Install the range hood according to the instructions provided in the manual (refer to Page 7).
- After installation, test run the range hood again and refer to Page 12 for troubleshooting if needed.
- Ensure that two people are available for the installation process.
For detailed information on installation, venting requirements, electrical requirements, and range hood care, refer to the respective sections in the user manual.
In case the manual is destroyed or lost, please contact our customer service or visit www.hauslane.com for assistance.
How to Test Run
Steps To Test Run Before Installation
IMPORTANT! Wear gloves to protect against sharp edges.
PLEASE FOLLOW THESE INSTRUCTIONS TO TEST THE RANGE HOOD BEFORE INSTALLATION FOR ANY DEFECTS OR SHIPPING DAMAGE:
- Remove the range hood and accessories from the package carefully.
- Place the range hood on a flat stable surface, remove the baffle filter and check for any dents or damages on the range hood body.
- Remove the loosen parts if there’s any.
- Plug the range hood into a 120V AC power source. Press the power button once and then any of the speed buttons to turn it on.
- Check each speed variation and pay attention to the noise level to make sure there isn’t any unusual noise besides it coming from the wind blowing. Press the Light Button to check the lights.
- Verify all functions, as instructed in Page 10, are working properly.
- Refer to Range Hood Troubleshooting in Page 12 for general issues and solutions.
Note: Please don’t suspect that a range hood without protective films is not a new product.
- The protective films on the body was removed to complete the brush finished polishment on the surface.
The Baffle Filters might be covered by protective films that can be removed with the following steps:
- Soak the Baffle Filters into hot waters or use heated air from a hair dryer to soften the films.
- Peel off the films from the corner.
Please read all instructions carefully before proceeding further to prevent the risk of fire, electric shock, personal injury or damage to the range hood. This manual provides a general insight on the installation and may not include solutions for all possible issues that may occur.
In case of this manual destroyed or lost, please contact our customer service or visit www.hauslane.com
Installation Overview
- Unpack the range hood and check for any physical damage on the body.
- Test run the range hood and check if all functions are working properly. Refer to Page 10 for functionalities.
DO NOT install the range hood if it’s defective. Contact the seller immediately. - If all is fine, install the range hood as instructed in this manual. Refer to Page 7.
- Test run the range hood again when the installation is finished. Refer to Page 12 for troubleshooting.
Possible Tools Needed:
- Marker / Pencil;
- Jig Saw or Reciprocating Saw;
- Screwdrivers or Power Drill;
- Level;
- Measuring Tape;
- Knife:
- Duct / Foil Tape;
- Screws.
2 PEOPLE ARE REQUIRED FOR THE INSTALLATION.
Safety Information
Before installing your range hood, read the entire instruction manual. Installers, leave this manual with the homeowner.
WARNING
SUITABLE FOR USE IN HOUSEHOLD COOKING AREA ONLY. TO REDUCE THE RISK OF FIRE, ELECTRICAL SHOCK, OR INJURY, OBSERVE THE FOLLOWING:
- Use this range hood only in the manner intended by the manufacturer. If you have the questions, contact Chef Kitch at 1-800-929-0168 or email at [email protected].
- Before servicing or cleaning, switch power off at service panel and lock service panel to prevent power from being switched on accidentally. When the service disconnecting means cannot be locked, securely fasten a prominent warning device, such as a tag, to the service panel.
- Installation work and electrical wiring must be done by qualified personnel in accordance with all applicable codes and standards, including fire-rated construction codes and standards.
- Sufficient air is needed for proper combustion and exhausting of gases through the flue (chimney) of fuel-burning equipment to prevent back drafting. Follow the heating equipment manufacturer’s guidelines and safety standards such as those published by the National Fire Protection Association (NFPA), and the American Society for Heating, Refrigeration and Air Conditioning Engineers (ASHRAE), and the local code authorities
- When cutting or drilling into wall or ceiling, do not damage electrical wiring and other hidden utilities.
- Ducted fans must always be vented to the outdoors.
- Do not use this unit with any solid-state speed control device.
- To reduce the risk of fire, use only steel ductwork.
- This unit must be grounded.
TO REDUCE THE RISK OF A RANGE TOP GREASE FIRE:
- Never leave surface units unattended at high settings. Boil overs cause smoking and greasy spillovers that may ignite. Heat oils slowly on low or medium settings.
- Always turn hood ON when cooking at high heat or when cooking flaming foods.
- Clean ventilating fans frequently. Grease should not be allowed to accumulate on fan or filter.
- Use proper pan size. Always use cookware appropriate for the size of the surface element.
WARNING
TO REDUCE THE RISK OF INJURY TO PERSONS IN THE EVENT OF A RANGE TOP GREASE FIRE, OBSERVE THE FOLLOWING:
- SMOTHER FLAMES with a close-fitting lid, cookie sheet or metal tray, then turn off the burner. BE CAREFUL TO PREVENT BURNS. IF THE FLAMES DO NOT GO OUT IMMEDIATELY, EVACUATE AND CALL THE FIRE DEPARTMENT
- NEVER PICK UP A FLAMING PAN as you may be burned.
- DO NOT USE WATER, including wet dishcloths or towels. This could cause a violent steam explosion.
- Use an extinguisher ONLY if:
- You own a Class ABC extinguisher and you know how to operate it.
- The fire is small and contained.
- The fire department has been called.
- The fire department has been called.
- You can fight the fire with your back to an exit.
- Based on “Kitchen Fire Safety Tips” published by NFPA.
CAUTION
- For general ventilating use only. Do not use to exhaust hazardous or explosive materials and vapors.
- To avoid damage and noisy and/or unbalanced impellers, keep drywall/construction dust, etc. off power unit.
- Mount your range hood so that the bottom of the hood is 24″ to 30″ above the cooking surface. The minimum hood distance above cooktop must not be less than 24″; any installation less than 24″ may cause overheating and cause damage to the range hood, HAUSLANE does not warrant this improper installation.
- Two to three installers are recommended because of the larger size and weight of this hood.
- To reduce the risk of fire and to properly exhaust air, be sure to duct air outside. Do not exhaust air into spaces within walls and ceiling or into attics, crawl space or garages.
- Because of the high exhausting capacity of this hood, you should make sure enough air is entering the house to replace exhausted air by opening a window close to or in the kitchen.
- Use with approved cord-connection kit only.
- Please read product specification label on range hood for further information and requirements
Installation Preparations
Venting Requirements
DO
- Have the venting system go vertically from the range hood to the roof if possible.
- Have 24″-30″ distance between the cooktop and the range hood. 27″ is recommended.
- Use uniformed duct of 6″ round duct or 3-1/4 x 10” rectangular duct or larger.
- Use metal vent only. Rigid metal vent is recommended. Semi-rigid aluminum vent is also acceptable for easy connection.
- Make sure there is a minimum of 24″ of straight vent between the elbows if more than 1 elbow is used.
- Use minimal numbers of elbows and the shortest route for the venting system for a better performance.
- Use silver tap or duct tap to seal all joints in the venting system.
- Use caulking silicone to seal exterior wall or roof opening around the cap.
- Always keep the duct clean to ensure proper airflow.

DO NOT
- End the venting system in an enclosed area indoors.
- Use plastic vent.
- Use no more than three 90° elbows.
- Install 2 elbows together.
- nstall the range hood outside of the recommended height.
- Reduce the duct size below the recommended size.
Venting System Setup:
- This Range Hood is 6” top venting through the roof or wall.

IMPORTANT!
- If long duct run is needed, increase the duct size from 6″ to 7″ or 8″ to 9″.
- If a reducer is needed, use a long reducer instead of a pancake reducer and install it as far away from the range hood as possible. Reducing the duct size will restrict and decrease the speed of the airflow and hense lower the range hood’s performance.
- If transitions or turns are needed, install them as far away from the range hood as possible and keep the distance between the 2 as far apart as possible.
- The minimum mounting height should be no less than 24″ and the maximum mounting height should be no more than 30″.
- Also refer to the owner’s manual of the stove top for the height clearance requirement and the recommended mounting height above the range.
Note
- It is important to install the range hood at the proper mounting height. Hoods mounted too low could result in heat damage and fire hazard while hoods mounted too high will be out of reach and hense reduce its performance and efficiency
Minimum Duct Size:
- Round: 6″ minimum.
- Rectangular: 3-1/4″ x 10″ minimum
IMPORTANT: Observe all governing codes and ordinances.
It is the customer’s responsibility:
- To contact a qualified electrical installer;
- To ensure that the electrical installation is in compliance with applicable codes and standards.
Electrical Requirements:
- A 120V, 60Hz., AC only, 15A fused electrical circuit is required.
- Wire sizes and connections must conform with the power rating of the range hood and all applicable codes and standards.
- DO NOT have a fuse in the neutral or ground circuit.
- The 3-prong outlet should be grounded. If the power cord plug is not used, the power cord’s green wire should be connected to ground. Check with a qualified electrician if you are not sure that the range hood is properly grounded.
- DO NOT ground to a gas pipe.
- The range hood must be connected with copper wire/plug only.
- The range hood should be connected directly to the fused disconnect box (or circuit breaker) through flexible armored or non-metallic sheathed copper cable. ETL or UL listed strain relief must be provided at each end of the power supply cable.
Installing the Range Hood
Note: If the wood hood is enclosed at the bottom, make a cutout on the board so that the Range Hood can fit into the wood hood.
Guide the duct into the Wood Hood. Temporarily secure the top of the duct to the ceiling opening or wall opening.
The following steps requires 2 or more people:
- Unpack the Range Hood and place it on a sturdy flat surface with the Baffle Filters facing the ceiling.
- Remove the Baffle Filters. (Step1 & 2 in Figure 1)

- Remove the bottom cover and put it in a safe location.
- Connect the duct to the vent opening on the Range Hood. If the duct size isn’t the same as the vent opening, use an adapter between the duct and the vent opening.
- While lifting the Range Hood to fit into the wood hood, retract the Duct into the attic carefully.
- Insert and tighten all screws into the pre-drilled holes on the Hood body until it is securely mounted to the wood hood. (Figure 2)

- Release the Range Hood.
- Put the Panel back and tighten all screws.
CAUTION
- Make sure the Hood Unit is securely mounted before releasing.
- Route and connect the Duct to the Roof or Wall Cap. Refer to Page 5 for the most efficient routing requirements.
- Use foil tape or duct tape to seal all connections.
Electrical Connection
- This range hood comes with a power cord with a 3-prong plug. Connect the power cord to a designated grounded standard 110V outlet
WARNING: Electrical Shock Hazard Disconnect power before servicing
In case of a direct connection to the house wiring is preferred, do the following:
- Disconnect the power.
- Cut off the plug from the power cord.
- Connect the wires from the power cord to the wires from the house wiring using ETL or UL-listed wire connectors.
- Store the excess wires in the wiring box.
- Reconnect the power.
Installing the Baffle Filters
- Peel off the protective film from the baffle filters if there’s any:
- Soak the Baffle Filters into hot waters or use heated air from a hair dryer to soften the films.
- Peel off the films from the corner.
- Align the baffle filters with the Hood Body and install them in revert steps (Step 2, then Step 1) in Figure 1 in Page 7.
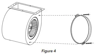
Optional Ductless Configuration Using Charcoal Filter CFI001
- Remove the baffle filters from the bottom of the hood.
- Remove the Fan Wheel Grille or the old Charcoal Filter from the Blower.
- Position the Charcoal Filter onto the side of the Blower, aligning the mounting screws, turn until it locks. Re-install the baffle filters. (Figure 4 and Figure 5)


Note:
- For ductless installation, make sure there are vent openings on the top of the wood hood in order to circulate the air in the kitchen.
- Charcoal Filters must be replaced after 120 hours of use (or approximately every 2 to 3 months based on the average of 1 to 2 hours of daily cooking time.). Visit www.hauslane.com to shop.
Completing the Installation
Turn power ON in the control panel. Check all lights and fan operations.
Installation

How to Use Your Range Hood
Now that your range hood is installed, it’s time to learn how to use it. It is very simple to use and is operated entirely using the front control panel.
EASY ACCESS KNOB CONTROL
CAUTION: For halogen lamps never touch bulbs during operation; they can get very hot.
- Power Off
- Turn On fan
- On/Off light
- Delay Function: Press and hold the power button for 3 seconds to activate the Delay Function, the power button will blink for the 5 minute preset time.
Range Hood Care
Cleaning
WARNING:
- To reduce the risk of electrical shock, DO NOT clean the hood while it’s operating.
- Never put your hands into the area housing the fan when the fan is operating.
Cleaning the Exterior Surfaces:
IMPORTANT: To avoid damage to the exterior surfaces:
- DO NOT use corrosive or abrasive detergent.
- DO NOT use steel wool, scoring pad or steel brushes. Use a paper towel or soft cloth or nonabrasive sponge instead.
- DO NOT use salt solutions, disinfectants, bleaches or cleaning compound that contains harmful chemicals.
Cleaning Method:
- Noncorrosive or nonabrasive liquid detergent soap or all-purpose liquid cleanser.
- Wipe the surfaces with a damp paper towel or soft cloth or nonabrasive sponge.
- Rinse with clean water.
- Wip dry with dry towel or cloth
Note
- The nonabrasive stainless steel polisher can be applied when done cleaning to retain the stainless luster and grain.
- Always follow the instrunction of the polisher. Cleaning the Stainless Steel Baffle Filters:
- Wash the filters in the dishwasher, or soak it into hot or warm water with dish detergent for half an hour, then wipe the filter clean. Repeat these steps until there’s no oil residue remains.
- Let the filters dry thoroughly
Replacing the Filters:
- Replace the baffle filters immediately should they become worn out due to aging or prolonged usage.
Replacing the Lamps
WARNING:
- Electrical Shock Hazard
- Disconnect power before servicing
- Wear gloves to protect against sharp edges
- This range hood uses 120V, GU10, 3W LED light bulbs.
- Switch off power and allow 5 minutes for the lights to cool down.
- Remove the light bulb by turning to the left.
- Replace with a new light bulb by aligning the base with the range hood socket and turning it to the right until the light bulb is locked in position.
RANGE HOOD TROUBLESHOOTING
| Issue | Possible Cause / Solution |
| The range hood doesn’t turn on | • Check if the range hood is plugged in. Make sure that all power is turned ON, the fuse isn’t blown and all electrical wirings are properly connected. |
| The range hood turns on but the light doesn’t | • Replace the defective light assembly. Refer to Range Hood Care section for instructions. |
| The range hood vibrates when the blower is on | • Check and tighten the mounting screws to secure the hood to the cabinet or wall properly. |
|
The blower or fan seems weak | • Check that the duct size used is at least 6” and does not have sections with smaller sizes between the hood and the roof/wall cap. Range hood WILL NOT function efficiently with Insufficient duct size. (For example: 7” duct over 6” top vent and not sealed properly). • Check if the duct is clogged or the damper (half-circular flapper) is not installed correctly or opening properly. A tight mesh on a side wall cap may also cause restriction to the air flow. |
|
The lights work but the blower is not spinning at all or is rattling | • The blower might be jammed or scraping the bottom due to shipping damage. • Disconnect the power cord, remove the fan grill and the fan blade See if the fan blade or/and motor is not in the proper position (offset from the center). Try to fix/adjust it or please contact us immediately. |
|
The hood is not venting out properly | • Make sure the distance between the stove top and the bottom of the hood is within recommended 24” and 30” in distance. *Due to different ceiling height configurations, the recommended height may not be applicable. • Reduce the number of elbows and length of duct work. Check if all joints are properly connected, taped and sealed. • Make sure the power is on high speed for heavy cooking. |
Before Calling for Service
Warranty Information
This range hood is warranted to the original purchaser to be free of defects in material and workmanship for two (2) years from the date of purchase.
Our obligation shall be limited to the repair or replacement of a unit (at our discretion) that may prove, by our sole examination, to be defective under normal use and service during the warranty period. We may issue credit in the amount of the invoice value of the defective product (or a percentage of it according to use) in lieu of repair or replacement. Any failure of this product that is not traceable to a defect in material or workmanship is not covered by this warranty. These non-warrantable items include, but are not limited to:
- Any defects or damage to light bulbs
- Change in color or finish due to chemical usage
- Improper installation not in accordance with the instructions
- Dents, bumps, and scratches incurred during shipping, handling, or installation
- Damage caused by failure to follow care and cleaning guidelines, including damage caused by the use of abrasive cleaners
- Alterations made to the unit by the purchaser or installer
- Damage caused by accidental impact, fire, flood, freezing, and normal wear
- Bends and warping caused by forced connections, over-tightened fittings, and inadequate support during installation
A thorough inspection must be made before installation and any damage must be promptly reported. We will not be liable for failures or damage that could have been discovered or avoided by proper inspection and testing prior to installation. Incidental repairs that would involve a minimum of time and effort on behalf of the purchaser will not be considered warranty work and no compensation will be deemed forth coming.
This warranty is non-transferable and shall be voided if the unit is removed from its initial installation or if it is not installed following the instructions.
Under no circumstance shall we be held liable for personal injury or property damage resulting from improper installation or use of this product. We will not be held liable for inconvenience caused by loss of use of this product, costs incurred for labor or materials, removal and installation of replacement units, or any other incidental or consequential damages. Costs relating to obtaining access for repair or replacement are the responsibility of the user.
This warranty does not extend to commercial and institutional installation or use.
Warranty Claim Procedure
Description of the range hood Proof of sale details regarding the defect Name(s) and address(es) of the owner and installer If a claimable defect occurs, please contact our customer service team at 1-800-929-0168 (8 a.m. – 5 p.m., PST, Monday – Friday). or email us at [email protected] Before you make your claim call, please ensure that you have:
- Description of the range hood
- Proof of sale
- Details regarding the defect
- Name(s) and address(es) of the owner and installer
Claims must be filled out in writing and returned within six (6) months of the appearance of a defect. Failure to comply with this stipulation will make this warranty null and void. We reserve the right to a thirty-day (30) delay following the receipt of a claim in which to inspect the product. We assume no responsibility for labor costs, removing or replacing a previously installed product, transportation, or the return of a product.
CALIFORNIA RESIDENTS ONLY
WARNING:
Cancer and Reproductive Harm www.P65Warnings.ca.gov
Extended Warranties:
If you are interested in an extended warranty, sign up on our website at www.hauslane.com
Parts and Accessories:
If you need replacement parts or accessories, visit www.hauslane.com
Contact Us:
We’d be happy to answer your questions or resolve any issues you may have.
- Phone: 1-800-929-0168
- Email: [email protected]
Find Us and Connect with Us @HauslaneOfficial

IN-R300 USER MANUAL

























