SVEN PS-260 Bluetooth Portable Speaker

Portable Speaker System with Bluetooth and FM-radio
Congratulations on your purchase of the SVEN speaker system!
COPYRIGHT
© SVEN PTE. LTD. Version 1.0 (31.01.2022). This Manual and information contained in it are copyrighted. All rights reserved.
BUYER RECOMMENDATIONS
- Unpack the device carefully. Make sure there are no accessories left in the box. Check up the device for damage; if the product was damaged during transportation, address the firm which carried out the delivery; if the product functions incorrectly, address the dealer at once.
- Shipping and transportation equipment is permitted only in the original container.
- Does not require special conditions for realization.
- Dispose of in accordance with regulations for the disposal of household and computer equipment.
- The date of manufacture of the product is indicated on the box.
APPLICATION
SVEN PS-260/265 portable multimedia speaker systems with Bluetooth and FM-radio is designed for operation with PC, notebooks and other mobile devices by means of data transfer via Bluetooth protocol. It can be also used in internet telephony, during video conferences, in multimedia applications, in interactive games. There is a built in FM-tuner, and player with USB flash and with micro SD memory card.
PACKAGE CONTENTS
- Speaker system – 1 pc
- USB to USB type-C power cable – 1 pc
- Mini-jack to mini-jack signal cable – 1 pc
- User Manual – 1 pc
- Warranty card – 1 pc
SPECIAL FEATURES
- Bluetooth wireless signal transmission
- Effective multi-colored lighting
- Wireless connection of two speakers to one source
- Built-in audio files player from USB-flash and microSD card storage devices
- Night light mode
- Built-in FM tuner
- Wired connection
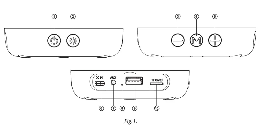
Speaker system description
- POWER button (long pressing); Connecting an additional speaker (double pressing in Bluetooth mode)
- Change backlight mode (short pressing); Turning on/off the backlight (long pressing)
- Volume decrease button (short pressing); Previous track (long pressing in Player and Bluetooth mode); Previous station (long pressing in Radio mode)
- Play/Pause button (short pressing in Player and Bluetooth mode); Switch mode button: Bluetooth/FM/Player/AUX (short pressing); Disconnect from device (double pressing in Bluetooth mode); Start/Stop auto scan (double pressing in Radio mode); Mute (short pressing in Radio mode or AUX)
- Volume increase button (short pressing); Next track (long pressing in Player and Bluetooth mode); Next station (long pressing in Radio mode)
- DC IN: USB type-C jack for charger connecting speaker system to laptop/PC USB port g AUX: 3.5 mm mini-jack for audio signal connecting (phone, MP3 player, etc.) h Indicator
- USB-flash card slot
- TF CARD: micro SD card slot

CONNECTION AND OPERATION
Attention! The built-in battery must be charged completely prior to the application. Speaker system battery charging
- Connect speaker system to a USB port of PC or USB charger using USB type-C to USB cable (included). During battery charging the indicator h is red. Indicator h goes ut when the battery is charged.
- The battery is used in the speaker system as an integral part of the device, therefore do not try to extract or replace it, because this can result in the warranty cancellation or the device damage.
OPERATION MODES
Bluetooth mode
- Wireless data transfer via the Bluetooth protocol enables to connect speaker system to compatible devises. Maximum radius of action of data transfer is 10 m. Such obstacles as walls or other electronic devices can interfere with the signal transfer.
- Turn on the speaker in Bluetooth mode.
- It is necessary to select the search mode of devices with Bluetooth on a signal source (telephone, notebook, smartphone, etc.). «SVEN PS-260/265» message will be displayed on the screen which is to be connected to*.
- When connection is successful, there will be a short beep and the indication of the search mode on speaker system is over**.
Radio mode
To improve the quality of radio reception, connect the USB type-C to USB cable (included) to the USB type-C input or the mini-jack signal cable to the mini-jack (included) to the AUX g input.
- Turn on the speaker system – press button d several times until, the Radio mode will turn on. Double pressing button d activates auto search mode. After scanning completion, the first scanned radio station will start to operate automatically. With buttons c and e (long pressing) select a desired radio station.
Player mode
Attention! The file system of a micro SD carrier is FAT32. Maximum volume is 32 GB. It is not recommended to use the micro SD Ultra Speed.
- The system will enter the Player mode automatically when a carrier (USB flash or SD card) is connected to corresponding ports. Use button d to switch between Play/Pause modes. You can control tracks by using buttons c (previous track) and e (next track) (long pressing).
The use in the wired mode (AUX)
- Connect the 3.5 mm mini-jack cable to the 3.5 mm mini-jack (included) to the AUX g input and the 3.5 mm jack to the signal source.
- Turn on the speaker in AUX mode – press the button d several times until the speaker goes into AUX mode.
- You might have to enter «0000» code to connect some models of devices via Bluetooth.
- If the item has been already registered in the device list of a source, then the second search mode activation is not obligatory. Choose the item name «SVEN PS-260/265» and the «connect» command on the source.

Connecting an additional speaker
For model «SVEN PS-260/265» you can connect an additional speaker (Bluetooth mode only):
- Turn on both speakers (long press button a) and select Bluetooth mode. On both speakers, indicator h will flash blue.
- On one of the speakers or the active speaker (which is already connected to the source) press button a twice. The speakers will connect with each other.
Note. At the subsequent inclusion of both speakers, they will be connected automatically.
TECHNICAL SPECIFICATIONS
| Parameter, measurement unit | Value |
| Frequency response, Hz | 120 – 20 000 |
| Output power (RMS), W | 10 |
| Speaker diameter, mm | Ø 52 |
| Rated current consumption, A | 0,17 |
| Battery capacity, mA*h | 2000 |
| Power supply | USB 5V |
| Weight, g | 600 |
| Dimensions, mm | 93 × 93 × 210 |
Notes:
- Technical specifications given in this table are supplemental information and cannot give occasion to claims.
- Technical specifications and package contents are subject to change without notice due to the improvement of SVEN production.
Models: PS-260, PS-265
Importer: Tiralana OY, Office 102, Kotolahden- tie 15, 48310 Kotka, Finland.
Manufacturer: SVEN PTE. LTD, 176 Joo Chiat Road, № 02- 02, Singapore, 427447. Produced under the control of Oy Sven Scandinavia Ltd. 15, Kotolahdentie, Kotka, Finland, 48310. Made in China. ® Registered Trademark of Oy SVEN Scandinavia Ltd. Finland.






















