PDQ GTS BLE Only Cylindrical Lock

GTS BLE Only Cylindrical Lock
The GTS BLE Only Cylindrical Lock is a mechanical lock that provides secure access control to your property. The lock is designed to be installed on doors that swing inward and is available in left-hand and right-hand configurations.
Product Usage Instructions
- Check the handing of the lock to ensure it is compatible with your door.
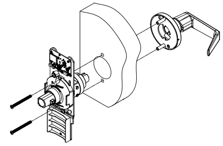
- Prepare your door according to the template provided and install the latch with the radius facing towards the door frame. Secure it with two #8 combo screws.
- Install the chassis and outside trim using bolts.
- Install the inside escutcheon and secure it with two pan head screws.
- Install the batteries and battery cover with a flat head screw. Install the inside lever and secure it with a dog point set screw.
- As required, rotate the inside rose plate and chassis to match the hand of the door. To rotate the chassis, remove the rose plate mounting screws and rose plate. Unplug the motor connector and feed it through the wire chase slot on the other side. Re-connect the motor connector. Rotate the rose plate to index with the chassis (arrows point to the latch bolt edge of the door). Install the rose plate and secure it with mounting screws.
If you have any mechanical concerns about the product, please contact PDQ Locks at 866-874-3662 or visit their website at www.pdqlocks.com for assistance.
GTS INSTALLATION INSTRUCTION
BLE ONLY CYLINDRICAL LOCK
- CHECK HANDING OF LOCK
If handing of lock is not correct for opening, see next page for handing instructions.
- PREPARE DOOR & INSTALL LATCH
- Prepare door according to template.
- Install latch, radius toward door frame
- Secure with (2) #8 combo screws.

- INSTALL CHASSIS AND OUTSIDE TRIM
- Install chassis assembly from inside of door.
- Install outside trim assembly.
- Secure with (2) flat head screws (thru bolts).

- INSTALL INSIDE ESCUTCHEON
- Install inside escutcheon.
- Secure with (2) pan head screws.

- INSTALL BATTERIES AND INSIDE LEVER
- Install batteries and battery cover with flat head screw.
- Install inside lever and secure with dog point set screw.

HANDING INSTRUCTIONS
AS REQUIRED, ROTATE INSIDE ROSE PLATE AND CHASSIS TO MATCH HAND OF DOOR.
TO ROTATE CHASSIS:
- Remove rose plate mounting screws, then rose plate.
- Unplug motor connector. Feed motor connector and wire back through wire chase slot.
- Rotate chassis 1/2 turn (180°) maximum.
- Feed motor connector and wire forward through wire chase slot on other side. Re-connect motor connector.
- Rotate rose plate to index with chassis. (Arrows point to latch bolt edge of door.)
- Install rose plate, secure with mounting screws.


For Mechanical Concerns:
Phone: 866-874-3662
www.pdqlocks.com



















