PDQ CLS BLE Only Interconnected Lock

Product Information
The CLS Interconnected Lock is a Bluetooth Low Energy (BLE) lock designed for use in commercial and residential settings. This lock is designed to be interconnected, meaning that it features a lock and latch mechanism that are combined into a single unit. The lock also features a cylinder assembly and an inside escutcheon, which includes a lever for easy operation. The lock is available in both left-hand and right-hand configurations.
Product Usage Instructions
Before installing the CLS Interconnected Lock, ensure that you have the necessary tools and hardware, including a screwdriver, drill, and screws.
- Prepare Door & Install Latches: Begin by preparing the door and installing the latches according to the manufacturer’s instructions.
- Install Lock Assembly: Install the lock assembly according to the manufacturer’s instructions. This will involve attaching the cylinder assembly to the lock and installing the lock onto the door.
- Install Cylinder Assembly: Install the cylinder assembly onto the lock. Ensure that the cylinder is properly aligned and secured in place.
- Prepare Inside Escutcheon: Rotate the driver tab on the inside escutcheon to the proper handling for your installation (LH/LHR or RH/RHR).
- Install Inside Escutcheon and Lever: Install the inside escutcheon and lever onto the lock. Ensure that the lever is properly aligned and secured in place.
Once the CLS Interconnected Lock is properly installed, it can be operated using Bluetooth Low Energy technology. To use the lock, download the manufacturer’s app and follow the instructions for pairing your device with the lock. Once paired, you can use the app to lock and unlock the door, as well as manage access permissions and view activity logs.
Installation
PREPARE DOOR & INSTALL LATCHES
- Prepare the door according to the template
- Install a deadbolt latch in the top hole with a cross slot for the tailpiece toward the bottom
- Install a beveled latch on the bottom with a bevel toward the door frame
- Secure with (4) combo screws

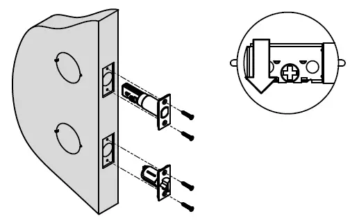
INSTALL LOCK ASSEMBLY
- Install the lock chassis into the bottom hole making sure to properly engage the lock body into the latch bolt
- Install inside mounting plate and secure with (2) screws

INSTALL CYLINDER ASSEMBLY
- Install cylinder assembly from outside of the door
- If extended, retract the deadbolt
- Left-Hand Door – Rotate the tailpiece clockwise until it stops in the vertical orientation
- Right-Hand Door – Rotate the tailpiece counter-clockwise until it stops in the vertical orientation

PREPARE INSIDE ESCUTCHEON
- Rotate the lever driver tab to the correct orientation as shown

INSTALL INSIDE ESCUTCHEON AND LEVER
- Rotate your thumb and turn away from the leading edge of the door
- Install inside escutcheon
- Secure the escutcheon using two screws
- Install lever
- Install batteries and battery cover


For Mechanical Concerns:
Phone: 866 874 3662
www.pdqlocks.com.















