
Server Express®
Used with pouches up to 1½ gallons with 16mm fitments.

MODEL: SE 07973

Thank You
for purchasing our Server Express® Pouched Condiment Dispenser. This portion controlled unit is sealed and sanitary, achieves excellent evacuation and has only a few parts for easy clean-up.
SIMPLIFY CONDIMENT MANAGEMENT–GO POUCHED
SAFETY
According to food and safety regulations, most foods must be stored and/or served at certain temperatures or they could become hazardous. Check with local food and safety regulators for specific guidelines. Server Products, Inc. cannot be responsible for the serving of potentially hazardous product.
IMPORTANT 
Clean, rinse, sanitize, and dry parts daily or regularly to comply with local sanitization requirements.
NSF International lists this pump as: “Not acceptable for dispensing potentially hazardous foods.”
![]()
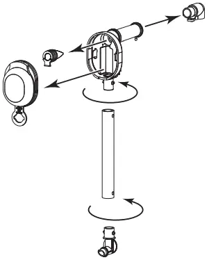
TAKE-DOWN & DISASSEMBLY
1 REMOVE LID
2 REMOVE PUMP & POUCH
3 DETACH PUMP FROM POUCH
4 FLUSH & RINSE PUMP
Place lower end of pump into container of hot water. Pump until all remaining product is expelled and only water flows from discharge tube.
5 DISASSEMBLE

CLEANING
1 CLEAN
After disassembling, clean all washable parts with soap and hot water.
2 RINSE
fully with clear water.
3 SANITIZE
all parts according to local sanitization requirements. All parts in contact with food must be sanitized.
4 AIR DRY
all parts fully.

YES!
Use dishwashing
soap and hot water
- External surfaces may be wiped clean with a clean damp cloth.
- Glass and surface cleaners approved for use in food contact areas may be used.
- Do not use abrasive, caustic or ammonia based cleansers.
- Do not use metal scrapers or cleaning pads that could scratch surfaces.
CARE OF STAINLESS STEEL
This unit includes components constructed with stainless steel– one of the best materials for food serving and storage.
If you notice corrosion beginning on any stainless steel surface, you may need to change the cleansing agent, sanitizing agent, or the cleaning procedures you are using.
- A mildly abrasive nylon or brass brush may be used to remove any stubborn food or mineral deposits on interior surfaces of unit.
- Fully rinsing and drying all parts can help prevent corrosion. Elements and minerals in tap water can accumulate on stainless steel parts and create corrosion.
- Do not use products containing acids, alkalines, chlorine, or salt. These agents can corrode stainless steel.
SERVER EXPRESS™ 07973

- LEVER 07014
- HINGE PIN (2) 07161
- LID 07051
- ROLLER 07056
- LID ASSEMBLY 07052
- 11″ BRUSH 82049

- PUMP 07398
- ROUND VESSEL 07047
- PINCH VALVE 07798
- PUMP HOUSING 07388
- DISCHARGE FITTING 07796
- DOME 07383
- TUBE 07089
- CONNECTOR 07381
PUMP ASSEMBLY
WASH ALL PARTS PROPERLY BEFORE USE.
1 INSERT PINCH VALVE
into pump housing.
TIP: Squeeze the pinch valve open before installation to ensure it isn’t stuck shut.

2 INSTALL DOME
Press dome into housing fully.
Ensure valve flap covers bottom opening.

Wrap loop around lower opening to secure dome.

3 INSTALL TUBE
Lubricate with a small amount of clean water. Rotate and position until both pegs on housing fit into holes on tube.

4 INSERT CONNECTOR
Lubricate with a small amount of clean water. Rotate and position until both pegs on connector fit into holes on tube. Connector must point away from end of discharge tube.

5 INSERT DISCHARGE FITTING
into pump housing discharge tube. Place loop of fitting around peg on end of discharge tube to secure.

SETUP 
PRACTICE SAFETY. WASH ALL PARTS PROPERLY BEFORE USE.
PLACEMENT
Unit can be used either on a countertop surface or can be dropped into an opening in a countertop. Recommended countertop opening size: 8 1/2″ diameter

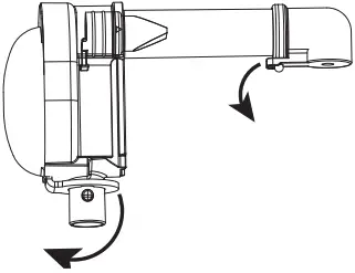
1 ATTACH POUCH TO PUMP
Firmly press piercing connector into center of pouch fitment.
An audible click indicates a secure connection.

2 INSTALL PUMP
Slide pouch and pump into pouch support within vessel.
Align pump guides into slots in vessel.

3 PLACE LID ON TOP

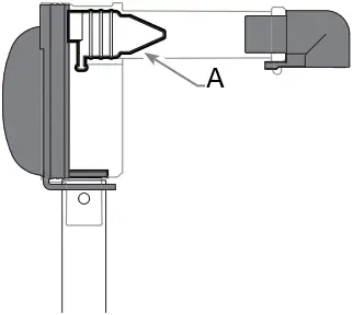
4 PRIME PUMP
Press lever several times until you see product in discharge tube.

PORTION CONTROL
THE LID IS SET TO DELIVER 1 OZ PORTIONS.
If lid reassembly is needed, or to specify a different portion size:

- One hinge pin attaches lever to lid.
- Second hinge pin attaches roller to lever. (Controls portion dispensed.)
Install hinge pin through center roller hole and desired portion hole on lever. Pin snaps into place.


TROUBLESHOOTING

TIP: Squeeze the pinch valve open before installation to ensure it isn’t stuck shut.
DIFFICULT TO ATTACH PARTS?
- Wet parts with clean water to help fit.
PRODUCT DOESN’T PUMP?
- A: Ensure pinch valve is inserted in housing.
- Ensure connector is snapped fully in place to fitment in pouch.
- Ensure pump is properly attached to pouch.
- Clean pump thoroughly.
- Ensure pump is properly installed into retaining slots inside front wall of vessel.
DOME POPS OFF?
- Clean thoroughly. Food residue could prevent a tight seal between dome and housing.
- Ensure dome edges are flush with housing.
SERVER PRODUCTS LIMITED WARRANTY
2 YEAR WARRANTY
This Server product is backed by a two-year limited warranty against defects in materials and workmanship. See Server-Products.com for details.
GENERAL SERVICE, REPAIR OR RETURNS
Before sending any item to Server Products for service, repair, or return, contact Server Products customer service to request a Return Authorization Number. Merchandise must be sent to Server Products with this number. Service is extremely prompt. Typically, units are repaired and ship out within 48 hours of receipt.
Merchandise being returned for credit must be in new and unused condition and not more than 90 days old and will be subject to a 20% restocking charge.
NEED HELP?
Server Products Inc.
3601 Pleasant Hill Road
Richfield, WI 53076 USA
Chat with us!
[email protected]
262.628.5600 | 800.558.8722
Please be prepared with your Model, P/N and Series located on the lid or base of the unit.
Example:

![]()
Manual #EM_01769_RevA 031622



















