SERVER 100712 Stainless Steel Pump User Guide

Server Stainless Steel Pump
Tips and tricks to help you get started with your new Stainless Steel Pump
- Remove pump from box.

Disassemble and wash, rinse, sanitize, and air dry all parts before use.
For clean-in-place procedure, scan QR code below and look up the part number of your pump for detailed instructions. - Install O-ring into seal. Install seal onto piston head. Apply food equipment lubricant on outside of seal. Slide washer into position. Slide spring into position.

- Add gaging collars if desired. Slide collar(s) onto head tube to reduce portion size.

- Slide locking collar (thread side down) towards flared end of head tube.

- Slide head insert (beveled edge first) into head tube. The end with smaller\ hole should go first

- Insert piston assembly into\ head tube assembly.

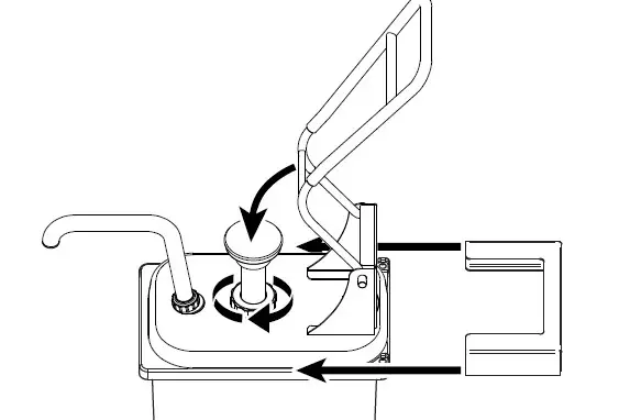
- Install knob. Press head tube down to compress spring and expose piston threads.
Rotate knob clockwise to secure.
- Install large O-ring into valve body. Apply food equipment lubricant on O-ring.

- Install cylinder onto valve body

- Install medium O-ring onto discharge tube. Apply food equipment lubricant on O-ring. Install discharge tube onto valve body.

- Install lid by sliding smaller lid hole over discharge tube. Align center hole with threads on cylinder. Secure lid with discharge tube nut.

- Install plunger assembly into cylinder. Secure with locking collar. Insert into jar and secure with lid lock. Slide lid lock over back of pump and jar. Pull lever down.

WANT TO LEARN MORE?
Visit server-products.com/manual-more for your manual, part breakdown, support videos and more.
[email protected] | 800.558.8722































