SERVER SP Stainless Steel Pump for Use with Food Containers

PUMP PARTS


SAFETY
According to food and safety regulations, most foods must be stored and/or served at certain temperatures or they could become hazardous. Check with local food and safety regulators for specific guidelines. Be aware of the product you are serving and the temperature the product is required to maintain. Server Products, Inc. cannot be responsible for the serving of potentially hazardous product.
IMPORTANT
Clean, rinse, sanitize, and dry parts daily or regularly to comply with local sanitization requirements. NSF International lists this pump as “Not acceptable for dispensing potentially hazardous foods.” Pumps 81196, 81320 & 94080 are NSF listed as part of a complete unit.
PUMP CLEANING
FLUSH & RINSE
all pump surfaces with hot water. Place lower end of pump into container of hot water and operate pump until all remaining product is expelled and only hot water is discharged.
DISASSEMBLE & CLEAN
all washable parts with soap and hot water. (See DISASSEMBLY on page 5.)
all washable parts with soap and hot water. (See DISASSEMBLY on page 5.)
USE SUPPLIED BRUSH
to thoroughly clean inside discharge tube and any confined areas. 
RINSE
fully with clean water.
SANITIZE
all parts according to local sanitization requirements. All parts in contact with food must be sanitized.
AIR DRY
all parts fully.
CLEAN-IN-PLACE PROCEDURE FOR PUMPS
CLEAN
- Pump out all (if any) remaining food product from inside pump body.
- Wash and rinse off outside of pump body.
- Flush out and rinse inside of pump.
- Place lower end of pump into container full of water and operate pump until all (if any) remaining product is expelled and only warm water flows from discharge tube.
- Mix 1 tsp (5 mL) of dishwashing detergent with 1 quart (.95 L) of hot tap water (approximately 110°F /43°C).
- Place lower end of pump into cleaning mixture. Pump until all cleaning mixture is expelled.

RINSE
- Place lower end of pump into 2 cups (.5 L) of hot tap water (approximately 110°F /43°C) and pump until all tap water is expelled.
SANITIZE
- Mix one 1 oz (30 mL) packet of KAY-5 Sanitizer/Cleaner (EPA REG No. 5389- 15) with 2.5 gallons (9.5 L) of tap water (approximately room temperature).
- Place lower end of pump into this sanitizing mixture and repeatedly operate pump until 1 quart (.95 L) sanitizing mixture is pumped through pump.
RINSE
Place lower end of pump into 1 cup (.24 L) of hot tap water (approximately 110°F /43°C) and pump until all tap water is expelled.
CARE OF STAINLESS STEEL
This durable pump includes stainless steel components. If you notice corrosion beginning on any stainless steel surface, you may need to change the cleansing agent, sanitizing agent, or the cleaning procedures you are using.
- A mildly abrasive nylon or brass brush may be used to remove any stubborn deposits.
- Fully rinsing and drying all parts can help prevent corrosion. Elements and minerals in tap water can accumulate on stainless steel parts and create corrosion.
- Do not use abrasive, caustic or ammonia based cleansers.
- Do not use products containing acids, alkalines, chlorine, or salt. These agents can corrode stainless steel.
- Do not use metal scrapers or cleaning pads that could scratch surfaces.
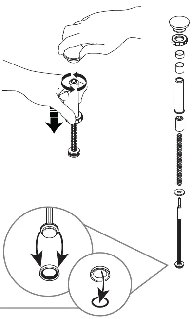
DISASSEMBLY
If pump has been in use, fi rst rinse and fl ush pump. See PUMP CLEANING on page 3. During disassembly, collect small parts in a container to prevent loss.
REMOVE PLUNGER & LID
Turn locking collar (and discharge tube nut if used) counterclockwise to loosen and remove.
REMOVE CYLINDER & DISCHARGE TUBE
Twist each counterclockwise to release from slots in valve body.
REMOVE BOTH O-RINGS
from the valve body and bottom of discharge tube. Do not use a sharp tool.
DISASSEMBLE PLUNGER
- REMOVE KNOB Prevent knob from springing off: Press head tube towards piston base while twisting knob off.
- REMOVE LOCKING COLLAR REMOVE GAGING COLLAR(S) (if used).
- REMOVE HEAD INSERT from inside head tube.
- REMOVE SPRING & WASHER from piston.
- REMOVE SEAL ASSEMBLY from piston. Pry off. Do not use a sharp tool.
- REMOVE O-RING from inside seal.

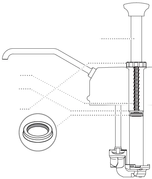
ASSEMBLY
- PREPARE PISTON
- INSTALL SMALL O-RING into seal.
- INSTALL SEAL onto piston head. Apply food equipment lubricant to outside of seal. TIP: Flared end of seal should face away from piston head.
- SLIDE WASHER onto piston.
- SLIDE SPRING onto piston

- PREPARE HEAD TUBE
- OPTIONAL: ADD GAGING COLLAR(S) Slide collar(s) onto head tube to reduce portion size. See page 2 for PORTION CONTROL.
- SLIDE LOCKING COLLAR (threaded side down) towards flared end of head tube.
- SLIDE HEAD INSERT (beveled edge first) into head tube. TIP: The end with smaller hole should go in first.

- INSERT PISTON ASSEMBLY into head tube assembly.

- INSTALL KNOB

- INSTALL LARGE O-RING into valve body. Apply food equipment lubricant on o-ring.
- INSTALL CYLINDER onto valve body. TILT wide edge of cylinder under nub on rim of valve body. FIT TABS on cylinder into corresponding notches in valve body. PRESS DOWN firmly and ROTATE cylinder clockwise to secure into slots.

- INSTALL MEDIUM O-RING onto discharge tube. Apply food equipment lubricant on o-ring.
- INSTALL DISCHARGE TUBE onto valve body. Rotate discharge tube clockwise and press down firmly to secure into slots on valve body.

- INSTALL LID by sliding smaller lid hole over discharge tube. Align center hole with threads on cylinder. IF DISCHARGE TUBE HAS THREADS: To secure lid, slide discharge tube nut onto discharge tube. Rotate nut clockwise to secure.

- INSTALL PLUNGER ASSEMBLY into cylinder. Rotate locking collar clockwise onto cylinder threads to secure.

TROUBLESHOOTING
PROBLEMS WITH FLOW OR PORTIONS?
- Clean pump.
- The food products may be too thick or contain a solid that will not pass through pump.
- If used: Ensure gaging collar(s) are undamaged and properly installed on head tube.
PLUNGER DOESN’T RETURN TO TOP AFTER DISPENSING?
- Ensure that the spring is functional. Replace broken spring if necessary.
- Ensure that the washer is installed between the spring and piston head.
FOOD PRODUCT OOZES OUT AROUND LOCKING COLLAR?
- Ensure seal is properly installed on piston. TIP: Seal has a slight taper. Install with flat side towards top, flared side down.
PUMP DRIPS?
- Clean discharge tube with supplied brush.
- Inspect all o-rings. Replace if damaged.
- Food product may be too thin. Visit www.Server-Products.com for more tips.

SERVER PRODUCTS LIMITED WARRANTY
Server Products equipment is backed by a two-year limited warranty against defects in materials and workmanship. For complete warranty information go to: www.Server-Products.com
GENERAL SERVICE, REPAIR OR RETURNS
Before sending any item to Server Products for service, repair, or return, contact Server Products customer service to request a Return Authorization Number. Merchandise must be sent to Server Products with this number. Service is extremely prompt. Typically, units are repaired and ship out within 48 hours of receipt. Merchandise being returned for credit must be in new and unused condition and not more than 90 days old and will be subject to a 20% restocking charge.
NEED HELP?
Server Products Inc. 3601 Pleasant Hill Road Richfield, WI 53076 USA 1.262.628.5600 [email protected]. Please be prepared with your Model, P/N and Series located on the lid or base of the unit.




























