SERVER CPSS-F, CPSS-L, CP-G Stainless Steel Pump

Stainless Steel Pump
Thank you for purchasing our Stainless Steel Pump. This quality NSF listed pump delivers precise portions and lasts for years of service.
Models
The following models are available:
- CPSS-F
- CPSS-FL
- CP-G
Pump Parts
The pump parts include:
- KNOB* (black knob: 82023-000)
- LOCKING COLLAR 82021
- PLUNGER ASSEMBLY
- HEAD TUBE 82017
- HEAD INSERT 82018
- SPRING 82016
- WASHER 82015
- PISTON 82013
- SEAL ASSEMBLY 83003
- LID*
- DISCHARGE TUBE* If your pump has threads on the discharge tube, use: DISCHARGE TUBE NUT 82027 (not used on every pump)
- O-RING, 1 05127
- CYLINDER 82336
- O-RING, 1-5/16 82323
- VALVE BODY 82433 O-RING, 11/16 82339 SUCTION TUBE*
Portion Control
The pump delivers 1 FL OZ portions. To reduce portion, add gaging collars:
| Collar(s) Used | Portion Result |
|---|---|
| None | 1 fl oz |
| 1 Sm | 7/8 fl oz |
| 1 Lg | 3/4 fl oz |
| 1 Lg + 1 Sm | 5/8 fl oz |
| 2 Lg | 1/2 fl oz |
| 2 Lg + 1 Sm | 3/8 fl oz |
| 3 Lg | 1/4 fl oz |
| 3 Lg + 1 Sm | 1/8 fl oz |
Product Usage Instructions
Safety
According to food and safety regulations, most foods must be stored and/or served at certain temperatures or they could become hazardous. Check with local food and safety regulators for specific guidelines. Be aware of the product you are serving and the temperature the product is required to maintain. Server Products, Inc. cannot be responsible for the serving of potentially hazardous product.
Pump Cleaning
- Flush and rinse all pump surfaces with hot water. Place lower end of pump into container of hot water and operate pump until all remaining product is expelled and only hot water is discharged.
- Disassemble and clean all washable parts with soap and hot water.
- Thoroughly clean inside discharge tube and any confined areas using supplied brush.
- Rinse fully with clean water.
- Sanitize all parts according to local sanitization requirements. All parts in contact with food must be sanitized.
- Air dry all parts fully.
Clean-In-Place Procedure for Pumps
- Flush and rinse all pump surfaces with hot water. Place lower end of pump into container of hot water and operate pump until all remaining product is expelled and only hot water is discharged.
- Add 16 oz (.5 L) of hot tap water (approximately 120°F/49°C) to a container. Insert suction tube into container and operate pump until all water is discharged.
- Add 8 oz (.24 L) of hot tap water (approximately 120°F/49°C) to a container. Insert suction tube into container and operate pump all water is discharged.
Care of Stainless Steel
If you notice corrosion beginning on any stainless steel surface, you may need to change the cleansing agent, sanitizing agent, or the cleaning procedures you are using.
Disassembly
If pump has been in use, first rinse and flush pump. During disassembly, collect small parts in a container to prevent loss.
Thank You
for purchasing our Stainless Steel Pump.
This quality NSF listed pump delivers precise portions and lasts for years of service.
Your pump may vary depending on specific model number.
PUMP PARTS
PORTION CONTROL
PUMP DELIVERS 1 FL OZ PORTIONS
To reduce portion, add GAGING COLLAR(S)*
83529 SM COLLAR: 1/8 fl oz reduction 82022 LG COLLAR: 1/4 fl oz reduction
COLLAR(S) USED PORTION RESULT
None 1 fl oz
1 Sm 7/8 fl oz
1 Lg 3/4 fl oz
1 Lg + 1 Sm 5/8 fl oz
2 Lg 1/2 fl oz
2 Lg + 1 Sm 3/8 fl oz
3 Lg 1/4 fl oz
3 Lg + 1 Sm 1/8 fl oz



MODEL NUMBER
*Parts may vary depending on specific
model.
Pump model, P/N (part number) and
other identification are stamped on lid:
MODEL SERIES
XXXX ##X ##X
P/N
#####
For additional details about your pump, visit www.Server-Products.com
Enter your P/N into the search bar.
SAFETY
According to food and safety regulations, most foods must be stored and/or served at certain temperatures or they could become hazardous. Check with local food and safety regulators for specific guidelines.
Be aware of the product you are serving and the temperature the product is required to maintain. Server Products, Inc. cannot be responsible for the serving of potentially hazardous product.
IMPORTANT
Clean, rinse, sanitize, and dry parts daily or regularly to comply with local sanitization requirements.
NSF International lists this pump as “Not acceptable for dispensing potentially hazardous foods.”
PUMP CLEANING
- FLUSH & RINSE all pump surfaces with hot water.
Place lower end of pump into container of hot water and operate pump until all remaining product is expelled and only hot water is discharged.
YES! Use dishwashing soap, hot water and nylon brush.
Pump is dishwasher safe. - DISASSEMBLE & CLEAN all washable parts with soap and hot water. (See DISASSEMBLY on page 5.)
USE SUPPLIED BRUSH to thoroughly clean inside discharge tube and any confined areas.
- RINSE fully with clean water.

- SANITIZE all parts according to local sanitization requirements. All parts in contact with food must be sanitized.
- AIR DRY all parts fully.

CLEAN-IN-PLACE PROCEDURE FOR PUMPS
CLEAN
- Pump out all (if any) remaining food product from inside pump body.
- Wash and rinse off outside of pump body.
- Flush out and rinse inside of pump.
- Place lower end of pump into container full of water and operate pump until all (if any) remaining product is expelled and only warm water flows from discharge tube.
- Mix 1 tsp (5 mL) of dishwashing detergent with 1 quart (.95 L) of hot tap water (approximately 110°F /43°C).
- Place lower end of pump into cleaning mixture. Pump until all cleaning mixture is expelled.

RINSE
- Place lower end of pump into 2 cups (.5 L) of hot tap water (approximately 110°F /43°C) and pump until all tap water is expelled.
SANITIZE
- Mix one 1 oz (30 mL) packet of KAY-5 Sanitizer/Cleaner (EPA REG No. 5389- 15) with 2.5 gallons (9.5 L) of tap water (approximately room temperature).
- Place lower end of pump into this sanitizing mixture and repeatedly operate pump until 1 quart (.95 L) sanitizing mixture is pumped through pump. RINSE
- Place lower end of pump into 1 cup (.24 L) of hot tap water (approximately 110°F /43°C) and pump until all tap water is expelled.
CARE OF STAINLESS STEEL
This durable pump includes stainless steel components.
If you notice corrosion beginning on any stainless steel surface, you may need to change the cleansing agent, sanitizing agent, or the cleaning procedures you are using.
- A mildly abrasive nylon or brass brush may be used to remove any stubborn deposits.
- Fully rinsing and drying all parts can help prevent corrosion. Elements and minerals in tap water can accumulate on stainless steel parts and create corrosion.
- Do not use abrasive, caustic or ammonia based cleansers.
- Do not use products containing acids, alkaline, chlorine, or salt. These agents can corrode stainless steel.
- Do not use metal scrapers or cleaning pads that could scratch surfaces.
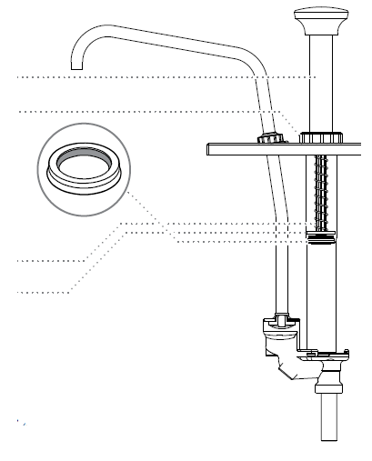
DISASSEMBLY
If pump has been in use, first rinse and flush pump. See PUMP CLEANING on page 3.
During disassembly, collect small parts in a container to prevent loss.
- REMOVE PLUNGER & LID
Turn locking collar (and discharge tube nut if used) counterclockwise to loosen and remove.

- REMOVE CYLINDER & DISCHARGE TUBE
Twist each counterclockwise to release from slots in valve body. - REMOVE O-RINGS from top of valve body and bottom of discharge tube. Do not use a sharp tool.
Remove suction tube and o-ring from the bottom of valve body. - DISASSEMBLE PLUNGER:
REMOVE KNOB
Prevent knob from springing off: Press head tube towards piston base while twisting knob off.
REMOVE LOCKING COLLAR
REMOVE GAGING COLLAR(S) (if used).
REMOVE HEAD INSERT from inside head tube.
REMOVE SPRING & WASHER from piston.
REMOVE SEAL ASSEMBLY from piston.
Pry off.
Do not use a sharp tool.
REMOVE O-RING from inside seal.

ASSEMBLY
WASH ALL PARTS PROPERLY BEFORE EVERY USE. See page 3.
PREPARE PISTON

- A. INSTALL SMALL O-RING into seal.
- B. INSTALL SEAL onto piston head. Apply food equipment lubricant to outside of seal.
TIP: Flared end of seal should face away from piston head. - C. SLIDE WASHER onto piston.
- D. SLIDE SPRING onto piston.
PREPARE HEAD TUBE
- OPTIONAL: ADD GAGING COLLAR(S) Slide collar(s) onto head tube to reduce portion size. See page 2 for PORTION CONTROL.

- SLIDE LOCKING COLLAR (threaded side down) towards flared end of head tube.

- SLIDE HEAD INSERT (beveled edge first) into head tube.
TIP: The end with smaller hole should go in first.
INSERT PISTON ASSEMBLY into head tube assembly.

INSTALL KNOB
Press head tube down to compress spring and expose piston threads. Rotate knob clockwise to secure.

INSTALL LARGE O-RING into valve body. Apply food equipment lubricant on o-ring.
INSTALL CYLINDER onto valve body.
TILT wide edge of cylinder under nub on rim of valve body.
FIT TABS on cylinder into corresponding notches in valve body.
PRESS DOWN firmly and ROTATE cylinder clockwise to secure into slots.

INSTALL MEDIUM O-RING onto discharge tube. Apply food equipment lubricant on o-ring.
INSTALL DISCHARGE TUBE onto valve body. Rotate discharge tube clockwise and press down firmly to secure into slots on valve body.

INSERT BLACK O-RING & SUCTION TUBE into bottom of valve body.

INSTALL LID by sliding smaller lid hole over discharge tube. Align center hole with threads on cylinder.
IF DISCHARGE TUBE HAS THREADS:
To secure lid, slide discharge tube nut onto discharge tube.
Rotate nut clockwise to secure.

INSTALL PLUNGER ASSEMBLY into cylinder.
Rotate locking collar clockwise onto cylinder threads to secure. 
TROUBLESHOOTING

PROBLEMS WITH FLOW OR PORTIONS?
- Clean pump.
- Food product may be too thick or contain a solid that will not pass through pump.
- If used: Ensure gaging collar(s) are undamaged and properly installed on head tube.
FOOD PRODUCT OOZES OUT AROUND LOCKING COLLAR?
- Ensure seal is properly installed on piston. TIP: Seal has a slight taper. Install with flat side towards top, flared side down.
PLUNGER DOESN’T RETURN TO TOP AFTER DISPENSING?
- Ensure that the spring is functional. Replace broken spring if necessary.
- Ensure that the washer is installed between the spring and piston head.
PUMP DRIPS?
- Clean discharge tube with supplied brush.
- Inspect all o-rings. Replace if damaged.
- Food product may be too thin.
Visit www.Server-Products.com for more tips.
SERVER PRODUCTS LIMITED WARRANTY
This Server product is backed by a two-year limited warranty against defects in materials and workmanship. See Server-Products.com for details.
GENERAL SERVICE, REPAIR OR RETURNS
Before sending any item to Server Products for service, repair, or return, contact Server Products customer service to request a Return Authorization Number. Merchandise must be sent to Server Products with this number. Service is extremely prompt. Typically, units are repaired and ship out within 48 hours of receipt.
Merchandise being returned for credit must be in new and unused condition and not more than 90 days old and will be subject to a 20% restocking charge.
NEED HELP?
Server Products Inc.
3601 Pleasant Hill Road Richfield, WI 53076 USA
Chat with us!
[email protected]
262.628.5600 | 800.558.8722
Please be prepared with your Model, P/N and Series located on the lid or base of the unit.
Example:

Manual EM_01790_RevA 031722

























