SERVER 07604 Express Pump

Thank You
for purchasing our Server Express® Pump. Express™ pouched condiment systems are sealed and sanitary, achieve excellent evacuation and have only a few parts for easy clean-up.
SIMPLIFY CONDIMENT MANAGEMENT— GO POUCHED
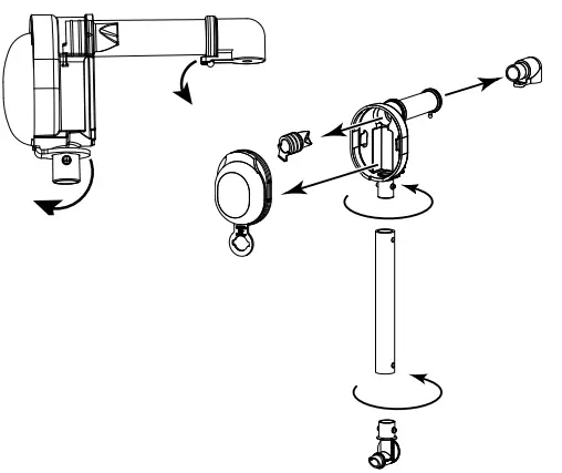
ASSEMBLY
INSERT PINCH VALVE into pump housing.
TIP: Squeeze the pinch valve open before installation to ensure it isn’t stuck shut.
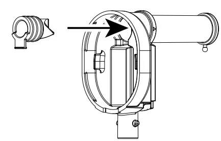
INSTALL DOME
Press dome into housing fully. Ensure valve flap covers bottom opening.
Press dome into housing fully. Ensure valve flap covers bottom opening.
INSTALL TUBE
Lubricate with a small amount of clean water. Rotate and position until both pegs on housing fit into holes on tube.
INSERT CONNECTOR
Lubricate with a small amount of clean water. Rotate and position until both pegs on connector fit into holes on tube. Connector must point away from end of discharge tube.
INSERT DISCHARGE FITTING
into pump housing discharge tube. Place loop of fitting around peg on end of discharge tube to secure.
SAFETY
IMPORTANT
Clean, rinse, sanitize, and dry parts daily or regularly to comply with local sanitization requirements.= According to food and safety regulations, most foods must be stored and/or served at certain temperatures or they could become hazardous. Check with local food and safety regulators for specific guidelines. Server Products, Inc. cannot be responsible for the serving of potentially hazardous product.
DISASSEMBLY
CLEANING
- FLUSH & RINSE
all pump surfaces with hot water. Place lower end of pump into container of hot water and operate pump until all remaining product is expelled and only hot water is discharged. - DISASSEMBLE & CLEAN
all washable parts with soap and hot water. Use brush to clean any confined areas. - RINSE fully with clear water.
- SANITIZE
all parts according to local sanitization requirements. All parts in contact with food must be sanitized. - AIR DRY all parts fully.

- Dishwasher safe
- Do not use abrasive, caustic or ammonia based cleansers.
- Do not use cleansing agents with high concentrations of acid, alkaline or chlorine.
- Do not use metal scrapers or cleaning pads that could scratch surfaces.
TROUBLESHOOTING
TIP: Squeeze the pinch valve open before installation to ensure it isn’t stuck shut.
- DIFFICULT TO ATTACH PARTS?
Wet parts with clean water to help fit. - PRODUCT DOESN’T PUMP?
- Ensure pinch valve is inserted in housing.
- Ensure connector is snapped fully in place to fitment in pouch.
- Ensure pump is properly installed in unit.
- Clean pump thoroughly.
- DOME POPS OFF?
- Clean thoroughly. Food residue could prevent a tight seal between dome and housing.
- Ensure dome edges are flush with housing.
PUMP COMPONENT PART NUMBERS
SERVER PRODUCTS LIMITED WARRANTY
This Server product is backed by a two-year limited warranty against defects in materials and workmanship. See Server-Products.com for details.
GENERAL SERVICE, REPAIR OR RETURNS
Before sending any item to Server Products for service, repair, or return, contact Server Products customer service to request a Return Authorization Number. Merchandise must be sent to Server Products with this number. Service is extremely prompt. Typically, units are repaired and ship out within 48 hours of receipt. Merchandise being returned for credit must be in new and unused condition and not more than 90 days old and will be subject to a 20% restocking charge.
NEED HELP?
Server Products Inc.
3601 Pleasant Hill Road Richfield, WI 53076 USA
Chat with us!
[email protected]
262.628.5600 | 800.558.8722
Please be prepared with the Part Numbers for your items. Individual part numbers are listed above.






















