SERVER 07518 Extreme Dispenser Pump

Thank You for purchasing our Server Extreme™ Pump. Extreme™ pouched condiment systems are sealed and sanitary, achieve excellent evacuation, and have only a few parts for easy clean-up.
SIMPLIFY CONDIMENT MANAGEMENT GO POUCHED
ASSEMBLY

- WASH ALL PARTS PROPERLY BEFORE USE.
- INSERT PINCH VALVE into the pump housing.
- TIP: Squeeze the pinch valve open before installation to ensure it isn’t stuck shut.

- TIP: Squeeze the pinch valve open before installation to ensure it isn’t stuck shut.
- INSTALL DOME
- Press the dome into the housing fully. Ensure the valve flap covers the bottom opening.

- Wrap loop around lower opening to secure dome.
- Press the dome into the housing fully. Ensure the valve flap covers the bottom opening.
- INSTALL TUBE
- Lubricate with a small amount of clean water. Rotate and position until both pegs on housing fit into holes on tube.

- INSERT CONNECTOR
- Lubricate the connector with a small amount of clean water. Rotate and position until both pegs on the connector fit into holes on the tube.

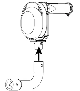
- INSERT DISCHARGE FITTING

- into pump housing discharge tube. Place loop of fitting around peg on end of discharge tube to secure.
SAFETY
IMPORTANT: Clean, rinse, sanitize, and dry parts daily or regularly to comply with local sanitization requirements.
According to food and safety regulations, most foods must be stored and/or served at certain temperatures or they could become hazardous. Check with local food and safety regulators for specific guidelines. Server Products, Inc. cannot be responsible for the serving of potentially hazardous product.
DISASSEMBLY

CLEANING
- FLUSH & RINSE all pump surfaces with hot water. Place lower end of pump into container of hot water and operate pump until all remaining product is expelled and only hot water is discharged.
- DISASSEMBLE & CLEAN all washable parts with soap and hot water. Use brush to clean any confined areas.
- RINSE fully with clear water.
- SANITIZE all parts according to local sanitization requirements. All parts in contact with food must be sanitized.
- AIR DRY all parts fully.
YES!

Use dishwashing soap, hot water and nylon brush.
- Dishwasher safe
- Do not use abrasive, caustic or ammonia based cleansers.
- Do not use cleansing agents with high concentrations of acid, alkaline or chlorine.
- Do not use metal scrapers or cleaning pads that could scratch surfaces.
TROUBLESHOOTING

DIFFICULT TO ATTACH PARTS?
- Wet parts with clean water to help fit.
THE PRODUCT DOESN’T PUMP?
- Ensure the pinch valve is inserted in housing.
- Ensure the connector is snapped fully in place to fitment in pouch.
- Ensure pump is properly installed in unit.
- Clean pump thoroughly.
DOME POPS OFF?
- Clean thoroughly. Food residue could prevent a tight seal between dome and housing.
- Ensure dome edges are flush with housing.
PUMP COMPONENT PART NUMBERS

SERVER PRODUCTS LIMITED WARRANTY
2 YEAR WARRANTY
This Server product is backed by a two-year limited warranty against defects in materials and workmanship. See Server-Products.com for details.
GENERAL SERVICE, REPAIR OR RETURNS
Before sending any item to Server Products for service, repair, or return, contact Server Products customer service to request a Return Authorization Number. Merchandise must be sent to Server Products with this number. Service is extremely prompt. Typically, units are repaired and ship out within 48 hours of receipt. Merchandise being returned for credit must be in new and unused condition and not more than 90 days old and will be subject to a 20% restocking charge.
NEED HELP?
Server Products Inc
- ADDRESS: 3601 Pleasant Hill Road Richfield, WI 53076 USA
- Chat with us!
- [email protected]
- TEL: 262.628.5600
- 800.558.8722
Please be prepared with your Model, P/N and Series located on the lid or base of the unit.
Example























